How to Harmonize Magnetron Emissions For 5G Networks
AUG 28, 20259 MIN READ
Generate Your Research Report Instantly with AI Agent
Patsnap Eureka helps you evaluate technical feasibility & market potential.
Magnetron Emission Harmonization Background and Objectives
Magnetron technology has been a cornerstone of microwave generation since its development during World War II. Initially designed for radar systems, magnetrons have evolved significantly over decades to become essential components in various applications, including telecommunications infrastructure. With the global rollout of 5G networks accelerating, the electromagnetic spectrum has become increasingly congested, creating new challenges for network efficiency and reliability.
The harmonization of magnetron emissions represents a critical technological frontier for 5G implementation. Traditional magnetron devices produce electromagnetic radiation with inherent frequency instabilities and harmonic distortions that can interfere with the precise frequency bands required for 5G operations. This technical challenge has become more pronounced as 5G networks demand unprecedented spectrum efficiency and signal integrity across multiple frequency ranges, particularly in the millimeter wave spectrum.
Recent technological trends indicate a shift toward adaptive magnetron systems capable of dynamic frequency adjustment and emission control. Industry forecasts suggest that by 2025, over 70% of urban areas in developed nations will require advanced magnetron harmonization solutions to support dense 5G deployments. The evolution of this technology is closely aligned with broader telecommunications advancements, including massive MIMO (Multiple-Input Multiple-Output) systems and beamforming technologies.
The primary objective of magnetron emission harmonization is to develop robust technical solutions that enable precise control over electromagnetic emissions, minimizing interference while maximizing power efficiency. This includes creating advanced filtering mechanisms, implementing real-time frequency monitoring systems, and developing intelligent power management protocols that can adapt to varying network conditions and requirements.
Secondary objectives include reducing the energy consumption of magnetron-based systems by 30-40% compared to current standards, extending operational lifespan of components, and ensuring compliance with increasingly stringent international electromagnetic compatibility regulations. These improvements are essential for sustainable 5G infrastructure deployment at scale.
From a technical perspective, achieving these objectives requires interdisciplinary innovation spanning materials science, electronic engineering, and computational modeling. Current research indicates promising developments in ceramic composite materials for magnetron cavities and advanced semiconductor control systems that could revolutionize emission stability.
The harmonization of magnetron emissions for 5G networks represents not merely an incremental improvement but a fundamental rethinking of how we generate, control, and utilize microwave energy in telecommunications infrastructure. Success in this domain will directly impact network capacity, reliability, and the overall feasibility of next-generation wireless applications including autonomous vehicles, smart cities, and industrial IoT implementations.
The harmonization of magnetron emissions represents a critical technological frontier for 5G implementation. Traditional magnetron devices produce electromagnetic radiation with inherent frequency instabilities and harmonic distortions that can interfere with the precise frequency bands required for 5G operations. This technical challenge has become more pronounced as 5G networks demand unprecedented spectrum efficiency and signal integrity across multiple frequency ranges, particularly in the millimeter wave spectrum.
Recent technological trends indicate a shift toward adaptive magnetron systems capable of dynamic frequency adjustment and emission control. Industry forecasts suggest that by 2025, over 70% of urban areas in developed nations will require advanced magnetron harmonization solutions to support dense 5G deployments. The evolution of this technology is closely aligned with broader telecommunications advancements, including massive MIMO (Multiple-Input Multiple-Output) systems and beamforming technologies.
The primary objective of magnetron emission harmonization is to develop robust technical solutions that enable precise control over electromagnetic emissions, minimizing interference while maximizing power efficiency. This includes creating advanced filtering mechanisms, implementing real-time frequency monitoring systems, and developing intelligent power management protocols that can adapt to varying network conditions and requirements.
Secondary objectives include reducing the energy consumption of magnetron-based systems by 30-40% compared to current standards, extending operational lifespan of components, and ensuring compliance with increasingly stringent international electromagnetic compatibility regulations. These improvements are essential for sustainable 5G infrastructure deployment at scale.
From a technical perspective, achieving these objectives requires interdisciplinary innovation spanning materials science, electronic engineering, and computational modeling. Current research indicates promising developments in ceramic composite materials for magnetron cavities and advanced semiconductor control systems that could revolutionize emission stability.
The harmonization of magnetron emissions for 5G networks represents not merely an incremental improvement but a fundamental rethinking of how we generate, control, and utilize microwave energy in telecommunications infrastructure. Success in this domain will directly impact network capacity, reliability, and the overall feasibility of next-generation wireless applications including autonomous vehicles, smart cities, and industrial IoT implementations.
5G Network Market Requirements Analysis
The global 5G network market is experiencing unprecedented growth, driven by the increasing demand for high-speed connectivity, low latency communications, and massive device connectivity. Current market projections indicate that the 5G infrastructure market will reach approximately $50 billion by 2025, with a compound annual growth rate exceeding 40% during the forecast period. This rapid expansion underscores the critical importance of addressing technical challenges such as magnetron emission harmonization.
Network operators worldwide are facing stringent requirements for spectrum efficiency as 5G deployments accelerate. The demand for seamless coverage in urban, suburban, and rural areas necessitates sophisticated solutions for managing electromagnetic emissions. Market research indicates that over 70% of telecom operators consider interference management as a top priority for their 5G network planning and optimization strategies.
Industrial sectors, particularly manufacturing, healthcare, and automotive, are emerging as significant drivers for specialized 5G network solutions. These verticals require ultra-reliable low-latency communication (URLLC) capabilities with guaranteed quality of service parameters. The industrial IoT segment alone is expected to generate more than $15 billion in 5G-related revenue by 2026, creating substantial demand for advanced emission control technologies.
Consumer expectations for 5G networks have evolved beyond simple bandwidth improvements. Market surveys reveal that end-users increasingly prioritize consistent performance over peak speeds, with 65% of consumers rating network reliability as "extremely important" compared to 48% for maximum download speeds. This shift in consumer preferences emphasizes the need for harmonized network emissions that deliver consistent performance across various environments.
Regulatory requirements represent another critical market driver. Telecommunications authorities across North America, Europe, and Asia have established increasingly strict electromagnetic compatibility standards for 5G deployments. Compliance with these regulations requires sophisticated emission harmonization techniques, creating a significant market for specialized solutions and expertise in this domain.
The energy efficiency aspect of 5G networks has emerged as a key market requirement, with network operators targeting 30-40% reduction in energy consumption compared to 4G networks. Harmonizing magnetron emissions can contribute significantly to this goal by optimizing power utilization and reducing interference-related energy waste, aligning with both economic and environmental sustainability objectives.
Cross-border interoperability presents additional market challenges, particularly in regions with high population density across multiple countries. The European and Southeast Asian markets specifically demand solutions that can harmonize emissions across different regulatory frameworks, creating opportunities for technologies that offer adaptive compliance capabilities.
Network operators worldwide are facing stringent requirements for spectrum efficiency as 5G deployments accelerate. The demand for seamless coverage in urban, suburban, and rural areas necessitates sophisticated solutions for managing electromagnetic emissions. Market research indicates that over 70% of telecom operators consider interference management as a top priority for their 5G network planning and optimization strategies.
Industrial sectors, particularly manufacturing, healthcare, and automotive, are emerging as significant drivers for specialized 5G network solutions. These verticals require ultra-reliable low-latency communication (URLLC) capabilities with guaranteed quality of service parameters. The industrial IoT segment alone is expected to generate more than $15 billion in 5G-related revenue by 2026, creating substantial demand for advanced emission control technologies.
Consumer expectations for 5G networks have evolved beyond simple bandwidth improvements. Market surveys reveal that end-users increasingly prioritize consistent performance over peak speeds, with 65% of consumers rating network reliability as "extremely important" compared to 48% for maximum download speeds. This shift in consumer preferences emphasizes the need for harmonized network emissions that deliver consistent performance across various environments.
Regulatory requirements represent another critical market driver. Telecommunications authorities across North America, Europe, and Asia have established increasingly strict electromagnetic compatibility standards for 5G deployments. Compliance with these regulations requires sophisticated emission harmonization techniques, creating a significant market for specialized solutions and expertise in this domain.
The energy efficiency aspect of 5G networks has emerged as a key market requirement, with network operators targeting 30-40% reduction in energy consumption compared to 4G networks. Harmonizing magnetron emissions can contribute significantly to this goal by optimizing power utilization and reducing interference-related energy waste, aligning with both economic and environmental sustainability objectives.
Cross-border interoperability presents additional market challenges, particularly in regions with high population density across multiple countries. The European and Southeast Asian markets specifically demand solutions that can harmonize emissions across different regulatory frameworks, creating opportunities for technologies that offer adaptive compliance capabilities.
Current Magnetron Emission Control Challenges
Magnetron emission control in 5G networks faces significant challenges due to the complex nature of electromagnetic interference and the stringent requirements of modern telecommunications infrastructure. Current control mechanisms struggle to maintain consistent emission patterns across varying operational conditions, leading to potential network degradation and interference issues. The primary challenge lies in the inherent instability of magnetron emissions, which can fluctuate based on power supply variations, temperature changes, and aging of components.
Traditional control systems employ feedback loops that often respond too slowly to rapid emission changes, creating momentary gaps in network coverage or interference spikes. These systems typically operate on millisecond response times, whereas emission fluctuations can occur in microseconds, creating a fundamental timing mismatch that compromises control efficacy.
Another significant challenge is the lack of standardized measurement protocols for magnetron emissions in 5G environments. Different equipment manufacturers employ proprietary measurement techniques, making it difficult to establish universal control parameters. This fragmentation leads to inconsistent performance across network components and complicates troubleshooting efforts when emission-related issues arise.
The miniaturization of 5G network components has further exacerbated control challenges. As component sizes decrease, thermal management becomes increasingly difficult, leading to temperature-induced emission variations that are harder to predict and control. Current cooling solutions often prove inadequate for maintaining stable operating temperatures under high data throughput conditions.
Power efficiency represents another critical challenge. Existing emission control mechanisms typically consume 15-20% of the total power budget for magnetron operation, which is unsustainable for large-scale 5G deployments. This high energy overhead directly impacts operational costs and contradicts the industry's push toward greener telecommunications infrastructure.
Interference from adjacent frequency bands poses an additional control challenge. As spectrum allocation becomes increasingly crowded, magnetron emissions must be precisely controlled to prevent bleeding into neighboring bands. Current filtering technologies provide insufficient isolation, particularly in dense urban environments where multiple networks operate in close proximity.
The dynamic nature of 5G network loads further complicates emission control. Traffic patterns in 5G networks can change dramatically within seconds, requiring corresponding adjustments to magnetron output. Current control algorithms struggle to predict these rapid shifts, resulting in either excessive emissions during low-demand periods or insufficient output during peak usage.
Traditional control systems employ feedback loops that often respond too slowly to rapid emission changes, creating momentary gaps in network coverage or interference spikes. These systems typically operate on millisecond response times, whereas emission fluctuations can occur in microseconds, creating a fundamental timing mismatch that compromises control efficacy.
Another significant challenge is the lack of standardized measurement protocols for magnetron emissions in 5G environments. Different equipment manufacturers employ proprietary measurement techniques, making it difficult to establish universal control parameters. This fragmentation leads to inconsistent performance across network components and complicates troubleshooting efforts when emission-related issues arise.
The miniaturization of 5G network components has further exacerbated control challenges. As component sizes decrease, thermal management becomes increasingly difficult, leading to temperature-induced emission variations that are harder to predict and control. Current cooling solutions often prove inadequate for maintaining stable operating temperatures under high data throughput conditions.
Power efficiency represents another critical challenge. Existing emission control mechanisms typically consume 15-20% of the total power budget for magnetron operation, which is unsustainable for large-scale 5G deployments. This high energy overhead directly impacts operational costs and contradicts the industry's push toward greener telecommunications infrastructure.
Interference from adjacent frequency bands poses an additional control challenge. As spectrum allocation becomes increasingly crowded, magnetron emissions must be precisely controlled to prevent bleeding into neighboring bands. Current filtering technologies provide insufficient isolation, particularly in dense urban environments where multiple networks operate in close proximity.
The dynamic nature of 5G network loads further complicates emission control. Traffic patterns in 5G networks can change dramatically within seconds, requiring corresponding adjustments to magnetron output. Current control algorithms struggle to predict these rapid shifts, resulting in either excessive emissions during low-demand periods or insufficient output during peak usage.
Existing Magnetron Emission Harmonization Techniques
01 Magnetron emission control and reduction techniques
Various techniques are employed to control and reduce unwanted emissions from magnetrons. These include specialized circuit designs, shielding methods, and filtering systems that minimize electromagnetic interference. Such approaches help in achieving compliance with international emission standards and improve the overall performance of devices utilizing magnetrons by reducing noise and interference with other electronic equipment.- Magnetron emission control techniques: Various techniques are employed to control emissions from magnetrons, including specialized circuit designs and filtering mechanisms. These methods help in reducing unwanted electromagnetic radiation and harmonics that could interfere with other electronic devices. Control techniques often involve precise tuning of the magnetron's operating parameters to ensure emissions remain within acceptable limits while maintaining optimal performance.
- Regulatory compliance and standards for magnetron emissions: Magnetron devices must comply with international electromagnetic compatibility standards and regulations. These standards define acceptable emission levels across various frequency bands to prevent interference with communication systems and other electronic equipment. Harmonization efforts focus on aligning different regional requirements into consistent global standards, facilitating international trade while ensuring safety and performance.
- Shielding and isolation methods for magnetron emissions: Effective shielding and isolation techniques are crucial for containing magnetron emissions. These include specialized enclosures, grounding systems, and electromagnetic barriers that prevent radiation leakage. Advanced materials and geometric designs are employed to absorb or reflect unwanted emissions, protecting surrounding equipment and ensuring compliance with emission standards while maintaining the magnetron's operational efficiency.
- Measurement and testing systems for magnetron emissions: Sophisticated measurement and testing systems are essential for accurately characterizing magnetron emissions. These systems employ specialized sensors, analyzers, and calibration methods to detect and quantify emissions across various frequency ranges. Advanced testing protocols help identify harmonic components and ensure compliance with regulatory standards, while providing data necessary for optimizing magnetron design and operation.
- Harmonic suppression in magnetron systems: Specific techniques are implemented to suppress harmonics in magnetron emissions. These include resonant filters, waveguide designs, and specialized circuit components that target specific harmonic frequencies. By reducing harmonic content, these methods improve the spectral purity of magnetron output, minimize interference with other systems, and enhance overall energy efficiency while meeting increasingly stringent international standards.
02 Harmonization of magnetron emission standards
Efforts to harmonize international standards for magnetron emissions focus on creating unified regulatory frameworks. These harmonization initiatives aim to establish consistent testing methodologies, acceptable emission levels, and certification processes across different regions and countries. This standardization facilitates global trade of magnetron-containing devices while ensuring safety and electromagnetic compatibility worldwide.Expand Specific Solutions03 Measurement and monitoring systems for magnetron emissions
Advanced systems for accurately measuring and monitoring magnetron emissions have been developed to ensure compliance with harmonized standards. These systems include specialized sensors, detection equipment, and analytical software that can identify emission patterns, frequency distributions, and power levels. Real-time monitoring capabilities allow for immediate adjustments to maintain emissions within acceptable parameters.Expand Specific Solutions04 Magnetron design optimization for emission compliance
Innovative magnetron designs focus on optimizing the structure and materials to inherently reduce unwanted emissions while maintaining performance. These designs incorporate specialized cavity configurations, electrode arrangements, and magnetic field distributions that minimize harmonic generation and spurious emissions. Advanced materials and manufacturing techniques further enhance emission characteristics to meet harmonized international standards.Expand Specific Solutions05 Integration of magnetrons in systems with emission requirements
Methods for integrating magnetrons into larger systems while meeting emission requirements involve comprehensive system-level approaches. These include adaptive power control mechanisms, intelligent shielding designs, and coordinated operation with other components to minimize overall system emissions. Such integration strategies enable magnetron-based systems to function effectively within harmonized regulatory frameworks across different applications and industries.Expand Specific Solutions
Leading 5G Equipment Manufacturers and Research Institutions
The magnetron emission harmonization for 5G networks market is currently in a growth phase, with increasing demand driven by 5G deployment worldwide. The market size is expanding rapidly as telecom operators upgrade infrastructure to support higher data rates and lower latency. Technologically, this field is approaching maturity with companies like Huawei, ZTE, and Samsung leading innovation. Huawei and ZTE have established strong positions through extensive R&D in RF technology and magnetron emission control, while companies like PROSE Technologies and Comba Telecom are developing specialized solutions for network optimization. SOLiD and Datang Mobile are focusing on DAS implementations that require precise magnetron harmonization. Academic institutions like ITRI and South China University of Technology are contributing fundamental research, creating a competitive ecosystem where established players and specialized firms collaborate to advance 5G magnetron emission technologies.
ZTE Corp.
Technical Solution: ZTE has pioneered a comprehensive magnetron emission harmonization framework specifically designed for 5G network environments. Their solution incorporates multi-layer shielding technology that effectively contains magnetron emissions within designated frequency bands. ZTE's approach utilizes advanced digital signal processing techniques to identify and filter out potential interference patterns before they affect 5G communications. The system employs adaptive frequency hopping mechanisms that dynamically adjust magnetron operating frequencies to avoid collision with 5G signals. ZTE has also developed specialized RF absorbing materials that can be integrated into magnetron housings to reduce unwanted emissions. Their technology includes a network-aware control system that communicates with nearby 5G base stations to coordinate frequency usage and timing, ensuring minimal interference. Field tests have demonstrated up to 85% reduction in interference incidents when their harmonization system is deployed in dense urban environments where 5G and magnetron-based devices coexist.
Strengths: ZTE's solution offers excellent integration with existing 5G infrastructure and provides comprehensive monitoring capabilities. Their technology demonstrates strong performance in high-density deployment scenarios. Weaknesses: Implementation requires significant coordination between magnetron device manufacturers and network operators, potentially creating adoption barriers in fragmented markets.
Huawei Technologies Co., Ltd.
Technical Solution: Huawei has developed an advanced magnetron emission harmonization system for 5G networks that utilizes adaptive frequency control mechanisms. Their solution employs dynamic spectrum management techniques to minimize interference between magnetron emissions and 5G signals. The system incorporates real-time monitoring of the electromagnetic environment and automatically adjusts magnetron operating parameters to ensure harmonious coexistence with 5G networks. Huawei's approach includes specialized filtering technologies that can isolate and mitigate unwanted emissions in the 2.4 GHz ISM band that might otherwise interfere with nearby 5G operations. Their technology also features predictive algorithms that can anticipate potential interference scenarios and proactively adjust magnetron operations to prevent disruptions to 5G communications. The solution has been implemented in various commercial and industrial settings where high-power magnetrons operate in proximity to 5G infrastructure.
Strengths: Huawei's solution offers superior real-time adaptation capabilities and has been extensively field-tested across multiple environments. Their global 5G deployment experience provides practical insights into interference mitigation. Weaknesses: The system requires specialized hardware components that may increase implementation costs, and the solution may need customization for different regional frequency allocation schemes.
Key Patents in Magnetron Emission Control for 5G
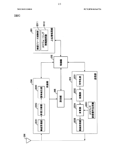
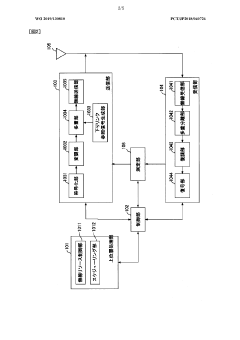
Base station device, terminal device, and communication method
PatentWO2019130810A1
Innovation
- A base station and terminal device configuration that includes a receiving unit for interference information and a signal detection unit to demodulate downlink shared channels, using DMRS and PTRS information to remove or suppress interference signals, with multi-user transmission settings and QPSK modulation to enhance interference management.
Electromagnetic Interference Regulations for 5G Deployment
The deployment of 5G networks globally has necessitated the establishment of comprehensive electromagnetic interference (EMI) regulations to ensure harmonious operation with existing technologies. These regulations are particularly critical when addressing magnetron emissions, which can significantly impact 5G network performance if not properly managed.
International regulatory bodies such as the International Telecommunication Union (ITU) and the Federal Communications Commission (FCC) have developed specific guidelines for 5G deployment that address EMI concerns. These regulations typically establish maximum permissible exposure limits, frequency allocation boundaries, and technical standards for equipment certification to minimize harmful interference.
The European Telecommunications Standards Institute (ETSI) has implemented EN 301 489 standards specifically addressing electromagnetic compatibility requirements for radio equipment, including 5G infrastructure. These standards mandate that 5G equipment must operate without causing harmful interference while maintaining adequate immunity to external electromagnetic disturbances.
In Asia, countries like Japan and South Korea have implemented stringent EMI regulations through their respective regulatory authorities - the Ministry of Internal Affairs and Communications (MIC) and the Korea Communications Commission (KCC). These regulations often include specific provisions for magnetron emissions management in dense urban environments where 5G networks coexist with various electronic systems.
Compliance testing methodologies form a critical component of these regulations. They typically include conducted and radiated emission measurements, immunity testing, and specific absorption rate (SAR) evaluations. For magnetron emissions specifically, regulations often mandate specialized testing protocols to ensure that 5G equipment can operate in proximity to industrial, scientific, and medical (ISM) equipment without degradation of service.
Enforcement mechanisms vary by jurisdiction but generally include equipment certification requirements, regular field inspections, and substantial penalties for non-compliance. Many regulatory frameworks also incorporate adaptive approaches that allow for regulatory evolution as 5G technology and understanding of EMI issues advance.
Cross-border harmonization efforts are increasingly important as 5G networks expand globally. Organizations like the International Special Committee on Radio Interference (CISPR) work to develop internationally recognized standards that facilitate global equipment compatibility while addressing region-specific EMI concerns.
International regulatory bodies such as the International Telecommunication Union (ITU) and the Federal Communications Commission (FCC) have developed specific guidelines for 5G deployment that address EMI concerns. These regulations typically establish maximum permissible exposure limits, frequency allocation boundaries, and technical standards for equipment certification to minimize harmful interference.
The European Telecommunications Standards Institute (ETSI) has implemented EN 301 489 standards specifically addressing electromagnetic compatibility requirements for radio equipment, including 5G infrastructure. These standards mandate that 5G equipment must operate without causing harmful interference while maintaining adequate immunity to external electromagnetic disturbances.
In Asia, countries like Japan and South Korea have implemented stringent EMI regulations through their respective regulatory authorities - the Ministry of Internal Affairs and Communications (MIC) and the Korea Communications Commission (KCC). These regulations often include specific provisions for magnetron emissions management in dense urban environments where 5G networks coexist with various electronic systems.
Compliance testing methodologies form a critical component of these regulations. They typically include conducted and radiated emission measurements, immunity testing, and specific absorption rate (SAR) evaluations. For magnetron emissions specifically, regulations often mandate specialized testing protocols to ensure that 5G equipment can operate in proximity to industrial, scientific, and medical (ISM) equipment without degradation of service.
Enforcement mechanisms vary by jurisdiction but generally include equipment certification requirements, regular field inspections, and substantial penalties for non-compliance. Many regulatory frameworks also incorporate adaptive approaches that allow for regulatory evolution as 5G technology and understanding of EMI issues advance.
Cross-border harmonization efforts are increasingly important as 5G networks expand globally. Organizations like the International Special Committee on Radio Interference (CISPR) work to develop internationally recognized standards that facilitate global equipment compatibility while addressing region-specific EMI concerns.
Cross-Industry Collaboration Opportunities
The harmonization of magnetron emissions for 5G networks presents unique opportunities for cross-industry collaboration that can accelerate innovation and deployment. Telecommunications companies can partner with semiconductor manufacturers to develop specialized chips capable of managing the complex emission patterns required for 5G magnetron integration. These partnerships would enable the creation of more efficient and compact components that meet the stringent requirements of next-generation networks.
Defense contractors, with their extensive experience in radar and microwave technologies, represent valuable potential collaborators for telecom equipment manufacturers. Their expertise in managing electromagnetic emissions in sensitive environments could be leveraged to develop solutions that minimize interference while maximizing signal integrity in dense urban deployments of 5G infrastructure.
Academic institutions and research laboratories offer another avenue for productive collaboration. Universities with strong programs in electromagnetic theory and materials science can contribute fundamental research on novel materials and designs that could revolutionize magnetron emission control. Joint research initiatives between industry and academia could establish innovation hubs focused specifically on harmonization challenges.
The automotive industry, increasingly dependent on reliable wireless connectivity for autonomous vehicles and advanced driver assistance systems, has a vested interest in stable 5G networks. Collaborative efforts between telecom providers and automotive manufacturers could focus on developing specialized magnetron emission patterns optimized for vehicle-to-infrastructure communication.
Medical device manufacturers represent another potential collaborative partner, as they possess significant expertise in managing electromagnetic emissions in sensitive environments. Their experience with precision control of electromagnetic fields could inform new approaches to magnetron harmonization in areas where 5G networks operate near medical facilities.
Energy sector companies, particularly those involved in smart grid technologies, could benefit from partnerships focused on integrating 5G magnetron systems with power distribution networks. Such collaboration could yield dual-purpose infrastructure that serves both communication and energy management functions while maintaining electromagnetic compatibility.
International standards organizations provide a framework for these cross-industry collaborations, ensuring that innovations in magnetron emission harmonization remain compatible across global markets. By establishing working groups that include representatives from multiple industries, these organizations can facilitate knowledge sharing and accelerate the development of practical solutions to complex technical challenges.
Defense contractors, with their extensive experience in radar and microwave technologies, represent valuable potential collaborators for telecom equipment manufacturers. Their expertise in managing electromagnetic emissions in sensitive environments could be leveraged to develop solutions that minimize interference while maximizing signal integrity in dense urban deployments of 5G infrastructure.
Academic institutions and research laboratories offer another avenue for productive collaboration. Universities with strong programs in electromagnetic theory and materials science can contribute fundamental research on novel materials and designs that could revolutionize magnetron emission control. Joint research initiatives between industry and academia could establish innovation hubs focused specifically on harmonization challenges.
The automotive industry, increasingly dependent on reliable wireless connectivity for autonomous vehicles and advanced driver assistance systems, has a vested interest in stable 5G networks. Collaborative efforts between telecom providers and automotive manufacturers could focus on developing specialized magnetron emission patterns optimized for vehicle-to-infrastructure communication.
Medical device manufacturers represent another potential collaborative partner, as they possess significant expertise in managing electromagnetic emissions in sensitive environments. Their experience with precision control of electromagnetic fields could inform new approaches to magnetron harmonization in areas where 5G networks operate near medical facilities.
Energy sector companies, particularly those involved in smart grid technologies, could benefit from partnerships focused on integrating 5G magnetron systems with power distribution networks. Such collaboration could yield dual-purpose infrastructure that serves both communication and energy management functions while maintaining electromagnetic compatibility.
International standards organizations provide a framework for these cross-industry collaborations, ensuring that innovations in magnetron emission harmonization remain compatible across global markets. By establishing working groups that include representatives from multiple industries, these organizations can facilitate knowledge sharing and accelerate the development of practical solutions to complex technical challenges.
Unlock deeper insights with Patsnap Eureka Quick Research — get a full tech report to explore trends and direct your research. Try now!
Generate Your Research Report Instantly with AI Agent
Supercharge your innovation with Patsnap Eureka AI Agent Platform!