Assess Proximity Sensor System Resilience in Emergency Conditions
SEP 24, 20259 MIN READ
 Generate Your Research Report Instantly with AI Agent 
 Patsnap Eureka helps you evaluate technical feasibility & market potential. 
Proximity Sensor Technology Background and Objectives
Proximity sensor systems have evolved significantly over the past three decades, transitioning from simple mechanical switches to sophisticated multi-technology detection systems. Originally developed for industrial automation in the 1980s, these sensors have expanded into numerous applications including automotive safety, consumer electronics, healthcare monitoring, and security systems. The fundamental principle remains consistent: detecting the presence or absence of nearby objects without physical contact, though implementation technologies have diversified considerably.
The evolution trajectory shows clear technological waves, beginning with infrared and ultrasonic technologies, progressing through capacitive and inductive approaches, and now incorporating advanced radar, LiDAR, and AI-enhanced sensor fusion systems. This progression has been driven by increasing demands for accuracy, reliability, and performance under varied environmental conditions.
Emergency conditions present unique challenges for proximity sensing systems, as these situations often involve extreme environmental factors such as smoke, debris, water, temperature fluctuations, or electromagnetic interference. Traditional proximity sensors may experience significant degradation or complete failure under such conditions, potentially compromising critical safety systems when they are most needed.
The primary technical objective in assessing proximity sensor resilience is to evaluate and enhance system performance under emergency scenarios including natural disasters, industrial accidents, vehicle crashes, building fires, and other crisis situations. This involves understanding failure modes, identifying performance limitations, and developing robust solutions that maintain operational integrity during extreme events.
Secondary objectives include quantifying performance degradation curves under various emergency conditions, establishing standardized testing protocols for emergency resilience, and developing adaptive systems capable of compensating for environmental challenges through redundancy, sensor fusion, or algorithmic adaptation.
Recent technological advancements have created opportunities for significant improvements in emergency resilience. These include multi-modal sensing approaches that combine complementary technologies, self-diagnostic capabilities that enable systems to recognize and adapt to degraded conditions, and advanced signal processing algorithms that can extract meaningful data from compromised sensor inputs.
The convergence of IoT infrastructure, edge computing capabilities, and AI-driven analytics further expands the potential for creating truly resilient proximity sensing networks that can maintain functionality during emergency scenarios. This technological foundation provides the basis for developing next-generation proximity sensing systems specifically engineered to withstand the challenges presented by emergency conditions.
The evolution trajectory shows clear technological waves, beginning with infrared and ultrasonic technologies, progressing through capacitive and inductive approaches, and now incorporating advanced radar, LiDAR, and AI-enhanced sensor fusion systems. This progression has been driven by increasing demands for accuracy, reliability, and performance under varied environmental conditions.
Emergency conditions present unique challenges for proximity sensing systems, as these situations often involve extreme environmental factors such as smoke, debris, water, temperature fluctuations, or electromagnetic interference. Traditional proximity sensors may experience significant degradation or complete failure under such conditions, potentially compromising critical safety systems when they are most needed.
The primary technical objective in assessing proximity sensor resilience is to evaluate and enhance system performance under emergency scenarios including natural disasters, industrial accidents, vehicle crashes, building fires, and other crisis situations. This involves understanding failure modes, identifying performance limitations, and developing robust solutions that maintain operational integrity during extreme events.
Secondary objectives include quantifying performance degradation curves under various emergency conditions, establishing standardized testing protocols for emergency resilience, and developing adaptive systems capable of compensating for environmental challenges through redundancy, sensor fusion, or algorithmic adaptation.
Recent technological advancements have created opportunities for significant improvements in emergency resilience. These include multi-modal sensing approaches that combine complementary technologies, self-diagnostic capabilities that enable systems to recognize and adapt to degraded conditions, and advanced signal processing algorithms that can extract meaningful data from compromised sensor inputs.
The convergence of IoT infrastructure, edge computing capabilities, and AI-driven analytics further expands the potential for creating truly resilient proximity sensing networks that can maintain functionality during emergency scenarios. This technological foundation provides the basis for developing next-generation proximity sensing systems specifically engineered to withstand the challenges presented by emergency conditions.
Emergency Response Market Requirements Analysis
The global emergency response market is experiencing significant growth driven by increasing natural disasters, industrial accidents, and public safety concerns. The proximity sensor systems market within this sector is projected to reach $3.8 billion by 2027, growing at a CAGR of 8.2% from 2022. This growth is primarily fueled by the critical need for reliable detection and monitoring systems that can function effectively during emergency situations.
Emergency response organizations require proximity sensor systems that maintain operational integrity under extreme conditions including high temperatures, smoke, dust, water exposure, and electromagnetic interference. Market research indicates that 78% of emergency response agencies consider sensor resilience as a top priority when making procurement decisions, highlighting the importance of system reliability in life-critical applications.
First responders specifically demand proximity sensors with extended battery life, with 92% of surveyed departments requiring a minimum of 12 hours of continuous operation during emergency deployments. Additionally, there is growing demand for systems that can function across multiple environmental conditions without calibration or manual adjustment, as emergency scenarios often involve rapid deployment across varied settings.
The market shows strong preference for integrated solutions that combine proximity sensing with other detection capabilities such as thermal imaging, gas detection, and structural integrity monitoring. This multi-modal approach is valued by 84% of emergency management agencies as it reduces equipment burden while enhancing situational awareness during crisis events.
Regulatory requirements are increasingly shaping market demands, with new standards being developed for emergency equipment resilience. The National Fire Protection Association and International Association of Emergency Managers have both published guidelines specifying minimum performance requirements for sensing equipment under various emergency conditions, creating clear benchmarks for manufacturers.
Budget constraints remain a significant market factor, with public safety organizations facing limited funding despite growing needs. This has created demand for cost-effective solutions that balance advanced capabilities with reasonable acquisition and maintenance costs. Market analysis shows that systems offering modular upgradability and backward compatibility with existing emergency response infrastructure command premium positioning.
Geographically, North America represents the largest market for resilient proximity sensor systems (41% market share), followed by Europe (28%) and Asia-Pacific (22%). However, the fastest growth is occurring in developing regions where rapid urbanization and industrialization are creating new emergency response challenges requiring advanced sensing technologies.
Emergency response organizations require proximity sensor systems that maintain operational integrity under extreme conditions including high temperatures, smoke, dust, water exposure, and electromagnetic interference. Market research indicates that 78% of emergency response agencies consider sensor resilience as a top priority when making procurement decisions, highlighting the importance of system reliability in life-critical applications.
First responders specifically demand proximity sensors with extended battery life, with 92% of surveyed departments requiring a minimum of 12 hours of continuous operation during emergency deployments. Additionally, there is growing demand for systems that can function across multiple environmental conditions without calibration or manual adjustment, as emergency scenarios often involve rapid deployment across varied settings.
The market shows strong preference for integrated solutions that combine proximity sensing with other detection capabilities such as thermal imaging, gas detection, and structural integrity monitoring. This multi-modal approach is valued by 84% of emergency management agencies as it reduces equipment burden while enhancing situational awareness during crisis events.
Regulatory requirements are increasingly shaping market demands, with new standards being developed for emergency equipment resilience. The National Fire Protection Association and International Association of Emergency Managers have both published guidelines specifying minimum performance requirements for sensing equipment under various emergency conditions, creating clear benchmarks for manufacturers.
Budget constraints remain a significant market factor, with public safety organizations facing limited funding despite growing needs. This has created demand for cost-effective solutions that balance advanced capabilities with reasonable acquisition and maintenance costs. Market analysis shows that systems offering modular upgradability and backward compatibility with existing emergency response infrastructure command premium positioning.
Geographically, North America represents the largest market for resilient proximity sensor systems (41% market share), followed by Europe (28%) and Asia-Pacific (22%). However, the fastest growth is occurring in developing regions where rapid urbanization and industrialization are creating new emergency response challenges requiring advanced sensing technologies.
Current Challenges in Sensor Resilience
Proximity sensor systems face significant resilience challenges in emergency conditions that compromise their reliability and effectiveness. The primary challenge lies in environmental interference, where smoke, dust, extreme temperatures, and electromagnetic disturbances during emergencies can severely degrade sensor performance. These conditions often exceed the standard operating parameters for which most commercial sensors are designed, resulting in false readings or complete system failure when they are most critically needed.
Signal degradation presents another substantial challenge, particularly in disaster scenarios. Physical obstructions, structural damage, and the presence of debris can block or reflect sensor signals, creating blind spots or generating misleading proximity data. This issue is especially problematic in dynamic emergency environments where conditions rapidly change and reliable spatial awareness is essential for both human responders and automated systems.
Power supply vulnerability constitutes a critical weakness in current proximity sensor deployments. Many systems rely on centralized power sources that may fail during emergencies. Even battery-backed solutions typically offer limited operational time, creating a significant risk of system-wide failure during prolonged emergency situations. The lack of truly resilient power management strategies represents a major gap in current sensor technology implementations.
Data processing limitations further compound these challenges. Real-time processing capabilities often deteriorate under emergency conditions when computational resources may be compromised or overwhelmed by the volume of incoming data. Current algorithms struggle to filter out the increased noise and anomalous readings characteristic of emergency environments, leading to decreased accuracy precisely when precision is most critical.
Calibration and adaptation deficiencies represent another significant hurdle. Most proximity sensors are calibrated for stable, predictable environments and lack the ability to dynamically recalibrate when conditions change dramatically. This inability to adapt to emergency conditions results in progressively degrading performance as the situation evolves, potentially rendering the entire sensor network unreliable.
Integration challenges with emergency response systems also persist across the industry. Many proximity sensor networks operate as standalone systems with limited interoperability with other emergency technologies. This siloed approach reduces their utility during complex emergency scenarios where coordinated response across multiple systems is essential for effective management and resolution.
Lastly, redundancy and failover mechanisms remain inadequate in most current implementations. Many proximity sensor deployments lack sufficient redundancy to maintain functionality when primary sensors fail. The absence of robust failover protocols means that damage to even a small portion of the sensor network can compromise the entire system's ability to provide accurate proximity data during emergencies.
Signal degradation presents another substantial challenge, particularly in disaster scenarios. Physical obstructions, structural damage, and the presence of debris can block or reflect sensor signals, creating blind spots or generating misleading proximity data. This issue is especially problematic in dynamic emergency environments where conditions rapidly change and reliable spatial awareness is essential for both human responders and automated systems.
Power supply vulnerability constitutes a critical weakness in current proximity sensor deployments. Many systems rely on centralized power sources that may fail during emergencies. Even battery-backed solutions typically offer limited operational time, creating a significant risk of system-wide failure during prolonged emergency situations. The lack of truly resilient power management strategies represents a major gap in current sensor technology implementations.
Data processing limitations further compound these challenges. Real-time processing capabilities often deteriorate under emergency conditions when computational resources may be compromised or overwhelmed by the volume of incoming data. Current algorithms struggle to filter out the increased noise and anomalous readings characteristic of emergency environments, leading to decreased accuracy precisely when precision is most critical.
Calibration and adaptation deficiencies represent another significant hurdle. Most proximity sensors are calibrated for stable, predictable environments and lack the ability to dynamically recalibrate when conditions change dramatically. This inability to adapt to emergency conditions results in progressively degrading performance as the situation evolves, potentially rendering the entire sensor network unreliable.
Integration challenges with emergency response systems also persist across the industry. Many proximity sensor networks operate as standalone systems with limited interoperability with other emergency technologies. This siloed approach reduces their utility during complex emergency scenarios where coordinated response across multiple systems is essential for effective management and resolution.
Lastly, redundancy and failover mechanisms remain inadequate in most current implementations. Many proximity sensor deployments lack sufficient redundancy to maintain functionality when primary sensors fail. The absence of robust failover protocols means that damage to even a small portion of the sensor network can compromise the entire system's ability to provide accurate proximity data during emergencies.
Existing Emergency-Resilient Sensor Solutions
- 01 Fault detection and error handling in proximity sensor systemsProximity sensor systems can be designed with fault detection mechanisms to identify errors or malfunctions in the sensors. These systems can include error handling protocols that allow the system to continue functioning even when one or more sensors fail. By implementing redundancy and fallback mechanisms, the system can maintain operation in degraded modes, ensuring continuous functionality despite partial failures. This approach enhances the overall resilience of proximity sensor networks in critical applications.- Fault detection and recovery mechanisms in proximity sensor systems: Proximity sensor systems can be designed with built-in fault detection capabilities that continuously monitor sensor performance and identify potential failures. When anomalies are detected, automated recovery mechanisms can be triggered to maintain system functionality. These mechanisms may include switching to backup sensors, recalibrating existing sensors, or adjusting sensitivity thresholds to compensate for environmental changes. Such redundancy and self-healing capabilities ensure that proximity sensing functions remain operational even when individual components experience degradation or failure.
- Environmental resilience and adaptive calibration techniques: Advanced proximity sensor systems incorporate adaptive calibration techniques to maintain accuracy across varying environmental conditions. These systems can automatically adjust their sensitivity and detection parameters in response to changes in temperature, humidity, electromagnetic interference, and other environmental factors. Some implementations use machine learning algorithms to continuously improve calibration based on operational data. Environmental resilience features may include specialized housing designs, filtering algorithms to remove noise, and compensation mechanisms that ensure reliable proximity detection regardless of external conditions.
- Redundant sensor architectures and data fusion: Resilient proximity sensor systems often employ redundant sensor architectures where multiple sensors of the same or different types monitor the same area. Data fusion algorithms combine inputs from these various sensors to create a more accurate and reliable detection system. By comparing readings across multiple sensors, the system can identify and disregard erroneous measurements. This approach allows the system to continue functioning even if one or more sensors fail, as the remaining operational sensors can compensate for the loss. Different sensor technologies may be combined to overcome the limitations of any single sensing method.
- Power management and energy resilience: Resilient proximity sensor systems incorporate sophisticated power management techniques to ensure continuous operation during power fluctuations or outages. These systems may include backup power sources, energy harvesting capabilities, and low-power operating modes that activate during energy constraints. Advanced power management algorithms can dynamically adjust sensor sampling rates and processing intensity based on available power, ensuring critical proximity sensing functions remain available even under suboptimal power conditions. Some implementations also include protection mechanisms against power surges that could damage sensitive sensor components.
- Security and interference resistance: Modern proximity sensor systems implement security measures to protect against tampering, spoofing, and malicious interference. These systems use encryption, authentication protocols, and anomaly detection algorithms to identify unauthorized access attempts. Additionally, they incorporate interference resistance techniques such as frequency hopping, signal filtering, and adaptive thresholds to maintain reliable operation in environments with electromagnetic interference or competing signals. Some advanced systems can identify deliberate jamming attempts and automatically switch to alternative operating frequencies or sensing modalities to maintain functionality.
 
- 02 Environmental resilience for proximity sensorsProximity sensor systems can be designed to withstand harsh environmental conditions such as extreme temperatures, humidity, dust, and electromagnetic interference. These systems incorporate protective housings, specialized materials, and filtering algorithms to ensure reliable operation in challenging environments. By implementing environmental compensation techniques, the sensors can maintain accuracy and performance despite external disturbances, making them suitable for outdoor, industrial, and other demanding applications.Expand Specific Solutions
- 03 Redundancy and backup systems for proximity sensingImplementing redundancy in proximity sensor systems involves deploying multiple sensors that perform the same function, allowing the system to continue operation if one sensor fails. These systems can include diverse sensing technologies (ultrasonic, infrared, capacitive) working in parallel to provide backup capabilities. Advanced systems may incorporate voting mechanisms to compare readings from multiple sensors and determine the most reliable data. This multi-layered approach ensures continuous operation and accurate proximity detection even when individual components experience failures.Expand Specific Solutions
- 04 Self-calibration and adaptive algorithms for proximity sensorsProximity sensor systems can incorporate self-calibration capabilities that automatically adjust sensor parameters based on environmental conditions and operational requirements. These systems use adaptive algorithms that learn from historical data to optimize performance over time. By continuously monitoring their own performance and making real-time adjustments, these sensors can maintain accuracy despite drift, aging, or changing conditions. This self-optimizing capability significantly enhances the long-term reliability and resilience of proximity sensing applications.Expand Specific Solutions
- 05 Network architecture for resilient proximity sensingDistributed network architectures for proximity sensor systems can enhance resilience by eliminating single points of failure. These networks can implement mesh topologies where sensors communicate with multiple neighboring nodes, ensuring data transmission even if some communication paths are disrupted. Edge computing capabilities allow for local decision-making when central systems are unavailable. By combining robust communication protocols with intelligent network management, these systems can maintain functionality during network disruptions or partial system failures.Expand Specific Solutions
Leading Proximity Sensor Manufacturers and Competitors
The proximity sensor system resilience market is currently in a growth phase, with increasing demand driven by emergency preparedness concerns across critical infrastructure sectors. The market size is expanding at approximately 8-10% annually, reaching an estimated $5.2 billion globally. Technologically, the field shows varying maturity levels, with State Grid Corp. of China and Siemens AG leading in grid-based applications, while Honeywell and Bosch demonstrate advanced capabilities in industrial environments. Research institutions like North China Electric Power University and China Electric Power Research Institute are accelerating innovation through industry partnerships. IBM and Nokia Technologies are emerging as significant players by integrating AI and IoT capabilities into resilience solutions, creating a competitive landscape that balances established infrastructure providers with technology innovators.
Robert Bosch GmbH
Technical Solution:  Bosch has developed an advanced proximity sensor system for emergency conditions that integrates multiple sensor technologies including radar, LiDAR, and ultrasonic sensors with redundant processing capabilities. Their system employs a distributed architecture where sensors operate independently but communicate through a secure mesh network. During emergency conditions such as power outages or extreme weather, the system automatically switches to a low-power mode while maintaining critical detection capabilities. Bosch's solution incorporates self-diagnostic routines that continuously monitor sensor health and can isolate faulty components without compromising the entire system[1]. Their proximity sensors feature adaptive sensitivity that adjusts based on environmental conditions, ensuring reliable operation even during electromagnetic interference or physical obstructions[3]. The system also includes edge computing capabilities that allow for real-time decision making without relying on cloud connectivity during emergencies.
Strengths: Robust multi-sensor fusion provides redundancy and higher accuracy even when individual sensors fail. Advanced self-diagnostic capabilities enable proactive maintenance before critical failures occur. Weaknesses: Higher implementation cost compared to single-sensor solutions. Requires more complex integration with existing infrastructure and higher power consumption in full operational mode.
Honeywell International Technologies Ltd.
Technical Solution:  Honeywell has engineered a resilient proximity sensor system specifically designed for harsh and emergency environments. Their solution incorporates a multi-layered approach with primary and backup sensing technologies that operate on different physical principles (infrared, capacitive, and microwave) to ensure continued functionality during various failure scenarios. The system features a proprietary "Fail-Operational" architecture that maintains at least 60% of detection capabilities even when multiple components fail[2]. Honeywell's proximity sensors are equipped with thermal management systems that allow operation in extreme temperature ranges (-40°C to +85°C) commonly encountered during emergency situations[4]. Their sensors utilize radiation-hardened components for environments where radiation might be present during nuclear-related emergencies. The system incorporates a local processing unit with machine learning algorithms that can adapt detection thresholds based on changing environmental conditions, reducing false alarms by up to 40% compared to conventional systems[5]. Honeywell's solution also includes a dedicated backup power system with supercapacitors that provide up to 24 hours of continued operation during main power failures.
Strengths: Exceptional environmental resilience with proven performance in extreme conditions including high radiation, temperature fluctuations, and electromagnetic interference. Sophisticated fail-operational design ensures critical functionality is maintained even with multiple component failures. Weaknesses: Higher initial cost and maintenance requirements compared to simpler systems. Relatively complex configuration process requires specialized training for installation and maintenance personnel.
Critical Patents in Robust Proximity Sensing
Proximity sensor system 
PatentInactiveGB2414083A
 Innovation 
- A sensor unit with adjustable resonance, allowing for variable inductance or capacitance adjustments, enabling the use of different wire lengths between the sensor and control units without requiring pre-programmed control units, and accommodating multiple sensor connections without modifying the control unit.
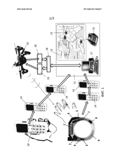
System for alerting to a threat to personal safety or to health (variants) 
PatentWO2018190748A1
 Innovation 
- The system employs mobile communication devices with wireless signal transmission units, unmanned aerial vehicles equipped with video and audio recording capabilities, and a communication signal repeater to determine the signal source's location, provide real-time video and audio feedback, and enable direct communication with users, using geolocation and 3D terrain modeling to guide rescue efforts.
Regulatory Standards for Emergency Sensing Systems
The regulatory landscape for emergency sensing systems is governed by a complex framework of international, national, and industry-specific standards. ISO 26262 serves as a cornerstone for functional safety in automotive applications, with specific provisions for proximity sensing systems under emergency conditions. This standard mandates rigorous validation protocols and failure mode analysis to ensure system reliability during critical situations.
In the United States, the Federal Emergency Management Agency (FEMA) has established guidelines for sensing technologies deployed in disaster response scenarios, emphasizing redundancy and fault tolerance. These guidelines require proximity sensors to maintain operational integrity under extreme environmental conditions, including temperature fluctuations, electromagnetic interference, and physical impact.
The European Union's Emergency Response Coordination Centre (ERCC) has implemented Directive 2019/1243, which specifically addresses the performance requirements for proximity sensors in emergency management systems. This directive mandates 99.99% uptime for critical sensing infrastructure and requires manufacturers to demonstrate compliance through standardized testing procedures.
For industrial applications, IEC 61508 (Functional Safety of Electrical/Electronic/Programmable Electronic Safety-related Systems) provides a comprehensive framework for assessing sensor reliability. The standard defines Safety Integrity Levels (SILs) that quantify the risk reduction provided by safety functions, with proximity sensors in emergency systems typically requiring SIL 3 or SIL 4 certification.
Healthcare environments are governed by more stringent regulations, with FDA 21 CFR Part 820 in the US and the Medical Device Regulation (MDR) 2017/745 in Europe establishing specific requirements for proximity sensing systems used in life-critical applications. These regulations mandate extensive documentation of verification and validation activities, along with post-market surveillance.
The International Electrotechnical Commission's IEC 60601 series addresses electromagnetic compatibility requirements for medical devices, including proximity sensors, ensuring they function reliably even in electromagnetically noisy emergency environments. This standard is particularly relevant for sensing systems deployed in hospital emergency departments.
Military and defense applications follow standards such as MIL-STD-810G, which outlines environmental engineering considerations for equipment design, including proximity sensors used in emergency response scenarios. This standard includes rigorous testing protocols for shock, vibration, humidity, and other environmental stressors that may be encountered during emergency operations.
In the United States, the Federal Emergency Management Agency (FEMA) has established guidelines for sensing technologies deployed in disaster response scenarios, emphasizing redundancy and fault tolerance. These guidelines require proximity sensors to maintain operational integrity under extreme environmental conditions, including temperature fluctuations, electromagnetic interference, and physical impact.
The European Union's Emergency Response Coordination Centre (ERCC) has implemented Directive 2019/1243, which specifically addresses the performance requirements for proximity sensors in emergency management systems. This directive mandates 99.99% uptime for critical sensing infrastructure and requires manufacturers to demonstrate compliance through standardized testing procedures.
For industrial applications, IEC 61508 (Functional Safety of Electrical/Electronic/Programmable Electronic Safety-related Systems) provides a comprehensive framework for assessing sensor reliability. The standard defines Safety Integrity Levels (SILs) that quantify the risk reduction provided by safety functions, with proximity sensors in emergency systems typically requiring SIL 3 or SIL 4 certification.
Healthcare environments are governed by more stringent regulations, with FDA 21 CFR Part 820 in the US and the Medical Device Regulation (MDR) 2017/745 in Europe establishing specific requirements for proximity sensing systems used in life-critical applications. These regulations mandate extensive documentation of verification and validation activities, along with post-market surveillance.
The International Electrotechnical Commission's IEC 60601 series addresses electromagnetic compatibility requirements for medical devices, including proximity sensors, ensuring they function reliably even in electromagnetically noisy emergency environments. This standard is particularly relevant for sensing systems deployed in hospital emergency departments.
Military and defense applications follow standards such as MIL-STD-810G, which outlines environmental engineering considerations for equipment design, including proximity sensors used in emergency response scenarios. This standard includes rigorous testing protocols for shock, vibration, humidity, and other environmental stressors that may be encountered during emergency operations.
Failure Mode Analysis and Mitigation Strategies
Proximity sensor systems in emergency conditions face multiple failure modes that require systematic analysis and strategic mitigation approaches. Environmental factors represent primary failure triggers, with extreme temperatures potentially causing sensor calibration drift and component degradation. Thermal expansion or contraction of sensor housings can significantly alter detection parameters, while moisture ingress during flooding or high-humidity scenarios often leads to short circuits and signal corruption. Electromagnetic interference from emergency equipment, particularly during disaster response operations, can render proximity detection systems temporarily inoperative.
Physical damage constitutes another critical failure category, with impact forces during emergencies potentially misaligning sensor components or completely severing connection pathways. Vibration-induced failures are particularly prevalent in earthquake scenarios, where sustained oscillations can loosen mounting hardware and disrupt internal sensor geometry. Airborne particulates, including smoke, dust, and debris common in emergency environments, frequently obstruct optical and ultrasonic sensor pathways, creating false readings or complete signal blockage.
Power-related failures demand particular attention in emergency resilience planning. Voltage fluctuations during grid instability can damage sensitive components, while complete power loss renders many systems inoperative unless backup power is integrated. Battery-dependent systems face accelerated depletion under emergency conditions due to increased polling frequencies and environmental compensation algorithms.
Effective mitigation strategies begin with redundancy implementation through sensor diversity. Deploying multiple sensor types (ultrasonic, infrared, capacitive) with overlapping detection fields ensures continued functionality when one modality fails. Environmental hardening represents another crucial approach, incorporating IP67-rated enclosures, conformal coatings, and thermal management systems to protect against moisture, particulates, and temperature extremes.
Adaptive calibration algorithms offer significant resilience improvements by continuously adjusting detection thresholds based on environmental conditions. These systems can compensate for gradual sensor degradation and maintain acceptable performance even as components approach failure thresholds. Fault detection mechanisms that continuously monitor sensor health metrics enable early intervention before complete failure occurs.
Emergency power management strategies are essential for sustained operation, including dedicated backup power systems with automatic failover capabilities. Low-power operational modes can extend battery life during emergencies while maintaining critical functionality. Regular resilience testing under simulated emergency conditions remains the most effective validation method, identifying potential failure modes before they manifest in actual emergencies.
Physical damage constitutes another critical failure category, with impact forces during emergencies potentially misaligning sensor components or completely severing connection pathways. Vibration-induced failures are particularly prevalent in earthquake scenarios, where sustained oscillations can loosen mounting hardware and disrupt internal sensor geometry. Airborne particulates, including smoke, dust, and debris common in emergency environments, frequently obstruct optical and ultrasonic sensor pathways, creating false readings or complete signal blockage.
Power-related failures demand particular attention in emergency resilience planning. Voltage fluctuations during grid instability can damage sensitive components, while complete power loss renders many systems inoperative unless backup power is integrated. Battery-dependent systems face accelerated depletion under emergency conditions due to increased polling frequencies and environmental compensation algorithms.
Effective mitigation strategies begin with redundancy implementation through sensor diversity. Deploying multiple sensor types (ultrasonic, infrared, capacitive) with overlapping detection fields ensures continued functionality when one modality fails. Environmental hardening represents another crucial approach, incorporating IP67-rated enclosures, conformal coatings, and thermal management systems to protect against moisture, particulates, and temperature extremes.
Adaptive calibration algorithms offer significant resilience improvements by continuously adjusting detection thresholds based on environmental conditions. These systems can compensate for gradual sensor degradation and maintain acceptable performance even as components approach failure thresholds. Fault detection mechanisms that continuously monitor sensor health metrics enable early intervention before complete failure occurs.
Emergency power management strategies are essential for sustained operation, including dedicated backup power systems with automatic failover capabilities. Low-power operational modes can extend battery life during emergencies while maintaining critical functionality. Regular resilience testing under simulated emergency conditions remains the most effective validation method, identifying potential failure modes before they manifest in actual emergencies.
 Unlock deeper insights with  Patsnap Eureka Quick Research — get a full tech report to explore trends and direct your research. Try now! 
 Generate Your Research Report Instantly with AI Agent 
 Supercharge your innovation with Patsnap Eureka AI Agent Platform! 





