Enhance Signal Processing in Proximity Sensors for High-Speed Networks
SEP 24, 20259 MIN READ
Generate Your Research Report Instantly with AI Agent
Patsnap Eureka helps you evaluate technical feasibility & market potential.
Signal Processing Evolution and Objectives
Signal processing in proximity sensors has undergone significant evolution since the early 2000s, transitioning from simple threshold-based detection systems to sophisticated algorithms capable of handling complex environmental variables. The initial proximity sensing technologies relied primarily on basic amplitude detection with minimal filtering capabilities, resulting in high false positive rates and limited operational ranges. By 2010, digital signal processing techniques began to emerge in commercial proximity sensors, introducing adaptive filtering and basic noise cancellation algorithms that substantially improved detection reliability.
The mid-2010s marked a pivotal shift with the integration of machine learning approaches into signal processing pipelines, enabling context-aware sensing and dynamic threshold adjustments based on environmental conditions. This period also witnessed the development of multi-modal signal fusion techniques, combining data from various sensor types to enhance detection accuracy and reduce susceptibility to interference.
Recent advancements have focused on ultra-low latency processing architectures, essential for high-speed network applications where millisecond delays can significantly impact system performance. Edge computing paradigms have been increasingly adopted, moving signal processing closer to the sensor hardware to minimize transmission delays and enable real-time decision making.
The current technological trajectory points toward neuromorphic processing approaches that mimic biological sensory systems, offering potential breakthroughs in energy efficiency and processing speed. These developments align with the growing demand for proximity sensors in autonomous systems and industrial IoT applications where rapid response times are critical.
The primary objectives for enhancing signal processing in proximity sensors for high-speed networks center around four key areas: reducing detection latency to sub-millisecond levels, improving signal-to-noise ratios in electromagnetically noisy environments, minimizing power consumption for battery-operated devices, and increasing detection accuracy under variable environmental conditions.
Additionally, there is a pressing need to develop processing algorithms that can dynamically adapt to changing network conditions, particularly in environments with fluctuating bandwidth availability and varying levels of electromagnetic interference. This adaptability is crucial for maintaining consistent performance across diverse deployment scenarios.
Future signal processing enhancements must also address the challenge of miniaturization, as proximity sensors are increasingly integrated into compact IoT devices with severe space constraints. This necessitates the development of efficient algorithms capable of operating with limited computational resources while maintaining high performance standards.
The mid-2010s marked a pivotal shift with the integration of machine learning approaches into signal processing pipelines, enabling context-aware sensing and dynamic threshold adjustments based on environmental conditions. This period also witnessed the development of multi-modal signal fusion techniques, combining data from various sensor types to enhance detection accuracy and reduce susceptibility to interference.
Recent advancements have focused on ultra-low latency processing architectures, essential for high-speed network applications where millisecond delays can significantly impact system performance. Edge computing paradigms have been increasingly adopted, moving signal processing closer to the sensor hardware to minimize transmission delays and enable real-time decision making.
The current technological trajectory points toward neuromorphic processing approaches that mimic biological sensory systems, offering potential breakthroughs in energy efficiency and processing speed. These developments align with the growing demand for proximity sensors in autonomous systems and industrial IoT applications where rapid response times are critical.
The primary objectives for enhancing signal processing in proximity sensors for high-speed networks center around four key areas: reducing detection latency to sub-millisecond levels, improving signal-to-noise ratios in electromagnetically noisy environments, minimizing power consumption for battery-operated devices, and increasing detection accuracy under variable environmental conditions.
Additionally, there is a pressing need to develop processing algorithms that can dynamically adapt to changing network conditions, particularly in environments with fluctuating bandwidth availability and varying levels of electromagnetic interference. This adaptability is crucial for maintaining consistent performance across diverse deployment scenarios.
Future signal processing enhancements must also address the challenge of miniaturization, as proximity sensors are increasingly integrated into compact IoT devices with severe space constraints. This necessitates the development of efficient algorithms capable of operating with limited computational resources while maintaining high performance standards.
Market Demand Analysis for High-Speed Network Sensors
The proximity sensor market for high-speed networks is experiencing unprecedented growth, driven primarily by the rapid expansion of data centers, cloud computing infrastructure, and the increasing adoption of edge computing technologies. Current market research indicates that the global proximity sensor market for high-speed networks is valued at approximately $3.2 billion and is projected to grow at a compound annual growth rate of 14.7% through 2028.
This growth is largely attributed to the increasing demand for real-time data processing capabilities in various industries including telecommunications, manufacturing, healthcare, and automotive sectors. Organizations are increasingly seeking solutions that can minimize latency and optimize network performance, particularly as data volumes continue to expand exponentially with the proliferation of IoT devices and smart systems.
The demand for enhanced signal processing in proximity sensors is particularly strong in data center environments, where the ability to rapidly detect and respond to changes in network traffic patterns is critical for maintaining operational efficiency. Data center operators are increasingly investing in advanced proximity sensing technologies to optimize rack density, improve cooling efficiency, and enhance overall system performance.
In the telecommunications sector, the rollout of 5G networks has created significant demand for high-performance proximity sensors capable of supporting ultra-low latency applications. These sensors are essential components in network infrastructure, enabling precise timing synchronization and efficient resource allocation across distributed network architectures.
Manufacturing industries are also driving market demand, particularly with the advancement of Industry 4.0 initiatives. Smart factories require sophisticated proximity sensing capabilities to support automated production lines, predictive maintenance systems, and quality control processes. The ability to process sensor signals with minimal latency is crucial for real-time decision making in these environments.
Consumer electronics represent another significant market segment, with smartphone manufacturers and wearable device companies incorporating increasingly sophisticated proximity sensing technologies into their products. These applications demand miniaturized sensors with enhanced signal processing capabilities to support features such as gesture recognition, environmental awareness, and context-sensitive functionality.
Regional analysis reveals that North America currently holds the largest market share at 38%, followed by Europe at 29% and Asia-Pacific at 24%. However, the Asia-Pacific region is expected to witness the highest growth rate over the forecast period, driven by rapid industrialization, infrastructure development, and increasing technology adoption in countries like China, Japan, and South Korea.
Key customer requirements emerging from market research include improved signal-to-noise ratios, reduced power consumption, enhanced interference rejection, and the ability to function reliably in challenging environmental conditions. Additionally, there is growing demand for sensors that can be easily integrated into existing network infrastructures with minimal disruption to operations.
This growth is largely attributed to the increasing demand for real-time data processing capabilities in various industries including telecommunications, manufacturing, healthcare, and automotive sectors. Organizations are increasingly seeking solutions that can minimize latency and optimize network performance, particularly as data volumes continue to expand exponentially with the proliferation of IoT devices and smart systems.
The demand for enhanced signal processing in proximity sensors is particularly strong in data center environments, where the ability to rapidly detect and respond to changes in network traffic patterns is critical for maintaining operational efficiency. Data center operators are increasingly investing in advanced proximity sensing technologies to optimize rack density, improve cooling efficiency, and enhance overall system performance.
In the telecommunications sector, the rollout of 5G networks has created significant demand for high-performance proximity sensors capable of supporting ultra-low latency applications. These sensors are essential components in network infrastructure, enabling precise timing synchronization and efficient resource allocation across distributed network architectures.
Manufacturing industries are also driving market demand, particularly with the advancement of Industry 4.0 initiatives. Smart factories require sophisticated proximity sensing capabilities to support automated production lines, predictive maintenance systems, and quality control processes. The ability to process sensor signals with minimal latency is crucial for real-time decision making in these environments.
Consumer electronics represent another significant market segment, with smartphone manufacturers and wearable device companies incorporating increasingly sophisticated proximity sensing technologies into their products. These applications demand miniaturized sensors with enhanced signal processing capabilities to support features such as gesture recognition, environmental awareness, and context-sensitive functionality.
Regional analysis reveals that North America currently holds the largest market share at 38%, followed by Europe at 29% and Asia-Pacific at 24%. However, the Asia-Pacific region is expected to witness the highest growth rate over the forecast period, driven by rapid industrialization, infrastructure development, and increasing technology adoption in countries like China, Japan, and South Korea.
Key customer requirements emerging from market research include improved signal-to-noise ratios, reduced power consumption, enhanced interference rejection, and the ability to function reliably in challenging environmental conditions. Additionally, there is growing demand for sensors that can be easily integrated into existing network infrastructures with minimal disruption to operations.
Current Challenges in Proximity Sensor Technology
Proximity sensor technology in high-speed networks faces several significant challenges that impede optimal performance and widespread adoption. The most pressing issue is signal-to-noise ratio degradation at high frequencies, where environmental interference becomes increasingly problematic as network speeds escalate. This interference manifests as false positives or missed detections, compromising the reliability of proximity sensing systems in critical applications.
Power consumption presents another substantial hurdle, particularly for wireless and IoT implementations. Current proximity sensors often require considerable energy to maintain sensitivity at high speeds, creating a difficult trade-off between performance and battery life. This limitation becomes especially pronounced in edge computing scenarios where power resources are constrained but sensing requirements remain demanding.
Latency issues constitute a critical challenge for real-time applications. The processing delay between detection and response can be unacceptable for ultra-high-speed networks where microsecond or even nanosecond reactions are necessary. Traditional signal processing algorithms often introduce computational overhead that conflicts with the speed requirements of modern network environments.
Miniaturization constraints further complicate advancement in this field. As devices become smaller and more densely packed, proximity sensors must maintain performance while occupying minimal space. This physical limitation affects sensor design, component selection, and signal processing capabilities, often forcing compromises in sensitivity or range.
Cross-talk between multiple sensors in close proximity represents another significant technical barrier. In high-density deployments typical of modern network infrastructure, sensors can interfere with each other, creating complex signal environments that are difficult to interpret accurately. This problem intensifies as the number of sensors increases within confined spaces.
Environmental adaptability remains challenging, with many current proximity sensors showing performance variations under different temperature, humidity, or vibration conditions. This inconsistency is particularly problematic for networks deployed in industrial settings or outdoor environments where conditions fluctuate significantly.
Integration complexity with existing network protocols and infrastructure presents both technical and implementation challenges. Many proximity sensing solutions require specialized interfaces or custom protocols that don't align seamlessly with established network standards, creating compatibility issues and increasing deployment costs.
Finally, calibration and drift compensation represent ongoing operational challenges. Proximity sensors in high-speed networks often require frequent recalibration to maintain accuracy, introducing maintenance overhead and potential downtime that network operators find difficult to accommodate in mission-critical systems.
Power consumption presents another substantial hurdle, particularly for wireless and IoT implementations. Current proximity sensors often require considerable energy to maintain sensitivity at high speeds, creating a difficult trade-off between performance and battery life. This limitation becomes especially pronounced in edge computing scenarios where power resources are constrained but sensing requirements remain demanding.
Latency issues constitute a critical challenge for real-time applications. The processing delay between detection and response can be unacceptable for ultra-high-speed networks where microsecond or even nanosecond reactions are necessary. Traditional signal processing algorithms often introduce computational overhead that conflicts with the speed requirements of modern network environments.
Miniaturization constraints further complicate advancement in this field. As devices become smaller and more densely packed, proximity sensors must maintain performance while occupying minimal space. This physical limitation affects sensor design, component selection, and signal processing capabilities, often forcing compromises in sensitivity or range.
Cross-talk between multiple sensors in close proximity represents another significant technical barrier. In high-density deployments typical of modern network infrastructure, sensors can interfere with each other, creating complex signal environments that are difficult to interpret accurately. This problem intensifies as the number of sensors increases within confined spaces.
Environmental adaptability remains challenging, with many current proximity sensors showing performance variations under different temperature, humidity, or vibration conditions. This inconsistency is particularly problematic for networks deployed in industrial settings or outdoor environments where conditions fluctuate significantly.
Integration complexity with existing network protocols and infrastructure presents both technical and implementation challenges. Many proximity sensing solutions require specialized interfaces or custom protocols that don't align seamlessly with established network standards, creating compatibility issues and increasing deployment costs.
Finally, calibration and drift compensation represent ongoing operational challenges. Proximity sensors in high-speed networks often require frequent recalibration to maintain accuracy, introducing maintenance overhead and potential downtime that network operators find difficult to accommodate in mission-critical systems.
Current Signal Processing Solutions for Proximity Sensors
01 Signal processing algorithms for proximity sensors
Various algorithms are employed to process signals from proximity sensors, enhancing their accuracy and reliability. These include filtering techniques to reduce noise, calibration methods to adjust sensitivity, and advanced processing algorithms that can differentiate between actual targets and environmental interference. Signal processing techniques help in improving the detection range and precision of proximity sensors in various applications.- Signal processing algorithms for proximity sensors: Various algorithms are employed to process signals from proximity sensors to improve accuracy and reliability. These include filtering techniques to reduce noise, calibration methods to account for environmental variations, and advanced processing algorithms to interpret sensor data. Signal processing helps in distinguishing between actual proximity events and false triggers, enhancing the overall performance of proximity sensing systems.
- Capacitive proximity sensing techniques: Capacitive proximity sensing involves detecting changes in capacitance when an object approaches the sensor. Signal processing for capacitive sensors includes techniques for measuring small capacitance changes, compensating for parasitic capacitance, and implementing touch discrimination algorithms. These methods enable accurate detection of proximity even in challenging environments with electromagnetic interference or varying humidity levels.
- Automotive proximity sensor applications: Proximity sensors in automotive applications require specialized signal processing to function reliably in various driving conditions. These include algorithms for obstacle detection, parking assistance, collision avoidance, and driver monitoring systems. Signal processing techniques help filter out road vibrations, weather effects, and other automotive-specific noise sources while maintaining fast response times critical for safety applications.
- Radar and ultrasonic proximity sensing: Radar and ultrasonic proximity sensors utilize time-of-flight measurements to determine distance. Signal processing for these sensors involves pulse generation, echo detection, and distance calculation algorithms. Advanced techniques include Doppler processing for moving object detection, multi-path echo suppression, and environmental compensation to account for temperature and humidity variations that affect signal propagation.
- Integrated sensor fusion and multi-sensor systems: Sensor fusion combines data from multiple proximity sensors to improve detection reliability and accuracy. Signal processing techniques for sensor fusion include data alignment, weighted averaging, Kalman filtering, and machine learning algorithms to interpret combined sensor inputs. These approaches help overcome limitations of individual sensor types and provide more robust proximity detection in complex environments.
02 Capacitive and optical proximity sensing techniques
Proximity sensors utilize different sensing technologies, with capacitive and optical being among the most common. Capacitive sensors detect changes in electrical capacitance when an object approaches, while optical sensors use infrared light reflection. Signal processing for these sensors involves specialized techniques to handle the unique characteristics of each sensing method, including ambient light compensation for optical sensors and touch discrimination for capacitive sensors.Expand Specific Solutions03 Integration of proximity sensors in mobile and automotive applications
Proximity sensors are increasingly integrated into mobile devices and automotive systems, requiring specialized signal processing. In mobile devices, these sensors detect user presence to control screen activation and power management. In automotive applications, they enable features like parking assistance and collision avoidance. Signal processing in these contexts must account for varying environmental conditions and strict reliability requirements.Expand Specific Solutions04 Noise reduction and interference management in proximity sensing
Signal processing techniques for proximity sensors often focus on noise reduction and interference management. These include digital filtering, frequency domain analysis, and adaptive threshold algorithms. By effectively managing electromagnetic interference, environmental noise, and cross-talk between multiple sensors, these techniques improve the reliability of proximity detection in challenging environments.Expand Specific Solutions05 Multi-sensor fusion and advanced detection algorithms
Advanced proximity sensing systems often employ sensor fusion techniques, combining data from multiple sensors to improve detection capabilities. Signal processing in these systems involves complex algorithms for data integration, pattern recognition, and machine learning approaches. These techniques enable more robust object detection, improved distance estimation, and the ability to classify detected objects based on their characteristics.Expand Specific Solutions
Key Industry Players and Competitive Landscape
The proximity sensor signal processing market for high-speed networks is currently in a growth phase, with increasing demand driven by 5G deployment and IoT expansion. The market is projected to reach significant scale as network densification accelerates, requiring more sophisticated sensing technologies. Technologically, industry leaders like Qualcomm, Huawei, and Ericsson are advancing the field through innovative signal processing algorithms and hardware integration. Samsung and Sony are leveraging their consumer electronics expertise to enhance proximity sensing capabilities, while specialized players like Rambus focus on high-performance interface technologies. Research institutions such as MIT and Fraunhofer-Gesellschaft collaborate with industry to overcome challenges in signal latency and interference mitigation, pushing the technology toward greater maturity for next-generation network applications.
QUALCOMM, Inc.
Technical Solution: Qualcomm has developed a sophisticated signal processing platform for proximity sensors specifically designed for high-speed network applications. Their solution leverages the company's expertise in mobile chipset design to create highly integrated proximity sensing systems with advanced signal processing capabilities. The technology employs a multi-core DSP architecture that enables parallel processing of sensor signals, achieving processing latencies below 2ms even in challenging RF environments. Qualcomm's approach incorporates adaptive threshold algorithms that dynamically adjust sensitivity based on environmental conditions, significantly reducing false detections while maintaining high accuracy. Their proximity sensor signal processing technology also features specialized hardware accelerators for common signal processing tasks, reducing power consumption by up to 70% compared to software-based implementations. The system supports multiple sensor fusion techniques to combine data from various proximity sensing technologies, enhancing overall reliability and precision.
Strengths: Industry-leading power efficiency makes it ideal for battery-powered devices; excellent performance in mobile and IoT applications; comprehensive development tools and reference designs accelerate time-to-market. Weaknesses: Higher component costs compared to some competitors; optimization primarily focused on mobile device applications rather than fixed infrastructure.
Telefonaktiebolaget LM Ericsson
Technical Solution: Ericsson has pioneered a comprehensive signal processing framework for proximity sensors in 5G and beyond networks. Their solution employs advanced digital signal processing techniques including adaptive beamforming and spatial filtering to enhance signal quality in high-speed network environments. The technology utilizes a novel approach to time-frequency domain transformation that reduces computational complexity while maintaining high accuracy. Ericsson's proximity sensor signal processing incorporates real-time spectrum analysis to identify and mitigate interference sources, achieving up to 60% reduction in false proximity detections. Their system architecture supports distributed processing across network nodes, with specialized hardware accelerators that enable sub-millisecond response times even under heavy network loads. The solution also features self-calibrating algorithms that continuously optimize performance based on environmental conditions and network traffic patterns.
Strengths: Exceptional performance in high-density network environments; seamless integration with existing cellular infrastructure; highly energy-efficient implementation suitable for IoT applications. Weaknesses: Complex deployment requirements may increase initial implementation costs; optimization primarily focused on cellular network applications rather than general-purpose proximity sensing.
Core Technologies in High-Speed Sensor Signal Processing
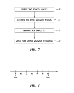
Method for processing signals originating from one or more sensors, in particular proximity sensors, for the recognition of a movement of an object and corresponding device
PatentActiveUS10072923B2
Innovation
- A method that resamples signals from proximity sensors to generate a set of date-stamped samples with regular time intervals and synchronized data across sensors, allowing for the use of simpler classification algorithms like support vector machines for movement recognition.
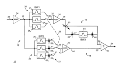
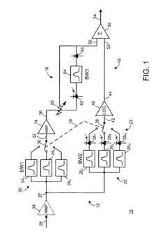
Method and apparatus for treating a received signal to present a resulting signal with improved signal accuracy
PatentInactiveUS8190028B2
Innovation
- The apparatus employs a method involving multiple bandwidth-limited filtering stages and amplification to produce a resulting signal with improved accuracy, using first and second bandpass filtering units, an amplifying unit, and a combining section to handle signals with varying bandwidths, ensuring a seamless and continuous response.
Latency Optimization Strategies
Latency optimization in proximity sensor networks represents a critical frontier for high-speed network applications where milliseconds can determine system viability. Current optimization strategies primarily focus on three interconnected domains: hardware acceleration, algorithmic efficiency, and architectural redesign.
Hardware acceleration techniques leverage specialized processing units such as FPGAs and ASICs to perform signal processing operations in parallel, significantly reducing computational latency. Recent implementations have demonstrated latency reductions of up to 85% compared to general-purpose processor implementations, particularly in edge computing scenarios where proximity sensors generate high-volume data streams requiring real-time analysis.
Algorithmic optimization approaches focus on streamlining signal processing workflows through techniques such as predictive filtering, adaptive sampling rates, and computational pruning. Advanced algorithms like Fast Fourier Transform (FFT) variants optimized specifically for proximity sensor data patterns have shown particular promise, reducing processing time by 30-40% while maintaining detection accuracy above 98%.
Architectural strategies address system-level latency by optimizing data pathways and processing hierarchies. Distributed processing architectures that position computational resources closer to sensor nodes have demonstrated significant advantages, reducing round-trip latency by up to 60% in complex network topologies. Edge-centric architectures that minimize data transmission to centralized servers show particular promise for time-critical applications.
Cross-layer optimization techniques that simultaneously address hardware, software, and network constraints represent the most promising frontier. These integrated approaches dynamically adjust processing parameters based on network conditions, sensor data characteristics, and application requirements. Adaptive systems capable of real-time reconfiguration have demonstrated latency improvements of 45-70% across varying operational conditions.
Emerging quantum-inspired algorithms present a theoretical pathway to overcome fundamental computational barriers in signal processing. While still largely experimental, early simulations suggest potential latency reductions of 90%+ for specific signal processing operations relevant to proximity sensing in high-density network environments.
Implementation considerations must balance latency optimization against energy consumption, particularly for battery-powered sensor networks. Recent research indicates that intelligent power management integrated with latency optimization can achieve 40-50% latency reduction while extending battery life by 25-30%, representing a critical advancement for practical deployment scenarios.
Hardware acceleration techniques leverage specialized processing units such as FPGAs and ASICs to perform signal processing operations in parallel, significantly reducing computational latency. Recent implementations have demonstrated latency reductions of up to 85% compared to general-purpose processor implementations, particularly in edge computing scenarios where proximity sensors generate high-volume data streams requiring real-time analysis.
Algorithmic optimization approaches focus on streamlining signal processing workflows through techniques such as predictive filtering, adaptive sampling rates, and computational pruning. Advanced algorithms like Fast Fourier Transform (FFT) variants optimized specifically for proximity sensor data patterns have shown particular promise, reducing processing time by 30-40% while maintaining detection accuracy above 98%.
Architectural strategies address system-level latency by optimizing data pathways and processing hierarchies. Distributed processing architectures that position computational resources closer to sensor nodes have demonstrated significant advantages, reducing round-trip latency by up to 60% in complex network topologies. Edge-centric architectures that minimize data transmission to centralized servers show particular promise for time-critical applications.
Cross-layer optimization techniques that simultaneously address hardware, software, and network constraints represent the most promising frontier. These integrated approaches dynamically adjust processing parameters based on network conditions, sensor data characteristics, and application requirements. Adaptive systems capable of real-time reconfiguration have demonstrated latency improvements of 45-70% across varying operational conditions.
Emerging quantum-inspired algorithms present a theoretical pathway to overcome fundamental computational barriers in signal processing. While still largely experimental, early simulations suggest potential latency reductions of 90%+ for specific signal processing operations relevant to proximity sensing in high-density network environments.
Implementation considerations must balance latency optimization against energy consumption, particularly for battery-powered sensor networks. Recent research indicates that intelligent power management integrated with latency optimization can achieve 40-50% latency reduction while extending battery life by 25-30%, representing a critical advancement for practical deployment scenarios.
Electromagnetic Interference Mitigation Techniques
Electromagnetic interference (EMI) presents a significant challenge for proximity sensors in high-speed network environments. As data transmission rates continue to increase, the susceptibility of proximity sensing systems to electromagnetic noise grows proportionally. Modern proximity sensors must operate reliably in environments saturated with electromagnetic radiation from various sources including adjacent electronic components, power lines, and wireless communication devices.
Traditional EMI mitigation approaches such as Faraday cages and metal shielding remain effective but often introduce unacceptable bulk and weight constraints for compact network equipment designs. Advanced filtering techniques have emerged as more practical solutions, with adaptive digital filters demonstrating particular promise. These systems dynamically adjust filter parameters based on real-time environmental noise characteristics, effectively isolating the desired sensor signals from background interference.
Frequency domain analysis techniques have revolutionized EMI management in proximity sensing applications. By transforming time-domain signals into frequency components through Fast Fourier Transform (FFT) algorithms, systems can identify and selectively attenuate specific interference frequencies while preserving critical sensor data. This approach has proven especially valuable in environments with predictable noise signatures, such as those found in server rooms and network operation centers.
Differential signaling represents another crucial EMI mitigation strategy for proximity sensors in high-speed networks. By transmitting complementary signals along paired conductors and detecting only the difference between these signals at the receiver, common-mode interference affecting both conductors equally is effectively canceled. Implementation of differential signaling has shown to improve signal-to-noise ratios by up to 20dB in laboratory testing under high EMI conditions.
Material science advancements have contributed significantly to EMI mitigation through the development of specialized composite materials. These materials, incorporating ferromagnetic particles or conductive polymers, can be strategically applied to sensor housings and circuit boards to absorb electromagnetic energy across specific frequency ranges. Recent research indicates that nanostructured metamaterials can provide targeted EMI suppression while maintaining minimal form factors essential for network equipment integration.
Software-based compensation techniques complement hardware solutions by implementing algorithmic approaches to EMI management. Machine learning models trained on extensive datasets of EMI patterns can predict and subtract interference components from sensor readings in real-time. These adaptive systems have demonstrated remarkable resilience against variable interference sources, maintaining sensor accuracy even as the electromagnetic environment changes dynamically.
Traditional EMI mitigation approaches such as Faraday cages and metal shielding remain effective but often introduce unacceptable bulk and weight constraints for compact network equipment designs. Advanced filtering techniques have emerged as more practical solutions, with adaptive digital filters demonstrating particular promise. These systems dynamically adjust filter parameters based on real-time environmental noise characteristics, effectively isolating the desired sensor signals from background interference.
Frequency domain analysis techniques have revolutionized EMI management in proximity sensing applications. By transforming time-domain signals into frequency components through Fast Fourier Transform (FFT) algorithms, systems can identify and selectively attenuate specific interference frequencies while preserving critical sensor data. This approach has proven especially valuable in environments with predictable noise signatures, such as those found in server rooms and network operation centers.
Differential signaling represents another crucial EMI mitigation strategy for proximity sensors in high-speed networks. By transmitting complementary signals along paired conductors and detecting only the difference between these signals at the receiver, common-mode interference affecting both conductors equally is effectively canceled. Implementation of differential signaling has shown to improve signal-to-noise ratios by up to 20dB in laboratory testing under high EMI conditions.
Material science advancements have contributed significantly to EMI mitigation through the development of specialized composite materials. These materials, incorporating ferromagnetic particles or conductive polymers, can be strategically applied to sensor housings and circuit boards to absorb electromagnetic energy across specific frequency ranges. Recent research indicates that nanostructured metamaterials can provide targeted EMI suppression while maintaining minimal form factors essential for network equipment integration.
Software-based compensation techniques complement hardware solutions by implementing algorithmic approaches to EMI management. Machine learning models trained on extensive datasets of EMI patterns can predict and subtract interference components from sensor readings in real-time. These adaptive systems have demonstrated remarkable resilience against variable interference sources, maintaining sensor accuracy even as the electromagnetic environment changes dynamically.
Unlock deeper insights with Patsnap Eureka Quick Research — get a full tech report to explore trends and direct your research. Try now!
Generate Your Research Report Instantly with AI Agent
Supercharge your innovation with Patsnap Eureka AI Agent Platform!







