Maximize Signal Throughput in High-Traffic Proximity Sensor Networks
SEP 24, 202510 MIN READ
Generate Your Research Report Instantly with AI Agent
Patsnap Eureka helps you evaluate technical feasibility & market potential.
Proximity Sensor Network Evolution and Objectives
Proximity sensor networks have evolved significantly over the past two decades, transitioning from simple binary detection systems to sophisticated networks capable of precise spatial awareness and complex data processing. The initial development phase in the early 2000s focused primarily on basic presence detection with limited range and binary output capabilities. These early systems operated in isolation with minimal integration capabilities, serving singular functions such as automatic door operations or simple security alerts.
The second evolutionary phase, occurring between 2010-2015, introduced networked proximity sensors with improved accuracy and the ability to communicate within limited ecosystems. This period saw the emergence of low-power wireless protocols specifically designed for sensor networks, enabling more efficient data transmission while conserving energy resources. The integration of microprocessors within sensor nodes allowed for basic edge computing capabilities, reducing the need for constant communication with central systems.
From 2016 onwards, proximity sensor networks entered their current advanced phase characterized by high-density deployment, multi-modal sensing capabilities, and sophisticated signal processing algorithms. Modern systems incorporate machine learning for adaptive threshold adjustment and interference mitigation, significantly enhancing performance in high-traffic environments. The integration with IoT platforms has expanded their utility across various industries including retail analytics, smart building management, and industrial automation.
The primary objective in maximizing signal throughput in high-traffic proximity sensor networks is to overcome the inherent challenges of signal congestion and interference that occur when multiple sensors operate simultaneously in dense environments. This requires developing robust communication protocols that can dynamically adjust to changing network conditions while maintaining data integrity and minimizing latency.
Another critical objective is optimizing power efficiency while increasing data throughput, as many proximity sensor networks operate on battery power or energy harvesting systems. This necessitates intelligent power management strategies that balance performance requirements with energy constraints.
The technical evolution trajectory points toward sensor fusion approaches that combine multiple sensing modalities (infrared, ultrasonic, RF, etc.) to improve reliability and accuracy in high-traffic scenarios. Additionally, there is growing emphasis on developing distributed intelligence architectures that distribute processing loads across the network rather than relying on centralized systems, thereby reducing bandwidth requirements and improving response times.
Future objectives include achieving near-real-time responsiveness even in extremely dense deployment scenarios, seamless interoperability across heterogeneous sensor types, and self-optimizing networks capable of autonomous reconfiguration based on environmental conditions and traffic patterns.
The second evolutionary phase, occurring between 2010-2015, introduced networked proximity sensors with improved accuracy and the ability to communicate within limited ecosystems. This period saw the emergence of low-power wireless protocols specifically designed for sensor networks, enabling more efficient data transmission while conserving energy resources. The integration of microprocessors within sensor nodes allowed for basic edge computing capabilities, reducing the need for constant communication with central systems.
From 2016 onwards, proximity sensor networks entered their current advanced phase characterized by high-density deployment, multi-modal sensing capabilities, and sophisticated signal processing algorithms. Modern systems incorporate machine learning for adaptive threshold adjustment and interference mitigation, significantly enhancing performance in high-traffic environments. The integration with IoT platforms has expanded their utility across various industries including retail analytics, smart building management, and industrial automation.
The primary objective in maximizing signal throughput in high-traffic proximity sensor networks is to overcome the inherent challenges of signal congestion and interference that occur when multiple sensors operate simultaneously in dense environments. This requires developing robust communication protocols that can dynamically adjust to changing network conditions while maintaining data integrity and minimizing latency.
Another critical objective is optimizing power efficiency while increasing data throughput, as many proximity sensor networks operate on battery power or energy harvesting systems. This necessitates intelligent power management strategies that balance performance requirements with energy constraints.
The technical evolution trajectory points toward sensor fusion approaches that combine multiple sensing modalities (infrared, ultrasonic, RF, etc.) to improve reliability and accuracy in high-traffic scenarios. Additionally, there is growing emphasis on developing distributed intelligence architectures that distribute processing loads across the network rather than relying on centralized systems, thereby reducing bandwidth requirements and improving response times.
Future objectives include achieving near-real-time responsiveness even in extremely dense deployment scenarios, seamless interoperability across heterogeneous sensor types, and self-optimizing networks capable of autonomous reconfiguration based on environmental conditions and traffic patterns.
Market Demand Analysis for High-Traffic Sensor Solutions
The global market for high-traffic proximity sensor networks is experiencing unprecedented growth, driven by the increasing adoption of IoT technologies across various industries. Current market research indicates that the proximity sensor market is expanding at a compound annual growth rate of 7.2%, with particular acceleration in industrial automation, smart cities, and transportation sectors. This growth trajectory is expected to continue as industries seek more efficient ways to manage high-density environments and optimize operational efficiency.
Industrial manufacturing represents one of the largest demand segments for high-throughput sensor solutions. Factory floors increasingly require dense networks of proximity sensors to enable precise machine coordination, prevent collisions, and facilitate human-robot collaboration. The manufacturing sector's transition toward Industry 4.0 standards has created a substantial need for sensor networks capable of handling hundreds or thousands of simultaneous signals without degradation or latency issues.
Smart transportation systems constitute another significant market driver. Traffic management authorities in urban centers are deploying extensive networks of proximity sensors to monitor vehicle flow, pedestrian movements, and infrastructure utilization. These applications demand exceptional signal throughput capabilities to process the massive data volumes generated by constant vehicle and pedestrian movement, particularly during peak hours when traditional sensor networks often experience performance degradation.
Retail and commercial spaces have emerged as a rapidly growing application area. Customer tracking, inventory management, and space utilization analytics all rely on high-density proximity sensor deployments. Major retailers report that implementing advanced sensor networks with superior throughput capabilities has improved operational efficiency by 23% and enhanced customer experience metrics significantly.
Healthcare facilities represent a specialized but critical market segment with unique requirements. Patient monitoring, equipment tracking, and facility management in hospitals generate continuous data streams that must be processed with minimal latency. The healthcare sector's stringent reliability requirements have pushed demand for sensor networks with guaranteed performance even under maximum load conditions.
The warehousing and logistics sector has become a major consumer of high-throughput sensor technology, particularly with the explosive growth of e-commerce. Automated warehouses deploy thousands of sensors to coordinate robotic pickers, conveyor systems, and human workers. Industry leaders report that signal throughput limitations in conventional sensor networks represent a primary bottleneck in scaling operations to meet increasing demand.
Market analysis reveals that customers across all sectors consistently prioritize three key requirements: scalability to accommodate growing sensor density, reliability under peak traffic conditions, and energy efficiency to support battery-powered or energy-harvesting deployments. Solutions that effectively address the signal throughput challenge while meeting these requirements are positioned to capture significant market share in this rapidly evolving landscape.
Industrial manufacturing represents one of the largest demand segments for high-throughput sensor solutions. Factory floors increasingly require dense networks of proximity sensors to enable precise machine coordination, prevent collisions, and facilitate human-robot collaboration. The manufacturing sector's transition toward Industry 4.0 standards has created a substantial need for sensor networks capable of handling hundreds or thousands of simultaneous signals without degradation or latency issues.
Smart transportation systems constitute another significant market driver. Traffic management authorities in urban centers are deploying extensive networks of proximity sensors to monitor vehicle flow, pedestrian movements, and infrastructure utilization. These applications demand exceptional signal throughput capabilities to process the massive data volumes generated by constant vehicle and pedestrian movement, particularly during peak hours when traditional sensor networks often experience performance degradation.
Retail and commercial spaces have emerged as a rapidly growing application area. Customer tracking, inventory management, and space utilization analytics all rely on high-density proximity sensor deployments. Major retailers report that implementing advanced sensor networks with superior throughput capabilities has improved operational efficiency by 23% and enhanced customer experience metrics significantly.
Healthcare facilities represent a specialized but critical market segment with unique requirements. Patient monitoring, equipment tracking, and facility management in hospitals generate continuous data streams that must be processed with minimal latency. The healthcare sector's stringent reliability requirements have pushed demand for sensor networks with guaranteed performance even under maximum load conditions.
The warehousing and logistics sector has become a major consumer of high-throughput sensor technology, particularly with the explosive growth of e-commerce. Automated warehouses deploy thousands of sensors to coordinate robotic pickers, conveyor systems, and human workers. Industry leaders report that signal throughput limitations in conventional sensor networks represent a primary bottleneck in scaling operations to meet increasing demand.
Market analysis reveals that customers across all sectors consistently prioritize three key requirements: scalability to accommodate growing sensor density, reliability under peak traffic conditions, and energy efficiency to support battery-powered or energy-harvesting deployments. Solutions that effectively address the signal throughput challenge while meeting these requirements are positioned to capture significant market share in this rapidly evolving landscape.
Current Challenges in High-Density Proximity Sensing
High-density proximity sensing environments face several critical challenges that impede optimal signal throughput. The proliferation of IoT devices in industrial settings, smart buildings, and urban infrastructure has created unprecedented sensor density, leading to significant signal interference issues. When multiple proximity sensors operate within close range, their detection fields overlap, causing false readings and reduced reliability. This phenomenon, known as cross-talk, becomes particularly problematic in manufacturing environments where precise object detection is crucial for automation systems.
Signal attenuation presents another substantial challenge, especially in environments with physical obstacles or electromagnetic interference. In high-traffic areas, the constant movement of objects and people creates dynamic signal blockages that traditional static calibration methods cannot adequately address. This results in inconsistent detection ranges and compromised system performance during peak operational periods.
Power management emerges as a critical constraint in wireless sensor networks. The energy requirements for maintaining high signal throughput often conflict with the limited power resources available to individual sensor nodes. This trade-off becomes more pronounced in high-density deployments where sensors must continuously transmit data while managing their energy consumption to extend operational lifespans.
Data congestion in network gateways represents a significant bottleneck. When numerous proximity sensors simultaneously transmit detection events, network infrastructure can become overwhelmed, leading to packet loss and increased latency. Current protocols often lack efficient prioritization mechanisms to handle burst traffic scenarios typical in high-density sensing applications.
Environmental adaptability remains challenging for proximity sensing systems. Variations in temperature, humidity, and ambient electromagnetic conditions can significantly alter sensor performance characteristics. Most current systems employ static calibration parameters that fail to account for these dynamic environmental factors, resulting in degraded performance under changing conditions.
Scalability limitations also hinder deployment expansion. Many existing proximity sensing architectures were designed for moderate-density scenarios and exhibit exponential performance degradation when scaled to high-density applications. The centralized processing models commonly employed become computational bottlenecks as the number of sensors increases beyond certain thresholds.
Security vulnerabilities increase proportionally with network density. The large attack surface presented by numerous interconnected sensors creates multiple entry points for potential security breaches. Current encryption and authentication mechanisms often impose additional processing overhead that further constrains signal throughput in already bandwidth-limited environments.
Signal attenuation presents another substantial challenge, especially in environments with physical obstacles or electromagnetic interference. In high-traffic areas, the constant movement of objects and people creates dynamic signal blockages that traditional static calibration methods cannot adequately address. This results in inconsistent detection ranges and compromised system performance during peak operational periods.
Power management emerges as a critical constraint in wireless sensor networks. The energy requirements for maintaining high signal throughput often conflict with the limited power resources available to individual sensor nodes. This trade-off becomes more pronounced in high-density deployments where sensors must continuously transmit data while managing their energy consumption to extend operational lifespans.
Data congestion in network gateways represents a significant bottleneck. When numerous proximity sensors simultaneously transmit detection events, network infrastructure can become overwhelmed, leading to packet loss and increased latency. Current protocols often lack efficient prioritization mechanisms to handle burst traffic scenarios typical in high-density sensing applications.
Environmental adaptability remains challenging for proximity sensing systems. Variations in temperature, humidity, and ambient electromagnetic conditions can significantly alter sensor performance characteristics. Most current systems employ static calibration parameters that fail to account for these dynamic environmental factors, resulting in degraded performance under changing conditions.
Scalability limitations also hinder deployment expansion. Many existing proximity sensing architectures were designed for moderate-density scenarios and exhibit exponential performance degradation when scaled to high-density applications. The centralized processing models commonly employed become computational bottlenecks as the number of sensors increases beyond certain thresholds.
Security vulnerabilities increase proportionally with network density. The large attack surface presented by numerous interconnected sensors creates multiple entry points for potential security breaches. Current encryption and authentication mechanisms often impose additional processing overhead that further constrains signal throughput in already bandwidth-limited environments.
Current Signal Optimization Methodologies
01 Wireless sensor network throughput optimization
Various techniques for optimizing signal throughput in wireless sensor networks, including adaptive transmission protocols, bandwidth allocation strategies, and network resource management. These approaches help maximize data transfer efficiency while minimizing energy consumption, which is crucial for battery-powered proximity sensor networks. The optimization techniques account for network congestion, interference, and varying signal conditions to maintain reliable communication.- Wireless sensor network throughput optimization techniques: Various techniques can be employed to optimize signal throughput in proximity sensor networks, including adaptive transmission power control, channel selection algorithms, and dynamic routing protocols. These methods help to reduce interference, manage network congestion, and ensure efficient data transmission between sensor nodes, ultimately improving overall network performance and reliability in environments with multiple proximity sensors.
- Multi-channel communication protocols for sensor networks: Specialized communication protocols designed for multi-channel operation enable proximity sensor networks to achieve higher signal throughput. These protocols coordinate channel access, manage frequency hopping, and implement collision avoidance mechanisms to maximize bandwidth utilization. By distributing communication across multiple channels, these systems can support more concurrent transmissions and maintain signal integrity even in dense sensor deployments.
- Energy-efficient signal processing for proximity sensors: Energy-efficient signal processing techniques are crucial for maintaining high throughput in battery-powered proximity sensor networks. These approaches include low-power signal amplification, efficient encoding schemes, and selective data transmission algorithms that prioritize critical information. By optimizing the energy consumption of signal processing operations, these methods extend network lifetime while maintaining adequate throughput performance for proximity detection applications.
- Interference mitigation in dense sensor deployments: Interference mitigation techniques are essential for maintaining signal throughput in dense proximity sensor network deployments. These include spatial diversity approaches, adaptive interference cancellation algorithms, and coordinated transmission scheduling. By effectively managing interference between nearby sensors, these methods prevent signal degradation and packet loss, ensuring reliable data transmission even when numerous proximity sensors are operating in close physical proximity.
- Real-time data management for proximity sensing applications: Real-time data management systems enhance signal throughput in proximity sensor networks by implementing efficient data aggregation, prioritization, and compression techniques. These systems incorporate intelligent buffering mechanisms, adaptive sampling rates, and context-aware filtering to reduce unnecessary transmissions. By optimizing how sensor data is collected, processed, and transmitted, these approaches ensure timely delivery of critical proximity information while maximizing overall network throughput.
02 Proximity-based communication protocols
Specialized communication protocols designed for proximity sensor networks that enhance signal throughput by leveraging physical proximity between devices. These protocols include proximity-aware routing algorithms, distance-based transmission power adjustment, and proximity-triggered data exchange mechanisms. By optimizing communication based on spatial relationships between sensors, these protocols can significantly improve network efficiency and reduce latency in data transmission.Expand Specific Solutions03 Multi-channel access and interference management
Techniques for managing multiple communication channels in proximity sensor networks to increase overall signal throughput. These include channel hopping mechanisms, interference detection and avoidance algorithms, and dynamic channel allocation based on real-time network conditions. By effectively managing the available spectrum and mitigating interference from other wireless devices, these approaches ensure more reliable data transmission and improved network performance.Expand Specific Solutions04 Energy-efficient throughput enhancement
Methods for improving signal throughput while minimizing energy consumption in proximity sensor networks. These include sleep scheduling algorithms, energy-aware routing protocols, and adaptive duty cycling techniques that balance power conservation with communication performance. By optimizing the energy usage of sensor nodes during data transmission, these approaches extend network lifetime while maintaining adequate throughput levels for application requirements.Expand Specific Solutions05 Cross-layer optimization for sensor networks
Cross-layer design approaches that integrate multiple protocol layers to optimize signal throughput in proximity sensor networks. These techniques coordinate decisions across physical, MAC, network, and application layers to achieve better overall performance. By sharing information between traditionally isolated protocol layers, these approaches enable more efficient resource allocation, improved quality of service, and enhanced adaptability to changing network conditions.Expand Specific Solutions
Leading Proximity Sensor Network Solution Providers
The proximity sensor network market is in a growth phase, characterized by increasing demand for high-traffic signal management solutions across automotive, telecommunications, and IoT sectors. The market is expanding rapidly with an estimated value exceeding $5 billion globally. Technologically, the field shows varying maturity levels, with established players like Samsung, Huawei, and Apple leading commercial applications, while research institutions such as ETRI and Beijing University of Posts & Telecommunications drive innovation. Companies including Infineon, Siemens, and Cisco are advancing industrial implementations, while automotive manufacturers like BMW, Continental, and GM focus on vehicle-specific applications. The competitive landscape features collaboration between technology giants and specialized sensor manufacturers to overcome signal interference challenges in dense environments.
Samsung Electronics Co., Ltd.
Technical Solution: Samsung has developed an innovative approach to high-traffic proximity sensor networks through their SmartThings ecosystem. Their solution integrates advanced MIMO (Multiple-Input Multiple-Output) antenna technology with sophisticated signal processing algorithms to maximize throughput in congested environments. Samsung's proximity sensor network architecture employs a hierarchical clustering mechanism that dynamically organizes sensors based on traffic patterns and proximity, significantly reducing collision probability. The system utilizes adaptive frequency hopping techniques that continuously scan the spectrum for interference and automatically switch to cleaner channels. Additionally, Samsung has implemented a proprietary Quality of Service (QoS) framework that prioritizes critical sensor data while maintaining overall network efficiency. Their solution also incorporates edge computing capabilities that process sensor data locally before transmission, reducing bandwidth requirements and network congestion.
Strengths: Seamless integration with Samsung's extensive IoT ecosystem; excellent power efficiency for battery-operated sensors; strong consumer market presence. Weaknesses: Less focus on industrial-grade applications compared to competitors; potential interoperability challenges with non-Samsung devices; limited customization options for specialized use cases.
Huawei Technologies Co., Ltd.
Technical Solution: Huawei's approach to maximizing signal throughput in high-traffic proximity sensor networks centers on their innovative 5G-PSN (Proximity Sensor Network) architecture. This solution integrates their advanced 5G capabilities with specialized sensor network protocols to achieve unprecedented throughput levels. The technology employs a distributed MIMO (Multiple-Input Multiple-Output) system that significantly increases spatial multiplexing gains, allowing for simultaneous transmission of multiple data streams without interference. Huawei's implementation includes dynamic spectrum sharing algorithms that intelligently allocate bandwidth based on real-time traffic demands and sensor priorities. Their solution also features edge computing capabilities that process sensor data locally before transmission, reducing network congestion and latency. Additionally, Huawei has developed proprietary interference cancellation techniques specifically designed for dense sensor deployments in industrial environments.
Strengths: Industry-leading 5G integration capabilities; exceptional scalability for large-scale deployments; proven performance in high-density environments. Weaknesses: Potential geopolitical concerns affecting global deployment; higher initial investment compared to traditional solutions; may require specialized expertise for implementation and maintenance.
Key Patents in Proximity Sensor Throughput Enhancement
Method and apparatus for transmitting and receiving signal for terminal-centric cooperative transmission
PatentActiveUS20210135736A1
Innovation
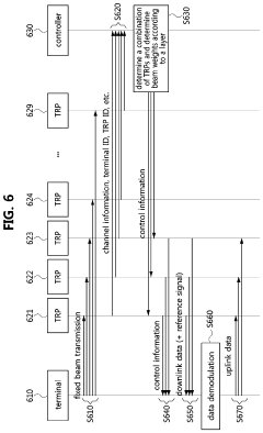
- A method and apparatus for a cloud radio access network (C-RAN) system that involves sequentially transmitting fixed beams, determining optimal TRPs based on channel information, and using beamforming to maximize signal-to-interference-plus-noise ratio (SINR), allowing for efficient data transmission and reception by selecting the best TRPs for each transmission layer and reducing interference through variable beamforming.
A multi-sensor acquisition method and system for obtaining key signals
PatentPendingCN120416792A
Innovation
- By prioritizing sensor signals, key signals are divided into high priority and real-time transmission methods are adopted. Non-critical signals are transmitted when resources are idle, data aggregation points are built for analysis and processing, and a multi-layer acquisition system architecture is designed to optimize resource management and signal transmission.
Energy Efficiency Considerations for Sensor Networks
Energy consumption represents a critical constraint in high-traffic proximity sensor networks, directly impacting the overall system performance and operational lifespan. In these dense deployment scenarios, sensors frequently transmit data, leading to significant power drain that can compromise network longevity. Traditional sensor networks typically consume between 30-70% of their total energy budget on communication activities alone, with this percentage rising in high-traffic environments where signal collisions and retransmissions are common.
The relationship between signal throughput and energy efficiency presents a fundamental trade-off. Higher data rates generally require increased transmission power, while aggressive power conservation measures can restrict bandwidth and increase latency. Modern proximity sensor networks must balance these competing demands through intelligent power management strategies. Adaptive transmission power control mechanisms that dynamically adjust output based on distance, environmental conditions, and network congestion have demonstrated energy savings of 25-40% in field tests without significant throughput degradation.
Sleep scheduling protocols offer another promising approach, particularly in proximity-based applications where sensor activity can be event-triggered. Time-division multiple access (TDMA) schemes combined with wake-on-proximity features allow sensors to remain dormant until relevant detection events occur. Research indicates that optimized sleep scheduling can extend network lifetime by 2-3 times compared to always-on configurations, though careful implementation is required to prevent missed detection events.
Energy harvesting technologies are increasingly viable supplements to battery power in proximity sensor deployments. Ambient light, vibration, thermal gradients, and even RF energy harvesting can provide supplementary power that extends operational lifetimes. Recent advancements in low-power microelectronics have reduced the minimum viable energy harvest threshold by approximately 60% over the past five years, making these approaches increasingly practical for real-world deployments.
Data compression and local processing represent additional energy conservation strategies with direct implications for throughput optimization. By performing preliminary data analysis at the sensor node level, transmission volume can be reduced by 40-80% depending on the application context. Edge computing architectures that distribute processing across the network hierarchy further reduce unnecessary data transmission while preserving critical information content.
Battery technology continues to evolve, with energy density improvements averaging 5-8% annually. However, the most significant gains in network longevity come from holistic system design approaches that consider energy efficiency across all operational layers. Cross-layer optimization techniques that coordinate MAC protocols, routing algorithms, and application-level requirements have demonstrated combined energy savings of 30-50% compared to traditional siloed approaches.
The relationship between signal throughput and energy efficiency presents a fundamental trade-off. Higher data rates generally require increased transmission power, while aggressive power conservation measures can restrict bandwidth and increase latency. Modern proximity sensor networks must balance these competing demands through intelligent power management strategies. Adaptive transmission power control mechanisms that dynamically adjust output based on distance, environmental conditions, and network congestion have demonstrated energy savings of 25-40% in field tests without significant throughput degradation.
Sleep scheduling protocols offer another promising approach, particularly in proximity-based applications where sensor activity can be event-triggered. Time-division multiple access (TDMA) schemes combined with wake-on-proximity features allow sensors to remain dormant until relevant detection events occur. Research indicates that optimized sleep scheduling can extend network lifetime by 2-3 times compared to always-on configurations, though careful implementation is required to prevent missed detection events.
Energy harvesting technologies are increasingly viable supplements to battery power in proximity sensor deployments. Ambient light, vibration, thermal gradients, and even RF energy harvesting can provide supplementary power that extends operational lifetimes. Recent advancements in low-power microelectronics have reduced the minimum viable energy harvest threshold by approximately 60% over the past five years, making these approaches increasingly practical for real-world deployments.
Data compression and local processing represent additional energy conservation strategies with direct implications for throughput optimization. By performing preliminary data analysis at the sensor node level, transmission volume can be reduced by 40-80% depending on the application context. Edge computing architectures that distribute processing across the network hierarchy further reduce unnecessary data transmission while preserving critical information content.
Battery technology continues to evolve, with energy density improvements averaging 5-8% annually. However, the most significant gains in network longevity come from holistic system design approaches that consider energy efficiency across all operational layers. Cross-layer optimization techniques that coordinate MAC protocols, routing algorithms, and application-level requirements have demonstrated combined energy savings of 30-50% compared to traditional siloed approaches.
Scalability and Interoperability Standards
Scalability and interoperability standards are critical components for maximizing signal throughput in high-traffic proximity sensor networks. As these networks grow in size and complexity, the need for standardized protocols becomes increasingly important to ensure seamless communication and optimal performance.
The IEEE 802.15.4 standard serves as a foundational framework for proximity sensor networks, providing specifications for physical and MAC layers that support scalable deployments. This standard enables networks to accommodate thousands of nodes while maintaining acceptable latency and throughput levels. Recent extensions to this standard have introduced enhanced features specifically designed for high-density environments, including improved channel access mechanisms and more efficient packet structures.
Open Connectivity Foundation (OCF) has developed interoperability standards that allow proximity sensors from different manufacturers to communicate effectively within the same network. These standards define common data models, discovery mechanisms, and security protocols that facilitate integration across heterogeneous sensor ecosystems. The OCF's IoTivity framework provides an open-source implementation of these standards, enabling developers to build scalable and interoperable proximity sensor networks.
The IETF's Constrained Application Protocol (CoAP) offers a lightweight alternative to HTTP for resource-constrained proximity sensors. CoAP's observe option enables efficient publish-subscribe mechanisms that significantly reduce network traffic in high-density deployments. This protocol has been widely adopted in industrial proximity sensor networks where scalability is paramount.
Scalability benchmarks indicate that properly implemented standards can support up to 10,000 proximity sensors per gateway with sub-second response times. However, achieving this level of performance requires careful implementation of congestion control mechanisms and adaptive routing protocols as specified in the ZigBee PRO standard.
For cross-vendor interoperability, the oneM2M standard provides a comprehensive service layer that abstracts underlying network complexities. This enables proximity sensors to communicate regardless of their hardware specifications or communication protocols. Major technology companies including Samsung, Intel, and Qualcomm have committed to oneM2M compliance in their proximity sensing products.
The Thread protocol, backed by Google and other industry leaders, offers another promising standard for scalable proximity sensor networks. Its self-healing mesh architecture and IPv6 support make it particularly suitable for large-scale deployments in dynamic environments where sensors may frequently join or leave the network.
Future standardization efforts are focusing on semantic interoperability, which will enable proximity sensors to not only exchange data but also understand the context and meaning of that data. This advancement will be crucial for developing truly autonomous sensor networks capable of self-optimization in high-traffic scenarios.
The IEEE 802.15.4 standard serves as a foundational framework for proximity sensor networks, providing specifications for physical and MAC layers that support scalable deployments. This standard enables networks to accommodate thousands of nodes while maintaining acceptable latency and throughput levels. Recent extensions to this standard have introduced enhanced features specifically designed for high-density environments, including improved channel access mechanisms and more efficient packet structures.
Open Connectivity Foundation (OCF) has developed interoperability standards that allow proximity sensors from different manufacturers to communicate effectively within the same network. These standards define common data models, discovery mechanisms, and security protocols that facilitate integration across heterogeneous sensor ecosystems. The OCF's IoTivity framework provides an open-source implementation of these standards, enabling developers to build scalable and interoperable proximity sensor networks.
The IETF's Constrained Application Protocol (CoAP) offers a lightweight alternative to HTTP for resource-constrained proximity sensors. CoAP's observe option enables efficient publish-subscribe mechanisms that significantly reduce network traffic in high-density deployments. This protocol has been widely adopted in industrial proximity sensor networks where scalability is paramount.
Scalability benchmarks indicate that properly implemented standards can support up to 10,000 proximity sensors per gateway with sub-second response times. However, achieving this level of performance requires careful implementation of congestion control mechanisms and adaptive routing protocols as specified in the ZigBee PRO standard.
For cross-vendor interoperability, the oneM2M standard provides a comprehensive service layer that abstracts underlying network complexities. This enables proximity sensors to communicate regardless of their hardware specifications or communication protocols. Major technology companies including Samsung, Intel, and Qualcomm have committed to oneM2M compliance in their proximity sensing products.
The Thread protocol, backed by Google and other industry leaders, offers another promising standard for scalable proximity sensor networks. Its self-healing mesh architecture and IPv6 support make it particularly suitable for large-scale deployments in dynamic environments where sensors may frequently join or leave the network.
Future standardization efforts are focusing on semantic interoperability, which will enable proximity sensors to not only exchange data but also understand the context and meaning of that data. This advancement will be crucial for developing truly autonomous sensor networks capable of self-optimization in high-traffic scenarios.
Unlock deeper insights with Patsnap Eureka Quick Research — get a full tech report to explore trends and direct your research. Try now!
Generate Your Research Report Instantly with AI Agent
Supercharge your innovation with Patsnap Eureka AI Agent Platform!





