Adapt Proximity Sensor Functionality to Dynamic Environmental Needs
SEP 24, 202510 MIN READ
 Generate Your Research Report Instantly with AI Agent 
 Patsnap Eureka helps you evaluate technical feasibility & market potential. 
Proximity Sensing Technology Background and Objectives
Proximity sensing technology has evolved significantly over the past decades, transitioning from simple mechanical switches to sophisticated electronic systems capable of detecting objects without physical contact. The fundamental principle behind proximity sensing involves detecting the presence or absence of nearby objects through the emission and reception of various forms of energy, including electromagnetic fields, infrared radiation, ultrasonic waves, and optical signals. This technology initially emerged in industrial automation during the 1960s but has since expanded into numerous applications across diverse sectors.
The evolution of proximity sensors has been marked by several key milestones, including the development of capacitive and inductive sensors in the 1970s, infrared-based sensors in the 1980s, and ultrasonic sensors in the 1990s. The early 2000s witnessed the integration of proximity sensors into consumer electronics, while the 2010s saw the emergence of advanced time-of-flight (ToF) sensors and radar-based solutions. Recent years have brought significant advancements in miniaturization, power efficiency, and environmental adaptability.
Current proximity sensing technologies face increasing demands for adaptability to dynamic environmental conditions. Traditional sensors often operate with fixed parameters, leading to performance degradation when environmental factors such as lighting conditions, temperature, humidity, or electromagnetic interference fluctuate. This limitation becomes particularly problematic in applications requiring consistent performance across diverse settings, such as automotive safety systems, industrial automation in varying environments, and consumer electronics used in multiple contexts.
The primary objective of research on adapting proximity sensor functionality to dynamic environmental needs is to develop intelligent sensing systems capable of maintaining optimal performance regardless of environmental variations. This involves creating sensors that can automatically calibrate, adjust their sensitivity, modify detection algorithms, or switch between different sensing modalities based on real-time environmental assessment. Such adaptive systems would significantly enhance reliability, accuracy, and operational range across diverse and changing conditions.
Secondary objectives include reducing power consumption through context-aware operation, minimizing false positives and negatives in challenging environments, extending sensor lifespan through adaptive stress management, and enabling seamless operation across indoor-outdoor transitions. Additionally, research aims to develop standardized frameworks for environmental adaptation that can be implemented across various sensor types and applications.
The technological trajectory points toward multi-modal sensing systems that combine different detection principles, machine learning algorithms for environmental pattern recognition, and advanced signal processing techniques. These developments align with broader industry trends toward more intelligent, autonomous systems capable of operating reliably in unpredictable real-world environments.
The evolution of proximity sensors has been marked by several key milestones, including the development of capacitive and inductive sensors in the 1970s, infrared-based sensors in the 1980s, and ultrasonic sensors in the 1990s. The early 2000s witnessed the integration of proximity sensors into consumer electronics, while the 2010s saw the emergence of advanced time-of-flight (ToF) sensors and radar-based solutions. Recent years have brought significant advancements in miniaturization, power efficiency, and environmental adaptability.
Current proximity sensing technologies face increasing demands for adaptability to dynamic environmental conditions. Traditional sensors often operate with fixed parameters, leading to performance degradation when environmental factors such as lighting conditions, temperature, humidity, or electromagnetic interference fluctuate. This limitation becomes particularly problematic in applications requiring consistent performance across diverse settings, such as automotive safety systems, industrial automation in varying environments, and consumer electronics used in multiple contexts.
The primary objective of research on adapting proximity sensor functionality to dynamic environmental needs is to develop intelligent sensing systems capable of maintaining optimal performance regardless of environmental variations. This involves creating sensors that can automatically calibrate, adjust their sensitivity, modify detection algorithms, or switch between different sensing modalities based on real-time environmental assessment. Such adaptive systems would significantly enhance reliability, accuracy, and operational range across diverse and changing conditions.
Secondary objectives include reducing power consumption through context-aware operation, minimizing false positives and negatives in challenging environments, extending sensor lifespan through adaptive stress management, and enabling seamless operation across indoor-outdoor transitions. Additionally, research aims to develop standardized frameworks for environmental adaptation that can be implemented across various sensor types and applications.
The technological trajectory points toward multi-modal sensing systems that combine different detection principles, machine learning algorithms for environmental pattern recognition, and advanced signal processing techniques. These developments align with broader industry trends toward more intelligent, autonomous systems capable of operating reliably in unpredictable real-world environments.
Market Analysis for Adaptive Proximity Sensing Solutions
The global market for adaptive proximity sensing solutions is experiencing robust growth, driven by increasing demand for context-aware technologies across multiple industries. Current market valuations place this sector at approximately $5.2 billion, with projections indicating a compound annual growth rate of 12.3% through 2028. This growth trajectory is particularly pronounced in automotive safety systems, industrial automation, and consumer electronics, where environmental adaptability is becoming a critical differentiator.
Consumer electronics represents the largest market segment, accounting for nearly 38% of the total market share. Smartphone manufacturers are increasingly integrating advanced proximity sensors that can adjust sensitivity based on ambient conditions, reducing false triggers and improving user experience. This trend is expected to accelerate as consumers demand more intuitive device interactions.
The automotive sector demonstrates the most aggressive growth rate at 15.7% annually, fueled by advancements in advanced driver assistance systems (ADAS) and autonomous vehicle development. Adaptive proximity sensors that can function reliably across varying weather conditions, lighting scenarios, and traffic densities are becoming essential components in ensuring vehicle safety and operational efficiency.
Industrial applications constitute another significant market segment, with manufacturing facilities implementing adaptive proximity sensing for machinery safety, inventory management, and process optimization. The ability to dynamically adjust sensor parameters based on changing production environments has proven to reduce downtime by up to 27% in early adopting facilities.
Geographically, North America leads the market with 34% share, followed closely by Asia-Pacific at 31%, which is expected to overtake North America by 2026 due to rapid industrial automation adoption in countries like China, Japan, and South Korea. European markets account for 28% of global demand, with particular strength in automotive applications.
Market analysis reveals several key customer requirements driving innovation: enhanced environmental adaptability (functioning across varying light, temperature, and humidity conditions), reduced power consumption, miniaturization, and improved integration with AI systems for predictive capabilities. Price sensitivity varies significantly by application, with industrial customers prioritizing reliability over cost, while consumer electronics manufacturers remain highly cost-conscious.
Emerging market opportunities include healthcare applications (patient monitoring systems that adapt to clinical environments), smart city infrastructure (traffic management systems with weather-adaptive sensing), and agricultural technology (precision farming tools that adjust to changing field conditions). These sectors represent potential high-growth niches for companies with specialized adaptive sensing technologies.
Consumer electronics represents the largest market segment, accounting for nearly 38% of the total market share. Smartphone manufacturers are increasingly integrating advanced proximity sensors that can adjust sensitivity based on ambient conditions, reducing false triggers and improving user experience. This trend is expected to accelerate as consumers demand more intuitive device interactions.
The automotive sector demonstrates the most aggressive growth rate at 15.7% annually, fueled by advancements in advanced driver assistance systems (ADAS) and autonomous vehicle development. Adaptive proximity sensors that can function reliably across varying weather conditions, lighting scenarios, and traffic densities are becoming essential components in ensuring vehicle safety and operational efficiency.
Industrial applications constitute another significant market segment, with manufacturing facilities implementing adaptive proximity sensing for machinery safety, inventory management, and process optimization. The ability to dynamically adjust sensor parameters based on changing production environments has proven to reduce downtime by up to 27% in early adopting facilities.
Geographically, North America leads the market with 34% share, followed closely by Asia-Pacific at 31%, which is expected to overtake North America by 2026 due to rapid industrial automation adoption in countries like China, Japan, and South Korea. European markets account for 28% of global demand, with particular strength in automotive applications.
Market analysis reveals several key customer requirements driving innovation: enhanced environmental adaptability (functioning across varying light, temperature, and humidity conditions), reduced power consumption, miniaturization, and improved integration with AI systems for predictive capabilities. Price sensitivity varies significantly by application, with industrial customers prioritizing reliability over cost, while consumer electronics manufacturers remain highly cost-conscious.
Emerging market opportunities include healthcare applications (patient monitoring systems that adapt to clinical environments), smart city infrastructure (traffic management systems with weather-adaptive sensing), and agricultural technology (precision farming tools that adjust to changing field conditions). These sectors represent potential high-growth niches for companies with specialized adaptive sensing technologies.
Current Limitations and Technical Challenges in Environmental Adaptation
Despite significant advancements in proximity sensing technology, current systems face substantial limitations when adapting to dynamic environmental conditions. Traditional proximity sensors are typically calibrated for specific operational environments, resulting in performance degradation when environmental parameters change unexpectedly. Temperature fluctuations, humidity variations, and ambient light interference remain primary challenges, causing false readings and reduced accuracy in industrial and consumer applications alike.
Electromagnetic interference (EMI) presents another significant obstacle, particularly in industrial settings where multiple electronic devices operate simultaneously. Current shielding techniques add bulk and cost to sensor designs without completely eliminating the problem, creating a trade-off between performance and practicality that limits widespread implementation in sensitive environments.
Power consumption optimization represents a persistent challenge, especially for battery-operated devices requiring continuous proximity sensing. The energy demands of constant environmental monitoring and recalibration significantly reduce operational longevity, making dynamic adaptation capabilities impractical for many portable applications. This limitation becomes particularly evident in IoT deployments where maintenance access is restricted.
Cross-sensitivity issues further complicate environmental adaptation, as sensors designed to detect one parameter often respond unpredictably to others. For instance, capacitive proximity sensors may interpret humidity changes as proximity events, while infrared sensors struggle to differentiate between actual objects and thermal variations in the environment. Current filtering algorithms provide only partial solutions and often introduce latency that compromises real-time responsiveness.
Miniaturization requirements compound these challenges, as smaller form factors limit the inclusion of comprehensive environmental compensation systems. The restricted space for additional sensors, processing capabilities, and power management components forces designers to make compromises that ultimately affect adaptive performance. This constraint is particularly evident in wearable technology and compact consumer electronics.
Calibration drift over time represents another significant technical hurdle. Even sensors with initial environmental adaptation capabilities tend to lose accuracy as components age, requiring periodic recalibration that disrupts continuous operation. Current self-calibration methods are either insufficient for truly dynamic environments or computationally intensive, creating additional power and processing burdens.
Material limitations also impact sensor adaptability, with existing sensor materials exhibiting varying degrees of environmental sensitivity. Silicon-based sensors, while cost-effective, demonstrate temperature-dependent behavior that complicates compensation algorithms. Alternative materials offering better stability typically introduce prohibitive cost increases or manufacturing complexities that limit commercial viability.
Electromagnetic interference (EMI) presents another significant obstacle, particularly in industrial settings where multiple electronic devices operate simultaneously. Current shielding techniques add bulk and cost to sensor designs without completely eliminating the problem, creating a trade-off between performance and practicality that limits widespread implementation in sensitive environments.
Power consumption optimization represents a persistent challenge, especially for battery-operated devices requiring continuous proximity sensing. The energy demands of constant environmental monitoring and recalibration significantly reduce operational longevity, making dynamic adaptation capabilities impractical for many portable applications. This limitation becomes particularly evident in IoT deployments where maintenance access is restricted.
Cross-sensitivity issues further complicate environmental adaptation, as sensors designed to detect one parameter often respond unpredictably to others. For instance, capacitive proximity sensors may interpret humidity changes as proximity events, while infrared sensors struggle to differentiate between actual objects and thermal variations in the environment. Current filtering algorithms provide only partial solutions and often introduce latency that compromises real-time responsiveness.
Miniaturization requirements compound these challenges, as smaller form factors limit the inclusion of comprehensive environmental compensation systems. The restricted space for additional sensors, processing capabilities, and power management components forces designers to make compromises that ultimately affect adaptive performance. This constraint is particularly evident in wearable technology and compact consumer electronics.
Calibration drift over time represents another significant technical hurdle. Even sensors with initial environmental adaptation capabilities tend to lose accuracy as components age, requiring periodic recalibration that disrupts continuous operation. Current self-calibration methods are either insufficient for truly dynamic environments or computationally intensive, creating additional power and processing burdens.
Material limitations also impact sensor adaptability, with existing sensor materials exhibiting varying degrees of environmental sensitivity. Silicon-based sensors, while cost-effective, demonstrate temperature-dependent behavior that complicates compensation algorithms. Alternative materials offering better stability typically introduce prohibitive cost increases or manufacturing complexities that limit commercial viability.
Current Adaptive Proximity Sensing Methodologies
01 Proximity detection in mobile devices
Proximity sensors in mobile devices detect the presence of nearby objects without physical contact. These sensors are commonly used in smartphones to disable the touchscreen during calls when the device is held close to the ear, preventing accidental touches. The functionality includes power management by turning off the display when not in use, and enhancing user experience by automatically answering or rejecting calls based on proximity detection.- Proximity sensor detection principles and methods: Proximity sensors utilize various detection principles to determine the presence or absence of nearby objects without physical contact. These methods include capacitive sensing, infrared radiation, electromagnetic fields, and ultrasonic waves. The sensors emit signals and analyze changes in the return signal or field to detect objects in their vicinity. Advanced algorithms are employed to filter noise and improve detection accuracy across different environmental conditions.
 - Mobile device proximity sensing applications: Proximity sensors in mobile devices enable various functionalities including automatic screen dimming or turning off when the device is held near the face during calls, preventing accidental touch inputs, power saving, and gesture recognition. These sensors work in conjunction with other device components like the display and touch interface to enhance user experience and extend battery life. Implementation involves integration with the device's operating system to trigger appropriate responses based on proximity data.
 - Security and authentication using proximity sensors: Proximity sensors provide security functionalities by detecting user presence for authentication purposes. These systems can automatically lock or unlock devices based on user proximity, implement presence-based access control, and enhance biometric authentication methods. The sensors can be configured to recognize authorized users through various parameters and prevent unauthorized access when no valid user is detected nearby. This technology improves both security and convenience in various applications.
 - Industrial and automotive proximity sensing systems: In industrial and automotive applications, proximity sensors enable safety features, obstacle detection, and automated control systems. These sensors monitor surrounding environments to prevent collisions, assist in parking, detect objects in blind spots, and enable autonomous navigation. Industrial implementations include machine safety systems, robotic collision avoidance, and process automation. The sensors are designed to operate reliably in harsh environments with varying temperatures, vibrations, and electromagnetic interference.
 - Network and communication aspects of proximity sensing: Proximity sensors can be integrated into communication networks to enable context-aware services and device-to-device interactions. These systems allow for proximity-based data exchange, automatic pairing of devices, location-based services, and smart environment control. The sensors communicate with central systems or other devices through various protocols to share proximity data and trigger appropriate responses. This functionality enables seamless user experiences across multiple connected devices and environments.
 
02 Security and authentication applications
Proximity sensors are utilized in security systems and authentication mechanisms. They can detect unauthorized access attempts, verify user presence before granting access to sensitive information, and enable contactless authentication methods. These sensors work by emitting signals and measuring the reflection or interruption of these signals to determine if an authorized user is present, enhancing device security while maintaining convenience.Expand Specific Solutions03 Industrial and automotive applications
In industrial and automotive settings, proximity sensors monitor machine operations, detect obstacles, and prevent collisions. These sensors provide crucial functionality for automated systems by measuring distances to objects and triggering appropriate responses. They enable features such as automatic parking assistance, collision avoidance systems, and production line monitoring, improving safety and operational efficiency in various environments.Expand Specific Solutions04 Power management and energy efficiency
Proximity sensors contribute significantly to power management and energy efficiency in electronic devices. By detecting user presence or absence, these sensors can automatically adjust power consumption, turning off displays or other components when not needed. This functionality extends battery life in portable devices and reduces energy consumption in stationary systems, making them more environmentally friendly and cost-effective to operate.Expand Specific Solutions05 Integration with other sensing technologies
Modern proximity sensor implementations often integrate with other sensing technologies to enhance functionality. These hybrid systems combine proximity detection with ambient light sensing, gesture recognition, or temperature monitoring to provide comprehensive environmental awareness. The integration enables more sophisticated responses to user interactions and environmental changes, supporting advanced features in smart devices, wearables, and IoT applications.Expand Specific Solutions
Leading Companies and Competitive Landscape Analysis
The proximity sensor technology market is currently in a growth phase, characterized by increasing adoption across consumer electronics, automotive, and industrial sectors. The market size is expanding rapidly, driven by demand for adaptive sensing solutions in dynamic environments. Technologically, the field is moderately mature but evolving, with companies like Apple, Google, and OPPO leading consumer applications through smartphone integration. Robert Bosch and Honeywell are advancing industrial and automotive implementations, while specialized players like SICK AG and Aeroqual focus on environmental sensing adaptations. Research institutions like Zhengzhou University are contributing fundamental innovations. The competitive landscape shows diversification between large electronics manufacturers integrating proximity sensing into broader product ecosystems and specialized sensor technology firms developing advanced environmental adaptation capabilities.
Analog Devices, Inc.
Technical Solution:  Analog Devices has developed a sophisticated adaptive proximity sensing platform that dynamically reconfigures sensor parameters based on environmental conditions. Their solution employs programmable analog front-end circuits that can adjust gain, filtering, and threshold settings in real-time response to environmental changes. The technology incorporates temperature and ambient light compensation to maintain consistent detection performance across varying conditions. ADI's proximity sensors feature automatic calibration algorithms that continuously monitor environmental baselines and adjust detection parameters accordingly. Their system utilizes specialized signal conditioning techniques to filter out environmental noise and interference, particularly important in industrial settings with electromagnetic interference or optical noise. The technology also includes power management features that dynamically adjust sensor power consumption based on detection requirements and environmental stability. For applications requiring high reliability, ADI has implemented redundant sensing channels with cross-validation algorithms to maintain accuracy even when individual sensors are compromised by environmental factors.
Strengths: Superior analog signal processing capabilities allowing for precise environmental adaptation; excellent noise immunity through advanced filtering techniques; highly configurable platform suitable for diverse applications. Weaknesses: More complex integration requirements compared to turnkey solutions; potentially higher component costs; may require specialized expertise for optimal implementation.
Honeywell International Technologies Ltd.
Technical Solution:  Honeywell has developed an advanced adaptive proximity sensing system designed specifically for challenging industrial environments. Their technology employs a multi-sensor approach that combines infrared, capacitive, and ultrasonic sensing modalities to maintain functionality across diverse environmental conditions. The system features environmental compensation algorithms that automatically adjust sensor parameters based on temperature, humidity, airborne particulates, and electromagnetic interference levels. Honeywell's proximity sensors incorporate self-diagnostic capabilities that continuously monitor sensor health and environmental conditions to optimize detection parameters. Their solution includes specialized signal processing techniques that filter environmental noise while preserving detection sensitivity. For industrial applications, the system can dynamically switch between different detection modes optimized for specific environmental challenges such as high humidity, extreme temperatures, or high dust concentrations. Honeywell has also implemented machine learning algorithms that analyze historical sensor data to predict environmental changes and proactively adjust sensor parameters before performance degradation occurs.
Strengths: Exceptional reliability in extreme industrial environments; comprehensive self-diagnostic capabilities; advanced predictive adaptation using machine learning. Weaknesses: Higher implementation complexity requiring specialized integration knowledge; potentially higher power requirements for multi-modal sensing; premium pricing reflecting industrial-grade capabilities.
Key Technical Innovations in Environmental Response Systems
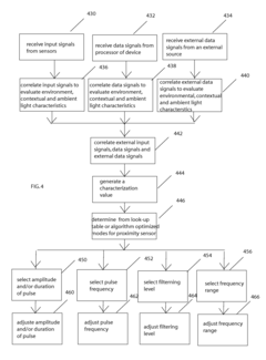
Devices and Methods for Adjusting Proximity Detectors 
PatentInactiveUS20120292489A1
 Innovation 
- The implementation of adaptive proximity sensors that adjust their pulse power, frequency, noise filtering, and spectrum based on correlated environmental, contextual, and ambient light characteristics, allowing for optimized functionality and reduced power consumption by minimizing or maximizing sensor range as needed.
 
Method for adapting a pulse power mode of a proximity sensor 
PatentInactiveUS8319170B2
 Innovation 
- The implementation of adaptive proximity sensors that dynamically adjust their operation modes, such as pulse power, frequency, noise filtering, and spectrum, based on correlated input signals from various sensors, data signals from the device's processor, and external data sources to optimize functionality and minimize power consumption.
 
Energy Efficiency Considerations in Adaptive Sensing
Energy efficiency has emerged as a critical factor in the development and deployment of adaptive proximity sensing systems. As devices increasingly rely on continuous environmental monitoring, power consumption becomes a limiting factor, particularly for battery-operated and IoT devices. Current research indicates that proximity sensors in dynamic environments can consume between 15-30% of a device's total power budget when operating in traditional always-on modes. This significant energy footprint necessitates innovative approaches to power management that align sensing activities with actual environmental needs.
Adaptive power scaling represents a promising approach, where sensor sampling rates and power states dynamically adjust based on detected activity levels. Field studies demonstrate that implementing context-aware power scaling can reduce energy consumption by up to 65% compared to fixed-rate sampling, without significant degradation in detection accuracy. These systems typically employ multi-tiered sensing architectures, utilizing low-power trigger sensors to activate more energy-intensive high-precision sensors only when necessary.
Environmental condition correlation techniques further enhance energy efficiency by leveraging predictive algorithms that anticipate proximity events based on environmental patterns. For instance, machine learning models trained on historical sensor data can predict periods of low activity with 87-92% accuracy, allowing systems to enter ultra-low power states during these intervals. This predictive approach has shown particular promise in smart building applications, where occupancy patterns often follow recognizable temporal patterns.
Hardware-level optimizations complement these algorithmic approaches. Recent advances in MEMS technology have produced proximity sensors with sub-milliwatt standby power requirements, representing a 70% reduction compared to previous generations. Additionally, energy harvesting technologies are increasingly being integrated with proximity sensing systems, capturing ambient energy from light, vibration, or thermal gradients to supplement battery power. Research prototypes have demonstrated self-sustaining operation in well-lit indoor environments, potentially eliminating battery replacement requirements in certain applications.
The energy-accuracy tradeoff remains a fundamental consideration in adaptive sensing design. Studies indicate that carefully managed degradation in sensing precision can yield disproportionate energy savings. For example, dynamically reducing sensing resolution during periods of low activity can extend battery life by 2.5-3x while maintaining 95% of critical detection events. This approach requires sophisticated decision frameworks that continuously evaluate the relative costs of missed detections against energy conservation benefits.
Adaptive power scaling represents a promising approach, where sensor sampling rates and power states dynamically adjust based on detected activity levels. Field studies demonstrate that implementing context-aware power scaling can reduce energy consumption by up to 65% compared to fixed-rate sampling, without significant degradation in detection accuracy. These systems typically employ multi-tiered sensing architectures, utilizing low-power trigger sensors to activate more energy-intensive high-precision sensors only when necessary.
Environmental condition correlation techniques further enhance energy efficiency by leveraging predictive algorithms that anticipate proximity events based on environmental patterns. For instance, machine learning models trained on historical sensor data can predict periods of low activity with 87-92% accuracy, allowing systems to enter ultra-low power states during these intervals. This predictive approach has shown particular promise in smart building applications, where occupancy patterns often follow recognizable temporal patterns.
Hardware-level optimizations complement these algorithmic approaches. Recent advances in MEMS technology have produced proximity sensors with sub-milliwatt standby power requirements, representing a 70% reduction compared to previous generations. Additionally, energy harvesting technologies are increasingly being integrated with proximity sensing systems, capturing ambient energy from light, vibration, or thermal gradients to supplement battery power. Research prototypes have demonstrated self-sustaining operation in well-lit indoor environments, potentially eliminating battery replacement requirements in certain applications.
The energy-accuracy tradeoff remains a fundamental consideration in adaptive sensing design. Studies indicate that carefully managed degradation in sensing precision can yield disproportionate energy savings. For example, dynamically reducing sensing resolution during periods of low activity can extend battery life by 2.5-3x while maintaining 95% of critical detection events. This approach requires sophisticated decision frameworks that continuously evaluate the relative costs of missed detections against energy conservation benefits.
Cross-Industry Applications and Implementation Strategies
Proximity sensor technology has demonstrated remarkable versatility across multiple industries, with implementation strategies varying significantly based on sector-specific requirements. In manufacturing environments, proximity sensors are increasingly deployed for predictive maintenance systems that adapt to changing production conditions. These implementations typically involve integrating sensors with machine learning algorithms that analyze environmental variables such as temperature fluctuations, humidity levels, and dust concentration to automatically recalibrate sensitivity thresholds. Companies like Siemens and ABB have pioneered such adaptive systems, reporting efficiency improvements of 15-22% in production lines where traditional fixed-threshold sensors previously caused frequent false alarms.
The healthcare sector presents another compelling application area, with proximity sensors being integrated into patient monitoring systems that adjust their functionality based on clinical environments. In intensive care units, these sensors can automatically switch between different detection modes depending on staff movement patterns, equipment density, and even time of day. Implementation strategies in healthcare typically emphasize reliability and minimal false positives, often incorporating redundant sensing mechanisms and specialized filtering algorithms to account for the unpredictable nature of clinical settings.
Automotive applications represent perhaps the most mature cross-industry implementation, with modern vehicles employing dynamic proximity sensing systems that adjust their parameters based on driving conditions. These systems modify detection ranges and sensitivity based on vehicle speed, weather conditions, and traffic density. The implementation strategy focuses on seamless integration with other vehicle systems through standardized communication protocols like CAN bus or Automotive Ethernet, allowing for coordinated responses across multiple vehicle subsystems.
Smart building management systems demonstrate how proximity sensing can be implemented at scale, with enterprise-level deployments covering thousands of sensors across large facilities. These implementations typically utilize centralized management platforms that enable dynamic reconfiguration of sensor parameters based on occupancy patterns, time of day, or special events. The strategy emphasizes network infrastructure that can support the bandwidth requirements of continuous sensor adaptation while maintaining security protocols.
In retail environments, implementation strategies focus on customer experience enhancement through proximity sensors that adapt to store traffic patterns. These systems adjust their functionality based on customer density, promotional events, and even demographic data collected through integrated camera systems. The implementation typically involves cloud-based analytics platforms that process environmental data in real-time and push configuration updates to in-store sensor networks.
The healthcare sector presents another compelling application area, with proximity sensors being integrated into patient monitoring systems that adjust their functionality based on clinical environments. In intensive care units, these sensors can automatically switch between different detection modes depending on staff movement patterns, equipment density, and even time of day. Implementation strategies in healthcare typically emphasize reliability and minimal false positives, often incorporating redundant sensing mechanisms and specialized filtering algorithms to account for the unpredictable nature of clinical settings.
Automotive applications represent perhaps the most mature cross-industry implementation, with modern vehicles employing dynamic proximity sensing systems that adjust their parameters based on driving conditions. These systems modify detection ranges and sensitivity based on vehicle speed, weather conditions, and traffic density. The implementation strategy focuses on seamless integration with other vehicle systems through standardized communication protocols like CAN bus or Automotive Ethernet, allowing for coordinated responses across multiple vehicle subsystems.
Smart building management systems demonstrate how proximity sensing can be implemented at scale, with enterprise-level deployments covering thousands of sensors across large facilities. These implementations typically utilize centralized management platforms that enable dynamic reconfiguration of sensor parameters based on occupancy patterns, time of day, or special events. The strategy emphasizes network infrastructure that can support the bandwidth requirements of continuous sensor adaptation while maintaining security protocols.
In retail environments, implementation strategies focus on customer experience enhancement through proximity sensors that adapt to store traffic patterns. These systems adjust their functionality based on customer density, promotional events, and even demographic data collected through integrated camera systems. The implementation typically involves cloud-based analytics platforms that process environmental data in real-time and push configuration updates to in-store sensor networks.
 Unlock deeper insights with  Patsnap Eureka Quick Research — get a full tech report to explore trends and direct your research. Try now! 
 Generate Your Research Report Instantly with AI Agent 
 Supercharge your innovation with Patsnap Eureka AI Agent Platform! 







