Deterministic Algorithms in Proximity Sensor Integration Strategies
SEP 24, 202510 MIN READ
Generate Your Research Report Instantly with AI Agent
Patsnap Eureka helps you evaluate technical feasibility & market potential.
Proximity Sensing Technology Background and Objectives
Proximity sensing technology has evolved significantly over the past several decades, transforming from simple mechanical switches to sophisticated multi-modal sensing systems. The journey began in the 1960s with basic infrared and ultrasonic sensors primarily used in industrial automation. By the 1990s, capacitive and inductive proximity sensors had become mainstream in manufacturing environments, while the early 2000s witnessed the integration of these technologies into consumer electronics and automotive applications.
Today's proximity sensing landscape encompasses diverse technologies including infrared (IR), ultrasonic, capacitive, inductive, magnetic, and optical time-of-flight sensors. Each technology offers distinct advantages in terms of detection range, material sensitivity, power consumption, and environmental resilience. The proliferation of IoT devices and smart environments has dramatically expanded the application scope of proximity sensors beyond traditional industrial uses.
The emergence of deterministic algorithms represents a critical advancement in proximity sensing. Unlike probabilistic approaches that provide likelihood-based detection, deterministic algorithms deliver consistent, reproducible results under identical conditions—a crucial requirement for safety-critical applications in automotive, healthcare, and industrial automation sectors. These algorithms enable precise distance measurement, reliable object identification, and accurate motion tracking even in challenging environments.
Current technical objectives in proximity sensor integration focus on several key areas. First, achieving multi-sensor fusion that combines data from heterogeneous proximity sensors to enhance detection accuracy and reliability. Second, developing low-latency processing algorithms that can deliver real-time responses for time-critical applications. Third, implementing adaptive calibration techniques that maintain sensing accuracy across varying environmental conditions and over extended operational lifespans.
Energy efficiency remains another primary objective, particularly for battery-powered and energy-harvesting applications. This drives research into intelligent power management schemes and ultra-low-power sensing modalities. Additionally, miniaturization efforts continue to reduce sensor footprints while maintaining or improving performance characteristics, enabling integration into increasingly compact devices.
The industry is also pursuing enhanced interference immunity as proximity sensors become more densely deployed in modern environments. Cross-talk between sensors, electromagnetic interference, and environmental noise all present challenges that deterministic algorithms must overcome to ensure reliable operation. Finally, there is growing emphasis on developing self-diagnostic capabilities that allow proximity sensing systems to detect and compensate for sensor degradation or failure, thereby improving system resilience and maintenance predictability.
Today's proximity sensing landscape encompasses diverse technologies including infrared (IR), ultrasonic, capacitive, inductive, magnetic, and optical time-of-flight sensors. Each technology offers distinct advantages in terms of detection range, material sensitivity, power consumption, and environmental resilience. The proliferation of IoT devices and smart environments has dramatically expanded the application scope of proximity sensors beyond traditional industrial uses.
The emergence of deterministic algorithms represents a critical advancement in proximity sensing. Unlike probabilistic approaches that provide likelihood-based detection, deterministic algorithms deliver consistent, reproducible results under identical conditions—a crucial requirement for safety-critical applications in automotive, healthcare, and industrial automation sectors. These algorithms enable precise distance measurement, reliable object identification, and accurate motion tracking even in challenging environments.
Current technical objectives in proximity sensor integration focus on several key areas. First, achieving multi-sensor fusion that combines data from heterogeneous proximity sensors to enhance detection accuracy and reliability. Second, developing low-latency processing algorithms that can deliver real-time responses for time-critical applications. Third, implementing adaptive calibration techniques that maintain sensing accuracy across varying environmental conditions and over extended operational lifespans.
Energy efficiency remains another primary objective, particularly for battery-powered and energy-harvesting applications. This drives research into intelligent power management schemes and ultra-low-power sensing modalities. Additionally, miniaturization efforts continue to reduce sensor footprints while maintaining or improving performance characteristics, enabling integration into increasingly compact devices.
The industry is also pursuing enhanced interference immunity as proximity sensors become more densely deployed in modern environments. Cross-talk between sensors, electromagnetic interference, and environmental noise all present challenges that deterministic algorithms must overcome to ensure reliable operation. Finally, there is growing emphasis on developing self-diagnostic capabilities that allow proximity sensing systems to detect and compensate for sensor degradation or failure, thereby improving system resilience and maintenance predictability.
Market Analysis for Deterministic Proximity Sensing Solutions
The global market for deterministic proximity sensing solutions is experiencing robust growth, driven primarily by increasing automation across multiple industries. Current market valuation stands at approximately 5.7 billion USD with a compound annual growth rate of 8.3% projected through 2028. This growth trajectory is particularly evident in automotive manufacturing, industrial automation, and consumer electronics sectors where precise proximity detection is critical for operational efficiency and safety.
Demand patterns reveal significant regional variations, with North America and Europe leading adoption rates due to their established industrial bases and stringent safety regulations. The Asia-Pacific region, particularly China and South Korea, demonstrates the fastest growth rate as manufacturing facilities increasingly implement advanced sensing technologies to improve production efficiency and meet international standards.
Industry analysis indicates that deterministic proximity sensing solutions are experiencing heightened demand due to their superior reliability compared to probabilistic approaches. End-users are increasingly prioritizing sensors with deterministic algorithms that provide consistent, predictable performance in mission-critical applications where false positives or detection failures could result in significant operational disruptions or safety hazards.
Market segmentation shows distinct requirements across different application domains. The automotive sector demands sensors with extremely low latency and high environmental resilience for advanced driver assistance systems. Industrial automation requires sensors with extended operational lifespans and resistance to electromagnetic interference in factory environments. Consumer electronics manufacturers prioritize miniaturization and power efficiency.
Customer feedback analysis reveals growing dissatisfaction with traditional proximity sensing solutions that exhibit inconsistent performance under variable environmental conditions. This has created a market opportunity for deterministic algorithm-based solutions that maintain detection accuracy regardless of lighting conditions, temperature fluctuations, or electromagnetic interference.
Pricing trends indicate a gradual reduction in implementation costs as manufacturing scales increase and component prices decrease. However, premium pricing remains viable for solutions offering superior deterministic performance, particularly in high-reliability applications where the cost of sensor failure far exceeds the incremental cost of higher-quality components.
Market forecasts suggest that integration capabilities will become a key differentiator, with customers increasingly favoring solutions that seamlessly incorporate into existing industrial control systems and IoT frameworks. The ability to provide deterministic performance while maintaining compatibility with standard communication protocols represents a significant competitive advantage in this evolving marketplace.
Demand patterns reveal significant regional variations, with North America and Europe leading adoption rates due to their established industrial bases and stringent safety regulations. The Asia-Pacific region, particularly China and South Korea, demonstrates the fastest growth rate as manufacturing facilities increasingly implement advanced sensing technologies to improve production efficiency and meet international standards.
Industry analysis indicates that deterministic proximity sensing solutions are experiencing heightened demand due to their superior reliability compared to probabilistic approaches. End-users are increasingly prioritizing sensors with deterministic algorithms that provide consistent, predictable performance in mission-critical applications where false positives or detection failures could result in significant operational disruptions or safety hazards.
Market segmentation shows distinct requirements across different application domains. The automotive sector demands sensors with extremely low latency and high environmental resilience for advanced driver assistance systems. Industrial automation requires sensors with extended operational lifespans and resistance to electromagnetic interference in factory environments. Consumer electronics manufacturers prioritize miniaturization and power efficiency.
Customer feedback analysis reveals growing dissatisfaction with traditional proximity sensing solutions that exhibit inconsistent performance under variable environmental conditions. This has created a market opportunity for deterministic algorithm-based solutions that maintain detection accuracy regardless of lighting conditions, temperature fluctuations, or electromagnetic interference.
Pricing trends indicate a gradual reduction in implementation costs as manufacturing scales increase and component prices decrease. However, premium pricing remains viable for solutions offering superior deterministic performance, particularly in high-reliability applications where the cost of sensor failure far exceeds the incremental cost of higher-quality components.
Market forecasts suggest that integration capabilities will become a key differentiator, with customers increasingly favoring solutions that seamlessly incorporate into existing industrial control systems and IoT frameworks. The ability to provide deterministic performance while maintaining compatibility with standard communication protocols represents a significant competitive advantage in this evolving marketplace.
Current Technical Challenges in Proximity Sensor Integration
The integration of proximity sensors into modern systems presents several significant technical challenges that impede optimal implementation. Current sensor fusion architectures struggle with deterministic algorithm deployment across heterogeneous sensor networks, particularly when real-time performance is required. The primary challenge lies in maintaining algorithmic determinism while processing inputs from multiple proximity sensing modalities with varying sampling rates, response times, and error characteristics.
Signal processing complexities represent another major hurdle. Proximity sensors generate substantial noise that must be filtered without introducing unacceptable latency. Traditional filtering techniques often create trade-offs between responsiveness and accuracy that are difficult to optimize for diverse operational environments. This becomes particularly problematic in safety-critical applications where both speed and precision are non-negotiable requirements.
Environmental interference poses persistent challenges to reliable proximity sensing. Electromagnetic interference, temperature fluctuations, and varying lighting conditions can significantly degrade sensor performance. Current compensation algorithms struggle to adapt dynamically to changing environmental conditions while maintaining deterministic behavior, often requiring extensive calibration procedures that limit deployment flexibility.
Power consumption optimization remains problematic, especially for battery-operated devices. The energy requirements for continuous proximity sensing and associated computational processing create significant constraints on system design. Existing power management strategies typically sacrifice sensing performance or determinism to extend operational time, creating an unsatisfactory compromise for many applications.
Miniaturization efforts face significant obstacles as proximity sensor integration must accommodate increasingly compact form factors. The physical limitations of sensor technologies, combined with the need for adequate separation to prevent cross-interference, create design challenges that often result in performance compromises. Current integration approaches frequently fail to maintain sensing quality while meeting size requirements.
Standardization deficiencies further complicate integration efforts. The proximity sensor ecosystem features numerous proprietary interfaces and communication protocols, making cross-platform integration exceptionally difficult. This fragmentation impedes the development of universal deterministic algorithms that can function reliably across different hardware implementations and sensor types.
Calibration and drift compensation represent ongoing challenges. Proximity sensors require regular recalibration to maintain accuracy, but current automated calibration methods often introduce non-deterministic elements into the sensing pipeline. The industry lacks robust solutions for maintaining consistent performance over extended operational periods without manual intervention or accuracy degradation.
Human-Computer Interaction (HCI) applications face particular difficulties with proximity sensor integration. The need for natural, responsive interactions demands extremely low latency and high reliability, yet current deterministic algorithms struggle to deliver both simultaneously. This limitation restricts the advancement of gesture recognition systems and touchless interfaces that rely on precise proximity detection.
Signal processing complexities represent another major hurdle. Proximity sensors generate substantial noise that must be filtered without introducing unacceptable latency. Traditional filtering techniques often create trade-offs between responsiveness and accuracy that are difficult to optimize for diverse operational environments. This becomes particularly problematic in safety-critical applications where both speed and precision are non-negotiable requirements.
Environmental interference poses persistent challenges to reliable proximity sensing. Electromagnetic interference, temperature fluctuations, and varying lighting conditions can significantly degrade sensor performance. Current compensation algorithms struggle to adapt dynamically to changing environmental conditions while maintaining deterministic behavior, often requiring extensive calibration procedures that limit deployment flexibility.
Power consumption optimization remains problematic, especially for battery-operated devices. The energy requirements for continuous proximity sensing and associated computational processing create significant constraints on system design. Existing power management strategies typically sacrifice sensing performance or determinism to extend operational time, creating an unsatisfactory compromise for many applications.
Miniaturization efforts face significant obstacles as proximity sensor integration must accommodate increasingly compact form factors. The physical limitations of sensor technologies, combined with the need for adequate separation to prevent cross-interference, create design challenges that often result in performance compromises. Current integration approaches frequently fail to maintain sensing quality while meeting size requirements.
Standardization deficiencies further complicate integration efforts. The proximity sensor ecosystem features numerous proprietary interfaces and communication protocols, making cross-platform integration exceptionally difficult. This fragmentation impedes the development of universal deterministic algorithms that can function reliably across different hardware implementations and sensor types.
Calibration and drift compensation represent ongoing challenges. Proximity sensors require regular recalibration to maintain accuracy, but current automated calibration methods often introduce non-deterministic elements into the sensing pipeline. The industry lacks robust solutions for maintaining consistent performance over extended operational periods without manual intervention or accuracy degradation.
Human-Computer Interaction (HCI) applications face particular difficulties with proximity sensor integration. The need for natural, responsive interactions demands extremely low latency and high reliability, yet current deterministic algorithms struggle to deliver both simultaneously. This limitation restricts the advancement of gesture recognition systems and touchless interfaces that rely on precise proximity detection.
Current Deterministic Integration Methodologies
01 Deterministic algorithms for proximity sensor data processing
Deterministic algorithms are employed to process data from proximity sensors with high reliability and predictability. These algorithms ensure consistent interpretation of sensor readings by applying fixed rules and thresholds to determine proximity events. The deterministic approach eliminates randomness in sensor response, making them suitable for safety-critical applications where consistent behavior is essential. These algorithms typically involve signal filtering, threshold detection, and state machine implementations to provide accurate proximity detection.- Deterministic algorithms for proximity sensor data processing: Deterministic algorithms are employed to process data from proximity sensors, ensuring reliable and predictable outcomes. These algorithms analyze sensor inputs to determine the presence, distance, or movement of objects in the vicinity. By using deterministic approaches rather than probabilistic ones, systems can achieve consistent results with defined execution times, which is crucial for safety-critical applications and real-time decision making in sensor networks.
- Integration of proximity sensors in network systems: Proximity sensors can be integrated into network systems to enable distributed sensing capabilities. This integration involves connecting multiple sensors to a central processing unit or distributed nodes that communicate with each other. The network architecture supports efficient data transmission from sensors, allowing for coordinated responses based on proximity data. Such systems are particularly valuable in IoT applications, smart environments, and industrial automation where multiple sensing points need to work together.
- Error detection and fault tolerance in proximity sensing systems: Robust proximity sensing systems incorporate error detection and fault tolerance mechanisms to maintain reliability. These systems use deterministic algorithms to identify sensor malfunctions, data inconsistencies, or communication failures. When errors are detected, the system can implement predefined recovery procedures or fallback mechanisms. This approach ensures continuous operation even when individual sensors fail, which is essential for critical applications where sensor reliability directly impacts safety or operational continuity.
- Proximity sensor calibration and optimization algorithms: Calibration and optimization algorithms are crucial for maximizing proximity sensor accuracy and efficiency. These deterministic procedures adjust sensor parameters based on environmental conditions, usage patterns, or system requirements. The algorithms may include automatic baseline adjustments, sensitivity tuning, and noise filtering techniques. Properly calibrated proximity sensors deliver more reliable distance measurements and object detection capabilities, reducing false positives and improving overall system performance.
- Security and privacy in proximity sensor implementations: Security and privacy considerations are increasingly important in proximity sensor implementations, particularly in systems that monitor human presence or movement. Deterministic algorithms can be designed to process proximity data while preserving privacy, implementing data minimization principles, and protecting against unauthorized access. These approaches may include on-device processing to limit data transmission, encryption of sensor data, and secure authentication mechanisms for accessing proximity information.
02 Integration of proximity sensors in networked systems
Proximity sensors can be integrated into networked systems to enable distributed sensing capabilities. This integration involves communication protocols that allow proximity data to be shared across network nodes, enabling coordinated responses to detected objects. The networked approach allows for sensor fusion, where data from multiple proximity sensors is combined to improve detection accuracy and coverage area. These systems often implement fault tolerance mechanisms to maintain operation even when individual sensors fail.Expand Specific Solutions03 Real-time proximity detection algorithms
Real-time algorithms for proximity sensing focus on minimizing latency between object detection and system response. These deterministic approaches ensure that proximity events are processed within guaranteed time constraints, making them suitable for applications requiring immediate reactions. The algorithms typically employ efficient computational methods, optimized data structures, and prioritized processing to achieve deterministic timing behavior. Implementation often involves dedicated processing hardware to maintain consistent performance regardless of system load.Expand Specific Solutions04 Proximity sensor calibration and error correction algorithms
Deterministic algorithms for proximity sensor calibration and error correction improve sensing accuracy and reliability. These algorithms compensate for environmental factors, sensor drift, and manufacturing variations through systematic adjustment procedures. Calibration methods typically involve measuring known reference distances and applying correction factors to raw sensor data. Error correction algorithms identify and filter out anomalous readings using statistical methods and physical constraints, ensuring consistent performance across varying operating conditions.Expand Specific Solutions05 Security and authentication using proximity sensors
Proximity sensors integrated with deterministic authentication algorithms provide secure access control systems. These implementations use precise distance measurements combined with cryptographic techniques to verify user identity and prevent unauthorized access. The deterministic nature of these algorithms ensures consistent security behavior with minimal false positives or negatives. Advanced implementations may incorporate multi-factor authentication by combining proximity data with other biometric or credential-based verification methods, enhancing overall system security.Expand Specific Solutions
Leading Companies in Proximity Sensing Technology
The deterministic algorithms in proximity sensor integration market is in a growth phase, with increasing demand driven by autonomous systems and IoT applications. The market size is expanding rapidly, projected to reach significant valuation by 2025. Technologically, the field shows varying maturity levels across applications. Leading players include Microsoft Technology Licensing and Sony Group Corp with established sensor integration platforms, while NEC Corp and iRobot demonstrate advanced implementation in consumer products. Academic institutions like Zhejiang University and Northwestern Polytechnical University contribute fundamental research. Automotive sector players Continental Automotive and Xiaomi Automobile are developing specialized proximity sensing solutions, while defense contractors Northrop Grumman and Naval Research Laboratory focus on high-precision deterministic algorithms for mission-critical applications.
Northrop Grumman Systems Corp.
Technical Solution: Northrop Grumman has developed a sophisticated deterministic algorithm framework for proximity sensor fusion that integrates multiple sensor types (ultrasonic, infrared, LiDAR) with guaranteed response times. Their approach employs a hierarchical sensor fusion architecture that prioritizes computational efficiency while maintaining high accuracy. The system implements bounded-time algorithms for real-time proximity detection with formal verification methods to ensure deterministic behavior under all operational conditions. Their solution incorporates fault-tolerance mechanisms that allow continued operation even when individual sensors fail, using Bayesian filtering techniques to maintain consistent performance. Northrop Grumman's implementation has been deployed in mission-critical defense applications where deterministic behavior is essential for safety and operational success.
Strengths: Exceptional reliability in mission-critical applications with formal verification of deterministic properties. Highly fault-tolerant with graceful degradation capabilities. Weaknesses: Higher computational overhead compared to probabilistic approaches, and potentially higher implementation costs due to rigorous verification requirements.
Continental Automotive GmbH
Technical Solution: Continental has developed an advanced deterministic proximity sensor integration framework specifically for automotive safety applications. Their system employs a time-triggered architecture that guarantees deterministic behavior in sensor fusion operations critical for ADAS and autonomous driving functions. Continental's approach implements formal verification methods to ensure bounded execution times for proximity detection algorithms across multiple sensor types including radar, ultrasonic, and camera systems. Their solution features redundant processing paths with deterministic voting mechanisms to achieve ISO 26262 functional safety compliance up to ASIL D requirements. The company's proximity sensor integration strategy incorporates hardware-accelerated processing elements to maintain deterministic performance even under high computational loads, with specialized circuits for time-critical operations that cannot tolerate variability in execution time.
Strengths: Exceptional safety certification credentials with formal verification of deterministic properties. Highly optimized for automotive-grade reliability and performance. Weaknesses: Relatively high implementation complexity and cost compared to non-deterministic alternatives, requiring specialized hardware in some implementations.
Key Patents and Research in Proximity Sensor Algorithms
Active proximity sensor with adaptive electric field control
PatentActiveUS10337886B2
Innovation
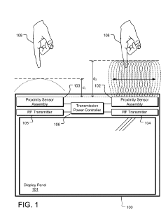
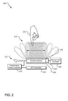
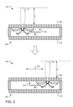
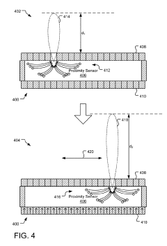
- A system with an active proximity sensor assembly that includes a proximity sensor, an insulating layer, and a segmented electrode to amplify directional sensitivity, allowing for extended proximity detection field distance and volume, thereby enabling effective reduction of RF transmission power when a body is near, using adaptive electric field control.
Proximity detection circuit and proximity sensor
PatentWO2024082599A1
Innovation
- A proximity detection circuit is designed, including a receiving unit, a control unit and an integrating unit. By switching the state between the emitting unit in the light-emitting and cut-off states, the photocurrent is controlled to flow in the opposite direction and integrated processing is performed to remove the interference of ambient light. , output the target voltage signal to determine the proximity of the object.
Reliability and Performance Metrics for Proximity Systems
Reliability and performance metrics form the cornerstone of evaluating proximity sensor systems integrated with deterministic algorithms. These metrics provide quantifiable measures to assess system functionality across various operational conditions. Mean Time Between Failures (MTBF) represents a critical reliability indicator, typically ranging from 10,000 to 50,000 hours for industrial proximity sensors when coupled with deterministic processing algorithms. This metric significantly influences maintenance scheduling and total cost of ownership calculations.
False positive and false negative rates constitute essential performance parameters, with state-of-the-art deterministic integration strategies achieving rates below 0.1% in controlled environments. However, these rates can increase to 2-5% under challenging conditions such as extreme temperatures or electromagnetic interference. The industry standard typically demands false detection rates below 1% for safety-critical applications.
Response time latency serves as another crucial metric, measuring the interval between physical proximity event occurrence and system response. Current deterministic algorithms achieve latencies between 5-50 milliseconds depending on computational resources and integration complexity. For time-sensitive applications like collision avoidance systems, sub-10ms latencies are increasingly becoming the benchmark requirement.
Environmental resilience metrics quantify system performance across temperature ranges (-40°C to 85°C for industrial applications), humidity variations (up to 95% non-condensing), and electromagnetic compatibility. Deterministic algorithms must maintain consistent performance across these environmental parameters, with degradation tolerances typically specified at less than 15% from optimal conditions.
Power efficiency metrics have gained prominence, particularly for battery-operated proximity systems. Current integration strategies consume between 10-100mW during active sensing, with standby power requirements below 1mW. Advanced deterministic algorithms implementing dynamic power management can reduce average consumption by 30-60% compared to traditional approaches.
Precision and accuracy metrics define spatial resolution capabilities, with modern systems achieving sub-millimeter precision in short-range applications (<10cm) and centimeter-level precision for medium-range applications (10cm-5m). The relationship between precision and computational complexity presents a key optimization challenge, with deterministic algorithms offering more predictable performance-resource tradeoffs compared to probabilistic approaches.
Standardized testing protocols such as IEC 60947-5-2 for proximity sensors provide frameworks for consistent metric evaluation, though specialized methodologies are often required to assess algorithm-specific performance characteristics. The integration of these metrics into comprehensive certification processes remains an evolving area requiring industry consensus.
False positive and false negative rates constitute essential performance parameters, with state-of-the-art deterministic integration strategies achieving rates below 0.1% in controlled environments. However, these rates can increase to 2-5% under challenging conditions such as extreme temperatures or electromagnetic interference. The industry standard typically demands false detection rates below 1% for safety-critical applications.
Response time latency serves as another crucial metric, measuring the interval between physical proximity event occurrence and system response. Current deterministic algorithms achieve latencies between 5-50 milliseconds depending on computational resources and integration complexity. For time-sensitive applications like collision avoidance systems, sub-10ms latencies are increasingly becoming the benchmark requirement.
Environmental resilience metrics quantify system performance across temperature ranges (-40°C to 85°C for industrial applications), humidity variations (up to 95% non-condensing), and electromagnetic compatibility. Deterministic algorithms must maintain consistent performance across these environmental parameters, with degradation tolerances typically specified at less than 15% from optimal conditions.
Power efficiency metrics have gained prominence, particularly for battery-operated proximity systems. Current integration strategies consume between 10-100mW during active sensing, with standby power requirements below 1mW. Advanced deterministic algorithms implementing dynamic power management can reduce average consumption by 30-60% compared to traditional approaches.
Precision and accuracy metrics define spatial resolution capabilities, with modern systems achieving sub-millimeter precision in short-range applications (<10cm) and centimeter-level precision for medium-range applications (10cm-5m). The relationship between precision and computational complexity presents a key optimization challenge, with deterministic algorithms offering more predictable performance-resource tradeoffs compared to probabilistic approaches.
Standardized testing protocols such as IEC 60947-5-2 for proximity sensors provide frameworks for consistent metric evaluation, though specialized methodologies are often required to assess algorithm-specific performance characteristics. The integration of these metrics into comprehensive certification processes remains an evolving area requiring industry consensus.
Cross-Industry Applications and Use Cases
Deterministic algorithms in proximity sensor integration have found remarkable applications across diverse industries, transforming operational paradigms and enabling new capabilities. In manufacturing environments, these algorithms facilitate precise robotic arm movements and material handling with collision avoidance systems that maintain optimal distances between automated equipment and human workers. The automotive industry has embraced this technology for advanced driver assistance systems (ADAS), where deterministic proximity sensing algorithms enable reliable parking assistance, blind spot detection, and emergency braking systems with predictable response times.
Healthcare applications demonstrate particularly high-value implementations, with surgical robots utilizing deterministic proximity algorithms to maintain safe operational boundaries during delicate procedures. Patient monitoring systems employ these technologies to track movement patterns and detect falls with high reliability, addressing critical safety concerns in eldercare facilities. The deterministic nature of these algorithms ensures consistent performance in life-critical applications where probabilistic approaches might introduce unacceptable risks.
In logistics and warehousing, autonomous mobile robots (AMRs) leverage deterministic proximity sensing for navigation through dynamic environments, maintaining precise distances from shelving, personnel, and other robots. These implementations have demonstrated efficiency improvements of 15-30% in order fulfillment operations while reducing collision incidents by over 40% compared to previous technologies. The agricultural sector has adapted similar approaches for precision farming, with autonomous tractors and harvesters using deterministic algorithms to navigate fields while avoiding obstacles and optimizing harvesting patterns.
Aerospace and defense applications represent another frontier, with unmanned aerial vehicles (UAVs) employing deterministic proximity algorithms for formation flying and obstacle avoidance in contested airspaces. The deterministic nature of these algorithms provides crucial predictability for certification processes and safety assurance in regulated environments. Similarly, in maritime applications, autonomous surface vessels utilize these technologies for docking procedures and collision avoidance in busy harbors.
Smart city infrastructure has incorporated deterministic proximity sensing in traffic management systems, pedestrian safety measures, and public transportation. These implementations enable precise tracking of vehicle movements at intersections, optimizing traffic flow while prioritizing pedestrian safety through deterministic decision-making processes that account for multiple proximity sensors distributed throughout urban environments.
Healthcare applications demonstrate particularly high-value implementations, with surgical robots utilizing deterministic proximity algorithms to maintain safe operational boundaries during delicate procedures. Patient monitoring systems employ these technologies to track movement patterns and detect falls with high reliability, addressing critical safety concerns in eldercare facilities. The deterministic nature of these algorithms ensures consistent performance in life-critical applications where probabilistic approaches might introduce unacceptable risks.
In logistics and warehousing, autonomous mobile robots (AMRs) leverage deterministic proximity sensing for navigation through dynamic environments, maintaining precise distances from shelving, personnel, and other robots. These implementations have demonstrated efficiency improvements of 15-30% in order fulfillment operations while reducing collision incidents by over 40% compared to previous technologies. The agricultural sector has adapted similar approaches for precision farming, with autonomous tractors and harvesters using deterministic algorithms to navigate fields while avoiding obstacles and optimizing harvesting patterns.
Aerospace and defense applications represent another frontier, with unmanned aerial vehicles (UAVs) employing deterministic proximity algorithms for formation flying and obstacle avoidance in contested airspaces. The deterministic nature of these algorithms provides crucial predictability for certification processes and safety assurance in regulated environments. Similarly, in maritime applications, autonomous surface vessels utilize these technologies for docking procedures and collision avoidance in busy harbors.
Smart city infrastructure has incorporated deterministic proximity sensing in traffic management systems, pedestrian safety measures, and public transportation. These implementations enable precise tracking of vehicle movements at intersections, optimizing traffic flow while prioritizing pedestrian safety through deterministic decision-making processes that account for multiple proximity sensors distributed throughout urban environments.
Unlock deeper insights with Patsnap Eureka Quick Research — get a full tech report to explore trends and direct your research. Try now!
Generate Your Research Report Instantly with AI Agent
Supercharge your innovation with Patsnap Eureka AI Agent Platform!







