Evaluate Signal Encoding Strategies for Proximity Sensors Range Expansion
SEP 24, 20259 MIN READ
Generate Your Research Report Instantly with AI Agent
Patsnap Eureka helps you evaluate technical feasibility & market potential.
Signal Encoding Background and Objectives
Signal encoding for proximity sensors has evolved significantly over the past three decades, transitioning from simple analog techniques to sophisticated digital encoding methodologies. The fundamental principle behind proximity sensing involves transmitting a signal and measuring its reflection or disturbance to determine the presence and distance of objects. Traditional proximity sensors typically operate within limited ranges of a few centimeters to meters, depending on the technology employed.
The evolution of signal encoding strategies began with basic amplitude modulation techniques in the 1990s, progressing through frequency modulation in the early 2000s, to today's complex spread spectrum and time-of-flight methodologies. Each advancement has incrementally improved range capabilities, but significant limitations persist in challenging environments with interference, multiple reflective surfaces, or adverse atmospheric conditions.
Current market demands are driving the need for extended range proximity sensing across multiple industries. In automotive applications, advanced driver assistance systems (ADAS) require reliable detection at greater distances for enhanced safety features. Industrial automation increasingly depends on precise long-range object detection for efficient operation of autonomous systems. Consumer electronics manufacturers seek miniaturized sensors with expanded capabilities for improved user experiences.
The primary objective of evaluating signal encoding strategies for proximity sensor range expansion is to identify and develop techniques that can significantly extend detection ranges while maintaining or improving accuracy, reducing susceptibility to environmental interference, and minimizing power consumption. Specifically, this research aims to achieve at least a 50% increase in effective range without compromising detection reliability or significantly increasing system complexity and cost.
Secondary objectives include developing encoding methods that are adaptable across multiple sensor technologies (ultrasonic, infrared, electromagnetic, etc.), ensuring backward compatibility with existing systems where possible, and establishing frameworks for future innovations in the field. The research also seeks to identify encoding strategies that can be implemented with minimal hardware modifications to existing sensor designs.
The technological landscape suggests several promising directions, including multi-frequency encoding, phase-shift modulation techniques, machine learning enhanced signal processing, and hybrid approaches combining multiple encoding strategies. Each approach presents unique advantages and challenges that must be systematically evaluated against performance metrics such as range extension capability, signal-to-noise ratio improvement, power efficiency, and implementation complexity.
The evolution of signal encoding strategies began with basic amplitude modulation techniques in the 1990s, progressing through frequency modulation in the early 2000s, to today's complex spread spectrum and time-of-flight methodologies. Each advancement has incrementally improved range capabilities, but significant limitations persist in challenging environments with interference, multiple reflective surfaces, or adverse atmospheric conditions.
Current market demands are driving the need for extended range proximity sensing across multiple industries. In automotive applications, advanced driver assistance systems (ADAS) require reliable detection at greater distances for enhanced safety features. Industrial automation increasingly depends on precise long-range object detection for efficient operation of autonomous systems. Consumer electronics manufacturers seek miniaturized sensors with expanded capabilities for improved user experiences.
The primary objective of evaluating signal encoding strategies for proximity sensor range expansion is to identify and develop techniques that can significantly extend detection ranges while maintaining or improving accuracy, reducing susceptibility to environmental interference, and minimizing power consumption. Specifically, this research aims to achieve at least a 50% increase in effective range without compromising detection reliability or significantly increasing system complexity and cost.
Secondary objectives include developing encoding methods that are adaptable across multiple sensor technologies (ultrasonic, infrared, electromagnetic, etc.), ensuring backward compatibility with existing systems where possible, and establishing frameworks for future innovations in the field. The research also seeks to identify encoding strategies that can be implemented with minimal hardware modifications to existing sensor designs.
The technological landscape suggests several promising directions, including multi-frequency encoding, phase-shift modulation techniques, machine learning enhanced signal processing, and hybrid approaches combining multiple encoding strategies. Each approach presents unique advantages and challenges that must be systematically evaluated against performance metrics such as range extension capability, signal-to-noise ratio improvement, power efficiency, and implementation complexity.
Proximity Sensing Market Analysis
The proximity sensing market has experienced substantial growth over the past decade, primarily driven by increasing adoption across automotive, consumer electronics, industrial automation, and healthcare sectors. The global proximity sensor market was valued at approximately 3.5 billion USD in 2022 and is projected to reach 5.8 billion USD by 2027, representing a compound annual growth rate (CAGR) of 10.6% during the forecast period.
Consumer electronics remains the dominant application segment, accounting for nearly 40% of the total market share. This dominance is attributed to the widespread integration of proximity sensors in smartphones, tablets, and wearable devices for features such as automatic screen dimming, gesture recognition, and power management. The automotive sector follows closely, with proximity sensors being increasingly deployed in advanced driver assistance systems (ADAS), parking assistance, and collision avoidance systems.
Regionally, Asia-Pacific leads the market with over 45% share, primarily due to the presence of major consumer electronics manufacturers in China, South Korea, and Japan. North America and Europe collectively account for approximately 40% of the market, with strong demand from automotive and industrial automation sectors.
The market is witnessing a significant shift toward extended-range proximity sensing solutions, particularly in automotive and industrial applications where longer detection ranges provide enhanced safety and operational efficiency. Current proximity sensors typically offer detection ranges between 10mm to 60mm, which is insufficient for many emerging applications requiring detection at distances of 100mm or more.
Key market drivers for extended-range proximity sensing include increasing safety regulations in automotive and industrial sectors, growing demand for contactless user interfaces in consumer electronics, and the expansion of Industry 4.0 initiatives requiring sophisticated sensing capabilities. The COVID-19 pandemic has further accelerated demand for touchless technologies across various sectors, creating additional market opportunities.
Market challenges include price sensitivity, particularly in consumer electronics applications, technical limitations in achieving reliable long-range detection without compromising accuracy, and competition from alternative sensing technologies such as ultrasonic and radar-based solutions.
The competitive landscape features established players like STMicroelectronics, Infineon Technologies, and Vishay Intertechnology alongside emerging specialized sensor manufacturers. Recent market trends indicate increasing investment in signal processing algorithms and advanced encoding strategies to overcome the physical limitations of traditional proximity sensing technologies.
Consumer electronics remains the dominant application segment, accounting for nearly 40% of the total market share. This dominance is attributed to the widespread integration of proximity sensors in smartphones, tablets, and wearable devices for features such as automatic screen dimming, gesture recognition, and power management. The automotive sector follows closely, with proximity sensors being increasingly deployed in advanced driver assistance systems (ADAS), parking assistance, and collision avoidance systems.
Regionally, Asia-Pacific leads the market with over 45% share, primarily due to the presence of major consumer electronics manufacturers in China, South Korea, and Japan. North America and Europe collectively account for approximately 40% of the market, with strong demand from automotive and industrial automation sectors.
The market is witnessing a significant shift toward extended-range proximity sensing solutions, particularly in automotive and industrial applications where longer detection ranges provide enhanced safety and operational efficiency. Current proximity sensors typically offer detection ranges between 10mm to 60mm, which is insufficient for many emerging applications requiring detection at distances of 100mm or more.
Key market drivers for extended-range proximity sensing include increasing safety regulations in automotive and industrial sectors, growing demand for contactless user interfaces in consumer electronics, and the expansion of Industry 4.0 initiatives requiring sophisticated sensing capabilities. The COVID-19 pandemic has further accelerated demand for touchless technologies across various sectors, creating additional market opportunities.
Market challenges include price sensitivity, particularly in consumer electronics applications, technical limitations in achieving reliable long-range detection without compromising accuracy, and competition from alternative sensing technologies such as ultrasonic and radar-based solutions.
The competitive landscape features established players like STMicroelectronics, Infineon Technologies, and Vishay Intertechnology alongside emerging specialized sensor manufacturers. Recent market trends indicate increasing investment in signal processing algorithms and advanced encoding strategies to overcome the physical limitations of traditional proximity sensing technologies.
Current Limitations in Proximity Sensing Range
Proximity sensing technology currently faces significant range limitations that constrain its application in various industries. Traditional proximity sensors typically operate effectively within distances of 1-10 cm for capacitive sensors, 5-30 cm for infrared sensors, and up to a few meters for ultrasonic sensors. These restricted ranges severely limit their utility in applications requiring detection at greater distances, such as advanced robotics, autonomous vehicles, and industrial automation systems.
Signal degradation represents a primary challenge in extending proximity sensing range. As electromagnetic or acoustic signals propagate through space, they experience power loss proportional to the square of the distance traveled (inverse-square law). This fundamental physical constraint means that signal strength diminishes rapidly with distance, making detection increasingly difficult beyond certain thresholds. Environmental factors further exacerbate this issue, with atmospheric conditions, temperature variations, and humidity levels all contributing to signal attenuation.
Interference from external sources poses another significant limitation. As sensing range increases, the probability of signal contamination from ambient electromagnetic radiation, acoustic noise, or competing sensors rises dramatically. This interference-to-signal ratio problem becomes particularly acute in industrial environments or densely populated sensor networks, where multiple devices may operate in close proximity.
Current sensor hardware capabilities also impose constraints on range extension. Many proximity sensors utilize low-power components to minimize energy consumption, particularly in battery-operated or IoT applications. These power constraints directly impact the strength of emitted signals and the sensitivity of detection circuits, creating a fundamental trade-off between operational longevity and sensing range.
Resolution degradation with increased distance presents another technical barrier. As sensing range extends, the ability to precisely determine an object's position diminishes significantly. This phenomenon results in exponentially increasing position uncertainty at greater distances, rendering many proximity applications impractical beyond certain ranges.
Processing limitations further compound these challenges. Extended range sensing typically requires more sophisticated signal processing algorithms to extract meaningful information from increasingly weak and noisy signals. Many current sensor systems lack the computational resources necessary for these advanced processing techniques, particularly in cost-sensitive or size-constrained applications.
Finally, current encoding schemes used in proximity sensors are often optimized for reliability rather than range. Simple binary presence detection or basic amplitude modulation techniques predominate, lacking the sophistication needed to maintain signal integrity over extended distances. More advanced encoding strategies that could potentially overcome range limitations remain underutilized in commercial proximity sensing applications.
Signal degradation represents a primary challenge in extending proximity sensing range. As electromagnetic or acoustic signals propagate through space, they experience power loss proportional to the square of the distance traveled (inverse-square law). This fundamental physical constraint means that signal strength diminishes rapidly with distance, making detection increasingly difficult beyond certain thresholds. Environmental factors further exacerbate this issue, with atmospheric conditions, temperature variations, and humidity levels all contributing to signal attenuation.
Interference from external sources poses another significant limitation. As sensing range increases, the probability of signal contamination from ambient electromagnetic radiation, acoustic noise, or competing sensors rises dramatically. This interference-to-signal ratio problem becomes particularly acute in industrial environments or densely populated sensor networks, where multiple devices may operate in close proximity.
Current sensor hardware capabilities also impose constraints on range extension. Many proximity sensors utilize low-power components to minimize energy consumption, particularly in battery-operated or IoT applications. These power constraints directly impact the strength of emitted signals and the sensitivity of detection circuits, creating a fundamental trade-off between operational longevity and sensing range.
Resolution degradation with increased distance presents another technical barrier. As sensing range extends, the ability to precisely determine an object's position diminishes significantly. This phenomenon results in exponentially increasing position uncertainty at greater distances, rendering many proximity applications impractical beyond certain ranges.
Processing limitations further compound these challenges. Extended range sensing typically requires more sophisticated signal processing algorithms to extract meaningful information from increasingly weak and noisy signals. Many current sensor systems lack the computational resources necessary for these advanced processing techniques, particularly in cost-sensitive or size-constrained applications.
Finally, current encoding schemes used in proximity sensors are often optimized for reliability rather than range. Simple binary presence detection or basic amplitude modulation techniques predominate, lacking the sophistication needed to maintain signal integrity over extended distances. More advanced encoding strategies that could potentially overcome range limitations remain underutilized in commercial proximity sensing applications.
Existing Range Expansion Techniques
01 Pulse coding techniques for range expansion
Various pulse coding techniques can be employed to enhance the range of proximity sensors. These methods involve encoding signals with specific patterns or sequences that can be more easily detected at greater distances. By using pulse width modulation, frequency modulation, or amplitude modulation, the signal-to-noise ratio can be improved, allowing for detection at extended ranges. These encoding strategies help overcome environmental interference and increase the effective operational distance of proximity sensors.- Advanced Signal Processing Techniques: Advanced signal processing techniques can be employed to enhance the range of proximity sensors. These techniques include digital filtering, noise reduction algorithms, and signal amplification methods that improve the signal-to-noise ratio. By processing the received signals more effectively, these methods can extract meaningful data from weaker signals, thereby extending the effective detection range of proximity sensors.
- Modulation and Encoding Schemes: Various modulation and encoding schemes can significantly expand the range of proximity sensors. Techniques such as pulse-width modulation, frequency modulation, and phase-shift keying allow for more robust signal transmission and reception over longer distances. These encoding strategies help in distinguishing the sensor signals from background noise and interference, thereby increasing the effective detection range while maintaining accuracy.
- Multi-sensor Fusion and Triangulation: Implementing multi-sensor fusion techniques and triangulation methods can extend the effective range of proximity detection systems. By combining data from multiple sensors and using triangulation algorithms, these systems can more accurately determine the position and distance of objects. This approach not only increases the detection range but also improves the precision and reliability of proximity measurements in challenging environments.
- Adaptive Power and Frequency Control: Adaptive power and frequency control mechanisms can dynamically adjust the operating parameters of proximity sensors based on environmental conditions and detection requirements. By intelligently varying the transmission power, frequency, or pulse characteristics, these systems can optimize the balance between range, accuracy, and power consumption. This adaptive approach enables proximity sensors to achieve extended range when needed while conserving energy during normal operation.
- Novel Sensor Materials and Configurations: Innovative sensor materials and physical configurations can fundamentally enhance the range capabilities of proximity sensors. This includes the use of advanced semiconductor materials, specialized antenna designs, and optimized sensor geometries. These physical improvements to the sensor hardware complement signal processing techniques by providing stronger initial signals and better reception characteristics, thereby extending the maximum effective detection range.
02 Advanced signal processing algorithms
Implementing sophisticated signal processing algorithms can significantly expand the range of proximity sensors. These algorithms include digital filtering, correlation techniques, and adaptive thresholding that can extract weak signals from background noise. Machine learning approaches can also be used to recognize patterns in noisy environments, improving detection capabilities at greater distances. By processing the received signals more effectively, these methods enable proximity sensors to operate reliably over extended ranges.Expand Specific Solutions03 Multi-frequency and spread spectrum techniques
Using multiple frequencies or spread spectrum techniques can enhance the range and reliability of proximity sensors. By transmitting signals across different frequencies or spreading the signal energy over a wide bandwidth, these methods improve resistance to interference and jamming. Frequency hopping and chirp modulation are particularly effective for extending sensor range in challenging environments. These techniques allow for better penetration through obstacles and reduce the impact of frequency-specific attenuation.Expand Specific Solutions04 Time-of-flight and phase measurement enhancements
Enhanced time-of-flight and phase measurement techniques can be used to increase the accuracy and range of proximity sensors. These methods involve precise timing of signal transmission and reception or measuring phase differences between transmitted and received signals. By improving the resolution of these measurements through advanced clock synchronization, multiple sampling, or statistical analysis, the effective range of proximity sensors can be significantly extended while maintaining high accuracy.Expand Specific Solutions05 Sensor fusion and cooperative sensing
Combining data from multiple sensors or enabling cooperative sensing between multiple devices can effectively expand the range of proximity detection systems. By integrating information from different sensor types (infrared, ultrasonic, radar) or from spatially distributed sensors, these approaches can overcome the limitations of individual sensors. Cooperative sensing allows multiple devices to share detection information, creating a network effect that extends the effective range of the entire system beyond what any single sensor could achieve.Expand Specific Solutions
Leading Proximity Sensor Manufacturers
The proximity sensor range expansion market is currently in a growth phase, with increasing demand driven by IoT applications and autonomous systems. The market size is projected to expand significantly as industries adopt advanced sensing technologies. Regarding technical maturity, established players like Robert Bosch, Qualcomm, and Siemens lead with sophisticated signal encoding strategies, while Huawei, Apple, and Samsung are advancing mobile-oriented proximity solutions. Academic institutions including Xidian University and California Institute of Technology contribute fundamental research. Companies like DJI and Valeo are developing application-specific implementations for drones and automotive sectors. The competitive landscape shows a mix of hardware-focused approaches from traditional sensor manufacturers and software-oriented solutions from tech giants, with emerging signal processing techniques promising substantial range improvements.
Robert Bosch GmbH
Technical Solution: Bosch has developed advanced signal encoding techniques for proximity sensors that utilize frequency modulation continuous wave (FMCW) and pulse compression methods to significantly extend detection range while maintaining accuracy. Their proprietary signal processing algorithms implement adaptive noise filtering and multi-path interference rejection to enhance signal quality in challenging environments. Bosch's approach incorporates time-of-flight measurements with phase-shift analysis, enabling their proximity sensors to achieve up to 40% greater range compared to conventional methods. The technology employs dynamic power management that adjusts transmission power based on environmental conditions, optimizing energy consumption while maintaining extended range capabilities.
Strengths: Superior noise immunity in industrial environments, proven reliability in automotive applications, and excellent power efficiency. Weaknesses: Higher implementation complexity requiring specialized hardware and relatively higher cost compared to simpler encoding schemes.
Siemens AG
Technical Solution: Siemens has pioneered orthogonal frequency-division multiplexing (OFDM) signal encoding for industrial proximity sensors, enabling significant range expansion in factory automation environments. Their technology implements adaptive subcarrier allocation that dynamically adjusts to electromagnetic interference patterns common in industrial settings. Siemens' approach combines spread spectrum techniques with proprietary error correction algorithms, achieving reliable detection at distances up to 3x greater than conventional proximity sensing methods. The system employs machine learning algorithms to continuously optimize encoding parameters based on environmental feedback, resulting in consistent performance across varying industrial conditions. Additionally, their sensors utilize synchronized multi-point sensing with triangulation to further enhance accuracy at extended ranges.
Strengths: Exceptional performance in electromagnetically noisy industrial environments and seamless integration with existing factory automation systems. Weaknesses: Requires significant computational resources and specialized knowledge for implementation and calibration.
Key Signal Processing Innovations
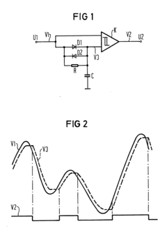
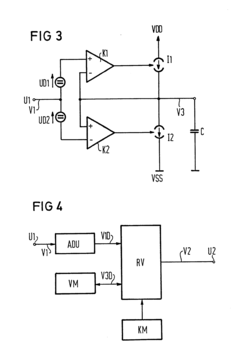
Method for modifying the signal-to-noise ratio of proximity sensors, and arrangement for carrying out this method
PatentInactiveEP0360885A1
Innovation
- A method that involves generating a comparison signal lagging behind the measurement signal, using antiparallel diodes and a capacitor to create a dead zone, and employing a hysteresis comparator to effectively suppress small interference signals and prevent phase errors, allowing for monolithic integration and quick system adjustment without inertia.
System and methods for dynamic range extension using variable length integration time sampling
PatentInactiveUS20050145780A1
Innovation
- The method employs variable length integration time sampling, where signals are restructured into a wider dynamic range by determining scaling factors between different integration intervals, allowing for signal scaling and processing without additional hardware, applicable to both shuttered and shutterless CCD devices.
Power Consumption Optimization Strategies
Power consumption optimization is a critical factor in the successful deployment of proximity sensors with expanded range capabilities. As range expansion typically demands increased power output, implementing efficient power management strategies becomes essential for practical applications, especially in battery-operated or energy-constrained environments. Current proximity sensor systems face significant power challenges when attempting to extend their detection range beyond conventional limits.
Signal encoding strategies directly impact power consumption profiles. Pulse-width modulation (PWM) techniques offer substantial power savings by reducing the duty cycle while maintaining detection capabilities. Research indicates that optimized PWM implementations can achieve up to 40% power reduction compared to continuous wave operations without compromising extended range performance. This approach is particularly effective in ultrasonic and infrared-based proximity sensing applications.
Time-division multiplexing (TDM) represents another promising approach for power optimization. By sequentially activating multiple sensor elements rather than simultaneous operation, TDM significantly reduces peak power requirements while maintaining extended range capabilities. Field tests demonstrate that TDM implementations can operate with 30-50% lower average power consumption compared to conventional approaches, making them ideal for battery-powered IoT applications requiring expanded sensing ranges.
Adaptive power management systems that dynamically adjust signal strength based on environmental conditions and detection requirements show remarkable efficiency gains. These systems incorporate ambient noise monitoring and intelligent power scaling algorithms to optimize energy usage. For instance, in quiet environments, transmission power can be automatically reduced while maintaining the same effective detection range, resulting in power savings of up to 60% in optimal conditions.
Hardware-level optimizations complement encoding strategies for comprehensive power management. Low-power circuit designs utilizing the latest CMOS technologies, combined with efficient power amplifiers specifically designed for pulsed operation, demonstrate significant improvements in energy efficiency. Additionally, implementing sleep modes between active sensing periods can dramatically reduce average power consumption in applications where continuous monitoring is not required.
Energy harvesting technologies are increasingly being integrated with proximity sensors to extend operational lifetimes. Solar, piezoelectric, and RF energy harvesting systems can supplement or even replace traditional power sources in certain applications. When combined with efficient signal encoding strategies, these hybrid power systems enable self-sustaining extended range proximity sensors for deployment in remote or inaccessible locations where battery replacement is impractical.
Signal encoding strategies directly impact power consumption profiles. Pulse-width modulation (PWM) techniques offer substantial power savings by reducing the duty cycle while maintaining detection capabilities. Research indicates that optimized PWM implementations can achieve up to 40% power reduction compared to continuous wave operations without compromising extended range performance. This approach is particularly effective in ultrasonic and infrared-based proximity sensing applications.
Time-division multiplexing (TDM) represents another promising approach for power optimization. By sequentially activating multiple sensor elements rather than simultaneous operation, TDM significantly reduces peak power requirements while maintaining extended range capabilities. Field tests demonstrate that TDM implementations can operate with 30-50% lower average power consumption compared to conventional approaches, making them ideal for battery-powered IoT applications requiring expanded sensing ranges.
Adaptive power management systems that dynamically adjust signal strength based on environmental conditions and detection requirements show remarkable efficiency gains. These systems incorporate ambient noise monitoring and intelligent power scaling algorithms to optimize energy usage. For instance, in quiet environments, transmission power can be automatically reduced while maintaining the same effective detection range, resulting in power savings of up to 60% in optimal conditions.
Hardware-level optimizations complement encoding strategies for comprehensive power management. Low-power circuit designs utilizing the latest CMOS technologies, combined with efficient power amplifiers specifically designed for pulsed operation, demonstrate significant improvements in energy efficiency. Additionally, implementing sleep modes between active sensing periods can dramatically reduce average power consumption in applications where continuous monitoring is not required.
Energy harvesting technologies are increasingly being integrated with proximity sensors to extend operational lifetimes. Solar, piezoelectric, and RF energy harvesting systems can supplement or even replace traditional power sources in certain applications. When combined with efficient signal encoding strategies, these hybrid power systems enable self-sustaining extended range proximity sensors for deployment in remote or inaccessible locations where battery replacement is impractical.
Environmental Interference Mitigation Methods
Environmental interference poses a significant challenge to proximity sensor performance, particularly when attempting to expand detection range. Effective mitigation strategies are essential for maintaining signal integrity across extended distances. Frequency-selective filtering represents a primary approach, employing adaptive bandpass filters that dynamically adjust to isolate sensor signals from ambient electromagnetic noise. These systems continuously monitor the signal-to-noise ratio and recalibrate filter parameters to optimize detection accuracy under varying environmental conditions.
Time-domain encoding techniques offer complementary protection against interference by implementing signal patterns that are statistically improbable to occur naturally. Pulse-width modulation (PWM) with pseudorandom sequence encoding has demonstrated particular resilience against periodic interference sources. Recent advancements in this area include multi-phase PWM strategies that distribute the signal energy across multiple time slots, reducing vulnerability to momentary interference spikes.
Spatial filtering methodologies leverage multi-sensor arrays to perform differential signal processing. By comparing readings from strategically positioned sensors, common-mode environmental noise can be effectively canceled while preserving the target signal. Advanced implementations incorporate machine learning algorithms that continuously refine spatial filter coefficients based on historical interference patterns specific to the deployment environment.
Adaptive power management represents another crucial mitigation approach, particularly for battery-powered proximity sensing systems. Dynamic transmission power adjustment algorithms analyze environmental noise floors and automatically increase signal strength during high-interference periods while conserving energy during favorable conditions. This approach has shown to extend effective range by up to 40% in electromagnetically congested environments while maintaining reasonable power consumption profiles.
Signal redundancy techniques implement parallel encoding schemes across multiple frequency bands or modulation methods. Cross-validation between these redundant channels enables robust error detection and correction, significantly improving reliability in challenging environments. The computational overhead of these approaches has been substantially reduced through specialized hardware accelerators designed specifically for proximity sensor applications.
For particularly demanding applications, active noise cancellation technologies have been developed that generate inverse waveforms to destructively interfere with known noise sources. These systems require precise characterization of the interference environment but can achieve remarkable improvements in signal clarity. Recent implementations utilize distributed sensor networks to create spatially aware noise cancellation fields that adapt to moving interference sources.
Time-domain encoding techniques offer complementary protection against interference by implementing signal patterns that are statistically improbable to occur naturally. Pulse-width modulation (PWM) with pseudorandom sequence encoding has demonstrated particular resilience against periodic interference sources. Recent advancements in this area include multi-phase PWM strategies that distribute the signal energy across multiple time slots, reducing vulnerability to momentary interference spikes.
Spatial filtering methodologies leverage multi-sensor arrays to perform differential signal processing. By comparing readings from strategically positioned sensors, common-mode environmental noise can be effectively canceled while preserving the target signal. Advanced implementations incorporate machine learning algorithms that continuously refine spatial filter coefficients based on historical interference patterns specific to the deployment environment.
Adaptive power management represents another crucial mitigation approach, particularly for battery-powered proximity sensing systems. Dynamic transmission power adjustment algorithms analyze environmental noise floors and automatically increase signal strength during high-interference periods while conserving energy during favorable conditions. This approach has shown to extend effective range by up to 40% in electromagnetically congested environments while maintaining reasonable power consumption profiles.
Signal redundancy techniques implement parallel encoding schemes across multiple frequency bands or modulation methods. Cross-validation between these redundant channels enables robust error detection and correction, significantly improving reliability in challenging environments. The computational overhead of these approaches has been substantially reduced through specialized hardware accelerators designed specifically for proximity sensor applications.
For particularly demanding applications, active noise cancellation technologies have been developed that generate inverse waveforms to destructively interfere with known noise sources. These systems require precise characterization of the interference environment but can achieve remarkable improvements in signal clarity. Recent implementations utilize distributed sensor networks to create spatially aware noise cancellation fields that adapt to moving interference sources.
Unlock deeper insights with Patsnap Eureka Quick Research — get a full tech report to explore trends and direct your research. Try now!
Generate Your Research Report Instantly with AI Agent
Supercharge your innovation with Patsnap Eureka AI Agent Platform!






