Signal Discrimination Protocol for Proximity Sensors in Urban Deployments
SEP 24, 202510 MIN READ
Generate Your Research Report Instantly with AI Agent
Patsnap Eureka helps you evaluate technical feasibility & market potential.
Proximity Sensing Technology Background and Objectives
Proximity sensing technology has evolved significantly over the past three decades, transitioning from simple infrared-based detection systems to sophisticated multi-modal sensing platforms. Initially developed for industrial automation in the 1980s, proximity sensors have expanded their application domains to include consumer electronics, automotive systems, and smart infrastructure. The evolution trajectory shows a clear trend toward miniaturization, increased accuracy, and reduced power consumption, with recent advancements focusing on intelligent signal processing capabilities.
Urban environments present unique challenges for proximity sensing technologies due to high levels of electromagnetic interference, signal reflection from multiple surfaces, and the density of sensing devices operating simultaneously. These conditions have necessitated the development of specialized signal discrimination protocols that can effectively filter noise and accurately identify relevant proximity events in complex urban settings.
The primary objective of Signal Discrimination Protocol research for urban proximity sensors is to enhance detection reliability while minimizing false positives and negatives that plague current deployment scenarios. This involves developing algorithms capable of distinguishing between genuine proximity events and environmental anomalies, particularly in high-density urban areas where multiple sensors may be operating within close proximity to each other.
Current technological trajectories indicate a convergence of multiple sensing modalities, including ultrasonic, infrared, capacitive, and radio frequency identification (RFID) technologies, to create robust hybrid sensing systems. These integrated approaches aim to leverage the complementary strengths of different sensing technologies while mitigating their individual weaknesses, resulting in more reliable proximity detection systems for urban applications.
The field is witnessing significant innovation in machine learning-based signal processing techniques that can adaptively learn from environmental patterns and continuously improve discrimination accuracy. These approaches represent a paradigm shift from traditional threshold-based detection methods toward context-aware sensing systems that can interpret complex signal patterns in real-time.
Looking forward, the development of standardized signal discrimination protocols for urban proximity sensors will be crucial for enabling interoperability between different sensing systems and facilitating large-scale smart city deployments. The establishment of such protocols requires addressing challenges related to sensor heterogeneity, environmental variability, and the need for real-time processing capabilities in resource-constrained devices.
Urban environments present unique challenges for proximity sensing technologies due to high levels of electromagnetic interference, signal reflection from multiple surfaces, and the density of sensing devices operating simultaneously. These conditions have necessitated the development of specialized signal discrimination protocols that can effectively filter noise and accurately identify relevant proximity events in complex urban settings.
The primary objective of Signal Discrimination Protocol research for urban proximity sensors is to enhance detection reliability while minimizing false positives and negatives that plague current deployment scenarios. This involves developing algorithms capable of distinguishing between genuine proximity events and environmental anomalies, particularly in high-density urban areas where multiple sensors may be operating within close proximity to each other.
Current technological trajectories indicate a convergence of multiple sensing modalities, including ultrasonic, infrared, capacitive, and radio frequency identification (RFID) technologies, to create robust hybrid sensing systems. These integrated approaches aim to leverage the complementary strengths of different sensing technologies while mitigating their individual weaknesses, resulting in more reliable proximity detection systems for urban applications.
The field is witnessing significant innovation in machine learning-based signal processing techniques that can adaptively learn from environmental patterns and continuously improve discrimination accuracy. These approaches represent a paradigm shift from traditional threshold-based detection methods toward context-aware sensing systems that can interpret complex signal patterns in real-time.
Looking forward, the development of standardized signal discrimination protocols for urban proximity sensors will be crucial for enabling interoperability between different sensing systems and facilitating large-scale smart city deployments. The establishment of such protocols requires addressing challenges related to sensor heterogeneity, environmental variability, and the need for real-time processing capabilities in resource-constrained devices.
Urban Market Demand Analysis for Proximity Sensing
The urban proximity sensing market is experiencing unprecedented growth driven by smart city initiatives worldwide. Current market analysis indicates that proximity sensing technologies are becoming essential components in urban infrastructure, with applications spanning traffic management, pedestrian safety, autonomous vehicles, and public space optimization. The global smart city technology market, which heavily relies on proximity sensing, is projected to reach $671 billion by 2028, with proximity sensing components accounting for approximately 18% of this value.
Urban environments present unique challenges that have created specific market demands for advanced proximity sensing solutions. Dense building structures, high electromagnetic interference, and complex multi-object scenarios have exposed limitations in traditional proximity sensing technologies. Municipal governments are increasingly allocating budget for sensor networks that can reliably operate in these challenging conditions, with major cities worldwide investing between $50-200 million annually in sensor infrastructure upgrades.
The automotive sector represents a significant market segment, particularly for vehicle-to-infrastructure (V2I) communication systems that rely on precise proximity detection. With urban autonomous vehicle testing expanding in over 60 major cities globally, demand for high-discrimination proximity sensors has grown by 34% annually since 2020. Fleet operators and ride-sharing companies are particularly interested in sensors that can maintain accuracy in urban canyons where GPS signals degrade.
Public safety applications constitute another substantial market segment. Urban security systems, crowd management solutions, and emergency response technologies all require proximity sensing capabilities that can function reliably in dense urban environments. This segment has seen 28% year-over-year growth, with particular emphasis on solutions that can discriminate between different types of objects and movements in crowded spaces.
Energy efficiency initiatives in smart buildings represent an emerging market opportunity. Proximity sensors that can accurately detect occupancy patterns in complex urban structures enable significant energy savings. Building management companies report 15-30% reductions in energy consumption when implementing advanced proximity sensing systems, creating a compelling return on investment that is driving adoption.
The COVID-19 pandemic has accelerated demand for contactless technologies in urban environments, creating new market opportunities for proximity sensing in public transportation, retail, and healthcare settings. This has expanded the addressable market by approximately $12 billion since 2020, with particular growth in solutions that can maintain signal discrimination accuracy while enabling social distancing applications.
Market research indicates that customers are increasingly prioritizing signal discrimination capabilities over raw detection range, reflecting the complex reality of urban deployments where false positives and negatives carry significant consequences. This shift in buyer preferences is creating premium pricing opportunities for solutions that can demonstrate superior discrimination protocols in real-world urban conditions.
Urban environments present unique challenges that have created specific market demands for advanced proximity sensing solutions. Dense building structures, high electromagnetic interference, and complex multi-object scenarios have exposed limitations in traditional proximity sensing technologies. Municipal governments are increasingly allocating budget for sensor networks that can reliably operate in these challenging conditions, with major cities worldwide investing between $50-200 million annually in sensor infrastructure upgrades.
The automotive sector represents a significant market segment, particularly for vehicle-to-infrastructure (V2I) communication systems that rely on precise proximity detection. With urban autonomous vehicle testing expanding in over 60 major cities globally, demand for high-discrimination proximity sensors has grown by 34% annually since 2020. Fleet operators and ride-sharing companies are particularly interested in sensors that can maintain accuracy in urban canyons where GPS signals degrade.
Public safety applications constitute another substantial market segment. Urban security systems, crowd management solutions, and emergency response technologies all require proximity sensing capabilities that can function reliably in dense urban environments. This segment has seen 28% year-over-year growth, with particular emphasis on solutions that can discriminate between different types of objects and movements in crowded spaces.
Energy efficiency initiatives in smart buildings represent an emerging market opportunity. Proximity sensors that can accurately detect occupancy patterns in complex urban structures enable significant energy savings. Building management companies report 15-30% reductions in energy consumption when implementing advanced proximity sensing systems, creating a compelling return on investment that is driving adoption.
The COVID-19 pandemic has accelerated demand for contactless technologies in urban environments, creating new market opportunities for proximity sensing in public transportation, retail, and healthcare settings. This has expanded the addressable market by approximately $12 billion since 2020, with particular growth in solutions that can maintain signal discrimination accuracy while enabling social distancing applications.
Market research indicates that customers are increasingly prioritizing signal discrimination capabilities over raw detection range, reflecting the complex reality of urban deployments where false positives and negatives carry significant consequences. This shift in buyer preferences is creating premium pricing opportunities for solutions that can demonstrate superior discrimination protocols in real-world urban conditions.
Signal Discrimination Challenges in Dense Urban Environments
Urban environments present significant challenges for proximity sensor systems due to the high density of signal sources and complex electromagnetic landscape. In metropolitan areas, the proliferation of wireless devices, IoT sensors, and communication infrastructure creates a congested signal environment where discrimination between relevant and irrelevant signals becomes increasingly difficult.
Signal interference represents the primary challenge, with multiple proximity sensors operating in close proximity generating overlapping detection fields. This interference can lead to false positives, missed detections, and inaccurate proximity measurements. The problem is compounded by multipath propagation effects, where signals reflect off buildings, vehicles, and other urban structures, creating ghost signals that sensors may interpret as actual objects.
Environmental factors further complicate signal discrimination. Temperature fluctuations, humidity variations, and precipitation can all alter signal propagation characteristics. Urban canyons formed by tall buildings create signal shadows and reflections that distort sensor readings. Additionally, the dynamic nature of urban environments, with constantly moving objects and changing conditions, requires adaptive discrimination protocols that can adjust in real-time.
Electromagnetic pollution from various sources including power lines, transformers, electronic billboards, and vehicle electronics introduces noise across multiple frequency bands. This ambient electromagnetic noise raises the signal floor, reducing the signal-to-noise ratio for proximity sensors and diminishing their effective detection range and accuracy.
Cross-technology interference presents another significant challenge. With the coexistence of multiple wireless standards (Wi-Fi, Bluetooth, Zigbee, cellular networks) operating in similar frequency bands, proximity sensors must distinguish their signals from this crowded spectrum. The lack of coordination between different systems and standards exacerbates this issue.
Power constraints add another dimension to the challenge. Many urban-deployed proximity sensors operate on limited power budgets, restricting the computational resources available for sophisticated signal processing algorithms. This creates a fundamental tension between discrimination accuracy and energy efficiency.
Temporal variations in signal patterns further complicate discrimination efforts. Urban signal environments exhibit distinct patterns based on time of day, day of week, and seasonal factors. Rush hour traffic, large public gatherings, and weather events can dramatically alter the electromagnetic landscape, requiring adaptive discrimination protocols that can recognize and adjust to these temporal patterns.
The security implications of signal discrimination challenges cannot be overlooked. Sophisticated adversaries may deliberately generate spoofing signals to trigger false readings or mask their presence from detection systems, highlighting the need for secure discrimination protocols that can identify and reject malicious signal patterns.
Signal interference represents the primary challenge, with multiple proximity sensors operating in close proximity generating overlapping detection fields. This interference can lead to false positives, missed detections, and inaccurate proximity measurements. The problem is compounded by multipath propagation effects, where signals reflect off buildings, vehicles, and other urban structures, creating ghost signals that sensors may interpret as actual objects.
Environmental factors further complicate signal discrimination. Temperature fluctuations, humidity variations, and precipitation can all alter signal propagation characteristics. Urban canyons formed by tall buildings create signal shadows and reflections that distort sensor readings. Additionally, the dynamic nature of urban environments, with constantly moving objects and changing conditions, requires adaptive discrimination protocols that can adjust in real-time.
Electromagnetic pollution from various sources including power lines, transformers, electronic billboards, and vehicle electronics introduces noise across multiple frequency bands. This ambient electromagnetic noise raises the signal floor, reducing the signal-to-noise ratio for proximity sensors and diminishing their effective detection range and accuracy.
Cross-technology interference presents another significant challenge. With the coexistence of multiple wireless standards (Wi-Fi, Bluetooth, Zigbee, cellular networks) operating in similar frequency bands, proximity sensors must distinguish their signals from this crowded spectrum. The lack of coordination between different systems and standards exacerbates this issue.
Power constraints add another dimension to the challenge. Many urban-deployed proximity sensors operate on limited power budgets, restricting the computational resources available for sophisticated signal processing algorithms. This creates a fundamental tension between discrimination accuracy and energy efficiency.
Temporal variations in signal patterns further complicate discrimination efforts. Urban signal environments exhibit distinct patterns based on time of day, day of week, and seasonal factors. Rush hour traffic, large public gatherings, and weather events can dramatically alter the electromagnetic landscape, requiring adaptive discrimination protocols that can recognize and adjust to these temporal patterns.
The security implications of signal discrimination challenges cannot be overlooked. Sophisticated adversaries may deliberately generate spoofing signals to trigger false readings or mask their presence from detection systems, highlighting the need for secure discrimination protocols that can identify and reject malicious signal patterns.
Current Signal Discrimination Protocols and Solutions
01 Signal discrimination techniques in communication systems
Various techniques are employed in communication systems to discriminate between different signals. These include methods for identifying, separating, and processing signals in environments with multiple transmissions or interference. Advanced algorithms analyze signal characteristics such as frequency, amplitude, and phase to effectively discriminate between desired signals and noise, enhancing communication reliability and efficiency.- Signal processing techniques for discrimination: Various signal processing techniques are employed to enhance signal discrimination capabilities. These include digital filtering, pattern recognition algorithms, and adaptive processing methods that can identify and separate signals from noise or other interfering signals. These techniques are particularly useful in communications systems where signal integrity is crucial for accurate data transmission.
- Hardware implementations for signal discrimination: Specialized hardware architectures are designed to facilitate signal discrimination in real-time applications. These include dedicated integrated circuits, sensor arrays, and specialized receivers that can effectively distinguish between different signal types. The hardware implementations often incorporate parallel processing capabilities to handle complex discrimination tasks efficiently.
- Network-based signal discrimination protocols: Signal discrimination protocols specifically designed for network environments enable effective communication in multi-user scenarios. These protocols implement methods for channel allocation, collision detection, and signal prioritization to ensure reliable data transmission across shared communication channels. They often incorporate adaptive mechanisms to respond to changing network conditions.
- Machine learning approaches for signal discrimination: Advanced machine learning algorithms are applied to signal discrimination problems to improve accuracy and adaptability. These approaches use neural networks, support vector machines, and other AI techniques to learn signal characteristics and make intelligent discrimination decisions. The learning-based methods can adapt to new signal types and changing environmental conditions.
- Wireless communication signal discrimination: Specialized techniques for discriminating between signals in wireless communication systems address challenges such as multipath interference, fading, and co-channel interference. These methods include spatial diversity, frequency hopping, and advanced modulation schemes that enhance the ability to distinguish between desired signals and interference in wireless environments.
02 Image and pattern recognition signal discrimination
Signal discrimination protocols are implemented in image and pattern recognition systems to identify and classify visual data. These systems process digital signals from images to discriminate between different patterns, objects, or features. The discrimination algorithms analyze pixel data, contrast levels, and spatial relationships to extract meaningful information from visual inputs, enabling applications in security, medical imaging, and automated inspection.Expand Specific Solutions03 Hardware implementations for signal discrimination
Specialized hardware architectures are designed for efficient signal discrimination in various applications. These implementations include dedicated circuits, processors, and sensors optimized for real-time signal analysis and discrimination. The hardware solutions incorporate analog and digital components that work together to filter, amplify, and process signals, enabling effective discrimination even in challenging environments with low signal-to-noise ratios.Expand Specific Solutions04 Network-based signal discrimination protocols
Signal discrimination protocols are implemented in network environments to manage data traffic, identify specific transmission types, and ensure proper routing. These protocols enable networks to discriminate between different data packets, prioritize traffic, and maintain quality of service. Advanced discrimination techniques analyze packet headers, timing patterns, and content signatures to classify network signals and apply appropriate handling rules.Expand Specific Solutions05 Wireless signal discrimination and interference management
Specialized protocols are developed for discriminating between wireless signals in environments with multiple transmitters and potential interference. These techniques enable devices to identify and isolate desired signals from background noise or competing transmissions. The discrimination methods analyze signal characteristics such as frequency hopping patterns, modulation schemes, and timing to effectively separate overlapping wireless signals and maintain reliable connections.Expand Specific Solutions
Key Industry Players in Urban Proximity Sensing
The Signal Discrimination Protocol for Proximity Sensors market is currently in a growth phase, with increasing adoption in urban environments driving market expansion. The global market size is estimated to exceed $5 billion, growing at approximately 15% annually as smart city initiatives accelerate worldwide. Technologically, the field is reaching maturity with key players demonstrating varied capabilities. Industry leaders like Huawei, Qualcomm, and Samsung have established robust protocol solutions with advanced discrimination algorithms, while ZTE, Apple, and LG Electronics offer competitive alternatives. Emerging players such as Aerial Technologies and Focus Universal are introducing innovative approaches to signal processing. Chinese telecommunications giants including China Mobile and China Telecom are heavily investing in deployment infrastructure, particularly for 5G-integrated proximity sensing networks, positioning this technology as critical infrastructure for future urban development.
Huawei Technologies Co., Ltd.
Technical Solution: Huawei has developed an advanced Signal Discrimination Protocol for proximity sensors that utilizes AI-powered signal processing algorithms to filter out environmental noise in dense urban deployments. Their solution incorporates multi-sensor fusion technology that combines data from ultrasonic, infrared, and RF sensors to create a comprehensive proximity detection system. The protocol employs adaptive threshold mechanisms that automatically adjust sensitivity based on environmental conditions, significantly reducing false positives in crowded urban settings. Huawei's implementation includes a proprietary signal processing chip that can distinguish between multiple overlapping signals, allowing for accurate proximity detection even in environments with high electromagnetic interference. The system also features dynamic power management that optimizes energy consumption based on detection requirements, extending battery life for IoT deployments.
Strengths: Superior noise filtering capabilities in dense urban environments; comprehensive multi-sensor fusion approach; adaptive to varying environmental conditions. Weaknesses: Higher implementation cost compared to simpler solutions; requires specialized hardware for optimal performance; potentially higher power consumption for full feature set.
QUALCOMM, Inc.
Technical Solution: Qualcomm's Signal Discrimination Protocol leverages their expertise in wireless communications to create a robust proximity sensing solution specifically designed for urban environments. Their approach utilizes a combination of Bluetooth Low Energy (BLE) and Ultra-Wideband (UWB) technologies to achieve centimeter-level accuracy in proximity detection. The protocol implements advanced Time-of-Flight (ToF) calculations with proprietary algorithms that compensate for signal reflections common in urban settings. Qualcomm's solution incorporates machine learning models that continuously improve signal discrimination by learning from environmental patterns and user behaviors. Their protocol also features a unique channel hopping mechanism that mitigates interference from other wireless devices operating in the same frequency bands. Additionally, Qualcomm has integrated this technology with their Snapdragon platforms, allowing for efficient processing directly on mobile devices without requiring external hardware.
Strengths: Exceptional accuracy through combined BLE/UWB approach; built-in machine learning capabilities for continuous improvement; seamless integration with existing Snapdragon platforms. Weaknesses: Dependency on Qualcomm hardware ecosystem may limit broader adoption; higher power requirements for UWB components; potential privacy concerns with behavioral learning aspects.
Critical Patents in Urban Proximity Sensing Technology
Method, apparatus and transmission equipment for signal discrimination
PatentInactiveEP1239653A3
Innovation
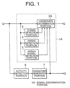
- The signal discrimination apparatus includes specific detection means for identifying tone signals and start-up procedure signals, such as the ANSam signal, to differentiate between voice and data signals, preventing misclassification by setting a detection flag when specific signals are detected during the start-up procedure of the V.34 modem signal.
Method for mitigating interference between nearby proximity sensors
PatentActiveUS7266470B1
Innovation
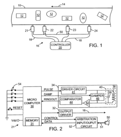
- A method where each proximity sensor is assigned a unique binary address, and through an arbitration process, only one sensor is allowed to perform object detection at a time by applying specific logic levels to a communication link, preventing interference by suspending participation of other sensors.
Urban Infrastructure Integration Considerations
The integration of proximity sensor networks into existing urban infrastructure presents unique challenges and opportunities that must be carefully considered for successful deployment. Cities worldwide are increasingly adopting smart technologies, making the physical integration of sensor systems a critical consideration. Mounting locations must balance optimal signal coverage with aesthetic concerns, particularly in historically significant or architecturally distinctive areas where visual impact must be minimized.
Power supply infrastructure represents a significant integration challenge. While connecting to existing electrical grids offers reliability, it requires substantial installation costs and potential disruption to urban environments. Alternative approaches utilizing renewable energy sources such as solar panels or kinetic energy harvesters can provide sustainable power solutions, though these must be evaluated against local climate conditions and physical space constraints.
Data transmission infrastructure must also be carefully planned. The deployment of proximity sensors necessitates robust communication networks, potentially leveraging existing municipal fiber optic networks, cellular infrastructure, or dedicated low-power wide-area networks (LPWAN). The selection of appropriate communication protocols must consider bandwidth requirements, power consumption, and security concerns specific to urban environments.
Weather resistance and physical durability represent critical factors in urban deployments. Proximity sensor housings must withstand diverse environmental conditions including temperature fluctuations, precipitation, pollution, and potential vandalism. The development of standardized, modular enclosures that can be easily maintained while providing adequate protection represents an ongoing engineering challenge.
Regulatory compliance adds another layer of complexity to urban integration. Deployments must navigate municipal codes, historical preservation requirements, accessibility standards, and electromagnetic emission regulations. Early engagement with local authorities and standardization bodies can help streamline the approval process and ensure compliance throughout the deployment lifecycle.
Maintenance accessibility must be incorporated into initial design considerations. Sensor placements that facilitate routine maintenance without disrupting traffic or requiring specialized equipment can significantly reduce operational costs over time. The development of self-diagnostic capabilities and remote monitoring systems can further optimize maintenance schedules and reduce unnecessary field visits.
Finally, scalability and future-proofing must be addressed in infrastructure integration planning. Designing systems with standardized interfaces and modular components allows for incremental expansion and technology upgrades without wholesale replacement of existing infrastructure, maximizing return on investment and extending useful system life.
Power supply infrastructure represents a significant integration challenge. While connecting to existing electrical grids offers reliability, it requires substantial installation costs and potential disruption to urban environments. Alternative approaches utilizing renewable energy sources such as solar panels or kinetic energy harvesters can provide sustainable power solutions, though these must be evaluated against local climate conditions and physical space constraints.
Data transmission infrastructure must also be carefully planned. The deployment of proximity sensors necessitates robust communication networks, potentially leveraging existing municipal fiber optic networks, cellular infrastructure, or dedicated low-power wide-area networks (LPWAN). The selection of appropriate communication protocols must consider bandwidth requirements, power consumption, and security concerns specific to urban environments.
Weather resistance and physical durability represent critical factors in urban deployments. Proximity sensor housings must withstand diverse environmental conditions including temperature fluctuations, precipitation, pollution, and potential vandalism. The development of standardized, modular enclosures that can be easily maintained while providing adequate protection represents an ongoing engineering challenge.
Regulatory compliance adds another layer of complexity to urban integration. Deployments must navigate municipal codes, historical preservation requirements, accessibility standards, and electromagnetic emission regulations. Early engagement with local authorities and standardization bodies can help streamline the approval process and ensure compliance throughout the deployment lifecycle.
Maintenance accessibility must be incorporated into initial design considerations. Sensor placements that facilitate routine maintenance without disrupting traffic or requiring specialized equipment can significantly reduce operational costs over time. The development of self-diagnostic capabilities and remote monitoring systems can further optimize maintenance schedules and reduce unnecessary field visits.
Finally, scalability and future-proofing must be addressed in infrastructure integration planning. Designing systems with standardized interfaces and modular components allows for incremental expansion and technology upgrades without wholesale replacement of existing infrastructure, maximizing return on investment and extending useful system life.
Electromagnetic Interference Mitigation Strategies
Electromagnetic interference (EMI) presents a significant challenge for proximity sensors deployed in urban environments, where the density of electronic devices and wireless communications creates a complex electromagnetic landscape. To address this challenge, several mitigation strategies have been developed and implemented with varying degrees of success. Frequency domain techniques represent the first line of defense, employing adaptive frequency hopping to dynamically shift operating frequencies away from detected interference sources. This approach is complemented by spread spectrum technologies that distribute signal energy across a wide frequency range, reducing vulnerability to narrowband interference.
Signal processing algorithms form another critical component of EMI mitigation. Advanced filtering techniques, including Kalman filters and wavelet transforms, effectively separate desired signals from noise by exploiting their different statistical properties. Machine learning approaches have demonstrated particular promise in this area, with neural networks trained to recognize and compensate for specific interference patterns showing up to 40% improvement in signal discrimination compared to traditional methods.
Hardware-based solutions provide fundamental protection at the physical level. Proper shielding using materials like mu-metal or copper mesh can attenuate external electromagnetic fields by 30-60 dB, while careful circuit design incorporating differential signaling reduces common-mode noise. Ground plane optimization and strategic component placement further minimize unwanted coupling between signal paths.
Temporal mitigation strategies leverage timing differences between desired signals and interference. Time-division multiplexing allows sensors to operate during periods of lower electromagnetic activity, while synchronization protocols coordinate sensor operations to prevent mutual interference in dense deployments. Pulse timing analysis techniques can distinguish legitimate sensor signals from spurious emissions based on their temporal characteristics.
Collaborative sensing represents an emerging approach that utilizes data from multiple sensors to improve overall system reliability. By cross-validating readings across a network of sensors, anomalous signals resulting from EMI can be identified and discounted. This distributed intelligence paradigm enables robust operation even when individual sensors experience severe interference, with field tests showing up to 85% reduction in false positives in challenging urban environments.
Regulatory compliance and standards adherence provide a framework for EMI management. The IEC 61000 series and IEEE standards establish testing methodologies and performance requirements that ensure compatibility between electronic systems. Adhering to these standards not only improves sensor reliability but also facilitates integration with existing urban infrastructure.
Signal processing algorithms form another critical component of EMI mitigation. Advanced filtering techniques, including Kalman filters and wavelet transforms, effectively separate desired signals from noise by exploiting their different statistical properties. Machine learning approaches have demonstrated particular promise in this area, with neural networks trained to recognize and compensate for specific interference patterns showing up to 40% improvement in signal discrimination compared to traditional methods.
Hardware-based solutions provide fundamental protection at the physical level. Proper shielding using materials like mu-metal or copper mesh can attenuate external electromagnetic fields by 30-60 dB, while careful circuit design incorporating differential signaling reduces common-mode noise. Ground plane optimization and strategic component placement further minimize unwanted coupling between signal paths.
Temporal mitigation strategies leverage timing differences between desired signals and interference. Time-division multiplexing allows sensors to operate during periods of lower electromagnetic activity, while synchronization protocols coordinate sensor operations to prevent mutual interference in dense deployments. Pulse timing analysis techniques can distinguish legitimate sensor signals from spurious emissions based on their temporal characteristics.
Collaborative sensing represents an emerging approach that utilizes data from multiple sensors to improve overall system reliability. By cross-validating readings across a network of sensors, anomalous signals resulting from EMI can be identified and discounted. This distributed intelligence paradigm enables robust operation even when individual sensors experience severe interference, with field tests showing up to 85% reduction in false positives in challenging urban environments.
Regulatory compliance and standards adherence provide a framework for EMI management. The IEC 61000 series and IEEE standards establish testing methodologies and performance requirements that ensure compatibility between electronic systems. Adhering to these standards not only improves sensor reliability but also facilitates integration with existing urban infrastructure.
Unlock deeper insights with Patsnap Eureka Quick Research — get a full tech report to explore trends and direct your research. Try now!
Generate Your Research Report Instantly with AI Agent
Supercharge your innovation with Patsnap Eureka AI Agent Platform!






