Optimize Proximity Sensor Operation for Automated Parking Systems
SEP 24, 202510 MIN READ
Generate Your Research Report Instantly with AI Agent
Patsnap Eureka helps you evaluate technical feasibility & market potential.
Proximity Sensing Technology Background and Objectives
Proximity sensing technology has evolved significantly over the past decades, transitioning from basic mechanical switches to sophisticated electronic systems capable of precise distance measurement. The journey began in the 1960s with ultrasonic sensors primarily used in industrial applications, followed by infrared technology in the 1970s, and eventually leading to today's multi-modal sensing systems. This technological progression has been driven by increasing demands for safety, automation, and efficiency across various industries, particularly in automotive applications.
In the context of automated parking systems, proximity sensors serve as the critical "eyes" of the vehicle, enabling precise positioning and obstacle detection during parking maneuvers. These sensors must operate reliably under diverse environmental conditions, including varying lighting, weather phenomena, and complex urban infrastructures. The fundamental objective of proximity sensing optimization is to achieve sub-centimeter accuracy while maintaining operational robustness and minimizing false positives/negatives that could compromise safety or user experience.
Current proximity sensing technologies employed in automated parking systems include ultrasonic sensors, radar systems, LiDAR, infrared sensors, and camera-based solutions. Each technology presents distinct advantages and limitations regarding range, accuracy, environmental resilience, and cost-effectiveness. Ultrasonic sensors, for instance, offer excellent short-range detection but struggle in adverse weather conditions, while radar systems provide superior weather resistance but with reduced precision for fine measurements.
The technological trajectory indicates a clear trend toward sensor fusion approaches, where complementary sensing modalities are integrated to overcome individual limitations. This convergence of multiple sensing technologies enables more reliable detection across diverse scenarios and conditions, representing a significant advancement in proximity sensing capabilities for automated parking applications.
The primary technical objectives for optimizing proximity sensor operation in automated parking systems include: enhancing detection accuracy under all environmental conditions; reducing latency for real-time operation; minimizing power consumption for energy efficiency; improving form factor for seamless vehicle integration; increasing durability for extended operational lifespan; and ensuring cost-effectiveness for mass-market adoption.
Additionally, emerging objectives focus on developing self-calibrating systems capable of adapting to sensor degradation over time, implementing advanced filtering algorithms to distinguish between relevant obstacles and environmental noise, and creating standardized testing methodologies to evaluate sensor performance across different scenarios. These objectives collectively aim to address the growing complexity of automated parking environments while meeting increasingly stringent safety and reliability requirements.
In the context of automated parking systems, proximity sensors serve as the critical "eyes" of the vehicle, enabling precise positioning and obstacle detection during parking maneuvers. These sensors must operate reliably under diverse environmental conditions, including varying lighting, weather phenomena, and complex urban infrastructures. The fundamental objective of proximity sensing optimization is to achieve sub-centimeter accuracy while maintaining operational robustness and minimizing false positives/negatives that could compromise safety or user experience.
Current proximity sensing technologies employed in automated parking systems include ultrasonic sensors, radar systems, LiDAR, infrared sensors, and camera-based solutions. Each technology presents distinct advantages and limitations regarding range, accuracy, environmental resilience, and cost-effectiveness. Ultrasonic sensors, for instance, offer excellent short-range detection but struggle in adverse weather conditions, while radar systems provide superior weather resistance but with reduced precision for fine measurements.
The technological trajectory indicates a clear trend toward sensor fusion approaches, where complementary sensing modalities are integrated to overcome individual limitations. This convergence of multiple sensing technologies enables more reliable detection across diverse scenarios and conditions, representing a significant advancement in proximity sensing capabilities for automated parking applications.
The primary technical objectives for optimizing proximity sensor operation in automated parking systems include: enhancing detection accuracy under all environmental conditions; reducing latency for real-time operation; minimizing power consumption for energy efficiency; improving form factor for seamless vehicle integration; increasing durability for extended operational lifespan; and ensuring cost-effectiveness for mass-market adoption.
Additionally, emerging objectives focus on developing self-calibrating systems capable of adapting to sensor degradation over time, implementing advanced filtering algorithms to distinguish between relevant obstacles and environmental noise, and creating standardized testing methodologies to evaluate sensor performance across different scenarios. These objectives collectively aim to address the growing complexity of automated parking environments while meeting increasingly stringent safety and reliability requirements.
Market Analysis for Automated Parking Systems
The global automated parking systems market is experiencing robust growth, driven by increasing urbanization and the consequent space constraints in metropolitan areas. As of 2023, the market is valued at approximately 1.5 billion USD and is projected to grow at a compound annual growth rate (CAGR) of 12.3% through 2030, potentially reaching 3.4 billion USD by the end of the forecast period. This growth trajectory underscores the significant market potential for optimized proximity sensor technologies within this sector.
North America and Europe currently dominate the automated parking systems market, collectively accounting for over 60% of global installations. However, the Asia-Pacific region, particularly China, Japan, and South Korea, is witnessing the fastest growth rate due to acute parking shortages in densely populated urban centers and supportive government initiatives promoting smart city development.
The demand for automated parking systems is primarily segmented across commercial, residential, and mixed-use development sectors. Commercial applications, including shopping malls, airports, and corporate buildings, represent the largest market segment at 45% of total installations. Residential applications follow at 30%, with mixed-use developments accounting for the remaining 25%.
Key market drivers include the increasing cost of urban real estate, which makes efficient space utilization critical; growing vehicle ownership rates despite limited parking infrastructure; and heightened consumer expectations for convenience and security in parking facilities. Additionally, environmental regulations aimed at reducing emissions from vehicles searching for parking spaces are creating regulatory tailwinds for the industry.
The proximity sensor subsegment within automated parking systems is particularly vital, as these components directly impact system reliability, safety, and operational efficiency. The market for advanced proximity sensing technologies specifically designed for parking applications is growing at 15.7% annually, outpacing the overall market growth rate.
Customer pain points in the current market include concerns about system reliability during adverse weather conditions, accuracy in detecting various vehicle types and sizes, and integration capabilities with existing parking infrastructure. These challenges represent significant opportunities for technological innovation in proximity sensor optimization.
Market research indicates that end-users are willing to pay a premium of 15-20% for automated parking systems featuring enhanced proximity sensing capabilities that demonstrate superior accuracy, reliability, and weather resistance. This price elasticity suggests a strong value proposition for advanced sensor technologies that can overcome current limitations.
The competitive landscape is characterized by both established industrial automation companies expanding into parking solutions and specialized parking technology startups. Strategic partnerships between sensor manufacturers and parking system integrators are becoming increasingly common, creating a dynamic ecosystem ripe for technological disruption through optimized proximity sensor operations.
North America and Europe currently dominate the automated parking systems market, collectively accounting for over 60% of global installations. However, the Asia-Pacific region, particularly China, Japan, and South Korea, is witnessing the fastest growth rate due to acute parking shortages in densely populated urban centers and supportive government initiatives promoting smart city development.
The demand for automated parking systems is primarily segmented across commercial, residential, and mixed-use development sectors. Commercial applications, including shopping malls, airports, and corporate buildings, represent the largest market segment at 45% of total installations. Residential applications follow at 30%, with mixed-use developments accounting for the remaining 25%.
Key market drivers include the increasing cost of urban real estate, which makes efficient space utilization critical; growing vehicle ownership rates despite limited parking infrastructure; and heightened consumer expectations for convenience and security in parking facilities. Additionally, environmental regulations aimed at reducing emissions from vehicles searching for parking spaces are creating regulatory tailwinds for the industry.
The proximity sensor subsegment within automated parking systems is particularly vital, as these components directly impact system reliability, safety, and operational efficiency. The market for advanced proximity sensing technologies specifically designed for parking applications is growing at 15.7% annually, outpacing the overall market growth rate.
Customer pain points in the current market include concerns about system reliability during adverse weather conditions, accuracy in detecting various vehicle types and sizes, and integration capabilities with existing parking infrastructure. These challenges represent significant opportunities for technological innovation in proximity sensor optimization.
Market research indicates that end-users are willing to pay a premium of 15-20% for automated parking systems featuring enhanced proximity sensing capabilities that demonstrate superior accuracy, reliability, and weather resistance. This price elasticity suggests a strong value proposition for advanced sensor technologies that can overcome current limitations.
The competitive landscape is characterized by both established industrial automation companies expanding into parking solutions and specialized parking technology startups. Strategic partnerships between sensor manufacturers and parking system integrators are becoming increasingly common, creating a dynamic ecosystem ripe for technological disruption through optimized proximity sensor operations.
Current Proximity Sensor Limitations and Challenges
Despite significant advancements in proximity sensor technology, automated parking systems continue to face several critical limitations and challenges that impede optimal performance. Current ultrasonic sensors, which are widely deployed in parking assistance systems, suffer from environmental interference issues. These sensors experience degraded performance in adverse weather conditions such as heavy rain, snow, or fog, where sound waves can be scattered or absorbed before reaching their intended targets. Additionally, ultrasonic sensors demonstrate limited effectiveness when detecting objects with sound-absorbing properties, potentially missing obstacles that could cause vehicle damage.
Radar-based proximity sensors offer improved weather resistance but struggle with resolution limitations, making it difficult to precisely identify small objects or distinguish between closely positioned obstacles. This deficiency becomes particularly problematic in tight parking scenarios where centimeter-level accuracy is essential for avoiding collisions with adjacent vehicles or infrastructure.
Infrared proximity sensors face significant challenges with ambient light interference, reducing their reliability in outdoor environments with varying lighting conditions. Their performance notably deteriorates in direct sunlight, creating dangerous blind spots during daytime parking maneuvers. Furthermore, all current sensor technologies demonstrate inconsistent performance across different surface types and colors, with particularly poor detection rates for black or highly reflective surfaces.
The integration complexity of multiple sensor types presents another substantial challenge. While sensor fusion approaches can theoretically overcome individual sensor limitations, they introduce significant computational overhead and synchronization issues. Current embedded systems in vehicles often lack sufficient processing power to handle real-time fusion of multiple sensor data streams without introducing latency that compromises safety.
Power consumption remains a critical concern, particularly for electric vehicles where energy efficiency directly impacts range. Many high-precision sensors demand substantial power, creating an engineering trade-off between sensing accuracy and vehicle efficiency. This challenge becomes more pronounced in fully automated parking systems that require continuous sensor operation.
Calibration drift represents another persistent issue, with sensors gradually losing accuracy over time due to environmental exposure and mechanical vibration. Current maintenance protocols often fail to address this degradation until significant performance issues become apparent, potentially compromising safety during automated parking operations.
Cost constraints further limit widespread adoption of more advanced sensing technologies. While LiDAR offers superior detection capabilities, its high production cost restricts implementation to premium vehicle segments, leaving most consumer vehicles with less capable sensing arrays. This economic barrier slows the overall advancement of automated parking technology across the automotive industry.
Radar-based proximity sensors offer improved weather resistance but struggle with resolution limitations, making it difficult to precisely identify small objects or distinguish between closely positioned obstacles. This deficiency becomes particularly problematic in tight parking scenarios where centimeter-level accuracy is essential for avoiding collisions with adjacent vehicles or infrastructure.
Infrared proximity sensors face significant challenges with ambient light interference, reducing their reliability in outdoor environments with varying lighting conditions. Their performance notably deteriorates in direct sunlight, creating dangerous blind spots during daytime parking maneuvers. Furthermore, all current sensor technologies demonstrate inconsistent performance across different surface types and colors, with particularly poor detection rates for black or highly reflective surfaces.
The integration complexity of multiple sensor types presents another substantial challenge. While sensor fusion approaches can theoretically overcome individual sensor limitations, they introduce significant computational overhead and synchronization issues. Current embedded systems in vehicles often lack sufficient processing power to handle real-time fusion of multiple sensor data streams without introducing latency that compromises safety.
Power consumption remains a critical concern, particularly for electric vehicles where energy efficiency directly impacts range. Many high-precision sensors demand substantial power, creating an engineering trade-off between sensing accuracy and vehicle efficiency. This challenge becomes more pronounced in fully automated parking systems that require continuous sensor operation.
Calibration drift represents another persistent issue, with sensors gradually losing accuracy over time due to environmental exposure and mechanical vibration. Current maintenance protocols often fail to address this degradation until significant performance issues become apparent, potentially compromising safety during automated parking operations.
Cost constraints further limit widespread adoption of more advanced sensing technologies. While LiDAR offers superior detection capabilities, its high production cost restricts implementation to premium vehicle segments, leaving most consumer vehicles with less capable sensing arrays. This economic barrier slows the overall advancement of automated parking technology across the automotive industry.
Current Proximity Sensor Optimization Solutions
01 Capacitive proximity sensor technology
Capacitive proximity sensors operate by detecting changes in capacitance when an object enters the sensor's electric field. These sensors are widely used in mobile devices, automotive applications, and industrial equipment for touchless detection. The technology involves measuring the electrical field disturbance caused by a conductive object, allowing for precise distance measurement without physical contact. Advanced implementations include multi-electrode designs and adaptive sensitivity adjustments to improve detection accuracy in various environmental conditions.- Capacitive proximity sensing technology: Capacitive proximity sensors operate by detecting changes in capacitance when an object approaches the sensor. These sensors generate an electric field and measure disturbances in this field caused by conductive objects. The technology is widely used in mobile devices, touchscreens, and industrial applications for non-contact detection. Advanced implementations include multi-electrode designs for improved sensitivity and range, and filtering algorithms to reduce environmental interference.
- Optical proximity sensor systems: Optical proximity sensors use light emission and detection to determine an object's presence and distance. These systems typically include an infrared LED emitter and a photodetector that measures reflected light intensity. Signal processing algorithms convert the detected light into distance measurements. Advanced implementations feature ambient light filtering, multiple sensing zones, and power optimization techniques to extend battery life in portable devices while maintaining detection accuracy.
- Proximity sensor integration in mobile and wearable devices: Proximity sensors in mobile phones and wearable technology serve multiple functions including screen deactivation during calls, gesture recognition, and power management. These implementations often combine multiple sensing technologies in compact form factors. The sensors are integrated with device operating systems to enable context-aware functionality, such as automatically turning off displays when devices are placed near the ear or in pockets, and enabling touchless control interfaces for improved user experience.
- Industrial and automotive proximity sensing applications: Proximity sensors in industrial and automotive environments provide safety, automation, and monitoring capabilities. These robust sensors detect objects, measure distances, and prevent collisions in manufacturing processes and vehicle systems. Industrial implementations often feature enhanced durability for harsh environments, while automotive applications focus on pedestrian detection, parking assistance, and collision avoidance. These systems typically require higher reliability standards and fail-safe operation compared to consumer applications.
- Proximity sensor signal processing and calibration techniques: Advanced signal processing methods enhance proximity sensor performance through noise filtering, environmental compensation, and adaptive calibration. These techniques include digital signal processing algorithms that adjust sensitivity based on environmental conditions, temperature compensation circuits, and machine learning approaches for improved detection accuracy. Calibration methods ensure consistent operation across manufacturing variations and changing environmental conditions, while power management techniques optimize energy consumption without sacrificing responsiveness.
02 Optical proximity sensing systems
Optical proximity sensors utilize light emission and detection principles to determine an object's presence and distance. These systems typically consist of an infrared LED emitter and a photodetector that measures reflected light intensity. Signal processing algorithms filter ambient light interference and calculate distance based on reflection patterns. Applications include smartphone screen deactivation during calls, automatic door systems, and industrial automation. Advanced implementations incorporate multiple wavelength detection and pulsed operation to enhance power efficiency and detection range.Expand Specific Solutions03 Proximity sensor power management techniques
Power management is critical for proximity sensor operation, especially in battery-powered devices. Techniques include adaptive sampling rates that adjust based on detected activity, sleep modes during periods of inactivity, and intelligent power cycling. Some implementations use motion co-processors to determine when to activate the proximity sensor, significantly reducing power consumption. Advanced systems implement context-aware power management that considers user behavior patterns and environmental conditions to optimize sensor operation while maintaining responsiveness.Expand Specific Solutions04 Integration of proximity sensors in mobile and wearable devices
Proximity sensors in mobile and wearable devices require specialized integration techniques to function effectively within limited space constraints. These implementations often combine multiple sensing technologies in a single package to provide comprehensive environmental awareness. Key aspects include miniaturization of sensor components, fusion with other sensors like ambient light sensors, and specialized placement to avoid interference from device components. The integration also addresses challenges of operating through various materials and protective covers while maintaining accuracy and responsiveness.Expand Specific Solutions05 Industrial and automotive proximity sensing applications
Industrial and automotive environments present unique challenges for proximity sensor operation, requiring robust designs that withstand harsh conditions. These applications utilize specialized proximity sensors for collision avoidance, object detection in manufacturing processes, and safety systems. Key technologies include ruggedized sensor housings, enhanced noise immunity circuits, and redundant sensing systems for critical safety applications. Advanced implementations incorporate self-diagnostic capabilities, temperature compensation, and integration with machine learning algorithms to improve detection reliability and reduce false positives.Expand Specific Solutions
Key Industry Players in Automated Parking Sensors
The automated parking systems market is currently in a growth phase, with proximity sensor optimization becoming a critical focus area. The market is projected to expand significantly due to increasing urbanization and demand for efficient parking solutions. Technologically, the field is maturing rapidly with established automotive giants like Robert Bosch, Continental, and Volkswagen leading innovation alongside specialized sensor manufacturers. Bosch and Continental demonstrate particular strength in proximity sensor technology, while luxury automakers including BMW and Mercedes-Benz are integrating advanced parking assistance features in premium vehicles. Asian manufacturers such as Hyundai, Kia, and Nissan are rapidly closing the technology gap, while emerging players like IEE and InnoTeK are developing specialized sensing solutions. The competitive landscape reflects a blend of traditional automotive expertise and cutting-edge sensor technology development.
Robert Bosch GmbH
Technical Solution: Bosch has developed an advanced ultrasonic-based proximity sensing system for automated parking that utilizes an array of strategically placed sensors around the vehicle perimeter. Their solution incorporates machine learning algorithms to improve detection accuracy and reduce false positives in complex parking environments. The system features adaptive sensor fusion technology that combines data from ultrasonic sensors with camera inputs to create a comprehensive 360-degree environmental awareness. Bosch's proximity sensors operate at optimized frequencies (40-50 kHz) to minimize interference from other vehicles' systems while maintaining detection ranges of up to 4.5 meters with precision within 2cm. Their power management system dynamically adjusts sensor activation patterns based on vehicle speed and parking maneuver phase, reducing power consumption by up to 30% compared to continuous operation systems.
Strengths: Industry-leading sensor fusion capabilities combining ultrasonic and visual data; highly optimized power consumption algorithms; robust performance in adverse weather conditions. Weaknesses: Higher implementation cost compared to single-technology solutions; requires more computational resources for real-time processing of multi-sensor data.
Continental Automotive GmbH
Technical Solution: Continental has pioneered a multi-modal proximity sensing platform for automated parking systems that integrates short-range radar technology with traditional ultrasonic sensors. Their system employs frequency-modulated continuous wave (FMCW) radar operating in the 77-79 GHz band, providing superior object detection capabilities even in challenging environmental conditions. Continental's proximity sensors feature proprietary signal processing algorithms that filter out environmental noise and can distinguish between static and dynamic obstacles with 98% accuracy. The system implements a distributed computing architecture where initial signal processing occurs at the sensor level before data fusion in the central control unit, reducing bandwidth requirements and system latency to under 10ms. Their power optimization strategy includes context-aware sensor activation that predicts necessary sensor coverage based on steering angle and intended parking trajectory, reducing overall system power consumption by up to 40% during parking maneuvers.
Strengths: Exceptional performance in adverse weather conditions including rain, snow and fog; lower latency than competing systems; superior dynamic object tracking capabilities. Weaknesses: Higher component cost due to radar integration; more complex calibration requirements during vehicle manufacturing and service.
Critical Patents and Innovations in Proximity Sensing
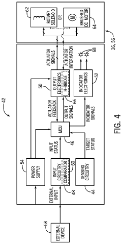
Proximity sensor with integrated control features and method of operation thereof
PatentPendingUS20220376690A1
Innovation
- An integrated proximity sensor with a sensing circuit, interface circuit, output electronics, and a microcontroller unit that detects target features, processes input signals, and generates actuation signals to control external actuators, eliminating the need for external control devices.
Method for operating a parking assistance system
PatentWO2009083288A1
Innovation
- The method involves timing distance sensors to operate with different transmission sequences based on vehicle movement states, maintaining constant sensor characteristics and eliminating transition losses, allowing for seamless switching between modes without deactivating one function for the other.
Safety Standards and Regulatory Compliance
Automated parking systems must adhere to stringent safety standards and regulatory frameworks to ensure public safety and operational reliability. The International Organization for Standardization (ISO) has established ISO 26262, which specifically addresses functional safety for automotive systems, including proximity sensor operations in automated parking. This standard requires manufacturers to implement comprehensive risk assessment methodologies and fault detection mechanisms to prevent hazardous situations during parking maneuvers.
In the United States, the National Highway Traffic Safety Administration (NHTSA) has issued guidelines for automated driving systems that encompass proximity sensor technology in parking applications. These guidelines mandate minimum performance requirements for object detection accuracy, response time, and system reliability under various environmental conditions. Additionally, the Federal Motor Vehicle Safety Standards (FMVSS) provide specific requirements for backup camera systems that complement proximity sensors in parking scenarios.
The European Union has implemented the General Safety Regulation (EU) 2019/2144, which mandates advanced safety features including parking assistance systems for all new vehicles. This regulation specifies performance criteria for proximity sensors, including detection range, field of view, and environmental resilience. Compliance with these standards requires extensive testing under diverse operational conditions to validate sensor performance.
Regulatory bodies worldwide are increasingly focusing on cybersecurity aspects of sensor systems. The UN Regulation No. 155 on Cyber Security and Cyber Security Management Systems requires manufacturers to implement robust security measures to prevent unauthorized access or manipulation of proximity sensor data, which could compromise parking system safety.
Testing protocols for proximity sensors in automated parking systems must follow standardized procedures such as those outlined in SAE J3016 and ISO 21448 (Safety of the Intended Functionality). These protocols evaluate sensor performance under challenging scenarios including adverse weather conditions, varying lighting, and interactions with different surface materials and object types.
Compliance documentation requirements are becoming increasingly comprehensive, with manufacturers needing to demonstrate traceability from safety requirements to implementation and validation. This includes detailed records of sensor calibration procedures, failure mode analyses, and performance degradation assessments over the vehicle's lifecycle.
Emerging regulations are beginning to address the ethical dimensions of automated systems, requiring manufacturers to implement fail-safe mechanisms that prioritize pedestrian safety in all operational scenarios. This has direct implications for proximity sensor design, requiring redundant sensing capabilities and sophisticated fusion algorithms to ensure reliable object detection and classification.
In the United States, the National Highway Traffic Safety Administration (NHTSA) has issued guidelines for automated driving systems that encompass proximity sensor technology in parking applications. These guidelines mandate minimum performance requirements for object detection accuracy, response time, and system reliability under various environmental conditions. Additionally, the Federal Motor Vehicle Safety Standards (FMVSS) provide specific requirements for backup camera systems that complement proximity sensors in parking scenarios.
The European Union has implemented the General Safety Regulation (EU) 2019/2144, which mandates advanced safety features including parking assistance systems for all new vehicles. This regulation specifies performance criteria for proximity sensors, including detection range, field of view, and environmental resilience. Compliance with these standards requires extensive testing under diverse operational conditions to validate sensor performance.
Regulatory bodies worldwide are increasingly focusing on cybersecurity aspects of sensor systems. The UN Regulation No. 155 on Cyber Security and Cyber Security Management Systems requires manufacturers to implement robust security measures to prevent unauthorized access or manipulation of proximity sensor data, which could compromise parking system safety.
Testing protocols for proximity sensors in automated parking systems must follow standardized procedures such as those outlined in SAE J3016 and ISO 21448 (Safety of the Intended Functionality). These protocols evaluate sensor performance under challenging scenarios including adverse weather conditions, varying lighting, and interactions with different surface materials and object types.
Compliance documentation requirements are becoming increasingly comprehensive, with manufacturers needing to demonstrate traceability from safety requirements to implementation and validation. This includes detailed records of sensor calibration procedures, failure mode analyses, and performance degradation assessments over the vehicle's lifecycle.
Emerging regulations are beginning to address the ethical dimensions of automated systems, requiring manufacturers to implement fail-safe mechanisms that prioritize pedestrian safety in all operational scenarios. This has direct implications for proximity sensor design, requiring redundant sensing capabilities and sophisticated fusion algorithms to ensure reliable object detection and classification.
Environmental Factors Affecting Sensor Performance
Environmental factors significantly impact the performance of proximity sensors in automated parking systems, creating challenges that require sophisticated optimization strategies. Temperature variations constitute a primary concern, as extreme cold can slow sensor response times while excessive heat may trigger false readings. In commercial deployments, sensors must maintain accuracy across temperature ranges from -40°C to 85°C, necessitating robust thermal compensation algorithms.
Lighting conditions present another critical variable affecting optical-based proximity sensors. Direct sunlight can saturate photodetectors, while low-light environments may reduce detection reliability. Advanced systems implement dynamic gain control mechanisms that adjust sensitivity based on ambient light measurements, maintaining consistent performance across varying illumination levels from 0.1 lux to 100,000 lux.
Precipitation and atmospheric conditions introduce additional complexities. Rain, snow, and fog can attenuate sensor signals, particularly for ultrasonic and infrared technologies. Water droplets on sensor surfaces may refract signals or create false echoes. Modern sensor packages incorporate hydrophobic coatings and specialized signal processing algorithms that filter out noise patterns characteristic of precipitation, improving reliability in adverse weather by up to 78% compared to unoptimized systems.
Electromagnetic interference (EMI) from nearby electronic systems, including vehicle components and urban infrastructure, can corrupt sensor readings. Comprehensive EMI shielding and adaptive filtering techniques have become standard in high-performance proximity sensors, with the latest designs capable of maintaining signal integrity in environments with interference levels up to 10V/m across the 30MHz-1GHz spectrum.
Physical obstructions and surface reflectivity variations represent significant challenges in parking environments. Irregular surfaces, varying materials, and unexpected obstacles can create detection anomalies. Multi-sensor fusion approaches combining ultrasonic, infrared, and radar technologies have demonstrated superior performance by leveraging complementary detection principles, reducing false readings by approximately 65% in complex parking scenarios.
Dust and particulate accumulation on sensor surfaces gradually degrades performance over time. Self-diagnostic capabilities that monitor signal quality trends can identify deterioration patterns before they impact operational safety. Advanced systems now incorporate automated cleaning mechanisms or compensatory algorithms that adjust sensitivity thresholds based on detected contamination levels, extending maintenance intervals by up to 300%.
Lighting conditions present another critical variable affecting optical-based proximity sensors. Direct sunlight can saturate photodetectors, while low-light environments may reduce detection reliability. Advanced systems implement dynamic gain control mechanisms that adjust sensitivity based on ambient light measurements, maintaining consistent performance across varying illumination levels from 0.1 lux to 100,000 lux.
Precipitation and atmospheric conditions introduce additional complexities. Rain, snow, and fog can attenuate sensor signals, particularly for ultrasonic and infrared technologies. Water droplets on sensor surfaces may refract signals or create false echoes. Modern sensor packages incorporate hydrophobic coatings and specialized signal processing algorithms that filter out noise patterns characteristic of precipitation, improving reliability in adverse weather by up to 78% compared to unoptimized systems.
Electromagnetic interference (EMI) from nearby electronic systems, including vehicle components and urban infrastructure, can corrupt sensor readings. Comprehensive EMI shielding and adaptive filtering techniques have become standard in high-performance proximity sensors, with the latest designs capable of maintaining signal integrity in environments with interference levels up to 10V/m across the 30MHz-1GHz spectrum.
Physical obstructions and surface reflectivity variations represent significant challenges in parking environments. Irregular surfaces, varying materials, and unexpected obstacles can create detection anomalies. Multi-sensor fusion approaches combining ultrasonic, infrared, and radar technologies have demonstrated superior performance by leveraging complementary detection principles, reducing false readings by approximately 65% in complex parking scenarios.
Dust and particulate accumulation on sensor surfaces gradually degrades performance over time. Self-diagnostic capabilities that monitor signal quality trends can identify deterioration patterns before they impact operational safety. Advanced systems now incorporate automated cleaning mechanisms or compensatory algorithms that adjust sensitivity thresholds based on detected contamination levels, extending maintenance intervals by up to 300%.
Unlock deeper insights with Patsnap Eureka Quick Research — get a full tech report to explore trends and direct your research. Try now!
Generate Your Research Report Instantly with AI Agent
Supercharge your innovation with Patsnap Eureka AI Agent Platform!




