Battery Certification And Traceability For Second-Life Markets
AUG 28, 20259 MIN READ
Generate Your Research Report Instantly with AI Agent
Patsnap Eureka helps you evaluate technical feasibility & market potential.
Battery Second-Life Technology Background and Objectives
The evolution of battery technology has witnessed significant advancements over the past decades, transforming from simple energy storage devices to sophisticated systems integrated with digital capabilities. As electric vehicles (EVs) gain market share globally, the volume of lithium-ion batteries reaching their end-of-first-life is projected to increase exponentially, creating both environmental challenges and economic opportunities. The concept of battery second-life emerged as a sustainable solution to extend battery utility beyond their initial application, primarily in EVs where batteries are typically replaced when capacity falls below 70-80% of original specifications.
The technical trajectory of battery development has been characterized by improvements in energy density, charging efficiency, and lifespan, with recent innovations focusing on smart battery management systems that collect operational data throughout the battery lifecycle. This evolution sets the foundation for second-life applications, where batteries retired from EVs can serve in less demanding stationary storage applications such as grid support, renewable energy integration, and backup power systems.
Current technical objectives in the second-life battery market center around establishing standardized certification protocols and robust traceability systems. These systems aim to authenticate battery provenance, verify remaining capacity, and document usage history to enable confident valuation and deployment in secondary applications. The development of non-invasive diagnostic tools for accurate state-of-health assessment represents a critical technical goal, as traditional methods often require disassembly or extensive testing periods.
The integration of blockchain and distributed ledger technologies presents promising avenues for creating immutable records of battery lifecycle data, enhancing transparency in the second-life marketplace. Additionally, the standardization of battery passport systems across manufacturers would facilitate seamless information transfer throughout the battery value chain, from production to recycling.
Research objectives also include developing adaptive battery management systems capable of optimizing performance based on historical usage patterns and current application requirements. These systems would ideally incorporate predictive analytics to forecast remaining useful life in various second-life scenarios, thereby reducing investment risk for secondary market participants.
The ultimate technical goal remains establishing a circular economy for battery technologies, where certification and traceability systems enable efficient market mechanisms for repurposing, remanufacturing, and eventually recycling battery components. This approach aligns with global sustainability initiatives while addressing the growing demand for energy storage solutions in renewable energy transitions.
The technical trajectory of battery development has been characterized by improvements in energy density, charging efficiency, and lifespan, with recent innovations focusing on smart battery management systems that collect operational data throughout the battery lifecycle. This evolution sets the foundation for second-life applications, where batteries retired from EVs can serve in less demanding stationary storage applications such as grid support, renewable energy integration, and backup power systems.
Current technical objectives in the second-life battery market center around establishing standardized certification protocols and robust traceability systems. These systems aim to authenticate battery provenance, verify remaining capacity, and document usage history to enable confident valuation and deployment in secondary applications. The development of non-invasive diagnostic tools for accurate state-of-health assessment represents a critical technical goal, as traditional methods often require disassembly or extensive testing periods.
The integration of blockchain and distributed ledger technologies presents promising avenues for creating immutable records of battery lifecycle data, enhancing transparency in the second-life marketplace. Additionally, the standardization of battery passport systems across manufacturers would facilitate seamless information transfer throughout the battery value chain, from production to recycling.
Research objectives also include developing adaptive battery management systems capable of optimizing performance based on historical usage patterns and current application requirements. These systems would ideally incorporate predictive analytics to forecast remaining useful life in various second-life scenarios, thereby reducing investment risk for secondary market participants.
The ultimate technical goal remains establishing a circular economy for battery technologies, where certification and traceability systems enable efficient market mechanisms for repurposing, remanufacturing, and eventually recycling battery components. This approach aligns with global sustainability initiatives while addressing the growing demand for energy storage solutions in renewable energy transitions.
Market Analysis for Second-Life Battery Applications
The second-life battery market is experiencing unprecedented growth, driven by the rapid expansion of electric vehicle (EV) adoption worldwide. As the first generation of EV batteries reaches end-of-life status, a significant supply of used batteries with 70-80% remaining capacity is becoming available for repurposing. Current market projections indicate the second-life battery market could reach $4.2 billion by 2025, with a compound annual growth rate of 23.1% through 2030.
Energy storage represents the largest application segment, accounting for approximately 43% of the second-life battery market. Utility-scale storage projects are increasingly incorporating repurposed EV batteries to provide grid stabilization services, peak shaving capabilities, and renewable energy integration. The commercial and industrial sector follows closely, utilizing these batteries for backup power, demand charge reduction, and energy cost optimization.
Residential energy storage applications are gaining traction, particularly in regions with high electricity costs or unreliable grid infrastructure. These systems typically utilize smaller battery packs from hybrid vehicles or modular configurations of larger EV batteries. The telecommunications industry has also emerged as a significant consumer, deploying second-life batteries for cell tower backup power systems in both developed and developing markets.
Geographically, Asia Pacific dominates the market with China, Japan, and South Korea leading in both supply and demand. Europe follows with strong growth in countries like Germany, France, and the Netherlands, supported by favorable regulatory frameworks and circular economy initiatives. North America shows promising growth potential, particularly in California and other states with advanced energy storage incentives.
Market barriers include inconsistent battery quality, lack of standardized testing protocols, and regulatory uncertainty regarding end-of-life battery responsibility. The absence of transparent certification systems creates information asymmetry between sellers and buyers, limiting market efficiency and price discovery. Additionally, competition from increasingly affordable new batteries poses a significant challenge as manufacturing scales and technology improves.
Consumer concerns regarding safety, reliability, and performance guarantees represent another market constraint. Without robust certification and traceability systems, buyers face difficulties assessing battery health, remaining useful life, and safety compliance. This uncertainty translates into risk premiums that compress margins for second-life battery providers and integrators.
Despite these challenges, the market shows strong fundamentals with increasing demand from multiple sectors and growing environmental and economic incentives for battery reuse. The development of standardized certification protocols and transparent traceability systems could unlock significant additional market value by reducing transaction costs and building consumer confidence.
Energy storage represents the largest application segment, accounting for approximately 43% of the second-life battery market. Utility-scale storage projects are increasingly incorporating repurposed EV batteries to provide grid stabilization services, peak shaving capabilities, and renewable energy integration. The commercial and industrial sector follows closely, utilizing these batteries for backup power, demand charge reduction, and energy cost optimization.
Residential energy storage applications are gaining traction, particularly in regions with high electricity costs or unreliable grid infrastructure. These systems typically utilize smaller battery packs from hybrid vehicles or modular configurations of larger EV batteries. The telecommunications industry has also emerged as a significant consumer, deploying second-life batteries for cell tower backup power systems in both developed and developing markets.
Geographically, Asia Pacific dominates the market with China, Japan, and South Korea leading in both supply and demand. Europe follows with strong growth in countries like Germany, France, and the Netherlands, supported by favorable regulatory frameworks and circular economy initiatives. North America shows promising growth potential, particularly in California and other states with advanced energy storage incentives.
Market barriers include inconsistent battery quality, lack of standardized testing protocols, and regulatory uncertainty regarding end-of-life battery responsibility. The absence of transparent certification systems creates information asymmetry between sellers and buyers, limiting market efficiency and price discovery. Additionally, competition from increasingly affordable new batteries poses a significant challenge as manufacturing scales and technology improves.
Consumer concerns regarding safety, reliability, and performance guarantees represent another market constraint. Without robust certification and traceability systems, buyers face difficulties assessing battery health, remaining useful life, and safety compliance. This uncertainty translates into risk premiums that compress margins for second-life battery providers and integrators.
Despite these challenges, the market shows strong fundamentals with increasing demand from multiple sectors and growing environmental and economic incentives for battery reuse. The development of standardized certification protocols and transparent traceability systems could unlock significant additional market value by reducing transaction costs and building consumer confidence.
Current Certification Challenges and Technical Barriers
The certification of second-life batteries faces significant challenges due to the absence of standardized testing protocols specifically designed for used batteries. Current certification frameworks were primarily developed for new batteries and fail to address the unique characteristics and degradation patterns of batteries that have completed their first life cycle. This gap creates uncertainty regarding the actual performance, safety, and remaining useful life of repurposed batteries, hindering market confidence and adoption.
Technical barriers in battery assessment present another major obstacle. The internal chemistry and structural changes that occur during a battery's first life are complex and often difficult to evaluate without invasive testing. Non-destructive evaluation techniques remain limited in their ability to accurately determine the state of health, capacity degradation rates, and potential failure modes of used batteries. This technical limitation makes it challenging to provide reliable performance guarantees for second-life applications.
Data accessibility represents a critical challenge in the certification process. Many original equipment manufacturers (OEMs) treat battery usage data as proprietary information, restricting access to valuable historical performance metrics. Without comprehensive usage history—including charge-discharge cycles, temperature exposure, and peak power demands—certification bodies cannot accurately assess degradation patterns or predict future performance. This data gap significantly complicates the development of reliable certification methodologies.
Safety concerns further complicate certification efforts. Used batteries may develop internal defects that are not easily detectable through standard testing procedures. Thermal runaway risks, internal short circuits, and chemical degradation can manifest differently in aged cells compared to new ones. Current certification approaches lack robust methodologies to identify these latent safety issues, creating potential liability concerns for second-life market participants.
Regulatory fragmentation across different regions adds another layer of complexity. The absence of harmonized global standards for second-life battery certification creates market inefficiencies and increases compliance costs. Different jurisdictions maintain varying requirements for safety testing, performance thresholds, and environmental compliance, forcing market participants to navigate a complex regulatory landscape that impedes cross-border trade and market scaling.
Economic barriers also impact certification processes. The cost of comprehensive testing and certification can be prohibitively high relative to the market value of second-life batteries. This unfavorable cost-benefit ratio discourages investment in rigorous certification protocols and pushes market participants toward minimal compliance approaches that may not adequately address technical risks or performance uncertainties.
Technical barriers in battery assessment present another major obstacle. The internal chemistry and structural changes that occur during a battery's first life are complex and often difficult to evaluate without invasive testing. Non-destructive evaluation techniques remain limited in their ability to accurately determine the state of health, capacity degradation rates, and potential failure modes of used batteries. This technical limitation makes it challenging to provide reliable performance guarantees for second-life applications.
Data accessibility represents a critical challenge in the certification process. Many original equipment manufacturers (OEMs) treat battery usage data as proprietary information, restricting access to valuable historical performance metrics. Without comprehensive usage history—including charge-discharge cycles, temperature exposure, and peak power demands—certification bodies cannot accurately assess degradation patterns or predict future performance. This data gap significantly complicates the development of reliable certification methodologies.
Safety concerns further complicate certification efforts. Used batteries may develop internal defects that are not easily detectable through standard testing procedures. Thermal runaway risks, internal short circuits, and chemical degradation can manifest differently in aged cells compared to new ones. Current certification approaches lack robust methodologies to identify these latent safety issues, creating potential liability concerns for second-life market participants.
Regulatory fragmentation across different regions adds another layer of complexity. The absence of harmonized global standards for second-life battery certification creates market inefficiencies and increases compliance costs. Different jurisdictions maintain varying requirements for safety testing, performance thresholds, and environmental compliance, forcing market participants to navigate a complex regulatory landscape that impedes cross-border trade and market scaling.
Economic barriers also impact certification processes. The cost of comprehensive testing and certification can be prohibitively high relative to the market value of second-life batteries. This unfavorable cost-benefit ratio discourages investment in rigorous certification protocols and pushes market participants toward minimal compliance approaches that may not adequately address technical risks or performance uncertainties.
Existing Certification and Traceability Solutions
01 Battery authentication and certification systems
Systems for authenticating and certifying batteries to ensure their quality, safety, and compliance with industry standards. These systems typically involve verification processes that validate the authenticity of batteries before they enter the market or are used in devices. Authentication mechanisms may include digital signatures, cryptographic methods, and secure communication protocols to prevent counterfeit batteries from entering the supply chain.- Battery authentication and certification systems: Systems for authenticating and certifying batteries to ensure their quality, safety, and compliance with industry standards. These systems typically involve digital signatures, encryption methods, and secure protocols to verify the authenticity of battery products. Authentication mechanisms help prevent counterfeit batteries from entering the market and ensure that only certified batteries are used in devices, enhancing overall safety and performance.
- Blockchain-based battery traceability solutions: Implementation of blockchain technology for creating immutable records of battery lifecycle data. These solutions provide transparent and tamper-proof tracking of batteries from manufacturing through distribution, use, and recycling. Blockchain ensures data integrity and allows all stakeholders in the battery supply chain to access verified information about battery origin, components, performance history, and compliance with environmental regulations.
- IoT-enabled battery monitoring and traceability: Integration of Internet of Things (IoT) technology for real-time monitoring and traceability of batteries. These systems use sensors and connectivity solutions to continuously track battery performance, health, and location throughout their lifecycle. IoT-enabled monitoring provides valuable data for certification processes, quality control, predictive maintenance, and end-of-life management, enhancing overall battery management efficiency.
- Battery data management and certification platforms: Comprehensive platforms for managing battery data and certification processes. These systems collect, store, analyze, and share battery-related information across the supply chain, enabling efficient certification workflows and traceability. The platforms typically include features for documentation management, compliance verification, performance testing results, and certification status tracking, facilitating collaboration between manufacturers, regulators, and end-users.
- Battery identification and labeling systems: Systems for uniquely identifying and labeling batteries to enable effective traceability throughout their lifecycle. These solutions may include physical identifiers such as barcodes, QR codes, RFID tags, or digital identifiers embedded in battery management systems. Standardized identification and labeling facilitate automated tracking, verification of certification status, and management of battery recalls or end-of-life processes.
02 Blockchain-based battery traceability solutions
Implementation of blockchain technology for creating immutable records of battery lifecycle data. These solutions provide transparent and tamper-proof tracking of batteries from manufacturing through distribution, use, and recycling. Blockchain ensures data integrity and enables verification of battery origin, components, and handling history, which is particularly important for quality assurance, warranty management, and environmental compliance.Expand Specific Solutions03 Battery monitoring and data collection systems
Systems designed to continuously monitor battery performance parameters and collect relevant data throughout the battery lifecycle. These systems track metrics such as charge cycles, temperature, voltage, and capacity degradation. The collected data supports certification processes by providing evidence of battery condition and performance history, enabling better quality control and facilitating predictive maintenance.Expand Specific Solutions04 Digital identity and security protocols for batteries
Implementation of unique digital identifiers and security protocols for individual batteries or battery packs. These systems assign secure digital identities to batteries that cannot be tampered with or duplicated. The digital identity contains critical information about the battery's specifications, manufacturing details, and certification status, allowing for verification at any point in the supply chain and ensuring only certified batteries are used in critical applications.Expand Specific Solutions05 Integrated battery lifecycle management platforms
Comprehensive platforms that manage the entire battery lifecycle from production to disposal, integrating certification, traceability, and quality control functions. These platforms typically include modules for registration, tracking, verification, and reporting of battery data. They enable stakeholders across the supply chain to access relevant information about batteries, verify their certification status, and ensure regulatory compliance while optimizing battery utilization and end-of-life management.Expand Specific Solutions
Key Industry Players in Battery Recycling and Repurposing
The battery certification and traceability market for second-life applications is in its early growth phase, with increasing momentum as the EV battery ecosystem matures. Market size is expanding rapidly, driven by sustainability initiatives and circular economy principles, with projections suggesting significant growth as first-generation EV batteries reach end-of-life. Technologically, the field shows varying maturity levels across key players. Industry leaders like LG Energy Solution, Samsung SDI, CATL, and SK On are developing advanced battery passport solutions, while Toyota, Hyundai Mobis, and Panasonic are investing in proprietary traceability systems. Emerging specialists like BatteryCheck are creating dedicated certification platforms. The competitive landscape features both established battery manufacturers leveraging their production expertise and new entrants focusing on specialized diagnostic and certification technologies for second-life applications.
LG Energy Solution Ltd.
Technical Solution: LG Energy Solution has pioneered the Battery Passport initiative for second-life applications, creating a digital twin for each battery that contains manufacturing data, usage history, and performance metrics[2]. Their system employs proprietary Battery Degradation Analytics (BDA) technology that combines electrochemical modeling with machine learning to accurately assess battery health status and certification levels for various second-use applications. The solution features secure cloud-based storage with distributed ledger technology to maintain data integrity throughout the battery lifecycle[4]. LG's certification protocol includes standardized testing procedures that evaluate remaining capacity, power capability, and safety parameters according to application-specific requirements. The system provides automated valuation of used batteries based on their condition and potential second-life applications, facilitating transparent pricing in secondary markets[7].
Strengths: Comprehensive digital passport approach ensures complete traceability; sophisticated degradation models enable precise valuation; strong integration with global battery recycling networks. Weaknesses: Proprietary nature of some technologies may limit interoperability with other systems; requires significant infrastructure investment; higher implementation complexity compared to simpler solutions.
Samsung SDI Co., Ltd.
Technical Solution: Samsung SDI has developed the Battery Lifecycle Management Platform (BLMP) specifically designed for second-life certification and traceability. Their solution incorporates embedded sensors and diagnostic tools that continuously monitor battery health parameters throughout the first life cycle[3]. The platform utilizes a multi-layer authentication system that combines physical identifiers with digital certificates to prevent counterfeiting and ensure genuine battery verification. Samsung's approach includes standardized testing protocols aligned with international standards (IEC 62619, UL 1974) for second-life certification, evaluating safety, performance, and reliability metrics[6]. Their traceability system employs a hybrid architecture combining centralized database management with distributed ledger technology to balance data accessibility with security requirements. The platform provides automated matching between battery characteristics and potential second-life applications based on performance profiles and degradation patterns[8].
Strengths: Robust authentication system effectively prevents counterfeiting; comprehensive testing protocols aligned with international standards; sophisticated application matching algorithms optimize second-life value. Weaknesses: System complexity may create implementation challenges; higher costs associated with embedded sensor technology; potential interoperability issues with non-Samsung battery management systems.
Core Innovations in Battery Authentication Technologies
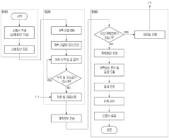
The certification process of the battery performance for secondhand electric motor vehicles and system thereof
PatentActiveKR1020210120452A
Innovation
- A process for authenticating the performance of used electric vehicle batteries through measurement information analysis, involving a user terminal, measurement terminal, and authentication terminal, to calculate a comprehensive grade and issue a certificate.
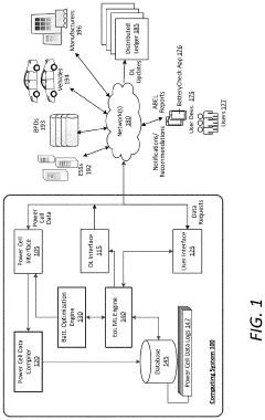
Power cell tracking and optimization system
PatentPendingUS20230242009A1
Innovation
- A power cell tracking and optimization system that monitors and analyzes battery data using a distributed ledger technology to determine approximate battery end-of-life (ABEL) and provide recommendations for maximizing battery life, enabling accurate second-life repurposing and reducing waste by optimizing battery usage and performance.
Regulatory Framework for Second-Life Battery Markets
The regulatory landscape for second-life battery markets is evolving rapidly as governments worldwide recognize the economic and environmental potential of battery reuse. The European Union leads with its Battery Directive and the more recent Battery Regulation proposal, which specifically addresses second-life applications by establishing requirements for battery health assessment, data reporting, and extended producer responsibility. These regulations mandate minimum performance criteria and standardized testing protocols to ensure safety and reliability.
In the United States, regulatory frameworks remain fragmented across federal and state levels. The Environmental Protection Agency (EPA) oversees waste management aspects, while the Department of Energy focuses on performance standards. California has pioneered state-level regulations with its Advanced Clean Cars II program, which includes provisions for battery second-life certification and minimum warranty requirements for repurposed batteries.
Asian markets present varying approaches, with China implementing its Interim Measures for the Management of Recycling and Utilization of Power Batteries for New Energy Vehicles, which includes traceability requirements through unique battery identification systems. Japan and South Korea have established voluntary industry standards that are gradually evolving into formal regulatory frameworks.
Key regulatory challenges include liability allocation throughout the battery value chain, particularly when batteries transition from automotive to stationary applications. Questions of who bears responsibility for potential failures—original manufacturers, refurbishers, or second-life application providers—remain contentious in most jurisdictions.
Data protection and ownership represent another significant regulatory hurdle. Battery management system data is crucial for assessing second-life potential, yet regulations governing who owns this data and how it can be accessed vary widely. The EU's General Data Protection Regulation (GDPR) adds complexity when battery data might be linked to individual user patterns.
Harmonization of standards across regions presents perhaps the greatest challenge to market development. The International Electrotechnical Commission (IEC) and IEEE are working to develop global standards for second-life battery assessment and certification, but adoption remains inconsistent. This regulatory fragmentation increases compliance costs and creates market uncertainty.
Emerging regulatory trends include blockchain-based compliance systems that enable transparent tracking of batteries throughout their lifecycle, and performance-based regulatory approaches that focus on outcomes rather than prescriptive requirements. These innovations may help bridge current regulatory gaps while supporting market growth.
In the United States, regulatory frameworks remain fragmented across federal and state levels. The Environmental Protection Agency (EPA) oversees waste management aspects, while the Department of Energy focuses on performance standards. California has pioneered state-level regulations with its Advanced Clean Cars II program, which includes provisions for battery second-life certification and minimum warranty requirements for repurposed batteries.
Asian markets present varying approaches, with China implementing its Interim Measures for the Management of Recycling and Utilization of Power Batteries for New Energy Vehicles, which includes traceability requirements through unique battery identification systems. Japan and South Korea have established voluntary industry standards that are gradually evolving into formal regulatory frameworks.
Key regulatory challenges include liability allocation throughout the battery value chain, particularly when batteries transition from automotive to stationary applications. Questions of who bears responsibility for potential failures—original manufacturers, refurbishers, or second-life application providers—remain contentious in most jurisdictions.
Data protection and ownership represent another significant regulatory hurdle. Battery management system data is crucial for assessing second-life potential, yet regulations governing who owns this data and how it can be accessed vary widely. The EU's General Data Protection Regulation (GDPR) adds complexity when battery data might be linked to individual user patterns.
Harmonization of standards across regions presents perhaps the greatest challenge to market development. The International Electrotechnical Commission (IEC) and IEEE are working to develop global standards for second-life battery assessment and certification, but adoption remains inconsistent. This regulatory fragmentation increases compliance costs and creates market uncertainty.
Emerging regulatory trends include blockchain-based compliance systems that enable transparent tracking of batteries throughout their lifecycle, and performance-based regulatory approaches that focus on outcomes rather than prescriptive requirements. These innovations may help bridge current regulatory gaps while supporting market growth.
Environmental Impact Assessment of Battery Reuse Systems
The environmental impact assessment of battery reuse systems in second-life markets reveals significant sustainability benefits compared to new battery production. Life cycle assessment (LCA) studies indicate that repurposing electric vehicle batteries can reduce carbon emissions by 30-70% compared to manufacturing new batteries for stationary storage applications. This reduction stems primarily from avoiding the energy-intensive processes of raw material extraction and battery cell production.
Water consumption metrics also demonstrate substantial conservation through battery reuse systems. The repurposing process requires approximately 85% less water than new battery manufacturing, with particularly notable savings in water-stressed regions where lithium extraction occurs. Additionally, land use impact is minimized as battery reuse reduces the need for expanded mining operations in ecologically sensitive areas.
Resource efficiency calculations show that effective battery reuse systems can extend the functional lifetime of lithium-ion batteries by 5-10 years beyond their automotive application, maximizing the utility derived from initially extracted materials. This extension represents a significant improvement in resource utilization efficiency, particularly for critical materials like cobalt, nickel, and lithium.
Waste reduction potential is equally compelling, with each metric ton of batteries diverted to second-life applications preventing approximately 0.8 metric tons of hazardous waste generation. The environmental benefits extend to reduced landfill pressure and decreased risk of toxic material leaching into ecosystems.
Energy return on investment (EROI) analyses demonstrate that battery reuse systems deliver 2.5-4 times more energy storage capacity per unit of embodied energy compared to new battery production. This favorable ratio improves the overall sustainability profile of energy storage solutions in renewable energy systems.
Regional impact variations exist based on electricity grid carbon intensity, transportation distances, and local recycling infrastructure. Battery reuse systems show the greatest environmental benefits in regions with carbon-intensive electricity generation, where the avoided impacts of new battery manufacturing are most significant.
Certification systems that verify environmental performance metrics will be essential for quantifying and communicating these benefits to stakeholders. Standardized methodologies for calculating avoided emissions and resource savings will strengthen market confidence in second-life battery environmental claims and support the development of sustainable battery value chains.
Water consumption metrics also demonstrate substantial conservation through battery reuse systems. The repurposing process requires approximately 85% less water than new battery manufacturing, with particularly notable savings in water-stressed regions where lithium extraction occurs. Additionally, land use impact is minimized as battery reuse reduces the need for expanded mining operations in ecologically sensitive areas.
Resource efficiency calculations show that effective battery reuse systems can extend the functional lifetime of lithium-ion batteries by 5-10 years beyond their automotive application, maximizing the utility derived from initially extracted materials. This extension represents a significant improvement in resource utilization efficiency, particularly for critical materials like cobalt, nickel, and lithium.
Waste reduction potential is equally compelling, with each metric ton of batteries diverted to second-life applications preventing approximately 0.8 metric tons of hazardous waste generation. The environmental benefits extend to reduced landfill pressure and decreased risk of toxic material leaching into ecosystems.
Energy return on investment (EROI) analyses demonstrate that battery reuse systems deliver 2.5-4 times more energy storage capacity per unit of embodied energy compared to new battery production. This favorable ratio improves the overall sustainability profile of energy storage solutions in renewable energy systems.
Regional impact variations exist based on electricity grid carbon intensity, transportation distances, and local recycling infrastructure. Battery reuse systems show the greatest environmental benefits in regions with carbon-intensive electricity generation, where the avoided impacts of new battery manufacturing are most significant.
Certification systems that verify environmental performance metrics will be essential for quantifying and communicating these benefits to stakeholders. Standardized methodologies for calculating avoided emissions and resource savings will strengthen market confidence in second-life battery environmental claims and support the development of sustainable battery value chains.
Unlock deeper insights with Patsnap Eureka Quick Research — get a full tech report to explore trends and direct your research. Try now!
Generate Your Research Report Instantly with AI Agent
Supercharge your innovation with Patsnap Eureka AI Agent Platform!







