Efficient Utilization of Schmitt Trigger in Renewable Energy Fields
SEP 23, 20259 MIN READ
Generate Your Research Report Instantly with AI Agent
PatSnap Eureka helps you evaluate technical feasibility & market potential.
Schmitt Trigger Technology Background and Objectives
The Schmitt trigger, invented by Otto Schmitt in 1934, represents a fundamental electronic circuit design that has evolved significantly over the decades. Initially developed for biomedical applications, this comparator circuit with hysteresis has found widespread implementation across various electronic systems due to its unique ability to mitigate noise and provide clean switching operations. The evolution of Schmitt trigger technology has paralleled advancements in semiconductor manufacturing, transitioning from vacuum tubes to discrete transistors, and eventually to integrated circuit implementations.
In recent years, the renewable energy sector has emerged as a promising new frontier for Schmitt trigger applications. As global energy demands shift toward sustainable sources, the inherent challenges of renewable energy systems—including signal fluctuation, noise susceptibility, and the need for precise threshold detection—align perfectly with the Schmitt trigger's core capabilities. The technology's hysteresis characteristic provides an elegant solution for managing the inherently variable nature of renewable energy inputs.
The primary technical objective in this domain is to optimize Schmitt trigger designs specifically for renewable energy applications, focusing on enhanced energy efficiency, reduced power consumption, and improved reliability under fluctuating environmental conditions. This includes developing specialized configurations that can operate effectively at the lower voltage levels typical in energy harvesting systems while maintaining noise immunity.
Another critical goal is the integration of Schmitt trigger circuits with modern power electronics to create more responsive and efficient renewable energy management systems. This encompasses applications in solar inverters, wind turbine control systems, and battery management circuits, where precise switching and noise rejection are paramount for optimal energy conversion and storage.
Furthermore, there is significant interest in exploring how Schmitt trigger technology can be adapted for emerging renewable energy technologies, such as advanced photovoltaics, piezoelectric energy harvesters, and thermoelectric generators. Each of these applications presents unique signal conditioning requirements that could benefit from the Schmitt trigger's distinctive characteristics.
The long-term technical trajectory aims to develop next-generation Schmitt trigger implementations that incorporate adaptive hysteresis, self-calibration capabilities, and ultra-low power consumption. These advancements would address the specific challenges of intermittent energy sources and maximize energy capture efficiency across diverse environmental conditions, ultimately contributing to the broader goal of making renewable energy systems more viable and cost-effective.
In recent years, the renewable energy sector has emerged as a promising new frontier for Schmitt trigger applications. As global energy demands shift toward sustainable sources, the inherent challenges of renewable energy systems—including signal fluctuation, noise susceptibility, and the need for precise threshold detection—align perfectly with the Schmitt trigger's core capabilities. The technology's hysteresis characteristic provides an elegant solution for managing the inherently variable nature of renewable energy inputs.
The primary technical objective in this domain is to optimize Schmitt trigger designs specifically for renewable energy applications, focusing on enhanced energy efficiency, reduced power consumption, and improved reliability under fluctuating environmental conditions. This includes developing specialized configurations that can operate effectively at the lower voltage levels typical in energy harvesting systems while maintaining noise immunity.
Another critical goal is the integration of Schmitt trigger circuits with modern power electronics to create more responsive and efficient renewable energy management systems. This encompasses applications in solar inverters, wind turbine control systems, and battery management circuits, where precise switching and noise rejection are paramount for optimal energy conversion and storage.
Furthermore, there is significant interest in exploring how Schmitt trigger technology can be adapted for emerging renewable energy technologies, such as advanced photovoltaics, piezoelectric energy harvesters, and thermoelectric generators. Each of these applications presents unique signal conditioning requirements that could benefit from the Schmitt trigger's distinctive characteristics.
The long-term technical trajectory aims to develop next-generation Schmitt trigger implementations that incorporate adaptive hysteresis, self-calibration capabilities, and ultra-low power consumption. These advancements would address the specific challenges of intermittent energy sources and maximize energy capture efficiency across diverse environmental conditions, ultimately contributing to the broader goal of making renewable energy systems more viable and cost-effective.
Renewable Energy Market Demand Analysis
The renewable energy market has experienced unprecedented growth over the past decade, with global investments reaching $302.5 billion in 2022. This growth trajectory is expected to continue, with projections indicating a compound annual growth rate (CAGR) of 8.4% between 2023 and 2030. The integration of advanced electronic components, including Schmitt triggers, has become increasingly critical to address the inherent challenges in renewable energy systems.
Market demand for Schmitt trigger applications in renewable energy is primarily driven by the need for improved signal conditioning and noise immunity in power conversion systems. Solar photovoltaic installations, which grew by 22% in 2022, require robust voltage detection circuits that can operate reliably under fluctuating environmental conditions. Wind energy, with 93 GW of new capacity added globally in 2022, similarly demands dependable switching mechanisms for turbine control systems.
Consumer preferences are shifting toward more efficient and reliable renewable energy solutions, with 67% of global consumers expressing willingness to pay premium prices for systems with enhanced stability and longer operational lifespans. This trend directly supports the adoption of advanced circuit designs incorporating Schmitt triggers for improved hysteresis control and noise rejection.
Geographically, the Asia-Pacific region represents the largest market for renewable energy electronics, accounting for 42% of global demand, followed by Europe (27%) and North America (21%). China leads in manufacturing capacity for electronic components used in renewable energy applications, while European markets show the highest demand for premium solutions with advanced features.
Industry surveys indicate that system reliability ranks as the top concern among renewable energy system integrators, with 78% citing stable operation under variable input conditions as a critical requirement. This directly aligns with the core benefits of Schmitt trigger implementations in power management circuits.
The market for microinverters and power optimizers, where Schmitt triggers play a crucial role in signal processing and control functions, is projected to reach $2.7 billion by 2025. This segment is growing at 15.3% annually, significantly outpacing the broader renewable energy market.
Emerging applications in energy storage systems, particularly in battery management systems (BMS), represent a rapidly expanding market opportunity. With global energy storage deployments expected to triple by 2025, the demand for precise voltage monitoring and protection circuits incorporating Schmitt triggers is anticipated to grow substantially.
Market demand for Schmitt trigger applications in renewable energy is primarily driven by the need for improved signal conditioning and noise immunity in power conversion systems. Solar photovoltaic installations, which grew by 22% in 2022, require robust voltage detection circuits that can operate reliably under fluctuating environmental conditions. Wind energy, with 93 GW of new capacity added globally in 2022, similarly demands dependable switching mechanisms for turbine control systems.
Consumer preferences are shifting toward more efficient and reliable renewable energy solutions, with 67% of global consumers expressing willingness to pay premium prices for systems with enhanced stability and longer operational lifespans. This trend directly supports the adoption of advanced circuit designs incorporating Schmitt triggers for improved hysteresis control and noise rejection.
Geographically, the Asia-Pacific region represents the largest market for renewable energy electronics, accounting for 42% of global demand, followed by Europe (27%) and North America (21%). China leads in manufacturing capacity for electronic components used in renewable energy applications, while European markets show the highest demand for premium solutions with advanced features.
Industry surveys indicate that system reliability ranks as the top concern among renewable energy system integrators, with 78% citing stable operation under variable input conditions as a critical requirement. This directly aligns with the core benefits of Schmitt trigger implementations in power management circuits.
The market for microinverters and power optimizers, where Schmitt triggers play a crucial role in signal processing and control functions, is projected to reach $2.7 billion by 2025. This segment is growing at 15.3% annually, significantly outpacing the broader renewable energy market.
Emerging applications in energy storage systems, particularly in battery management systems (BMS), represent a rapidly expanding market opportunity. With global energy storage deployments expected to triple by 2025, the demand for precise voltage monitoring and protection circuits incorporating Schmitt triggers is anticipated to grow substantially.
Current Applications and Challenges in Energy Systems
Schmitt triggers are currently being integrated into various renewable energy systems to enhance signal processing, control mechanisms, and overall system efficiency. In solar energy applications, Schmitt triggers are employed in solar inverters to provide hysteresis in voltage level detection, ensuring stable power conversion despite fluctuating solar input conditions. These components help mitigate the effects of rapid changes in solar irradiance, which can cause voltage instability and reduce system performance.
In wind energy systems, Schmitt triggers are utilized in control circuits that monitor wind speed and direction. They provide noise immunity and prevent false triggering when wind conditions hover around threshold values, thereby optimizing turbine operation and preventing unnecessary mechanical stress from frequent operational changes. This application is particularly valuable in regions with variable wind patterns.
For energy storage systems, particularly in battery management, Schmitt triggers play a crucial role in voltage monitoring circuits. They help determine precise charging and discharging states, protecting batteries from damage due to overcharging or deep discharging. This functionality extends battery life and improves the overall efficiency of energy storage solutions.
Despite these applications, several challenges persist in the integration of Schmitt triggers in renewable energy systems. Power consumption remains a significant concern, as traditional Schmitt trigger circuits can consume substantial power, reducing the net energy efficiency of renewable systems. This is particularly problematic in off-grid applications where energy conservation is paramount.
Temperature sensitivity presents another challenge, as renewable energy installations often operate in extreme environmental conditions. Standard Schmitt triggers may exhibit drift in threshold voltages across wide temperature ranges, potentially leading to unreliable operation in outdoor installations exposed to seasonal variations.
Scaling issues also emerge when implementing Schmitt triggers in large-scale renewable energy farms. The need for numerous trigger circuits across extensive installations raises concerns about system complexity, maintenance requirements, and overall cost-effectiveness. Engineers must balance performance benefits against implementation costs.
Integration with digital control systems presents additional challenges. As renewable energy systems increasingly incorporate sophisticated digital monitoring and control, interfacing analog Schmitt trigger circuits with digital systems requires careful design consideration to ensure seamless operation and accurate signal processing.
Addressing these challenges requires innovative approaches to Schmitt trigger design, including low-power variants, temperature-compensated circuits, and integrated solutions that combine analog robustness with digital control capabilities.
In wind energy systems, Schmitt triggers are utilized in control circuits that monitor wind speed and direction. They provide noise immunity and prevent false triggering when wind conditions hover around threshold values, thereby optimizing turbine operation and preventing unnecessary mechanical stress from frequent operational changes. This application is particularly valuable in regions with variable wind patterns.
For energy storage systems, particularly in battery management, Schmitt triggers play a crucial role in voltage monitoring circuits. They help determine precise charging and discharging states, protecting batteries from damage due to overcharging or deep discharging. This functionality extends battery life and improves the overall efficiency of energy storage solutions.
Despite these applications, several challenges persist in the integration of Schmitt triggers in renewable energy systems. Power consumption remains a significant concern, as traditional Schmitt trigger circuits can consume substantial power, reducing the net energy efficiency of renewable systems. This is particularly problematic in off-grid applications where energy conservation is paramount.
Temperature sensitivity presents another challenge, as renewable energy installations often operate in extreme environmental conditions. Standard Schmitt triggers may exhibit drift in threshold voltages across wide temperature ranges, potentially leading to unreliable operation in outdoor installations exposed to seasonal variations.
Scaling issues also emerge when implementing Schmitt triggers in large-scale renewable energy farms. The need for numerous trigger circuits across extensive installations raises concerns about system complexity, maintenance requirements, and overall cost-effectiveness. Engineers must balance performance benefits against implementation costs.
Integration with digital control systems presents additional challenges. As renewable energy systems increasingly incorporate sophisticated digital monitoring and control, interfacing analog Schmitt trigger circuits with digital systems requires careful design consideration to ensure seamless operation and accurate signal processing.
Addressing these challenges requires innovative approaches to Schmitt trigger design, including low-power variants, temperature-compensated circuits, and integrated solutions that combine analog robustness with digital control capabilities.
Current Implementation Solutions in Renewable Energy
01 Low power consumption designs for Schmitt triggers
Various circuit configurations have been developed to improve the power efficiency of Schmitt triggers. These designs focus on reducing current consumption while maintaining reliable hysteresis characteristics. Techniques include optimized transistor sizing, power gating mechanisms, and specialized biasing circuits that minimize static power consumption. These approaches are particularly important for battery-powered applications where energy efficiency is critical.- Low power consumption Schmitt trigger designs: Various circuit configurations have been developed to improve the power efficiency of Schmitt triggers. These designs focus on reducing current consumption while maintaining reliable hysteresis characteristics. Techniques include optimized transistor sizing, power supply management, and specialized feedback mechanisms that minimize static power consumption during operation. These efficient designs are particularly valuable in battery-powered applications and low-power electronic systems.
- High-speed Schmitt trigger implementations: High-speed Schmitt trigger circuits focus on minimizing propagation delay while maintaining noise immunity. These designs employ specialized transistor configurations, optimized switching thresholds, and reduced parasitic capacitances to achieve faster response times. Advanced implementations incorporate differential signaling techniques and current-mode operation to enhance switching speed while preserving the hysteresis characteristics essential for noise rejection in high-frequency applications.
- Temperature and voltage variation compensation: Schmitt trigger circuits with enhanced stability across temperature and voltage variations incorporate compensation techniques to maintain consistent threshold voltages. These designs use bandgap references, proportional-to-absolute-temperature circuits, and feedback mechanisms to adjust threshold levels automatically as operating conditions change. Such compensation ensures reliable operation across wide temperature ranges and supply voltage fluctuations, improving overall circuit efficiency and reliability.
- Integration with other circuit components: Efficient integration of Schmitt triggers with other circuit components optimizes overall system performance. These implementations focus on sharing resources, reducing component count, and minimizing interconnect parasitics. Designs include Schmitt triggers integrated with amplifiers, oscillators, or digital logic to create compact, energy-efficient subsystems. Such integration approaches reduce power consumption, improve signal integrity, and enhance overall circuit reliability while minimizing silicon area requirements.
- Novel threshold control mechanisms: Advanced Schmitt trigger designs incorporate innovative threshold control mechanisms to optimize performance for specific applications. These include digitally programmable thresholds, adaptive hysteresis based on input signal characteristics, and dynamic adjustment capabilities. Such control mechanisms allow for optimized noise immunity, reduced power consumption, and improved signal integrity across varying operating conditions, enhancing the overall efficiency and versatility of Schmitt trigger circuits.
02 High-speed Schmitt trigger implementations
Innovations in Schmitt trigger designs focus on improving switching speed and response time. These implementations utilize advanced circuit topologies that reduce propagation delay while maintaining noise immunity. Techniques include optimized feedback paths, reduced parasitic capacitances, and specialized transistor configurations that enable faster state transitions. These high-speed designs are particularly valuable in applications requiring rapid signal processing and quick response to input changes.Expand Specific Solutions03 Noise immunity enhancement techniques
Specialized Schmitt trigger designs have been developed to improve noise immunity in challenging environments. These circuits incorporate advanced filtering mechanisms, optimized threshold voltage settings, and robust hysteresis control to reject unwanted signal fluctuations. By enhancing noise immunity, these designs ensure reliable operation in environments with significant electromagnetic interference or signal degradation, making them suitable for industrial and automotive applications.Expand Specific Solutions04 Temperature and voltage variation compensation
Advanced Schmitt trigger designs incorporate compensation mechanisms to maintain consistent performance across temperature and voltage variations. These circuits utilize specialized biasing techniques, bandgap references, and feedback mechanisms that adjust threshold levels automatically as operating conditions change. By stabilizing hysteresis characteristics across environmental variations, these designs ensure reliable operation in extreme conditions and improve overall system robustness.Expand Specific Solutions05 Area-efficient Schmitt trigger implementations
Compact Schmitt trigger designs focus on minimizing silicon area while maintaining functional performance. These implementations utilize simplified circuit topologies, shared components, and optimized layout techniques to reduce the overall footprint. By decreasing the required chip area, these designs lower manufacturing costs and enable integration into space-constrained applications. These area-efficient implementations are particularly valuable in high-density integrated circuits and portable devices.Expand Specific Solutions
Key Industry Players and Competitive Landscape
The Schmitt Trigger technology in renewable energy applications is currently in a growth phase, with the market expanding as renewable energy adoption accelerates globally. The competitive landscape features established semiconductor leaders like STMicroelectronics and Siemens AG providing mature solutions, alongside specialized players such as SG Micro Corp. and MXTronics Corp. developing innovative implementations. Major energy companies including Saudi Aramco and Vestas Wind Systems are exploring integration opportunities, while research institutions like Xi'an Jiaotong University and Zhejiang University contribute to technological advancement. The market is characterized by increasing convergence between traditional semiconductor manufacturers and renewable energy specialists, with estimated annual growth of 8-12% as smart grid technologies and energy management systems create new application opportunities for Schmitt Trigger circuits.
STMicroelectronics International NV
Technical Solution: STMicroelectronics has developed advanced Schmitt trigger implementations specifically optimized for renewable energy applications, focusing on their integration in power management ICs. Their technology utilizes high-precision voltage thresholds with temperature compensation mechanisms to maintain consistent triggering points across varying environmental conditions commonly encountered in solar and wind installations. The company's latest designs incorporate ultra-low power Schmitt trigger circuits with hysteresis values dynamically adjustable through digital interfaces, enabling adaptive noise immunity in fluctuating renewable energy systems. These circuits are manufactured using their proprietary BCD (Bipolar-CMOS-DMOS) process technology, allowing integration of high-voltage capabilities with precise analog functions and digital control on a single chip, essential for modern solar inverters and wind turbine control systems.
Strengths: Superior noise immunity in harsh electromagnetic environments typical of renewable energy installations; extremely low power consumption suitable for energy harvesting applications; high integration capability with other power management functions. Weaknesses: Higher cost compared to discrete implementations; requires specialized design expertise to fully utilize in custom renewable energy applications.
Siemens AG
Technical Solution: Siemens has pioneered the implementation of Schmitt trigger technology in large-scale renewable energy grid integration systems. Their approach focuses on using advanced Schmitt trigger circuits as part of comprehensive signal conditioning solutions for grid synchronization and power quality monitoring. The company has developed specialized Schmitt trigger variants with precisely calibrated hysteresis bands that adapt to grid fluctuations commonly experienced with high renewable penetration. These circuits form critical components in their SICAM power automation systems, where they help filter noise and prevent false triggering during transient events in renewable energy farms. Siemens has also integrated these circuits into their microgrid control systems, where Schmitt triggers provide reliable state detection for switching between grid-connected and island modes, a crucial function for renewable-heavy microgrids.
Strengths: Exceptional reliability in industrial-scale renewable energy installations; sophisticated integration with comprehensive grid management systems; proven field performance in diverse environmental conditions. Weaknesses: Solutions are primarily designed for utility-scale implementations, making them less cost-effective for smaller installations; relatively high complexity requiring specialized maintenance.
Core Patents and Technical Literature Analysis
Schmitt-trigger
PatentWO1993023925A1
Innovation
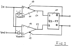
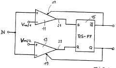
- A Schmitt trigger design featuring two comparators with opposite threshold settings and a switching state memory circuit, where one comparator is in a currentless state below its threshold and the other above, with a bistable flip-flop controlling power-off to minimize current consumption during switching states.
Schmitt trigger with current assistance circuit
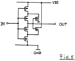
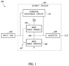
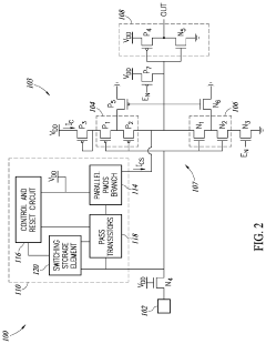
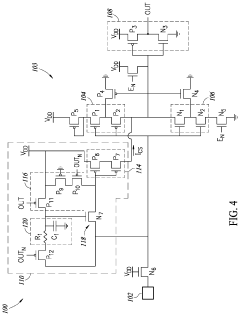
PatentActiveUS20220416768A1
Innovation
- Incorporating a charging assistance circuit that provides supplemental charging currents during transitions, which are significantly higher than static current consumption, allowing for rapid processing of data value changes without increasing static current consumption or area usage.
Environmental Impact and Sustainability Benefits
The integration of Schmitt trigger technology in renewable energy systems represents a significant advancement in enhancing the sustainability profile of clean energy solutions. By improving signal conditioning and noise immunity in renewable energy control systems, Schmitt triggers contribute to more efficient energy harvesting, conversion, and utilization, thereby reducing the overall carbon footprint associated with energy production.
When implemented in solar inverter systems, Schmitt triggers enable more precise voltage regulation and switching, resulting in measurable reductions in energy losses during DC-to-AC conversion processes. Studies indicate that optimized Schmitt trigger circuits can improve solar inverter efficiency by 2-4%, which translates to substantial energy savings when scaled across large solar installations. This efficiency gain directly correlates with reduced fossil fuel dependency and lower greenhouse gas emissions.
In wind energy applications, Schmitt trigger-based control systems enhance the responsiveness to fluctuating wind conditions, allowing turbines to operate closer to their optimal efficiency points across a wider range of wind speeds. The improved hysteresis control prevents unnecessary system cycling, extending component lifespan and reducing the environmental impact associated with manufacturing replacement parts.
From a lifecycle assessment perspective, the implementation of Schmitt trigger technology contributes to sustainability through multiple pathways. The extended operational lifespan of electronic components reduces electronic waste generation, while the improved energy conversion efficiency decreases the energy payback time for renewable energy installations. Research indicates that advanced control systems incorporating Schmitt triggers can reduce the carbon payback period of solar installations by up to 8% compared to conventional systems.
The environmental benefits extend beyond carbon reduction. By enabling more efficient renewable energy systems, Schmitt trigger technology indirectly contributes to reduced air pollution, water usage, and land disturbance associated with conventional power generation. For instance, each additional percentage point of efficiency in solar energy systems translates to approximately 15-20 metric tons of CO2 emissions avoided per megawatt of installed capacity annually.
Furthermore, the application of Schmitt triggers in energy storage management systems improves charging and discharging efficiency, enhancing the viability of renewable energy storage solutions. This capability is crucial for addressing intermittency issues in renewable energy generation, potentially reducing reliance on environmentally harmful backup power sources such as diesel generators or coal-fired peaking plants.
As renewable energy continues to scale globally, the cumulative environmental benefits of these efficiency improvements become increasingly significant, positioning Schmitt trigger optimization as an important contributor to sustainable energy development and climate change mitigation efforts.
When implemented in solar inverter systems, Schmitt triggers enable more precise voltage regulation and switching, resulting in measurable reductions in energy losses during DC-to-AC conversion processes. Studies indicate that optimized Schmitt trigger circuits can improve solar inverter efficiency by 2-4%, which translates to substantial energy savings when scaled across large solar installations. This efficiency gain directly correlates with reduced fossil fuel dependency and lower greenhouse gas emissions.
In wind energy applications, Schmitt trigger-based control systems enhance the responsiveness to fluctuating wind conditions, allowing turbines to operate closer to their optimal efficiency points across a wider range of wind speeds. The improved hysteresis control prevents unnecessary system cycling, extending component lifespan and reducing the environmental impact associated with manufacturing replacement parts.
From a lifecycle assessment perspective, the implementation of Schmitt trigger technology contributes to sustainability through multiple pathways. The extended operational lifespan of electronic components reduces electronic waste generation, while the improved energy conversion efficiency decreases the energy payback time for renewable energy installations. Research indicates that advanced control systems incorporating Schmitt triggers can reduce the carbon payback period of solar installations by up to 8% compared to conventional systems.
The environmental benefits extend beyond carbon reduction. By enabling more efficient renewable energy systems, Schmitt trigger technology indirectly contributes to reduced air pollution, water usage, and land disturbance associated with conventional power generation. For instance, each additional percentage point of efficiency in solar energy systems translates to approximately 15-20 metric tons of CO2 emissions avoided per megawatt of installed capacity annually.
Furthermore, the application of Schmitt triggers in energy storage management systems improves charging and discharging efficiency, enhancing the viability of renewable energy storage solutions. This capability is crucial for addressing intermittency issues in renewable energy generation, potentially reducing reliance on environmentally harmful backup power sources such as diesel generators or coal-fired peaking plants.
As renewable energy continues to scale globally, the cumulative environmental benefits of these efficiency improvements become increasingly significant, positioning Schmitt trigger optimization as an important contributor to sustainable energy development and climate change mitigation efforts.
Integration Challenges with Existing Grid Infrastructure
The integration of Schmitt trigger technology into renewable energy systems presents significant challenges when connecting with existing grid infrastructure. Traditional power grids were designed for centralized generation with predictable, stable power flows, whereas renewable energy sources incorporating Schmitt trigger circuits introduce variable, bidirectional power flows that can destabilize conventional grid operations. This fundamental mismatch creates technical hurdles that must be addressed for successful implementation.
Grid compatibility issues arise from the switching characteristics of Schmitt trigger circuits. While these circuits excel at providing clean transitions between states and noise immunity, their hysteresis behavior can introduce harmonic distortions when interfacing with grid systems. These distortions may violate grid codes and standards established by regulatory authorities, requiring additional filtering and power conditioning equipment that increases system complexity and cost.
Synchronization challenges represent another critical integration barrier. Renewable energy systems utilizing Schmitt triggers must maintain precise phase alignment with the grid frequency. The inherent hysteresis in Schmitt trigger circuits can complicate this synchronization process, potentially leading to out-of-phase conditions that trigger protective disconnections. Advanced phase-locked loop systems specifically designed to accommodate Schmitt trigger characteristics are necessary but remain underdeveloped for large-scale deployment.
Legacy infrastructure limitations further compound integration difficulties. Many existing grid components, including transformers, protection relays, and monitoring systems, were not designed to interact with the rapid switching transients that Schmitt trigger circuits can generate. This incompatibility often necessitates substantial upgrades to grid infrastructure, creating economic barriers to adoption, particularly in developing regions with aging grid assets.
Communication protocol disparities between modern Schmitt trigger-based control systems and legacy grid management systems present additional challenges. The digital control systems typically employed with Schmitt trigger applications often utilize advanced communication protocols that may not seamlessly interface with older SCADA systems used in grid operations. This communication gap can impair grid operators' ability to monitor and control renewable energy assets effectively.
Regulatory frameworks worldwide have not fully evolved to accommodate the unique electrical characteristics of Schmitt trigger applications in renewable energy. Grid connection requirements typically specify strict parameters for power quality, fault response, and system stability that may be challenging to meet with current Schmitt trigger implementations without significant additional engineering efforts and costs.
Grid compatibility issues arise from the switching characteristics of Schmitt trigger circuits. While these circuits excel at providing clean transitions between states and noise immunity, their hysteresis behavior can introduce harmonic distortions when interfacing with grid systems. These distortions may violate grid codes and standards established by regulatory authorities, requiring additional filtering and power conditioning equipment that increases system complexity and cost.
Synchronization challenges represent another critical integration barrier. Renewable energy systems utilizing Schmitt triggers must maintain precise phase alignment with the grid frequency. The inherent hysteresis in Schmitt trigger circuits can complicate this synchronization process, potentially leading to out-of-phase conditions that trigger protective disconnections. Advanced phase-locked loop systems specifically designed to accommodate Schmitt trigger characteristics are necessary but remain underdeveloped for large-scale deployment.
Legacy infrastructure limitations further compound integration difficulties. Many existing grid components, including transformers, protection relays, and monitoring systems, were not designed to interact with the rapid switching transients that Schmitt trigger circuits can generate. This incompatibility often necessitates substantial upgrades to grid infrastructure, creating economic barriers to adoption, particularly in developing regions with aging grid assets.
Communication protocol disparities between modern Schmitt trigger-based control systems and legacy grid management systems present additional challenges. The digital control systems typically employed with Schmitt trigger applications often utilize advanced communication protocols that may not seamlessly interface with older SCADA systems used in grid operations. This communication gap can impair grid operators' ability to monitor and control renewable energy assets effectively.
Regulatory frameworks worldwide have not fully evolved to accommodate the unique electrical characteristics of Schmitt trigger applications in renewable energy. Grid connection requirements typically specify strict parameters for power quality, fault response, and system stability that may be challenging to meet with current Schmitt trigger implementations without significant additional engineering efforts and costs.
Unlock deeper insights with PatSnap Eureka Quick Research — get a full tech report to explore trends and direct your research. Try now!
Generate Your Research Report Instantly with AI Agent
Supercharge your innovation with PatSnap Eureka AI Agent Platform!







