How Schmitt Trigger Combines with Filters for Signal Filtering
SEP 23, 202510 MIN READ
Generate Your Research Report Instantly with AI Agent
Patsnap Eureka helps you evaluate technical feasibility & market potential.
Schmitt Trigger and Signal Filtering Background
Signal processing has evolved significantly over the decades, with the Schmitt trigger emerging as a fundamental component in electronic circuit design since its invention by Otto Schmitt in 1934. The Schmitt trigger represents a specialized comparator circuit with hysteresis, designed to convert analog input signals into digital output signals while effectively mitigating noise interference. This bistable multivibrator operates by comparing input signals against two distinct threshold levels, creating a mechanism that prevents rapid oscillations during signal transitions.
The evolution of signal filtering techniques has paralleled advancements in electronic systems, transitioning from passive RC filters to sophisticated active and digital filtering methodologies. Traditional filtering approaches often struggle with noise-contaminated signals, particularly in environments with high electromagnetic interference or when processing signals with low signal-to-noise ratios. These challenges have driven the integration of Schmitt triggers with conventional filters to create more robust signal conditioning solutions.
The fundamental principle behind combining Schmitt triggers with filters lies in leveraging the complementary strengths of both technologies. Filters provide frequency-selective attenuation, removing unwanted signal components based on their frequency characteristics. Meanwhile, Schmitt triggers contribute threshold-based noise immunity and signal regeneration capabilities, effectively cleaning up signals that have already undergone initial filtering.
This technological synergy addresses several persistent challenges in signal processing applications. In industrial automation systems, where sensors operate in electrically noisy environments, the combination helps maintain signal integrity across long transmission lines. Similarly, in medical instrumentation, where biological signals often present with low amplitudes amid significant noise, this approach enables more accurate signal detection and analysis.
The technical evolution of this combined approach has seen significant milestones, including the development of integrated circuit implementations that incorporate both filtering and Schmitt trigger functionalities within single packages. Modern CMOS and BiCMOS technologies have further enhanced these solutions by reducing power consumption while improving performance parameters such as switching speed and noise immunity.
Recent trends indicate growing adoption of this hybrid approach in emerging fields such as Internet of Things (IoT) devices, where power efficiency and signal reliability are paramount concerns. The miniaturization of these circuits has enabled their integration into increasingly compact devices while maintaining robust performance characteristics even under challenging operating conditions.
As digital systems continue to interface with the analog world, the importance of effective signal conditioning techniques remains critical. The combination of Schmitt triggers with filtering techniques represents a mature yet continuously evolving approach to addressing the fundamental challenge of extracting meaningful information from noise-contaminated signals.
The evolution of signal filtering techniques has paralleled advancements in electronic systems, transitioning from passive RC filters to sophisticated active and digital filtering methodologies. Traditional filtering approaches often struggle with noise-contaminated signals, particularly in environments with high electromagnetic interference or when processing signals with low signal-to-noise ratios. These challenges have driven the integration of Schmitt triggers with conventional filters to create more robust signal conditioning solutions.
The fundamental principle behind combining Schmitt triggers with filters lies in leveraging the complementary strengths of both technologies. Filters provide frequency-selective attenuation, removing unwanted signal components based on their frequency characteristics. Meanwhile, Schmitt triggers contribute threshold-based noise immunity and signal regeneration capabilities, effectively cleaning up signals that have already undergone initial filtering.
This technological synergy addresses several persistent challenges in signal processing applications. In industrial automation systems, where sensors operate in electrically noisy environments, the combination helps maintain signal integrity across long transmission lines. Similarly, in medical instrumentation, where biological signals often present with low amplitudes amid significant noise, this approach enables more accurate signal detection and analysis.
The technical evolution of this combined approach has seen significant milestones, including the development of integrated circuit implementations that incorporate both filtering and Schmitt trigger functionalities within single packages. Modern CMOS and BiCMOS technologies have further enhanced these solutions by reducing power consumption while improving performance parameters such as switching speed and noise immunity.
Recent trends indicate growing adoption of this hybrid approach in emerging fields such as Internet of Things (IoT) devices, where power efficiency and signal reliability are paramount concerns. The miniaturization of these circuits has enabled their integration into increasingly compact devices while maintaining robust performance characteristics even under challenging operating conditions.
As digital systems continue to interface with the analog world, the importance of effective signal conditioning techniques remains critical. The combination of Schmitt triggers with filtering techniques represents a mature yet continuously evolving approach to addressing the fundamental challenge of extracting meaningful information from noise-contaminated signals.
Market Applications for Schmitt Trigger-Filter Systems
The Schmitt trigger-filter combination has found extensive applications across various market sectors due to its robust signal conditioning capabilities. In industrial automation, these systems are deployed in sensors and control circuits where they effectively eliminate noise from factory environments while maintaining reliable signal detection thresholds. The global industrial automation market, valued at over $200 billion, increasingly relies on such signal conditioning technologies to ensure precision in manufacturing processes.
In automotive electronics, Schmitt trigger-filter systems are critical components in engine control units, anti-lock braking systems, and various sensors throughout modern vehicles. Their ability to provide clean signals despite electromagnetic interference from vehicle systems makes them indispensable in ensuring safety and performance. The automotive electronics market segment specifically utilizing these signal conditioning technologies has been growing at approximately 8% annually.
Medical device manufacturers implement these systems in patient monitoring equipment, diagnostic tools, and therapeutic devices where signal integrity is paramount. The combination provides crucial noise immunity in hospital environments filled with electromagnetic interference from various equipment. Medical-grade signal conditioning systems command premium pricing due to stringent regulatory requirements and reliability demands.
Consumer electronics represent another significant market application, with Schmitt trigger-filter combinations appearing in smartphones, computers, and IoT devices. These systems enable reliable touch sensing, power management, and data communication in environments with varying noise profiles. The miniaturization trend in consumer electronics has driven demand for integrated Schmitt trigger-filter solutions with minimal footprint.
Telecommunications infrastructure heavily utilizes these systems for signal regeneration and noise immunity in data transmission equipment. As data rates continue to increase, the importance of clean signal detection thresholds becomes more critical, expanding the market for advanced Schmitt trigger-filter designs. Telecom equipment manufacturers value these components for their ability to maintain signal integrity across long transmission distances.
Aerospace and defense applications represent a high-value market segment where Schmitt trigger-filter systems are employed in mission-critical communication equipment, navigation systems, and sensor arrays. These applications demand components with extended temperature ranges, radiation hardening, and exceptional reliability, commanding significant price premiums.
Emerging applications in renewable energy systems, particularly in solar inverters and wind turbine control systems, are creating new market opportunities. These environments present challenging noise conditions from power conversion processes while requiring precise signal detection for efficient operation and safety monitoring.
In automotive electronics, Schmitt trigger-filter systems are critical components in engine control units, anti-lock braking systems, and various sensors throughout modern vehicles. Their ability to provide clean signals despite electromagnetic interference from vehicle systems makes them indispensable in ensuring safety and performance. The automotive electronics market segment specifically utilizing these signal conditioning technologies has been growing at approximately 8% annually.
Medical device manufacturers implement these systems in patient monitoring equipment, diagnostic tools, and therapeutic devices where signal integrity is paramount. The combination provides crucial noise immunity in hospital environments filled with electromagnetic interference from various equipment. Medical-grade signal conditioning systems command premium pricing due to stringent regulatory requirements and reliability demands.
Consumer electronics represent another significant market application, with Schmitt trigger-filter combinations appearing in smartphones, computers, and IoT devices. These systems enable reliable touch sensing, power management, and data communication in environments with varying noise profiles. The miniaturization trend in consumer electronics has driven demand for integrated Schmitt trigger-filter solutions with minimal footprint.
Telecommunications infrastructure heavily utilizes these systems for signal regeneration and noise immunity in data transmission equipment. As data rates continue to increase, the importance of clean signal detection thresholds becomes more critical, expanding the market for advanced Schmitt trigger-filter designs. Telecom equipment manufacturers value these components for their ability to maintain signal integrity across long transmission distances.
Aerospace and defense applications represent a high-value market segment where Schmitt trigger-filter systems are employed in mission-critical communication equipment, navigation systems, and sensor arrays. These applications demand components with extended temperature ranges, radiation hardening, and exceptional reliability, commanding significant price premiums.
Emerging applications in renewable energy systems, particularly in solar inverters and wind turbine control systems, are creating new market opportunities. These environments present challenging noise conditions from power conversion processes while requiring precise signal detection for efficient operation and safety monitoring.
Current Challenges in Signal Conditioning Technologies
Signal conditioning technologies face several critical challenges in today's rapidly evolving electronic landscape. The integration of Schmitt triggers with filters for signal filtering encounters significant obstacles related to noise immunity, power consumption, and adaptability to varying signal characteristics. As electronic devices continue to miniaturize while operating in increasingly noisy environments, traditional signal conditioning approaches struggle to maintain reliability.
One primary challenge is the effective rejection of noise without compromising signal integrity. Modern electronic systems operate in environments with multiple noise sources—electromagnetic interference, power supply fluctuations, and cross-talk between components. When combining Schmitt triggers with filters, engineers must carefully balance the trigger's hysteresis characteristics with the filter's frequency response to avoid false triggering while maintaining responsiveness to legitimate signals.
Power efficiency presents another substantial hurdle, particularly in battery-operated and IoT devices. Conventional Schmitt trigger implementations can consume significant power, especially when operating at high frequencies. The challenge intensifies when integrating with analog filters, as the combined power requirements may exceed budgets for portable applications. Engineers must develop innovative low-power designs without sacrificing performance parameters.
Temperature sensitivity and component drift create reliability concerns in signal conditioning circuits. Both Schmitt triggers and filter components exhibit parameter variations across temperature ranges, potentially altering threshold voltages and filter characteristics. This instability becomes particularly problematic in industrial and automotive applications where environmental conditions fluctuate dramatically.
Integration density poses significant design constraints as more functionality must fit into smaller spaces. The physical layout of combined Schmitt trigger and filter circuits requires careful consideration to minimize parasitic effects that can degrade performance. As devices shrink further, maintaining signal integrity while reducing component count becomes increasingly difficult.
Speed limitations represent another critical challenge. Traditional RC filters introduce delay that can be problematic in high-speed applications. When combined with Schmitt triggers, these delays can create timing issues in digital systems requiring precise signal transitions. Engineers must develop techniques to minimize propagation delays while maintaining noise immunity.
Adaptability to varying input signal characteristics remains problematic. Many real-world signals exhibit dynamic range and frequency content that change over time. Static filter-trigger combinations may perform optimally for specific signal conditions but degrade when those conditions change. This necessitates the development of adaptive signal conditioning solutions capable of adjusting parameters based on input characteristics.
One primary challenge is the effective rejection of noise without compromising signal integrity. Modern electronic systems operate in environments with multiple noise sources—electromagnetic interference, power supply fluctuations, and cross-talk between components. When combining Schmitt triggers with filters, engineers must carefully balance the trigger's hysteresis characteristics with the filter's frequency response to avoid false triggering while maintaining responsiveness to legitimate signals.
Power efficiency presents another substantial hurdle, particularly in battery-operated and IoT devices. Conventional Schmitt trigger implementations can consume significant power, especially when operating at high frequencies. The challenge intensifies when integrating with analog filters, as the combined power requirements may exceed budgets for portable applications. Engineers must develop innovative low-power designs without sacrificing performance parameters.
Temperature sensitivity and component drift create reliability concerns in signal conditioning circuits. Both Schmitt triggers and filter components exhibit parameter variations across temperature ranges, potentially altering threshold voltages and filter characteristics. This instability becomes particularly problematic in industrial and automotive applications where environmental conditions fluctuate dramatically.
Integration density poses significant design constraints as more functionality must fit into smaller spaces. The physical layout of combined Schmitt trigger and filter circuits requires careful consideration to minimize parasitic effects that can degrade performance. As devices shrink further, maintaining signal integrity while reducing component count becomes increasingly difficult.
Speed limitations represent another critical challenge. Traditional RC filters introduce delay that can be problematic in high-speed applications. When combined with Schmitt triggers, these delays can create timing issues in digital systems requiring precise signal transitions. Engineers must develop techniques to minimize propagation delays while maintaining noise immunity.
Adaptability to varying input signal characteristics remains problematic. Many real-world signals exhibit dynamic range and frequency content that change over time. Static filter-trigger combinations may perform optimally for specific signal conditions but degrade when those conditions change. This necessitates the development of adaptive signal conditioning solutions capable of adjusting parameters based on input characteristics.
Existing Schmitt Trigger-Filter Integration Methods
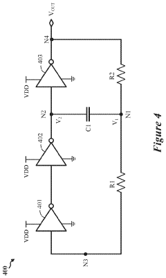
01 Schmitt Trigger with Low-Pass Filters
Combining Schmitt triggers with low-pass filters helps eliminate high-frequency noise and prevents false triggering in signal processing applications. The low-pass filter removes unwanted high-frequency components before the signal enters the Schmitt trigger, which then provides clean transitions with hysteresis. This combination is particularly effective in environments with significant electromagnetic interference or when processing analog signals with noise.- Schmitt Trigger with Low-Pass Filters: Combining Schmitt triggers with low-pass filters helps eliminate high-frequency noise while maintaining signal integrity. The low-pass filter removes unwanted high-frequency components before the signal enters the Schmitt trigger, which then provides clean transitions with hysteresis to prevent oscillation at threshold crossings. This combination is particularly effective in noisy environments where signal clarity is crucial for reliable operation.
- Hysteresis Control in Schmitt Trigger Filtering Applications: Advanced Schmitt trigger designs incorporate adjustable hysteresis for optimized signal filtering. By controlling the hysteresis width, these circuits can be tuned to specific noise environments, providing just enough separation between switching thresholds to reject noise while maintaining responsiveness to genuine signal changes. This approach enables more precise signal conditioning in applications where noise characteristics vary or where different filtering requirements exist across operating modes.
- Integration of Schmitt Triggers with Band-Pass Filtering: Combining Schmitt triggers with band-pass filters creates systems that can isolate specific frequency components while providing clean digital output. The band-pass filter selects the desired frequency range from complex input signals, and the Schmitt trigger converts the filtered analog signal to a clean digital signal with well-defined transitions. This approach is particularly valuable in communication systems and sensor interfaces where specific frequency components carry the information of interest.
- Schmitt Trigger Circuits with Input Conditioning Filters: Advanced designs incorporate pre-filtering stages before Schmitt triggers to optimize signal quality. These input conditioning filters can include RC networks, active filters, or specialized impedance matching circuits that prepare the signal for optimal processing by the Schmitt trigger. The combination ensures that the trigger responds only to meaningful signal transitions while rejecting transients and noise that could cause false triggering, improving overall system reliability.
- Adaptive Filtering with Schmitt Trigger Feedback: Innovative circuit designs implement feedback loops between Schmitt triggers and filter stages to create adaptive filtering systems. The Schmitt trigger output is fed back to adjust filter parameters based on signal conditions, allowing the system to dynamically optimize its filtering characteristics. This approach enables more robust performance across varying input conditions and can automatically adjust to changing noise environments, making it particularly valuable in applications with unpredictable signal characteristics.
02 Hysteresis Control in Schmitt Trigger Circuits
Advanced Schmitt trigger designs incorporate adjustable hysteresis control mechanisms that can be dynamically modified based on input signal characteristics. These circuits allow for adaptive threshold adjustment to optimize noise immunity while maintaining signal integrity. The hysteresis window can be programmatically controlled to accommodate varying noise levels or signal strengths, making these circuits particularly useful in applications with changing environmental conditions.Expand Specific Solutions03 Integration of Schmitt Triggers with Band-Pass Filters
Combining Schmitt triggers with band-pass filters allows for selective frequency response while maintaining clean signal transitions. This configuration passes signals within a specific frequency range while attenuating frequencies outside this band, after which the Schmitt trigger provides clean digital output with noise immunity. This approach is particularly valuable in communication systems where specific frequency bands contain the desired information while rejecting out-of-band interference.Expand Specific Solutions04 High-Speed Schmitt Trigger Filter Implementations
High-speed implementations of Schmitt trigger filters utilize advanced semiconductor technologies and circuit topologies to achieve rapid response times while maintaining effective noise filtering. These designs incorporate optimized transistor configurations, reduced parasitic capacitances, and specialized feedback mechanisms to minimize propagation delays. Such high-speed implementations are critical in applications like data communication, high-frequency signal processing, and real-time control systems.Expand Specific Solutions05 Power-Efficient Schmitt Trigger Filter Designs
Power-efficient Schmitt trigger filter designs incorporate techniques such as dynamic biasing, power gating, and adaptive threshold control to minimize power consumption while maintaining filtering performance. These circuits are optimized to operate with reduced supply voltages and current draw, making them suitable for battery-powered and energy-harvesting applications. The power efficiency is achieved without compromising the noise immunity and signal conditioning capabilities of the combined Schmitt trigger and filter arrangement.Expand Specific Solutions
Leading Manufacturers in Signal Processing Components
The Schmitt Trigger with filter integration market is currently in a growth phase, with increasing applications in signal conditioning across multiple industries. The market size is expanding due to rising demand for noise-resistant signal processing in automotive electronics, industrial automation, and consumer devices. Technologically, the field shows moderate maturity with established principles but ongoing innovation in implementation. Leading players demonstrate varying levels of expertise: Samsung Electronics, Infineon Technologies, and NXP Semiconductors have established strong positions through comprehensive semiconductor portfolios, while specialized companies like Skyworks Solutions and ROHM focus on high-performance analog solutions. STMicroelectronics and Lattice Semiconductor are advancing integration capabilities, particularly in mixed-signal applications where Schmitt Triggers provide critical hysteresis for reliable signal filtering.
STMicroelectronics International NV
Technical Solution: STMicroelectronics has developed sophisticated signal conditioning circuits that combine Schmitt triggers with multi-stage filtering for high-reliability applications. Their approach typically employs a cascaded architecture where input signals first pass through precision analog filters (typically RC networks or active filters) to remove high-frequency noise, followed by Schmitt trigger circuits with carefully calibrated hysteresis to prevent false triggering. For more demanding applications, ST implements adaptive filtering techniques where the filter characteristics automatically adjust based on signal conditions. Their latest implementations integrate these components into single-chip solutions that provide programmable hysteresis levels (typically 50mV to 1V) and filter cutoff frequencies. This architecture is particularly effective in industrial sensing applications where signal integrity must be maintained despite electromagnetic interference and power supply fluctuations.
Strengths: Highly integrated solutions reduce component count and board space; programmable parameters allow optimization for specific noise environments; excellent performance in industrial environments with significant EMI. Weaknesses: Higher current consumption than basic implementations; more complex configuration requirements; potentially higher cost compared to discrete solutions.
Infineon Technologies AG
Technical Solution: Infineon Technologies AG has developed advanced signal conditioning solutions that combine Schmitt triggers with specialized filters for robust signal processing. Their approach integrates hysteresis-based Schmitt triggers with multi-stage filtering techniques to effectively eliminate noise in industrial and automotive applications. The company's patented designs incorporate programmable threshold Schmitt triggers followed by customizable low-pass or band-pass filters, allowing dynamic adjustment based on environmental conditions. This architecture enables reliable signal detection even in high-noise environments by first using the Schmitt trigger to create clean digital transitions from analog inputs, then applying precision filtering to remove remaining interference patterns. Infineon's implementation typically features integrated temperature compensation and can operate across wide voltage ranges (1.8V to 5.5V), making it suitable for harsh industrial environments.
Strengths: Superior noise immunity in harsh industrial environments; programmable thresholds allow application-specific optimization; integrated temperature compensation ensures consistent performance across operating conditions. Weaknesses: Higher power consumption compared to simpler solutions; requires more silicon area; additional configuration complexity may increase implementation time.
Key Innovations in Noise Immunity Circuits
Schmitt trigger circuit with CMOS inverters and filtering means
PatentInactiveUS5438292A
Innovation
- A Schmitt trigger circuit design featuring an even number of MOS inverters connected in series, an input resistor, and a feedback capacitor, which acts as a low pass filter to reduce noise and current consumption, allowing proper operation in the direct current region and minimizing malfunctions from noise.
Oscillator with schmitt trigger
PatentPendingUS20240235534A1
Innovation
- A programmable ring oscillator incorporating a Schmitt trigger, CMOS inverters, resistors, and a capacitor, where the Schmitt trigger provides input hysteresis with threshold voltages adjustable based on supply voltage and configuration signals to maintain a constant oscillation frequency, reducing the impact of voltage variations.
Performance Metrics and Testing Standards
Evaluating the performance of Schmitt trigger and filter combinations requires standardized metrics and testing methodologies to ensure reliable signal filtering across various applications. Signal-to-noise ratio (SNR) serves as a fundamental metric, quantifying the relationship between desired signal strength and background noise levels. Higher SNR values indicate superior filtering performance, with industry standards typically requiring minimum thresholds between 20-40 dB depending on the application domain.
Hysteresis measurement represents a critical performance indicator specific to Schmitt trigger implementations. This metric evaluates the difference between upper and lower threshold voltages, with optimal ranges typically falling between 100mV to 1V for most signal conditioning applications. Testing protocols must include verification across temperature ranges (-40°C to 125°C) to ensure consistent hysteresis behavior under varying environmental conditions.
Response time and settling behavior constitute essential dynamic performance metrics. Standard testing procedures involve applying step inputs and measuring the time required for output stabilization, with acceptable performance typically ranging from nanoseconds to microseconds depending on the application requirements. Overshoot percentage should generally remain below 5% for critical signal processing applications.
Power consumption metrics have gained increasing importance, particularly for battery-operated devices. Standard testing involves measuring current draw under various operating conditions, with modern implementations expected to operate in the micro to milliwatt range. Energy efficiency standards often specify maximum power consumption limits based on application categories, with medical and industrial applications having more stringent requirements than consumer electronics.
Frequency response testing follows standardized procedures outlined in IEEE 1057 and IEC 61000-4-3, requiring swept-frequency analysis to determine bandwidth limitations and filter characteristics. Common metrics include cutoff frequency accuracy (typically within ±5% of design specifications), stopband attenuation (minimum 40 dB for high-performance applications), and phase linearity across the passband.
Immunity to electromagnetic interference represents another critical performance dimension, with testing standards such as IEC 61000-4-2 for electrostatic discharge and IEC 61000-4-4 for electrical fast transients providing standardized evaluation methodologies. Certification requirements vary by industry, with automotive applications following AEC-Q100 standards and medical devices adhering to IEC 60601-1-2 electromagnetic compatibility requirements.
Hysteresis measurement represents a critical performance indicator specific to Schmitt trigger implementations. This metric evaluates the difference between upper and lower threshold voltages, with optimal ranges typically falling between 100mV to 1V for most signal conditioning applications. Testing protocols must include verification across temperature ranges (-40°C to 125°C) to ensure consistent hysteresis behavior under varying environmental conditions.
Response time and settling behavior constitute essential dynamic performance metrics. Standard testing procedures involve applying step inputs and measuring the time required for output stabilization, with acceptable performance typically ranging from nanoseconds to microseconds depending on the application requirements. Overshoot percentage should generally remain below 5% for critical signal processing applications.
Power consumption metrics have gained increasing importance, particularly for battery-operated devices. Standard testing involves measuring current draw under various operating conditions, with modern implementations expected to operate in the micro to milliwatt range. Energy efficiency standards often specify maximum power consumption limits based on application categories, with medical and industrial applications having more stringent requirements than consumer electronics.
Frequency response testing follows standardized procedures outlined in IEEE 1057 and IEC 61000-4-3, requiring swept-frequency analysis to determine bandwidth limitations and filter characteristics. Common metrics include cutoff frequency accuracy (typically within ±5% of design specifications), stopband attenuation (minimum 40 dB for high-performance applications), and phase linearity across the passband.
Immunity to electromagnetic interference represents another critical performance dimension, with testing standards such as IEC 61000-4-2 for electrostatic discharge and IEC 61000-4-4 for electrical fast transients providing standardized evaluation methodologies. Certification requirements vary by industry, with automotive applications following AEC-Q100 standards and medical devices adhering to IEC 60601-1-2 electromagnetic compatibility requirements.
Power Efficiency Considerations
Power efficiency is a critical consideration when implementing Schmitt trigger circuits in combination with filters for signal processing applications. The inherent hysteresis characteristic of Schmitt triggers, while beneficial for noise immunity, introduces additional power consumption that must be carefully managed. In traditional CMOS implementations, the power dissipation occurs primarily during state transitions, with static power consumption being relatively minimal. However, when operating at high frequencies or in continuous monitoring applications, the cumulative energy consumption becomes significant.
The selection of appropriate filter topologies to pair with Schmitt triggers directly impacts overall power efficiency. Passive RC filters present the advantage of zero static power consumption but may require additional buffering stages that consume power. Active filters utilizing operational amplifiers offer superior performance but typically demand more power, especially in high-precision applications requiring wide bandwidth.
Modern low-power design techniques have evolved to address these concerns. Supply voltage scaling represents one of the most effective approaches, as power consumption in digital circuits scales quadratically with voltage. Implementing Schmitt trigger circuits at sub-1V levels can dramatically reduce power requirements, though careful consideration must be given to maintaining adequate noise margins and switching thresholds.
Dynamic power management strategies provide another avenue for optimization. Circuits can be designed to enter low-power states during periods of inactivity, with the Schmitt trigger serving as a wake-up mechanism when input signals exceed predetermined thresholds. This approach is particularly valuable in battery-powered sensor applications where signal activity may be intermittent.
Process technology selection significantly influences power efficiency. Advanced CMOS processes with smaller feature sizes generally offer reduced parasitic capacitances, leading to lower dynamic power consumption. However, leakage currents become more pronounced at smaller geometries, potentially offsetting some gains in switching power reduction.
Application-specific optimizations can yield substantial power savings. For instance, in medical monitoring devices, the Schmitt trigger threshold levels can be dynamically adjusted based on signal characteristics, activating higher-precision filtering only when necessary. Similarly, in industrial sensing applications, adaptive sampling rates controlled by Schmitt trigger outputs can minimize unnecessary signal processing during quiescent periods.
The integration of Schmitt triggers with energy-harvesting technologies represents an emerging frontier in ultra-low-power applications. By carefully matching power requirements to available ambient energy sources, self-powered signal conditioning circuits become feasible for deployment in remote or inaccessible locations where battery replacement is impractical.
The selection of appropriate filter topologies to pair with Schmitt triggers directly impacts overall power efficiency. Passive RC filters present the advantage of zero static power consumption but may require additional buffering stages that consume power. Active filters utilizing operational amplifiers offer superior performance but typically demand more power, especially in high-precision applications requiring wide bandwidth.
Modern low-power design techniques have evolved to address these concerns. Supply voltage scaling represents one of the most effective approaches, as power consumption in digital circuits scales quadratically with voltage. Implementing Schmitt trigger circuits at sub-1V levels can dramatically reduce power requirements, though careful consideration must be given to maintaining adequate noise margins and switching thresholds.
Dynamic power management strategies provide another avenue for optimization. Circuits can be designed to enter low-power states during periods of inactivity, with the Schmitt trigger serving as a wake-up mechanism when input signals exceed predetermined thresholds. This approach is particularly valuable in battery-powered sensor applications where signal activity may be intermittent.
Process technology selection significantly influences power efficiency. Advanced CMOS processes with smaller feature sizes generally offer reduced parasitic capacitances, leading to lower dynamic power consumption. However, leakage currents become more pronounced at smaller geometries, potentially offsetting some gains in switching power reduction.
Application-specific optimizations can yield substantial power savings. For instance, in medical monitoring devices, the Schmitt trigger threshold levels can be dynamically adjusted based on signal characteristics, activating higher-precision filtering only when necessary. Similarly, in industrial sensing applications, adaptive sampling rates controlled by Schmitt trigger outputs can minimize unnecessary signal processing during quiescent periods.
The integration of Schmitt triggers with energy-harvesting technologies represents an emerging frontier in ultra-low-power applications. By carefully matching power requirements to available ambient energy sources, self-powered signal conditioning circuits become feasible for deployment in remote or inaccessible locations where battery replacement is impractical.
Unlock deeper insights with Patsnap Eureka Quick Research — get a full tech report to explore trends and direct your research. Try now!
Generate Your Research Report Instantly with AI Agent
Supercharge your innovation with Patsnap Eureka AI Agent Platform!