Error Mitigation Techniques Complementary To Full QEC
SEP 2, 20259 MIN READ
Generate Your Research Report Instantly with AI Agent
Patsnap Eureka helps you evaluate technical feasibility & market potential.
Quantum Error Mitigation Background and Objectives
Quantum error mitigation has emerged as a critical field in quantum computing, addressing the fundamental challenge of quantum noise that plagues current quantum systems. Unlike full quantum error correction (QEC), which requires significant qubit overhead and technological maturity, error mitigation techniques offer pragmatic approaches to enhance the reliability of quantum computations in the NISQ (Noisy Intermediate-Scale Quantum) era and beyond.
The evolution of quantum error mitigation traces back to early theoretical proposals around 2016-2017, when researchers recognized the need for interim solutions before fault-tolerant quantum computing becomes viable. Initial techniques focused on zero-noise extrapolation and probabilistic error cancellation, which laid the groundwork for more sophisticated approaches developed in subsequent years.
Current quantum computing systems face error rates of approximately 10^-3 to 10^-2 per gate operation, significantly higher than the threshold required for reliable quantum computation. While full QEC aims to reduce these errors below the fault-tolerance threshold (typically around 10^-4), error mitigation techniques complement this goal by improving computational outcomes without the extensive resource requirements of complete error correction.
The technical objectives of quantum error mitigation are multifaceted. First, these techniques aim to extend the computational reach of current quantum hardware by reducing the impact of noise on algorithm execution. Second, they seek to bridge the gap between today's noisy quantum computers and future fault-tolerant systems. Third, they provide valuable insights into the nature of quantum noise, potentially informing the development of more effective error correction codes.
A key distinction in the field is between error mitigation techniques that operate at different levels: circuit-level approaches that modify quantum algorithms to be more noise-resilient, measurement-level techniques that post-process results to filter out errors, and hardware-level methods that dynamically compensate for system-specific noise patterns.
The relationship between error mitigation and full QEC is complementary rather than competitive. As quantum systems scale and error rates improve, hybrid approaches combining elements of both strategies are likely to emerge as optimal solutions. Error mitigation techniques may serve as essential components within larger error correction frameworks, handling specific types of errors more efficiently than full QEC alone.
Looking forward, the field aims to develop more sophisticated error mitigation techniques that can address correlated errors, scale efficiently with system size, and integrate seamlessly with emerging error correction codes, ultimately enabling practical quantum advantage despite the presence of noise.
The evolution of quantum error mitigation traces back to early theoretical proposals around 2016-2017, when researchers recognized the need for interim solutions before fault-tolerant quantum computing becomes viable. Initial techniques focused on zero-noise extrapolation and probabilistic error cancellation, which laid the groundwork for more sophisticated approaches developed in subsequent years.
Current quantum computing systems face error rates of approximately 10^-3 to 10^-2 per gate operation, significantly higher than the threshold required for reliable quantum computation. While full QEC aims to reduce these errors below the fault-tolerance threshold (typically around 10^-4), error mitigation techniques complement this goal by improving computational outcomes without the extensive resource requirements of complete error correction.
The technical objectives of quantum error mitigation are multifaceted. First, these techniques aim to extend the computational reach of current quantum hardware by reducing the impact of noise on algorithm execution. Second, they seek to bridge the gap between today's noisy quantum computers and future fault-tolerant systems. Third, they provide valuable insights into the nature of quantum noise, potentially informing the development of more effective error correction codes.
A key distinction in the field is between error mitigation techniques that operate at different levels: circuit-level approaches that modify quantum algorithms to be more noise-resilient, measurement-level techniques that post-process results to filter out errors, and hardware-level methods that dynamically compensate for system-specific noise patterns.
The relationship between error mitigation and full QEC is complementary rather than competitive. As quantum systems scale and error rates improve, hybrid approaches combining elements of both strategies are likely to emerge as optimal solutions. Error mitigation techniques may serve as essential components within larger error correction frameworks, handling specific types of errors more efficiently than full QEC alone.
Looking forward, the field aims to develop more sophisticated error mitigation techniques that can address correlated errors, scale efficiently with system size, and integrate seamlessly with emerging error correction codes, ultimately enabling practical quantum advantage despite the presence of noise.
Market Analysis for Near-term Quantum Computing Solutions
The quantum computing market is experiencing a significant shift towards near-term practical applications, with error mitigation techniques emerging as a critical enabler for this transition. Current market projections indicate the quantum computing market will reach approximately $1.3 billion by 2023 and grow to $5-10 billion by 2025, with error mitigation solutions potentially representing 15-20% of this ecosystem.
Error mitigation techniques are creating a distinct market segment positioned between noisy intermediate-scale quantum (NISQ) devices and fully fault-tolerant quantum computers. This segment addresses the immediate needs of enterprises seeking quantum advantage without waiting for full quantum error correction (QEC) implementation, which remains years away from commercial viability.
Key market drivers include financial services firms exploring quantum advantage in portfolio optimization and risk assessment, pharmaceutical companies accelerating drug discovery processes, and materials science researchers seeking breakthroughs in catalyst design. These sectors demonstrate willingness to invest in partial solutions that deliver incremental advantages over classical computing alternatives.
Market research indicates that 67% of enterprise quantum computing users consider error mitigation capabilities essential for their near-term quantum computing strategy. This demand has catalyzed a growing ecosystem of specialized software providers offering error mitigation solutions as value-added services atop quantum hardware platforms.
The business model landscape is evolving rapidly, with quantum cloud service providers increasingly integrating error mitigation techniques into their offerings as premium features. This trend is creating new revenue streams through tiered pricing models based on error mitigation capabilities and performance guarantees.
Venture capital investment in quantum error mitigation startups has grown by approximately 40% annually since 2020, reflecting market confidence in this technological approach. These investments are primarily focused on software solutions that can be deployed across multiple hardware platforms, indicating a preference for hardware-agnostic approaches.
Regional market analysis reveals North America leading in commercial adoption of error mitigation techniques, with 45% market share, followed by Europe (30%) and Asia-Pacific (20%). China's national quantum initiative is specifically prioritizing error mitigation research as a strategic capability to achieve practical quantum advantage ahead of full error correction.
The competitive landscape features both established quantum computing providers expanding their error mitigation portfolios and specialized startups focusing exclusively on this niche. This market segmentation is creating opportunities for strategic partnerships between hardware manufacturers and error mitigation software specialists.
Error mitigation techniques are creating a distinct market segment positioned between noisy intermediate-scale quantum (NISQ) devices and fully fault-tolerant quantum computers. This segment addresses the immediate needs of enterprises seeking quantum advantage without waiting for full quantum error correction (QEC) implementation, which remains years away from commercial viability.
Key market drivers include financial services firms exploring quantum advantage in portfolio optimization and risk assessment, pharmaceutical companies accelerating drug discovery processes, and materials science researchers seeking breakthroughs in catalyst design. These sectors demonstrate willingness to invest in partial solutions that deliver incremental advantages over classical computing alternatives.
Market research indicates that 67% of enterprise quantum computing users consider error mitigation capabilities essential for their near-term quantum computing strategy. This demand has catalyzed a growing ecosystem of specialized software providers offering error mitigation solutions as value-added services atop quantum hardware platforms.
The business model landscape is evolving rapidly, with quantum cloud service providers increasingly integrating error mitigation techniques into their offerings as premium features. This trend is creating new revenue streams through tiered pricing models based on error mitigation capabilities and performance guarantees.
Venture capital investment in quantum error mitigation startups has grown by approximately 40% annually since 2020, reflecting market confidence in this technological approach. These investments are primarily focused on software solutions that can be deployed across multiple hardware platforms, indicating a preference for hardware-agnostic approaches.
Regional market analysis reveals North America leading in commercial adoption of error mitigation techniques, with 45% market share, followed by Europe (30%) and Asia-Pacific (20%). China's national quantum initiative is specifically prioritizing error mitigation research as a strategic capability to achieve practical quantum advantage ahead of full error correction.
The competitive landscape features both established quantum computing providers expanding their error mitigation portfolios and specialized startups focusing exclusively on this niche. This market segmentation is creating opportunities for strategic partnerships between hardware manufacturers and error mitigation software specialists.
Current Limitations and Challenges in Error Mitigation
Despite significant advancements in error mitigation techniques for quantum computing, several fundamental limitations and challenges persist that hinder their widespread adoption as complementary approaches to full Quantum Error Correction (QEC). The most pressing challenge is scalability, as many current error mitigation methods exhibit exponential overhead in terms of measurement repetitions or classical post-processing requirements as system size increases. This severely limits their applicability to larger quantum circuits that would be necessary for practical quantum advantage.
Resource requirements present another significant barrier. Error mitigation techniques often demand substantial classical computing resources for data processing and analysis. For instance, Zero-Noise Extrapolation (ZNE) requires multiple circuit executions at different noise levels, while Probabilistic Error Cancellation (PEC) necessitates extensive characterization of noise channels, becoming prohibitively expensive for systems beyond a few qubits.
The hardware-specific nature of many error mitigation techniques creates implementation challenges across different quantum computing platforms. Methods optimized for superconducting qubits may not transfer effectively to trapped-ion systems or photonic quantum computers, requiring platform-specific adaptations that impede standardization efforts in the field.
Accuracy limitations also plague current approaches. While error mitigation can reduce computational errors, it cannot eliminate them entirely, and the residual error often remains too high for applications requiring chemical or material science precision. This fundamental limitation stems from the statistical nature of many mitigation techniques, which can only approximate error-free results.
Validation and benchmarking of error mitigation techniques present methodological challenges. Without access to error-free results for comparison (which would defeat the purpose of quantum computing), it becomes difficult to quantify the effectiveness of mitigation strategies in practical applications rather than synthetic test cases.
The interplay between different error sources further complicates mitigation efforts. Quantum systems suffer from various error types—including decoherence, gate infidelities, crosstalk, and readout errors—each requiring different mitigation approaches. Current techniques often address specific error types in isolation, failing to account for their complex interactions.
Finally, there exists a significant knowledge gap between theoretical error mitigation proposals and their practical implementation. Many promising techniques remain primarily theoretical, with limited experimental validation on actual quantum hardware, creating uncertainty about their real-world efficacy and implementation requirements.
Resource requirements present another significant barrier. Error mitigation techniques often demand substantial classical computing resources for data processing and analysis. For instance, Zero-Noise Extrapolation (ZNE) requires multiple circuit executions at different noise levels, while Probabilistic Error Cancellation (PEC) necessitates extensive characterization of noise channels, becoming prohibitively expensive for systems beyond a few qubits.
The hardware-specific nature of many error mitigation techniques creates implementation challenges across different quantum computing platforms. Methods optimized for superconducting qubits may not transfer effectively to trapped-ion systems or photonic quantum computers, requiring platform-specific adaptations that impede standardization efforts in the field.
Accuracy limitations also plague current approaches. While error mitigation can reduce computational errors, it cannot eliminate them entirely, and the residual error often remains too high for applications requiring chemical or material science precision. This fundamental limitation stems from the statistical nature of many mitigation techniques, which can only approximate error-free results.
Validation and benchmarking of error mitigation techniques present methodological challenges. Without access to error-free results for comparison (which would defeat the purpose of quantum computing), it becomes difficult to quantify the effectiveness of mitigation strategies in practical applications rather than synthetic test cases.
The interplay between different error sources further complicates mitigation efforts. Quantum systems suffer from various error types—including decoherence, gate infidelities, crosstalk, and readout errors—each requiring different mitigation approaches. Current techniques often address specific error types in isolation, failing to account for their complex interactions.
Finally, there exists a significant knowledge gap between theoretical error mitigation proposals and their practical implementation. Many promising techniques remain primarily theoretical, with limited experimental validation on actual quantum hardware, creating uncertainty about their real-world efficacy and implementation requirements.
Existing Error Mitigation Methodologies
01 Signal Processing Error Mitigation
Various signal processing techniques can be employed to mitigate errors in communication systems. These include adaptive filtering, error correction coding, and noise cancellation algorithms that help improve signal quality and reduce transmission errors. Advanced signal processing methods can detect and compensate for channel distortions, interference, and other impairments that cause errors in data transmission and reception.- Signal processing error mitigation techniques: Various signal processing techniques can be employed to mitigate errors in communication systems. These include advanced modulation schemes, error correction coding, and adaptive filtering algorithms that can detect and correct transmission errors. By implementing these techniques, systems can achieve improved signal quality, reduced bit error rates, and enhanced reliability in challenging communication environments.
- Quantum computing error reduction methods: Error mitigation in quantum computing involves specialized techniques to address quantum decoherence and gate errors. These methods include quantum error correction codes, error suppression protocols, and noise-resilient quantum circuit design. By implementing these approaches, quantum systems can maintain coherence for longer periods and execute more reliable quantum algorithms, which is essential for practical quantum computing applications.
- Machine learning-based error detection and correction: Machine learning algorithms can be employed to identify patterns in errors and automatically implement correction strategies. These systems can learn from historical error data to predict and prevent future errors, adapt to changing conditions, and optimize error mitigation parameters in real-time. This approach is particularly effective in complex systems where traditional error correction methods may be insufficient.
- System redundancy and fault tolerance architectures: Implementing redundant components and fault-tolerant system architectures provides protection against hardware and software failures. These approaches include parallel processing paths, backup systems, and graceful degradation mechanisms that maintain critical functionality even when parts of the system fail. Such redundancy-based techniques are essential in mission-critical applications where system reliability is paramount.
- Network communication error reduction protocols: Specialized protocols can be implemented to reduce errors in network communications. These include adaptive retransmission schemes, channel quality monitoring, interference management, and dynamic routing algorithms. By optimizing how data is transmitted across networks, these techniques can significantly reduce packet loss, latency issues, and connection failures in various network environments.
02 Quantum Computing Error Reduction
Error mitigation techniques specific to quantum computing systems focus on addressing quantum decoherence and gate errors. These include quantum error correction codes, error detection circuits, and noise-resilient quantum gates. By implementing these techniques, quantum systems can maintain coherence for longer periods and execute more reliable quantum operations, which is crucial for practical quantum computing applications.Expand Specific Solutions03 Machine Learning-Based Error Correction
Machine learning algorithms can be utilized to identify patterns in errors and automatically develop correction strategies. These approaches use neural networks, reinforcement learning, and other AI techniques to predict, detect, and correct errors in various systems. The adaptive nature of machine learning allows for continuous improvement in error mitigation as more data becomes available, making it particularly effective for complex systems with evolving error patterns.Expand Specific Solutions04 Hardware-Level Error Prevention
Hardware-based approaches to error mitigation involve designing systems with built-in redundancy, fault tolerance, and error detection capabilities. These techniques include implementing redundant components, error-checking circuits, and hardware monitors that can detect and respond to potential failure conditions. By addressing errors at the hardware level, systems can achieve higher reliability and prevent errors from propagating to higher levels of operation.Expand Specific Solutions05 Network Communication Error Reduction
Techniques specifically designed for reducing errors in network communications include protocol optimizations, packet retransmission strategies, and adaptive routing algorithms. These approaches focus on ensuring reliable data transmission across various network conditions by detecting packet loss, managing congestion, and implementing efficient error recovery mechanisms. Advanced network error mitigation techniques can dynamically adjust to changing network conditions to maintain communication quality.Expand Specific Solutions
Leading Organizations in Quantum Error Mitigation Research
The quantum error mitigation (QEM) landscape is evolving rapidly as a complementary approach to full quantum error correction (QEC), currently in the early growth phase with increasing market adoption. The global market for these techniques is expanding as quantum computing transitions from research to practical applications. Technologically, companies are at varying maturity levels: IBM, Google, and Intel lead with advanced error mitigation frameworks integrated into their quantum systems; Tencent and IQM are developing specialized solutions for specific use cases; while startups like QEDMA Quantum Computing offer dedicated error suppression software. Academic institutions including University of Chicago and Peking University contribute fundamental research, creating a competitive ecosystem where hardware providers increasingly differentiate through proprietary error mitigation capabilities.
Tencent Technology (Shenzhen) Co., Ltd.
Technical Solution: Tencent has developed a comprehensive error mitigation framework called "TenQure" that complements full QEC strategies. This framework incorporates multiple techniques including Zero-Noise Extrapolation (ZNE) with adaptive sampling to efficiently estimate zero-noise results[1]. Their approach includes a novel Bayesian inference method for error characterization that builds device-specific noise models with fewer calibration circuits than traditional approaches[2]. Tencent has also implemented a quantum circuit transformation technique that restructures quantum algorithms to minimize the impact of specific hardware error patterns identified through regular benchmarking[3]. Their cloud-based quantum computing platform integrates these error mitigation techniques as middleware services, allowing users to automatically apply appropriate error mitigation strategies based on circuit characteristics and execution requirements[4]. Additionally, Tencent has developed specialized error mitigation techniques for variational quantum algorithms that leverage the iterative nature of these algorithms to progressively refine error compensation parameters[5].
Strengths: Tencent's error mitigation techniques are tightly integrated with their cloud infrastructure, providing seamless access to users without requiring deep quantum expertise. Their adaptive approaches efficiently use computational resources by applying appropriate mitigation techniques based on circuit characteristics. Weaknesses: Their techniques are primarily software-based and depend on the underlying quantum hardware provided by partners, limiting their ability to implement hardware-level mitigations.
Intel Corp.
Technical Solution: Intel has developed a hardware-software co-design approach to error mitigation that complements full QEC. Their Horse Ridge cryogenic control chip enables precise qubit control with reduced thermal noise, operating at 4 Kelvin rather than millikelvin temperatures required by qubits themselves[1]. This proximity reduces signal latency and distortion, minimizing control errors. Intel's spin qubit technology inherently offers longer coherence times than superconducting qubits, providing a foundation for lower error rates[2]. On the software side, Intel Quantum SDK incorporates error-aware compilation techniques that optimize circuit mapping based on device-specific error characteristics[3]. They've also implemented pulse-level optimization that fine-tunes quantum operations to minimize gate errors through calibration and characterization[4]. Intel's error mitigation strategy includes specialized noise-resilient quantum algorithms designed to function effectively even in the presence of errors, particularly for near-term applications in chemistry and materials science[5].
Strengths: Intel's approach leverages their expertise in semiconductor manufacturing and classical computing architecture, resulting in highly scalable solutions with potential for integration with classical systems. Their focus on spin qubits provides naturally longer coherence times. Weaknesses: Their quantum computing technology is less mature compared to superconducting or trapped ion approaches, and their error mitigation techniques are still being validated at larger scales.
Key Innovations in Pre-QEC Error Reduction
Error mitigation techniques
PatentWO2022003134A1
Innovation
- A method that combines quasi-probability, symmetry verification, and error extrapolation by performing operations with different basis operations and error rates, using symmetry measurements to categorize state measurements and fit them to exponential decay curves, allowing for improved estimation of observables with reduced costs.
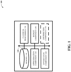
Quantum error mitigation using hardware-friendly probabilistic error correction
PatentPendingUS20220092460A1
Innovation
- A system comprising approximation, budget, and optimization components that generate an approximate decomposition of a quantum gate, set a budget for the C-factor to mitigate variance in quasi-probability sampling, and determine an optimal decomposition using iterative algorithms and Stinespring dilation to reduce errors, allowing for error mitigation without full fault tolerance.
Hardware-Software Co-design for Error Mitigation
Hardware-software co-design represents a critical frontier in quantum error mitigation, bridging the gap between physical hardware limitations and algorithmic requirements. This approach recognizes that error mitigation cannot be addressed solely through hardware improvements or software techniques in isolation, but requires coordinated development across both domains.
At the hardware level, designers are implementing configurable pulse sequences that can be dynamically adjusted based on software feedback. These adaptive control systems monitor qubit performance in real-time and modify control parameters to compensate for identified error patterns. Quantum processors are increasingly incorporating dedicated classical processing units that work in tandem with the quantum hardware to execute error mitigation protocols with minimal latency.
Software frameworks have evolved to incorporate hardware-specific error models, enabling mitigation techniques tailored to particular quantum processors. These frameworks analyze the error characteristics of specific hardware implementations and automatically select optimal mitigation strategies. Machine learning algorithms are being deployed to characterize hardware noise profiles and predict error patterns, allowing for preemptive mitigation before quantum algorithm execution.
The co-design approach has yielded several promising developments. Noise-aware compilers now map quantum circuits to hardware while accounting for device-specific error rates, selecting qubit connectivity patterns that minimize error propagation. Calibration protocols have become increasingly automated, with software systems continuously monitoring hardware performance and triggering recalibration when drift is detected.
Feedback loops between hardware and software layers represent a particularly effective co-design strategy. Error information gathered during algorithm execution informs hardware parameter adjustments for subsequent runs, creating a continuous improvement cycle. This adaptive approach has demonstrated significant error reduction compared to static mitigation techniques.
Industry-academic partnerships have accelerated progress in this domain, with hardware manufacturers collaborating with algorithm developers to create integrated solutions. These collaborations have produced specialized hardware features designed specifically to support particular error mitigation techniques, such as dedicated circuitry for zero-noise extrapolation or symmetry verification.
The co-design methodology ultimately aims to create quantum computing systems where hardware and software components are developed in concert, with each layer aware of and responsive to the constraints and capabilities of the other. This holistic approach promises to extend the practical utility of near-term quantum devices while the field continues to progress toward full quantum error correction.
At the hardware level, designers are implementing configurable pulse sequences that can be dynamically adjusted based on software feedback. These adaptive control systems monitor qubit performance in real-time and modify control parameters to compensate for identified error patterns. Quantum processors are increasingly incorporating dedicated classical processing units that work in tandem with the quantum hardware to execute error mitigation protocols with minimal latency.
Software frameworks have evolved to incorporate hardware-specific error models, enabling mitigation techniques tailored to particular quantum processors. These frameworks analyze the error characteristics of specific hardware implementations and automatically select optimal mitigation strategies. Machine learning algorithms are being deployed to characterize hardware noise profiles and predict error patterns, allowing for preemptive mitigation before quantum algorithm execution.
The co-design approach has yielded several promising developments. Noise-aware compilers now map quantum circuits to hardware while accounting for device-specific error rates, selecting qubit connectivity patterns that minimize error propagation. Calibration protocols have become increasingly automated, with software systems continuously monitoring hardware performance and triggering recalibration when drift is detected.
Feedback loops between hardware and software layers represent a particularly effective co-design strategy. Error information gathered during algorithm execution informs hardware parameter adjustments for subsequent runs, creating a continuous improvement cycle. This adaptive approach has demonstrated significant error reduction compared to static mitigation techniques.
Industry-academic partnerships have accelerated progress in this domain, with hardware manufacturers collaborating with algorithm developers to create integrated solutions. These collaborations have produced specialized hardware features designed specifically to support particular error mitigation techniques, such as dedicated circuitry for zero-noise extrapolation or symmetry verification.
The co-design methodology ultimately aims to create quantum computing systems where hardware and software components are developed in concert, with each layer aware of and responsive to the constraints and capabilities of the other. This holistic approach promises to extend the practical utility of near-term quantum devices while the field continues to progress toward full quantum error correction.
Benchmarking and Standardization of Error Mitigation Techniques
The standardization of error mitigation techniques represents a critical frontier in quantum computing research, particularly as these methods serve as complementary approaches to full Quantum Error Correction (QEC). Current benchmarking efforts face significant challenges due to the diversity of error mitigation methods and the lack of unified evaluation frameworks.
Industry leaders including IBM, Google, and Rigetti have begun developing proprietary benchmarking suites for their respective quantum systems, but these efforts remain largely siloed. The quantum computing community requires standardized metrics that can effectively compare the performance of different error mitigation techniques across various hardware platforms and problem domains.
Key performance indicators currently being explored include error reduction ratio, computational overhead, scalability limits, and applicability across different quantum algorithms. The Quantum Economic Development Consortium (QED-C) has recently initiated a working group focused on establishing industry-wide standards for evaluating error mitigation techniques, with particular emphasis on near-term applications in chemistry simulation and optimization problems.
Several academic institutions have proposed benchmark suites that include standardized test cases ranging from simple circuit preparations to more complex algorithmic implementations. These test cases are designed to stress different aspects of error mitigation techniques, including their ability to handle coherent errors, incoherent noise, and cross-talk effects.
The development of application-specific benchmarks represents another important trend, with researchers creating standardized test problems in domains such as quantum chemistry, optimization, and machine learning. These domain-specific benchmarks provide more realistic assessments of how error mitigation techniques perform in practical scenarios.
Open-source initiatives like Mitiq and Qiskit have begun incorporating standardized testing frameworks that allow researchers to compare different error mitigation approaches using consistent metrics and test cases. These frameworks are increasingly being adopted by the broader quantum computing community as de facto standards for evaluating new error mitigation methods.
Looking forward, the establishment of international standards organizations for quantum computing benchmarking appears inevitable. The IEEE Quantum Initiative and the International Organization for Standardization (ISO) have both signaled interest in developing formal standards for quantum computing performance metrics, including specific provisions for error mitigation techniques.
Industry leaders including IBM, Google, and Rigetti have begun developing proprietary benchmarking suites for their respective quantum systems, but these efforts remain largely siloed. The quantum computing community requires standardized metrics that can effectively compare the performance of different error mitigation techniques across various hardware platforms and problem domains.
Key performance indicators currently being explored include error reduction ratio, computational overhead, scalability limits, and applicability across different quantum algorithms. The Quantum Economic Development Consortium (QED-C) has recently initiated a working group focused on establishing industry-wide standards for evaluating error mitigation techniques, with particular emphasis on near-term applications in chemistry simulation and optimization problems.
Several academic institutions have proposed benchmark suites that include standardized test cases ranging from simple circuit preparations to more complex algorithmic implementations. These test cases are designed to stress different aspects of error mitigation techniques, including their ability to handle coherent errors, incoherent noise, and cross-talk effects.
The development of application-specific benchmarks represents another important trend, with researchers creating standardized test problems in domains such as quantum chemistry, optimization, and machine learning. These domain-specific benchmarks provide more realistic assessments of how error mitigation techniques perform in practical scenarios.
Open-source initiatives like Mitiq and Qiskit have begun incorporating standardized testing frameworks that allow researchers to compare different error mitigation approaches using consistent metrics and test cases. These frameworks are increasingly being adopted by the broader quantum computing community as de facto standards for evaluating new error mitigation methods.
Looking forward, the establishment of international standards organizations for quantum computing benchmarking appears inevitable. The IEEE Quantum Initiative and the International Organization for Standardization (ISO) have both signaled interest in developing formal standards for quantum computing performance metrics, including specific provisions for error mitigation techniques.
Unlock deeper insights with Patsnap Eureka Quick Research — get a full tech report to explore trends and direct your research. Try now!
Generate Your Research Report Instantly with AI Agent
Supercharge your innovation with Patsnap Eureka AI Agent Platform!







