How to Maximize Coverage with mmWave Beamforming
SEP 22, 20259 MIN READ
 Generate Your Research Report Instantly with AI Agent 
 Patsnap Eureka helps you evaluate technical feasibility & market potential. 
mmWave Beamforming Background and Objectives
Millimeter wave (mmWave) technology represents a significant advancement in wireless communication, operating in frequency bands between 30 GHz and 300 GHz. This spectrum offers substantial bandwidth capabilities, enabling multi-gigabit data rates essential for next-generation wireless networks. The evolution of mmWave technology began in the early 2000s with experimental research, gaining momentum with the standardization efforts for 5G networks around 2015, and now stands as a cornerstone technology for 6G development.
Beamforming, a signal processing technique that directs radio signals toward specific receiving devices, has become increasingly critical in mmWave implementations. Unlike conventional omnidirectional transmission, beamforming concentrates energy in desired directions, compensating for the high path loss characteristic of mmWave frequencies. The historical progression of beamforming techniques has evolved from simple switched beam systems to sophisticated adaptive arrays capable of dynamic beam adjustment.
The primary technical objective in maximizing mmWave beamforming coverage is to overcome the inherent propagation limitations of high-frequency signals. These limitations include severe path loss, atmospheric absorption, and poor penetration through obstacles. Achieving reliable coverage requires innovative approaches to beam management, synchronization, and channel estimation that can adapt to rapidly changing environments.
Current research aims to develop beamforming architectures that balance performance with hardware complexity and power consumption. Hybrid analog-digital beamforming has emerged as a promising approach, combining the flexibility of digital processing with the efficiency of analog implementations. Additionally, machine learning techniques are being explored to predict optimal beam patterns based on environmental conditions and user mobility patterns.
The technical goals for advanced mmWave beamforming systems include extending coverage range beyond current limitations of 100-200 meters, improving beam tracking for mobile users, reducing beam alignment latency, and enhancing multi-user support. These objectives are driving innovation in antenna array designs, signal processing algorithms, and system architectures.
Industry standardization efforts, particularly within 3GPP and IEEE, are establishing frameworks for mmWave beamforming implementation. These standards aim to ensure interoperability while allowing for technological differentiation. The evolution trajectory suggests that future mmWave systems will incorporate increasingly sophisticated beamforming techniques, potentially including reconfigurable intelligent surfaces and distributed antenna systems to further enhance coverage.
The convergence of mmWave technology with other emerging technologies, such as edge computing and network virtualization, presents opportunities for novel applications beyond traditional telecommunications, including high-precision positioning, sensing, and imaging capabilities that could transform industries ranging from healthcare to autonomous transportation.
Beamforming, a signal processing technique that directs radio signals toward specific receiving devices, has become increasingly critical in mmWave implementations. Unlike conventional omnidirectional transmission, beamforming concentrates energy in desired directions, compensating for the high path loss characteristic of mmWave frequencies. The historical progression of beamforming techniques has evolved from simple switched beam systems to sophisticated adaptive arrays capable of dynamic beam adjustment.
The primary technical objective in maximizing mmWave beamforming coverage is to overcome the inherent propagation limitations of high-frequency signals. These limitations include severe path loss, atmospheric absorption, and poor penetration through obstacles. Achieving reliable coverage requires innovative approaches to beam management, synchronization, and channel estimation that can adapt to rapidly changing environments.
Current research aims to develop beamforming architectures that balance performance with hardware complexity and power consumption. Hybrid analog-digital beamforming has emerged as a promising approach, combining the flexibility of digital processing with the efficiency of analog implementations. Additionally, machine learning techniques are being explored to predict optimal beam patterns based on environmental conditions and user mobility patterns.
The technical goals for advanced mmWave beamforming systems include extending coverage range beyond current limitations of 100-200 meters, improving beam tracking for mobile users, reducing beam alignment latency, and enhancing multi-user support. These objectives are driving innovation in antenna array designs, signal processing algorithms, and system architectures.
Industry standardization efforts, particularly within 3GPP and IEEE, are establishing frameworks for mmWave beamforming implementation. These standards aim to ensure interoperability while allowing for technological differentiation. The evolution trajectory suggests that future mmWave systems will incorporate increasingly sophisticated beamforming techniques, potentially including reconfigurable intelligent surfaces and distributed antenna systems to further enhance coverage.
The convergence of mmWave technology with other emerging technologies, such as edge computing and network virtualization, presents opportunities for novel applications beyond traditional telecommunications, including high-precision positioning, sensing, and imaging capabilities that could transform industries ranging from healthcare to autonomous transportation.
Market Analysis for mmWave Coverage Solutions
The millimeter wave (mmWave) market is experiencing significant growth, driven by increasing demand for high-speed data transmission and the global rollout of 5G networks. Current market projections indicate that the mmWave technology market will reach approximately $3.2 billion by 2027, with a compound annual growth rate (CAGR) of 35.2% from 2022 to 2027. This remarkable growth trajectory is primarily fueled by the telecommunications sector, where mmWave technology is critical for delivering the promised multi-gigabit speeds of 5G networks.
The demand for mmWave beamforming solutions is particularly strong in densely populated urban areas, where network congestion is a persistent challenge. Telecommunications operators are increasingly investing in mmWave infrastructure to alleviate bandwidth constraints and deliver enhanced user experiences. Market research indicates that North America currently leads in mmWave deployment, followed by Asia-Pacific and Europe, with the latter two regions expected to accelerate adoption in the coming years.
Consumer electronics represents another significant market segment for mmWave technology. The integration of mmWave capabilities in smartphones, tablets, and other connected devices is creating new opportunities for enhanced connectivity and application development. Industry analysts predict that by 2025, over 40% of premium smartphones will incorporate mmWave technology, up from less than 15% in 2021.
Vertical industries such as healthcare, automotive, and industrial automation are emerging as promising markets for mmWave applications. In healthcare, mmWave technology enables high-resolution imaging and non-invasive monitoring. The automotive sector is leveraging mmWave radar for advanced driver assistance systems (ADAS) and autonomous driving capabilities. Industrial automation benefits from mmWave technology for high-precision sensing and control applications.
Despite the promising market outlook, several factors are influencing adoption rates. The high cost of mmWave infrastructure deployment remains a significant barrier, particularly for smaller telecommunications operators. Technical challenges related to signal propagation and coverage limitations also impact market growth. Regulatory frameworks vary across regions, creating a complex landscape for global deployment strategies.
Customer expectations are evolving rapidly, with increasing demands for seamless connectivity and low-latency applications. This trend is driving innovation in mmWave beamforming solutions that can maximize coverage while maintaining performance standards. Market research indicates that solutions offering enhanced indoor penetration capabilities and extended range are likely to capture significant market share in the coming years.
The demand for mmWave beamforming solutions is particularly strong in densely populated urban areas, where network congestion is a persistent challenge. Telecommunications operators are increasingly investing in mmWave infrastructure to alleviate bandwidth constraints and deliver enhanced user experiences. Market research indicates that North America currently leads in mmWave deployment, followed by Asia-Pacific and Europe, with the latter two regions expected to accelerate adoption in the coming years.
Consumer electronics represents another significant market segment for mmWave technology. The integration of mmWave capabilities in smartphones, tablets, and other connected devices is creating new opportunities for enhanced connectivity and application development. Industry analysts predict that by 2025, over 40% of premium smartphones will incorporate mmWave technology, up from less than 15% in 2021.
Vertical industries such as healthcare, automotive, and industrial automation are emerging as promising markets for mmWave applications. In healthcare, mmWave technology enables high-resolution imaging and non-invasive monitoring. The automotive sector is leveraging mmWave radar for advanced driver assistance systems (ADAS) and autonomous driving capabilities. Industrial automation benefits from mmWave technology for high-precision sensing and control applications.
Despite the promising market outlook, several factors are influencing adoption rates. The high cost of mmWave infrastructure deployment remains a significant barrier, particularly for smaller telecommunications operators. Technical challenges related to signal propagation and coverage limitations also impact market growth. Regulatory frameworks vary across regions, creating a complex landscape for global deployment strategies.
Customer expectations are evolving rapidly, with increasing demands for seamless connectivity and low-latency applications. This trend is driving innovation in mmWave beamforming solutions that can maximize coverage while maintaining performance standards. Market research indicates that solutions offering enhanced indoor penetration capabilities and extended range are likely to capture significant market share in the coming years.
Current Challenges in mmWave Beamforming Technology
Despite the promising potential of millimeter wave (mmWave) technology for 5G and beyond, several significant technical challenges currently impede the maximization of coverage with mmWave beamforming. The most fundamental challenge stems from the inherent propagation characteristics of mmWave signals, which suffer from severe path loss, atmospheric absorption, and poor penetration through obstacles. These physical limitations drastically reduce the effective coverage range compared to sub-6 GHz frequencies, often restricting mmWave deployments to line-of-sight scenarios within a few hundred meters.
Beam management presents another critical challenge, as mmWave systems require highly directional narrow beams to compensate for propagation losses. The initial beam alignment process is particularly problematic, requiring sophisticated algorithms to efficiently search through numerous possible beam directions. This challenge is compounded by the need for rapid beam tracking to maintain connectivity with mobile users, which demands significant computational resources and introduces latency concerns.
Hardware limitations further constrain mmWave beamforming performance. Current analog and hybrid beamforming architectures face trade-offs between flexibility, power consumption, and implementation complexity. The high power consumption of mmWave RF chains remains problematic for mobile devices, while phase shifter resolution limitations and hardware impairments like phase noise and I/Q imbalance degrade beamforming accuracy.
Channel estimation represents another substantial hurdle, as the high dimensionality of mmWave MIMO channels makes traditional estimation techniques computationally prohibitive. The sparse nature of mmWave channels offers potential simplifications, but developing efficient channel estimation methods that balance accuracy and overhead remains challenging, particularly in dynamic environments with mobile users.
Network densification, while necessary for mmWave coverage, introduces its own set of challenges. The deployment of numerous small cells creates significant backhaul requirements and increases network management complexity. Interference management becomes more intricate in dense deployments, requiring sophisticated coordination mechanisms between neighboring cells.
Mobility support presents perhaps the most formidable challenge for widespread mmWave adoption. The narrow beams that enable high-gain directional transmission become vulnerability points during user movement, potentially causing frequent handovers or connection drops. Developing robust mobility management protocols that can maintain seamless connectivity across multiple small cells remains an open research problem.
Energy efficiency concerns also persist, as the power requirements for mmWave beamforming arrays and the associated signal processing can be substantial, particularly for mobile devices with limited battery capacity.
Beam management presents another critical challenge, as mmWave systems require highly directional narrow beams to compensate for propagation losses. The initial beam alignment process is particularly problematic, requiring sophisticated algorithms to efficiently search through numerous possible beam directions. This challenge is compounded by the need for rapid beam tracking to maintain connectivity with mobile users, which demands significant computational resources and introduces latency concerns.
Hardware limitations further constrain mmWave beamforming performance. Current analog and hybrid beamforming architectures face trade-offs between flexibility, power consumption, and implementation complexity. The high power consumption of mmWave RF chains remains problematic for mobile devices, while phase shifter resolution limitations and hardware impairments like phase noise and I/Q imbalance degrade beamforming accuracy.
Channel estimation represents another substantial hurdle, as the high dimensionality of mmWave MIMO channels makes traditional estimation techniques computationally prohibitive. The sparse nature of mmWave channels offers potential simplifications, but developing efficient channel estimation methods that balance accuracy and overhead remains challenging, particularly in dynamic environments with mobile users.
Network densification, while necessary for mmWave coverage, introduces its own set of challenges. The deployment of numerous small cells creates significant backhaul requirements and increases network management complexity. Interference management becomes more intricate in dense deployments, requiring sophisticated coordination mechanisms between neighboring cells.
Mobility support presents perhaps the most formidable challenge for widespread mmWave adoption. The narrow beams that enable high-gain directional transmission become vulnerability points during user movement, potentially causing frequent handovers or connection drops. Developing robust mobility management protocols that can maintain seamless connectivity across multiple small cells remains an open research problem.
Energy efficiency concerns also persist, as the power requirements for mmWave beamforming arrays and the associated signal processing can be substantial, particularly for mobile devices with limited battery capacity.
Current Beamforming Techniques for Coverage Maximization
- 01 Beamforming techniques for enhanced mmWave coverageVarious beamforming techniques can be employed to improve mmWave coverage in wireless communication systems. These techniques include adaptive beamforming, multi-beam forming, and beam steering algorithms that dynamically adjust beam patterns to overcome the high path loss and blockage issues inherent in mmWave frequencies. By optimizing beam direction and width based on user location and channel conditions, these methods significantly extend coverage range and improve signal quality in mmWave deployments.- Beamforming techniques for enhanced mmWave coverage: Various beamforming techniques can be implemented to improve mmWave coverage in wireless communication systems. These techniques include adaptive beamforming, multi-beam forming, and beam steering algorithms that dynamically adjust the direction and shape of the beam to overcome the high path loss and blockage issues inherent in mmWave frequencies. By optimizing the beam patterns and directions, these techniques can significantly extend the coverage area while maintaining high data rates.
- Multi-antenna array configurations for mmWave coverage: Different antenna array configurations can be utilized to enhance mmWave beamforming coverage. These include uniform linear arrays, uniform planar arrays, and distributed antenna systems. The number, spacing, and arrangement of antenna elements significantly impact the beamforming performance and coverage area. Advanced antenna array designs with optimized element spacing and orientation can provide wider coverage angles and better signal penetration in challenging environments.
- Hybrid beamforming architectures for mmWave systems: Hybrid beamforming architectures combine analog and digital beamforming techniques to achieve a balance between performance and hardware complexity in mmWave systems. These architectures use a reduced number of RF chains compared to fully digital systems while still providing sufficient degrees of freedom for effective beamforming. This approach helps to extend coverage while managing power consumption and implementation costs, making it suitable for practical mmWave deployments in various environments.
- Beam management and tracking for mobile mmWave coverage: Effective beam management and tracking mechanisms are essential for maintaining consistent coverage in mobile mmWave scenarios. These mechanisms include beam tracking algorithms, beam switching protocols, and predictive beam selection techniques that can quickly adapt to user movement and environmental changes. By continuously monitoring channel conditions and user mobility patterns, these systems can maintain optimal beam alignment and seamless coverage even when users are moving or when obstacles appear in the signal path.
- Network coordination for expanded mmWave coverage: Coordinated multi-point transmission and reception techniques can be employed to expand mmWave coverage through network coordination. This approach involves multiple base stations or access points working together to provide consistent coverage across a larger area. Techniques such as coordinated beamforming, joint transmission, and interference management allow for seamless handovers between coverage areas and improved signal quality at cell edges, effectively addressing the limited coverage range of individual mmWave cells.
 
- 02 Multi-antenna array configurations for mmWave coverageSpecialized antenna array configurations play a crucial role in extending mmWave coverage. These include massive MIMO arrays, phased arrays, and hybrid beamforming architectures that combine multiple antenna elements to create highly directional beams. The physical arrangement, spacing, and number of antenna elements significantly impact the coverage capabilities of mmWave systems. Advanced array designs enable wider coverage angles while maintaining sufficient gain to overcome propagation challenges at millimeter wave frequencies.Expand Specific Solutions
- 03 Beam management protocols for maintaining mmWave coverageBeam management protocols are essential for maintaining consistent coverage in mmWave networks. These include beam tracking, beam switching, and beam recovery mechanisms that continuously monitor connection quality and adapt to changing environments. When obstacles block the primary signal path, these protocols quickly establish alternative beam pairs between base stations and user equipment. Efficient beam management reduces coverage gaps and ensures seamless connectivity even in dynamic scenarios with mobile users or changing propagation conditions.Expand Specific Solutions
- 04 Network architecture solutions for mmWave coverage extensionNetwork architecture innovations help overcome the inherent coverage limitations of mmWave systems. These include heterogeneous network deployments that combine mmWave small cells with sub-6GHz macro cells, relay-based coverage extension, and coordinated multipoint transmission techniques. Distributed antenna systems and intelligent reflecting surfaces can also redirect mmWave signals around obstacles. These architectural approaches create robust coverage layers that maintain connectivity when direct mmWave links are unavailable.Expand Specific Solutions
- 05 AI and machine learning for optimizing mmWave beamforming coverageArtificial intelligence and machine learning algorithms are increasingly used to optimize mmWave beamforming coverage. These approaches leverage historical data and real-time measurements to predict optimal beam patterns, anticipate user movements, and proactively adjust coverage. Machine learning models can identify patterns in signal propagation, user behavior, and environmental changes to make intelligent beamforming decisions. This reduces beam training overhead and enables more efficient resource allocation, resulting in expanded coverage areas and improved quality of service in mmWave networks.Expand Specific Solutions
Key Industry Players in mmWave Technology
The mmWave beamforming coverage maximization market is currently in a growth phase, with an estimated market size of $4-5 billion and projected CAGR of 25% through 2025. The competitive landscape features established telecommunications giants alongside emerging specialists. Huawei, Qualcomm, and Ericsson lead with mature beamforming solutions, leveraging extensive 5G infrastructure deployments. NEC, Samsung, and Nokia follow with strong technical capabilities but narrower implementation scope. The technology maturity varies significantly: Huawei and Qualcomm demonstrate advanced algorithms for multi-user beamforming, while MediaTek and NXP focus on cost-effective implementations for mass-market adoption. Academic-industry partnerships, particularly involving Xi'an Jiaotong University and IIT Delhi, are accelerating innovation in beam management techniques and coverage optimization algorithms.
Huawei Technologies Co., Ltd.
Technical Solution:  Huawei has developed an advanced mmWave beamforming solution that combines AI-driven beam management with multi-panel array architecture. Their approach utilizes machine learning algorithms to predict optimal beam directions based on user movement patterns and environmental factors, significantly reducing beam training overhead[1]. The system employs a hierarchical beam search strategy with wide beams for initial coverage followed by narrow beams for high data rates. Huawei's implementation includes a dynamic codebook adaptation technique that continuously updates beamforming vectors based on real-time channel conditions[3]. Their solution also features a multi-connectivity framework where users can maintain simultaneous connections to multiple mmWave access points, ensuring seamless coverage during mobility scenarios. Additionally, Huawei has pioneered hybrid beamforming architectures that balance digital and analog beamforming to optimize both coverage and energy efficiency[5].
Strengths: Superior beam tracking capabilities for mobile users; excellent integration with sub-6GHz systems for reliable fallback; industry-leading energy efficiency in mmWave deployments. Weaknesses: Higher implementation complexity requiring specialized hardware; potentially higher cost compared to simpler solutions; greater computational demands for real-time beam management.
QUALCOMM, Inc.
Technical Solution:  Qualcomm has pioneered a comprehensive mmWave beamforming solution centered around their QTM527 antenna module, which integrates multiple phased array antennas to achieve extended range and coverage. Their approach employs a sophisticated beam steering algorithm that can dynamically adjust to changing environmental conditions and user mobility patterns[2]. The system utilizes a dual-layer beam management framework with fast beam tracking capabilities that maintain connectivity even during rapid user movements. Qualcomm's implementation includes proprietary signal processing techniques that enhance beam penetration through common building materials, extending indoor coverage from outdoor mmWave nodes[4]. Their solution also features an adaptive beam switching mechanism that seamlessly transitions between optimal beams based on real-time channel quality measurements, minimizing service interruptions. Additionally, Qualcomm has developed specialized power management techniques that optimize energy consumption during beamforming operations, extending battery life in mobile devices while maintaining robust mmWave connections[7].
Strengths: Exceptional integration with mobile chipsets providing end-to-end optimization; superior power efficiency for mobile devices; extensive field testing and commercial deployment experience. Weaknesses: Proprietary nature of some technologies may limit interoperability; higher implementation costs for network operators; requires specialized hardware components.
Critical Patents and Research in mmWave Beamforming
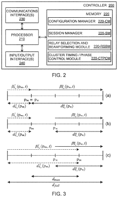
Relay beamforming with predictive relay selection for millimeter wave communications 
PatentActiveUS11943038B2
 Innovation 
- The implementation of a resource-efficient relay selection scheme that uses predictive and distributed methods to optimize relay-assisted beamforming in 2-hop Amplify-and-Forward (AF) cooperative networks, leveraging channel correlations to reduce latency and CSI estimation overhead, and employing static relays deployed in clusters to enhance QoS by selecting representative relays based on maximized minimum mean square error (MMSE) predictions.
Optimal Beamforming in Millimeter-Wave Cellular Networks Using Multiple Random Access Preambles 
PatentActiveUS20200100290A1
 Innovation 
- The use of multiple random access channel (RACH) preambles to signal multiple best downlink transmit beams, allowing the base station to calculate an optimal beamformer, which enhances signal strength and coverage by combining multiple beams weighted according to their relative power, thereby improving beam alignment and reducing latency.
Regulatory Framework for mmWave Spectrum Allocation
The regulatory landscape for mmWave spectrum allocation represents a critical framework that shapes the deployment and effectiveness of mmWave beamforming technologies. Globally, regulatory bodies such as the Federal Communications Commission (FCC) in the United States, the European Conference of Postal and Telecommunications Administrations (CEPT) in Europe, and similar organizations in Asia have established varying approaches to mmWave spectrum management.
In the United States, the FCC has allocated substantial portions of the spectrum above 24 GHz for 5G services, including the 24 GHz, 28 GHz, 37 GHz, 39 GHz, and 47 GHz bands. These allocations have been accompanied by specific technical requirements for power limits, out-of-band emissions, and coordination procedures designed to minimize interference while maximizing coverage potential through advanced beamforming techniques.
The European regulatory framework, coordinated through CEPT and implemented by national regulatory authorities, has focused on the 26 GHz band (24.25-27.5 GHz) as the primary mmWave band for 5G deployment. This harmonized approach aims to facilitate cross-border coordination and equipment standardization, which directly impacts beamforming implementation strategies across the continent.
Asian markets present a diverse regulatory landscape. Japan and South Korea have been particularly aggressive in allocating mmWave spectrum, with Japan assigning portions of the 28 GHz band and South Korea utilizing both 28 GHz and 39 GHz bands. China has focused more on mid-band spectrum but is gradually expanding into mmWave frequencies with experimental licenses and trials.
These regulatory frameworks significantly impact beamforming coverage maximization strategies through several mechanisms. First, power limitations directly affect the range and penetration capabilities of mmWave signals. Higher permitted power levels enable more effective beamforming over longer distances, particularly important for outdoor deployments.
Second, spectrum block size allocations influence channel bandwidth availability. Larger contiguous blocks enable higher data rates and more flexible beamforming configurations, allowing operators to implement more sophisticated coverage optimization algorithms.
Third, licensing models (exclusive use, shared access, or unlicensed) determine deployment flexibility. Exclusive licenses provide certainty for investment in advanced beamforming infrastructure, while shared or unlicensed models may require more sophisticated interference mitigation techniques within beamforming systems.
The evolution of these regulatory frameworks continues to adapt to technological advancements in beamforming. Recent trends include the exploration of dynamic spectrum sharing models, the development of automated frequency coordination systems, and the implementation of geographic-based licensing to enable more targeted and efficient mmWave deployments with optimized beamforming configurations.
In the United States, the FCC has allocated substantial portions of the spectrum above 24 GHz for 5G services, including the 24 GHz, 28 GHz, 37 GHz, 39 GHz, and 47 GHz bands. These allocations have been accompanied by specific technical requirements for power limits, out-of-band emissions, and coordination procedures designed to minimize interference while maximizing coverage potential through advanced beamforming techniques.
The European regulatory framework, coordinated through CEPT and implemented by national regulatory authorities, has focused on the 26 GHz band (24.25-27.5 GHz) as the primary mmWave band for 5G deployment. This harmonized approach aims to facilitate cross-border coordination and equipment standardization, which directly impacts beamforming implementation strategies across the continent.
Asian markets present a diverse regulatory landscape. Japan and South Korea have been particularly aggressive in allocating mmWave spectrum, with Japan assigning portions of the 28 GHz band and South Korea utilizing both 28 GHz and 39 GHz bands. China has focused more on mid-band spectrum but is gradually expanding into mmWave frequencies with experimental licenses and trials.
These regulatory frameworks significantly impact beamforming coverage maximization strategies through several mechanisms. First, power limitations directly affect the range and penetration capabilities of mmWave signals. Higher permitted power levels enable more effective beamforming over longer distances, particularly important for outdoor deployments.
Second, spectrum block size allocations influence channel bandwidth availability. Larger contiguous blocks enable higher data rates and more flexible beamforming configurations, allowing operators to implement more sophisticated coverage optimization algorithms.
Third, licensing models (exclusive use, shared access, or unlicensed) determine deployment flexibility. Exclusive licenses provide certainty for investment in advanced beamforming infrastructure, while shared or unlicensed models may require more sophisticated interference mitigation techniques within beamforming systems.
The evolution of these regulatory frameworks continues to adapt to technological advancements in beamforming. Recent trends include the exploration of dynamic spectrum sharing models, the development of automated frequency coordination systems, and the implementation of geographic-based licensing to enable more targeted and efficient mmWave deployments with optimized beamforming configurations.
Energy Efficiency Considerations in mmWave Deployment
The deployment of millimeter wave (mmWave) technology presents significant energy consumption challenges that must be addressed to ensure commercial viability. Power consumption in mmWave systems is substantially higher than in traditional cellular networks due to the increased number of antenna elements required for beamforming and the higher operating frequencies. This necessitates careful consideration of energy efficiency throughout the network design process.
Beamforming architectures significantly impact energy consumption profiles. Hybrid beamforming approaches, which combine analog and digital beamforming techniques, offer a promising middle ground between performance and energy efficiency. These systems reduce the number of required RF chains while maintaining adequate coverage capabilities. Research indicates that optimizing the balance between digital and analog components can yield energy savings of 30-40% compared to fully digital implementations.
Adaptive power control mechanisms represent another critical strategy for energy conservation in mmWave networks. By dynamically adjusting transmission power based on channel conditions, user density, and coverage requirements, these systems can substantially reduce energy waste. Machine learning algorithms that predict optimal power settings based on historical data and environmental factors have demonstrated energy savings of up to 25% in field trials without compromising coverage quality.
Sleep mode optimization presents a particularly promising avenue for energy conservation. Given the directional nature of mmWave transmissions, intelligent scheduling of antenna array elements can allow portions of the system to enter low-power states when not actively serving users. Advanced sleep mode protocols that incorporate predictive traffic modeling have shown potential to reduce base station energy consumption by 35-45% during low-traffic periods while maintaining rapid response capabilities for coverage demands.
Thermal management considerations also play a crucial role in energy efficiency. The compact nature of mmWave equipment combined with high power densities creates significant cooling challenges. Passive cooling solutions and advanced thermal materials can reduce the energy overhead associated with temperature management by 15-20%, directly improving the overall energy profile of mmWave deployments while ensuring consistent coverage performance.
Energy harvesting technologies are emerging as complementary solutions for mmWave systems, particularly for small cell deployments. Solar, vibration, and RF energy harvesting techniques can supplement grid power, especially in remote or difficult-to-access locations. While these technologies currently provide only 5-10% of total energy requirements, ongoing research suggests potential for significant improvements that could enhance the sustainability of widespread mmWave coverage.
Beamforming architectures significantly impact energy consumption profiles. Hybrid beamforming approaches, which combine analog and digital beamforming techniques, offer a promising middle ground between performance and energy efficiency. These systems reduce the number of required RF chains while maintaining adequate coverage capabilities. Research indicates that optimizing the balance between digital and analog components can yield energy savings of 30-40% compared to fully digital implementations.
Adaptive power control mechanisms represent another critical strategy for energy conservation in mmWave networks. By dynamically adjusting transmission power based on channel conditions, user density, and coverage requirements, these systems can substantially reduce energy waste. Machine learning algorithms that predict optimal power settings based on historical data and environmental factors have demonstrated energy savings of up to 25% in field trials without compromising coverage quality.
Sleep mode optimization presents a particularly promising avenue for energy conservation. Given the directional nature of mmWave transmissions, intelligent scheduling of antenna array elements can allow portions of the system to enter low-power states when not actively serving users. Advanced sleep mode protocols that incorporate predictive traffic modeling have shown potential to reduce base station energy consumption by 35-45% during low-traffic periods while maintaining rapid response capabilities for coverage demands.
Thermal management considerations also play a crucial role in energy efficiency. The compact nature of mmWave equipment combined with high power densities creates significant cooling challenges. Passive cooling solutions and advanced thermal materials can reduce the energy overhead associated with temperature management by 15-20%, directly improving the overall energy profile of mmWave deployments while ensuring consistent coverage performance.
Energy harvesting technologies are emerging as complementary solutions for mmWave systems, particularly for small cell deployments. Solar, vibration, and RF energy harvesting techniques can supplement grid power, especially in remote or difficult-to-access locations. While these technologies currently provide only 5-10% of total energy requirements, ongoing research suggests potential for significant improvements that could enhance the sustainability of widespread mmWave coverage.
 Unlock deeper insights with  Patsnap Eureka Quick Research — get a full tech report to explore trends and direct your research. Try now! 
 Generate Your Research Report Instantly with AI Agent 
 Supercharge your innovation with Patsnap Eureka AI Agent Platform! 







