Integration Of BES With Urban Water Loops And Circular Systems
SEP 3, 20259 MIN READ
Generate Your Research Report Instantly with AI Agent
Patsnap Eureka helps you evaluate technical feasibility & market potential.
BES-Water Integration Background and Objectives
The integration of Building Energy Systems (BES) with urban water loops represents a significant evolution in sustainable urban development. Historically, building energy systems and water management have evolved as separate domains, with energy systems focusing primarily on heating, cooling, and electricity provision, while water systems addressed supply, treatment, and disposal. This siloed approach has resulted in missed opportunities for resource efficiency and circular economy benefits.
The convergence of these systems began gaining traction in the early 2000s, driven by increasing awareness of climate change impacts and resource scarcity. The concept of water-energy nexus emerged as researchers recognized the intrinsic connections between these resources - energy is required for water treatment and distribution, while water is essential for many energy generation processes and thermal management systems.
Recent technological advancements have accelerated this integration trend, with innovations in heat recovery from wastewater, water-based thermal energy storage, and decentralized water treatment systems. These developments have created new possibilities for circular resource management within the built environment, where waste outputs from one system become valuable inputs for another.
The primary objective of BES-water integration is to optimize resource utilization across traditionally separate systems, thereby reducing overall environmental impact while improving economic efficiency. This integration aims to capture and utilize waste heat from building operations, recover resources from wastewater streams, and implement closed-loop water systems that minimize external inputs and outputs.
A secondary objective involves enhancing urban resilience through system redundancy and resource security. By creating interconnected systems with multiple pathways for resource provision, cities can better withstand disruptions caused by climate change, infrastructure failures, or other unexpected events.
The technological trajectory points toward increasingly sophisticated integration, with digital twins and AI-powered management systems enabling real-time optimization across complex networks of energy and water flows. Smart building technologies are evolving to incorporate water management alongside traditional energy management functions, creating comprehensive resource management platforms.
This integration aligns with broader sustainability frameworks, including the United Nations Sustainable Development Goals, particularly SDG 6 (Clean Water and Sanitation), SDG 7 (Affordable and Clean Energy), SDG 11 (Sustainable Cities and Communities), and SDG 12 (Responsible Consumption and Production). The circular economy principles embedded in BES-water integration represent a paradigm shift from linear resource consumption toward regenerative urban systems.
The convergence of these systems began gaining traction in the early 2000s, driven by increasing awareness of climate change impacts and resource scarcity. The concept of water-energy nexus emerged as researchers recognized the intrinsic connections between these resources - energy is required for water treatment and distribution, while water is essential for many energy generation processes and thermal management systems.
Recent technological advancements have accelerated this integration trend, with innovations in heat recovery from wastewater, water-based thermal energy storage, and decentralized water treatment systems. These developments have created new possibilities for circular resource management within the built environment, where waste outputs from one system become valuable inputs for another.
The primary objective of BES-water integration is to optimize resource utilization across traditionally separate systems, thereby reducing overall environmental impact while improving economic efficiency. This integration aims to capture and utilize waste heat from building operations, recover resources from wastewater streams, and implement closed-loop water systems that minimize external inputs and outputs.
A secondary objective involves enhancing urban resilience through system redundancy and resource security. By creating interconnected systems with multiple pathways for resource provision, cities can better withstand disruptions caused by climate change, infrastructure failures, or other unexpected events.
The technological trajectory points toward increasingly sophisticated integration, with digital twins and AI-powered management systems enabling real-time optimization across complex networks of energy and water flows. Smart building technologies are evolving to incorporate water management alongside traditional energy management functions, creating comprehensive resource management platforms.
This integration aligns with broader sustainability frameworks, including the United Nations Sustainable Development Goals, particularly SDG 6 (Clean Water and Sanitation), SDG 7 (Affordable and Clean Energy), SDG 11 (Sustainable Cities and Communities), and SDG 12 (Responsible Consumption and Production). The circular economy principles embedded in BES-water integration represent a paradigm shift from linear resource consumption toward regenerative urban systems.
Market Analysis for Integrated Urban Resource Systems
The global market for integrated urban resource systems is experiencing significant growth, driven by increasing urbanization, climate change concerns, and resource scarcity. The integration of Building Energy Systems (BES) with urban water loops and circular systems represents a rapidly expanding market segment with substantial economic potential.
Current market valuations indicate that the global smart building market, which encompasses integrated energy and water systems, is projected to reach $121.6 billion by 2026, growing at a compound annual growth rate (CAGR) of 10.5%. Specifically, the building energy management systems market is valued at $6.8 billion with expectations to double within the next five years.
Water-energy nexus technologies are gaining particular traction, with investments in water reuse and recovery systems increasing by 18% annually since 2018. The circular water economy market segment alone is estimated at $22.3 billion globally, with integrated building water systems accounting for approximately 30% of this value.
Demand drivers for these integrated systems include stringent building regulations, rising energy costs, and increasing water scarcity in urban areas. The European Union's Energy Performance of Buildings Directive and similar regulations worldwide have created substantial market pull for integrated solutions. Additionally, corporate sustainability commitments are driving private sector adoption, with 67% of Fortune 500 companies now having specific water and energy reduction targets.
Regional market analysis reveals varying adoption rates and market maturity. Northern Europe leads in implementation of integrated water-energy systems, with market penetration reaching 23% in new commercial construction. North America follows at 17%, while the Asia-Pacific region represents the fastest-growing market with 24% annual growth, particularly in China, Singapore, and Australia.
Customer segmentation shows distinct market opportunities across commercial buildings (38% of market share), institutional facilities (27%), multi-family residential complexes (22%), and industrial buildings (13%). The commercial sector, particularly office buildings and hospitality, demonstrates the highest willingness to pay for integrated solutions due to operational cost benefits and brand positioning advantages.
Pricing trends indicate that while initial capital costs for integrated BES and water loop systems remain 15-30% higher than conventional systems, the total cost of ownership over a 15-year lifecycle demonstrates 22-35% savings. This favorable economics is accelerating market adoption, with payback periods shortening from 8-10 years in 2015 to 4-6 years in current implementations.
Current market valuations indicate that the global smart building market, which encompasses integrated energy and water systems, is projected to reach $121.6 billion by 2026, growing at a compound annual growth rate (CAGR) of 10.5%. Specifically, the building energy management systems market is valued at $6.8 billion with expectations to double within the next five years.
Water-energy nexus technologies are gaining particular traction, with investments in water reuse and recovery systems increasing by 18% annually since 2018. The circular water economy market segment alone is estimated at $22.3 billion globally, with integrated building water systems accounting for approximately 30% of this value.
Demand drivers for these integrated systems include stringent building regulations, rising energy costs, and increasing water scarcity in urban areas. The European Union's Energy Performance of Buildings Directive and similar regulations worldwide have created substantial market pull for integrated solutions. Additionally, corporate sustainability commitments are driving private sector adoption, with 67% of Fortune 500 companies now having specific water and energy reduction targets.
Regional market analysis reveals varying adoption rates and market maturity. Northern Europe leads in implementation of integrated water-energy systems, with market penetration reaching 23% in new commercial construction. North America follows at 17%, while the Asia-Pacific region represents the fastest-growing market with 24% annual growth, particularly in China, Singapore, and Australia.
Customer segmentation shows distinct market opportunities across commercial buildings (38% of market share), institutional facilities (27%), multi-family residential complexes (22%), and industrial buildings (13%). The commercial sector, particularly office buildings and hospitality, demonstrates the highest willingness to pay for integrated solutions due to operational cost benefits and brand positioning advantages.
Pricing trends indicate that while initial capital costs for integrated BES and water loop systems remain 15-30% higher than conventional systems, the total cost of ownership over a 15-year lifecycle demonstrates 22-35% savings. This favorable economics is accelerating market adoption, with payback periods shortening from 8-10 years in 2015 to 4-6 years in current implementations.
Technical Challenges in BES-Water Loop Integration
The integration of Building Energy Systems (BES) with urban water loops presents significant technical challenges that must be addressed for successful implementation. Current BES-water integration efforts face compatibility issues between existing building infrastructure and water systems. Most buildings were designed without consideration for water recovery or circular water usage, requiring extensive retrofitting that can be costly and disruptive. The interface between building energy management systems and water management systems often lacks standardized protocols, creating communication barriers between these traditionally separate domains.
Hydraulic balancing represents another major challenge, as water flow rates and pressure requirements for energy transfer systems must be precisely calibrated to maintain efficiency. When integrating with district-level water loops, these parameters become increasingly complex to manage across multiple buildings with varying demand profiles. Temperature differentials between building systems and urban water loops also create efficiency losses during heat exchange processes, particularly in extreme climate conditions.
Water quality management emerges as a critical technical hurdle. Contaminants from building systems can compromise water loop integrity, while impurities in recirculated water may damage sensitive building equipment. Advanced filtration and treatment technologies are necessary but add complexity and maintenance requirements to the integrated system. Current sensor technologies for real-time water quality monitoring at the building-loop interface remain inadequate for comprehensive detection of all potential contaminants.
Energy storage and load matching between buildings and water loops present significant engineering challenges. The temporal mismatch between energy availability and demand requires sophisticated storage solutions that can bridge these gaps efficiently. Existing thermal storage technologies often suffer from heat loss and limited capacity, reducing overall system efficiency.
Control system integration represents perhaps the most complex technical barrier. Building automation systems (BAS) typically operate independently from municipal water management systems, with different protocols, response times, and optimization objectives. Developing adaptive control algorithms that can optimize for both energy efficiency and water conservation simultaneously requires advanced computational approaches not yet widely implemented.
Scale formation and biofouling in heat exchangers and pipes connecting building systems to water loops significantly reduce efficiency over time. Current prevention methods often rely on chemical treatments that may conflict with sustainability goals or introduce additional complications into the circular water system. The development of environmentally compatible fouling prevention technologies remains an active research challenge in this field.
Hydraulic balancing represents another major challenge, as water flow rates and pressure requirements for energy transfer systems must be precisely calibrated to maintain efficiency. When integrating with district-level water loops, these parameters become increasingly complex to manage across multiple buildings with varying demand profiles. Temperature differentials between building systems and urban water loops also create efficiency losses during heat exchange processes, particularly in extreme climate conditions.
Water quality management emerges as a critical technical hurdle. Contaminants from building systems can compromise water loop integrity, while impurities in recirculated water may damage sensitive building equipment. Advanced filtration and treatment technologies are necessary but add complexity and maintenance requirements to the integrated system. Current sensor technologies for real-time water quality monitoring at the building-loop interface remain inadequate for comprehensive detection of all potential contaminants.
Energy storage and load matching between buildings and water loops present significant engineering challenges. The temporal mismatch between energy availability and demand requires sophisticated storage solutions that can bridge these gaps efficiently. Existing thermal storage technologies often suffer from heat loss and limited capacity, reducing overall system efficiency.
Control system integration represents perhaps the most complex technical barrier. Building automation systems (BAS) typically operate independently from municipal water management systems, with different protocols, response times, and optimization objectives. Developing adaptive control algorithms that can optimize for both energy efficiency and water conservation simultaneously requires advanced computational approaches not yet widely implemented.
Scale formation and biofouling in heat exchangers and pipes connecting building systems to water loops significantly reduce efficiency over time. Current prevention methods often rely on chemical treatments that may conflict with sustainability goals or introduce additional complications into the circular water system. The development of environmentally compatible fouling prevention technologies remains an active research challenge in this field.
Current BES-Water Integration Solutions
01 Energy Management Systems for Buildings
Integration of energy management systems in buildings to optimize energy consumption and improve efficiency. These systems monitor, control, and analyze energy usage patterns to reduce waste and operational costs. They incorporate smart sensors, automated controls, and data analytics to maintain optimal environmental conditions while minimizing energy consumption.- Energy Management Systems for Buildings: Integration of energy management systems in buildings to optimize energy consumption and improve efficiency. These systems monitor, control, and analyze energy usage patterns to reduce waste and operational costs. They incorporate sensors, controllers, and software algorithms to manage HVAC, lighting, and other building systems based on occupancy, environmental conditions, and energy demand.
- Renewable Energy Integration in Building Systems: Methods and systems for integrating renewable energy sources such as solar, wind, and geothermal into building energy systems. These solutions include energy storage technologies, grid connection interfaces, and intelligent control systems that manage the flow of energy between renewable sources, storage systems, and building loads to maximize renewable energy utilization and minimize reliance on conventional power sources.
- Smart Building Automation and Control: Advanced automation and control systems for intelligent buildings that integrate various subsystems including HVAC, lighting, security, and energy management. These systems utilize IoT devices, artificial intelligence, and machine learning algorithms to optimize building operations, enhance occupant comfort, and reduce energy consumption through predictive control strategies and real-time adjustments.
- Building Energy Modeling and Simulation: Software tools and methodologies for modeling, simulating, and analyzing building energy performance. These solutions enable designers, engineers, and facility managers to predict energy consumption, evaluate design alternatives, optimize system configurations, and identify energy-saving opportunities before implementation. They incorporate physics-based models, historical data analysis, and performance benchmarking capabilities.
- Integrated Building Energy Monitoring Systems: Comprehensive monitoring systems that collect, analyze, and visualize energy consumption data across building systems. These solutions integrate sensors, meters, data acquisition systems, and analytics platforms to provide real-time insights into energy usage patterns, identify inefficiencies, detect anomalies, and support data-driven decision making for energy optimization and maintenance planning.
02 Renewable Energy Integration in Building Systems
Incorporation of renewable energy sources such as solar, wind, and geothermal into building energy systems. These integrated solutions enable buildings to generate their own clean energy, reduce dependency on the grid, and decrease carbon emissions. The systems often include energy storage components to manage intermittent renewable generation and ensure consistent power supply.Expand Specific Solutions03 Smart Building Automation and Control
Implementation of intelligent automation and control systems that integrate various building functions including HVAC, lighting, security, and occupancy detection. These systems use advanced algorithms, machine learning, and IoT connectivity to create responsive environments that adapt to occupant needs while optimizing energy usage. They enable centralized monitoring and control of multiple building systems through unified interfaces.Expand Specific Solutions04 Building Energy Modeling and Simulation
Development of sophisticated modeling and simulation tools for analyzing building energy performance. These technologies enable designers and engineers to predict energy consumption, evaluate different design alternatives, and optimize building systems before construction. They incorporate physical models of building components, weather data, occupancy patterns, and system operations to create accurate energy usage forecasts.Expand Specific Solutions05 Grid-Interactive Efficient Buildings
Integration of building energy systems with the broader electrical grid to enable demand response, load shifting, and grid stabilization services. These systems allow buildings to adjust their energy consumption based on grid conditions, electricity prices, or carbon intensity. They facilitate two-way communication between buildings and utilities, enabling buildings to serve as distributed energy resources that support grid reliability and resilience.Expand Specific Solutions
Leading Organizations in Urban Circular Systems
The integration of Building Energy Systems (BES) with Urban Water Loops and Circular Systems is emerging as a critical technological frontier in sustainable urban development. This field is currently in its early growth phase, with market size expanding rapidly due to increasing urbanization and sustainability demands. The technology maturity varies across applications, with leading players demonstrating different strengths. State Grid Corp. of China and Schneider Electric are advancing grid integration solutions, while academic institutions like Tongji University and Zhejiang University contribute significant research innovations. Companies like Cambrian Innovation and Wase Ltd. are pioneering water-energy nexus technologies, while Toshiba and Vestas focus on integrating renewable energy systems. The competitive landscape reflects a blend of established energy corporations, specialized startups, and research institutions collaboratively advancing this interdisciplinary field.
Schneider Electric Industries SASU
Technical Solution: Schneider Electric has developed EcoStruxure™ Building Operation, an integrated platform that connects building energy systems with water management solutions. Their approach focuses on creating a comprehensive digital ecosystem that optimizes both energy and water usage in urban environments. The system employs IoT sensors and advanced analytics to monitor real-time consumption patterns, enabling predictive maintenance and resource optimization. Schneider's solution incorporates water recycling systems that capture rainwater and greywater, treating them for non-potable applications within buildings, thus creating closed-loop water cycles. Their energy recovery systems extract thermal energy from wastewater streams, which is then redirected to support building heating needs, significantly reducing overall energy consumption. The platform also features adaptive algorithms that continuously optimize the balance between energy and water systems based on occupancy patterns, weather forecasts, and utility pricing.
Strengths: Comprehensive integration of both energy and water systems through a unified digital platform; extensive global implementation experience across various building types; strong analytics capabilities for optimization. Weaknesses: Higher initial implementation costs compared to conventional systems; requires significant retrofitting for existing buildings; dependency on robust connectivity infrastructure.
Shanghai Linhai Ecological Technology Co., Ltd
Technical Solution: Shanghai Linhai Ecological Technology has developed an innovative Sponge City Building Integration System that seamlessly connects building energy systems with urban water management. Their approach focuses on transforming buildings into water-sensitive structures that capture, treat, and reuse water while optimizing energy consumption. The system incorporates green roofs and walls that serve dual purposes of water retention and building insulation, reducing both stormwater runoff and energy demands for heating and cooling. Their technology includes specialized water treatment modules that purify captured rainwater and greywater for reuse in building operations, creating closed water loops within urban environments. The company has pioneered thermal energy recovery systems that extract heat from wastewater streams before they leave the building, using this recovered energy to preheat incoming water supplies. Their integrated control platform uses AI algorithms to predict water availability and optimize energy usage accordingly, ensuring maximum efficiency in resource utilization. The system also features modular components that can be retrofitted to existing buildings, making it adaptable to various urban contexts and building types across China's diverse climate zones.
Strengths: Specialized expertise in East Asian urban environments and climate conditions; excellent integration with existing Chinese urban infrastructure; strong focus on aesthetic integration of water systems into architectural design. Weaknesses: Limited international presence and implementation experience outside China; technology primarily optimized for high-density urban environments; requires coordination with municipal water systems for maximum effectiveness.
Key Technologies for Urban Resource Circularity
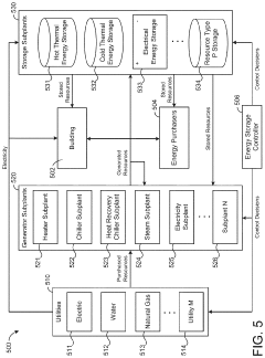
Energy circulation system
PatentActiveCN221919642U
Innovation
- Design an energy circulation system, including a hydroelectric generator and an energy storage device. By installing a hydroelectric generator in the water supply pipe network, the kinetic energy in the water supply system is converted into electrical energy, and the energy storage device is used for stable energy collection and regeneration. Combined with the pressurized pump room and reservoir, the water supply pressure can be adjusted at peak staggered times.
Building energy system with stochastic model predictive control
PatentActiveUS10739742B2
Innovation
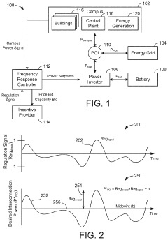
- A stochastic model predictive control system that generates multiple scenarios for energy load allocation, considering uncertainties in energy consumption, prices, and market incentives, and optimizes an overall cost function to determine optimal resource allocation across equipment, including battery systems, to balance resource supply and demand.
Policy Frameworks for Urban Circular Economy
The policy landscape for urban circular economy is evolving rapidly to accommodate integrated approaches to building energy systems and water management. National and municipal governments worldwide are developing frameworks that incentivize resource efficiency and closed-loop systems. The European Union's Circular Economy Action Plan provides a comprehensive framework that specifically addresses building energy-water nexus through directives on energy performance of buildings, water reuse, and waste management. These policies establish minimum requirements for building energy efficiency while encouraging water recovery systems.
In North America, cities like New York and San Francisco have implemented building codes that mandate water recycling systems in new constructions above certain size thresholds, while offering tax incentives for retrofitting existing buildings with integrated energy-water systems. These policies recognize the interconnected nature of urban resource flows and aim to create regulatory environments that support systemic solutions rather than siloed approaches.
Asian economies, particularly Singapore and Japan, have pioneered policy frameworks that specifically target the integration of building systems with broader urban infrastructure. Singapore's Green Mark certification system awards additional points for buildings that implement water recycling systems that connect to district-level water management infrastructure, creating incentives for integration beyond individual building boundaries.
Financial mechanisms represent another critical policy dimension, with green bonds and sustainability-linked loans increasingly supporting projects that demonstrate circular approaches to building energy and water systems. The European Investment Bank has established dedicated funding streams for urban circular economy projects that demonstrate integration between building systems and urban infrastructure networks.
Regulatory barriers remain significant challenges to implementation. Outdated building codes often fail to account for innovative water reuse systems, while water quality regulations may impede the implementation of greywater recycling within buildings. Progressive policy frameworks are addressing these barriers through regulatory sandboxes that allow controlled testing of innovative approaches before formal regulatory changes are implemented.
Standardization efforts are emerging as crucial policy tools, with organizations like ISO developing standards for integrated building energy and water systems. These standards facilitate market development by providing common metrics and performance indicators that can be referenced in policy instruments and procurement requirements, creating market certainty for technology developers and system integrators.
In North America, cities like New York and San Francisco have implemented building codes that mandate water recycling systems in new constructions above certain size thresholds, while offering tax incentives for retrofitting existing buildings with integrated energy-water systems. These policies recognize the interconnected nature of urban resource flows and aim to create regulatory environments that support systemic solutions rather than siloed approaches.
Asian economies, particularly Singapore and Japan, have pioneered policy frameworks that specifically target the integration of building systems with broader urban infrastructure. Singapore's Green Mark certification system awards additional points for buildings that implement water recycling systems that connect to district-level water management infrastructure, creating incentives for integration beyond individual building boundaries.
Financial mechanisms represent another critical policy dimension, with green bonds and sustainability-linked loans increasingly supporting projects that demonstrate circular approaches to building energy and water systems. The European Investment Bank has established dedicated funding streams for urban circular economy projects that demonstrate integration between building systems and urban infrastructure networks.
Regulatory barriers remain significant challenges to implementation. Outdated building codes often fail to account for innovative water reuse systems, while water quality regulations may impede the implementation of greywater recycling within buildings. Progressive policy frameworks are addressing these barriers through regulatory sandboxes that allow controlled testing of innovative approaches before formal regulatory changes are implemented.
Standardization efforts are emerging as crucial policy tools, with organizations like ISO developing standards for integrated building energy and water systems. These standards facilitate market development by providing common metrics and performance indicators that can be referenced in policy instruments and procurement requirements, creating market certainty for technology developers and system integrators.
Environmental Impact Assessment Methods
Environmental impact assessment methods for integrating Building Energy Systems (BES) with urban water loops and circular systems require comprehensive frameworks that capture the complex interactions between energy, water, and material flows. Life Cycle Assessment (LCA) stands as the primary methodology, enabling quantification of environmental impacts across the entire system lifecycle from resource extraction through operation to end-of-life management.
Water-energy nexus assessment tools have been specifically developed to evaluate the bidirectional relationship between water and energy systems in urban environments. These tools measure water consumption for energy production (water footprint of energy) and energy requirements for water treatment and distribution (energy footprint of water), providing critical metrics for integrated system optimization.
Carbon accounting methodologies adapted for integrated systems track greenhouse gas emissions throughout the circular water-energy loop, identifying hotspots where emissions can be reduced through system integration. These methods typically incorporate both direct operational emissions and embodied carbon in infrastructure components.
Ecosystem services valuation approaches quantify the benefits derived from natural water systems when integrated with building energy infrastructure. This includes regulating services (flood control, water purification), provisioning services (water supply), and cultural services that may be enhanced through green infrastructure integration with BES.
Material flow analysis (MFA) tracks resources through the integrated system, identifying opportunities for circular economy principles such as nutrient recovery from wastewater for energy production. When combined with substance flow analysis, MFA can monitor potential contaminants and ensure environmental safety of recovered materials.
Multi-criteria assessment frameworks have emerged to balance trade-offs between different environmental impacts. These frameworks typically incorporate indicators for climate change mitigation, water conservation, resource efficiency, biodiversity protection, and pollution prevention, allowing decision-makers to evaluate system performance across multiple environmental dimensions simultaneously.
Dynamic environmental modeling approaches account for temporal variations in system performance, particularly important for renewable energy integration and seasonal water availability fluctuations. These models can simulate environmental impacts under different climate scenarios, providing insights into system resilience and adaptation requirements.
Standardized reporting protocols such as the Global Reporting Initiative (GRI) and CDP (formerly Carbon Disclosure Project) have been adapted to capture the environmental performance of integrated building energy and water systems, facilitating benchmarking and continuous improvement in environmental management practices.
Water-energy nexus assessment tools have been specifically developed to evaluate the bidirectional relationship between water and energy systems in urban environments. These tools measure water consumption for energy production (water footprint of energy) and energy requirements for water treatment and distribution (energy footprint of water), providing critical metrics for integrated system optimization.
Carbon accounting methodologies adapted for integrated systems track greenhouse gas emissions throughout the circular water-energy loop, identifying hotspots where emissions can be reduced through system integration. These methods typically incorporate both direct operational emissions and embodied carbon in infrastructure components.
Ecosystem services valuation approaches quantify the benefits derived from natural water systems when integrated with building energy infrastructure. This includes regulating services (flood control, water purification), provisioning services (water supply), and cultural services that may be enhanced through green infrastructure integration with BES.
Material flow analysis (MFA) tracks resources through the integrated system, identifying opportunities for circular economy principles such as nutrient recovery from wastewater for energy production. When combined with substance flow analysis, MFA can monitor potential contaminants and ensure environmental safety of recovered materials.
Multi-criteria assessment frameworks have emerged to balance trade-offs between different environmental impacts. These frameworks typically incorporate indicators for climate change mitigation, water conservation, resource efficiency, biodiversity protection, and pollution prevention, allowing decision-makers to evaluate system performance across multiple environmental dimensions simultaneously.
Dynamic environmental modeling approaches account for temporal variations in system performance, particularly important for renewable energy integration and seasonal water availability fluctuations. These models can simulate environmental impacts under different climate scenarios, providing insights into system resilience and adaptation requirements.
Standardized reporting protocols such as the Global Reporting Initiative (GRI) and CDP (formerly Carbon Disclosure Project) have been adapted to capture the environmental performance of integrated building energy and water systems, facilitating benchmarking and continuous improvement in environmental management practices.
Unlock deeper insights with Patsnap Eureka Quick Research — get a full tech report to explore trends and direct your research. Try now!
Generate Your Research Report Instantly with AI Agent
Supercharge your innovation with Patsnap Eureka AI Agent Platform!






