mmWave Compared to X-Band: Superior for Weather Radar?
SEP 22, 20259 MIN READ
Generate Your Research Report Instantly with AI Agent
Patsnap Eureka helps you evaluate technical feasibility & market potential.
mmWave vs X-Band Weather Radar Background
Weather radar technology has evolved significantly over the decades, with different frequency bands offering varying capabilities for meteorological observations. The comparison between millimeter-wave (mmWave) and X-band radar systems represents a critical technological decision point for weather monitoring applications. Historically, weather radar systems have operated primarily in the S-band (2-4 GHz) and C-band (4-8 GHz) ranges, with X-band (8-12 GHz) gaining popularity for its improved resolution capabilities.
The emergence of mmWave technology, operating at frequencies typically between 30-300 GHz, has introduced new possibilities for weather observation systems. This technological shift has been driven by advances in semiconductor manufacturing, signal processing capabilities, and the growing demand for higher resolution weather data, particularly in urban environments and for localized severe weather detection.
X-band radar systems have established themselves as valuable tools for meteorological applications due to their balance between atmospheric penetration and spatial resolution. They offer improved resolution compared to lower frequency systems while maintaining reasonable range capabilities. However, they suffer from increased attenuation in heavy precipitation, limiting their effectiveness during intense weather events.
mmWave radar systems represent the frontier of weather observation technology, offering unprecedented spatial resolution due to their shorter wavelengths. This characteristic makes them particularly valuable for detecting fine-scale atmospheric phenomena and distinguishing between different types of hydrometeors (rain, snow, hail). The compact size of mmWave hardware also enables more flexible deployment options, including mobile platforms and dense urban networks.
The technological evolution from X-band to mmWave systems parallels broader trends in radar technology, including the shift toward phased array systems, digital beamforming, and advanced signal processing techniques. These complementary technologies have enhanced the potential benefits of higher frequency operations by mitigating some of their inherent limitations.
Climate change considerations have also influenced the development trajectory of weather radar technology. As extreme weather events become more frequent and intense, the need for more precise and timely meteorological data has accelerated interest in advanced radar systems capable of providing detailed information about storm structure and evolution.
The technical objectives for modern weather radar systems include improving spatial and temporal resolution, enhancing precipitation type classification, extending operational range, and reducing false detections. The comparison between mmWave and X-band technologies must be evaluated against these objectives, considering the specific requirements of different meteorological applications and deployment scenarios.
The emergence of mmWave technology, operating at frequencies typically between 30-300 GHz, has introduced new possibilities for weather observation systems. This technological shift has been driven by advances in semiconductor manufacturing, signal processing capabilities, and the growing demand for higher resolution weather data, particularly in urban environments and for localized severe weather detection.
X-band radar systems have established themselves as valuable tools for meteorological applications due to their balance between atmospheric penetration and spatial resolution. They offer improved resolution compared to lower frequency systems while maintaining reasonable range capabilities. However, they suffer from increased attenuation in heavy precipitation, limiting their effectiveness during intense weather events.
mmWave radar systems represent the frontier of weather observation technology, offering unprecedented spatial resolution due to their shorter wavelengths. This characteristic makes them particularly valuable for detecting fine-scale atmospheric phenomena and distinguishing between different types of hydrometeors (rain, snow, hail). The compact size of mmWave hardware also enables more flexible deployment options, including mobile platforms and dense urban networks.
The technological evolution from X-band to mmWave systems parallels broader trends in radar technology, including the shift toward phased array systems, digital beamforming, and advanced signal processing techniques. These complementary technologies have enhanced the potential benefits of higher frequency operations by mitigating some of their inherent limitations.
Climate change considerations have also influenced the development trajectory of weather radar technology. As extreme weather events become more frequent and intense, the need for more precise and timely meteorological data has accelerated interest in advanced radar systems capable of providing detailed information about storm structure and evolution.
The technical objectives for modern weather radar systems include improving spatial and temporal resolution, enhancing precipitation type classification, extending operational range, and reducing false detections. The comparison between mmWave and X-band technologies must be evaluated against these objectives, considering the specific requirements of different meteorological applications and deployment scenarios.
Market Analysis for Weather Radar Technologies
The weather radar technology market is experiencing significant growth, driven by increasing demand for accurate weather forecasting and early warning systems. The global weather radar market was valued at approximately $1.5 billion in 2022 and is projected to reach $2.3 billion by 2028, growing at a CAGR of around 7.5%. This growth is primarily fueled by the rising frequency of extreme weather events and the growing need for precise meteorological data across various sectors.
The market for weather radar technologies can be segmented based on frequency bands, with X-band (8-12 GHz) traditionally dominating the market due to its established presence and reliability. However, mmWave technology (30-300 GHz) is rapidly gaining traction, with its segment expected to grow at a faster rate than the overall market in the coming years.
Key market drivers include increasing government investments in modernizing weather monitoring infrastructure, growing aviation safety concerns requiring advanced weather detection systems, and the rising adoption of weather radar technologies in the agriculture sector for precision farming applications. The insurance industry is also emerging as a significant end-user, utilizing weather radar data for risk assessment and claim verification.
Geographically, North America currently holds the largest market share due to substantial investments in advanced weather monitoring systems and the presence of major technology providers. However, the Asia-Pacific region is anticipated to witness the highest growth rate, driven by increasing government initiatives to improve weather forecasting capabilities and mitigate the impact of natural disasters in countries like China, Japan, and India.
The commercial sector represents the largest end-user segment, with applications in aviation, maritime operations, and agriculture. However, the military and defense sector is expected to grow significantly as weather intelligence becomes increasingly critical for tactical operations and planning.
Customer requirements are evolving, with a growing demand for compact, cost-effective, and energy-efficient radar systems that can be deployed in remote locations. There is also an increasing preference for integrated solutions that combine radar technology with other sensing methods and artificial intelligence for improved accuracy and predictive capabilities.
Market challenges include the high initial investment costs associated with advanced radar systems, technical complexities in data interpretation, and regulatory hurdles related to frequency allocation. The transition from X-band to mmWave technology faces adoption barriers due to concerns about reliability in adverse weather conditions and the need for infrastructure upgrades.
The market for weather radar technologies can be segmented based on frequency bands, with X-band (8-12 GHz) traditionally dominating the market due to its established presence and reliability. However, mmWave technology (30-300 GHz) is rapidly gaining traction, with its segment expected to grow at a faster rate than the overall market in the coming years.
Key market drivers include increasing government investments in modernizing weather monitoring infrastructure, growing aviation safety concerns requiring advanced weather detection systems, and the rising adoption of weather radar technologies in the agriculture sector for precision farming applications. The insurance industry is also emerging as a significant end-user, utilizing weather radar data for risk assessment and claim verification.
Geographically, North America currently holds the largest market share due to substantial investments in advanced weather monitoring systems and the presence of major technology providers. However, the Asia-Pacific region is anticipated to witness the highest growth rate, driven by increasing government initiatives to improve weather forecasting capabilities and mitigate the impact of natural disasters in countries like China, Japan, and India.
The commercial sector represents the largest end-user segment, with applications in aviation, maritime operations, and agriculture. However, the military and defense sector is expected to grow significantly as weather intelligence becomes increasingly critical for tactical operations and planning.
Customer requirements are evolving, with a growing demand for compact, cost-effective, and energy-efficient radar systems that can be deployed in remote locations. There is also an increasing preference for integrated solutions that combine radar technology with other sensing methods and artificial intelligence for improved accuracy and predictive capabilities.
Market challenges include the high initial investment costs associated with advanced radar systems, technical complexities in data interpretation, and regulatory hurdles related to frequency allocation. The transition from X-band to mmWave technology faces adoption barriers due to concerns about reliability in adverse weather conditions and the need for infrastructure upgrades.
Technical Challenges in mmWave Weather Radar
Despite the promising advantages of millimeter-wave (mmWave) technology for weather radar applications, several significant technical challenges impede its widespread adoption and implementation. The primary obstacle lies in atmospheric attenuation, as mmWave frequencies (30-300 GHz) experience substantially higher absorption by atmospheric gases, particularly oxygen and water vapor, compared to traditional X-band (8-12 GHz) systems. This attenuation increases exponentially during precipitation events, severely limiting the effective range of mmWave weather radars.
Signal processing complexity represents another major hurdle. The shorter wavelengths of mmWave signals result in increased scattering effects from atmospheric particles, creating more complex signal returns that require sophisticated algorithms for accurate interpretation. This necessitates advanced digital signal processing capabilities and computational resources that exceed those required for conventional weather radar systems.
Hardware limitations pose significant engineering challenges. mmWave components, including high-power transmitters, low-noise receivers, and precision waveguides, demand specialized manufacturing techniques and materials. These components often suffer from lower efficiency, higher power consumption, and increased thermal management requirements compared to their X-band counterparts.
Calibration and stability issues further complicate mmWave weather radar implementation. The extreme sensitivity of mmWave systems to environmental factors such as temperature fluctuations and mechanical vibrations necessitates robust calibration procedures and stabilization mechanisms to maintain measurement accuracy over time.
Spatial resolution paradoxically presents both an advantage and a challenge. While mmWave radars offer superior spatial resolution due to shorter wavelengths, this increased resolution generates vastly larger data volumes that strain storage systems and real-time processing capabilities. Managing and interpreting this data deluge requires advanced data compression techniques and high-performance computing infrastructure.
Cost considerations remain a significant barrier to widespread adoption. The specialized components, advanced processing requirements, and complex engineering solutions needed for mmWave weather radar systems substantially increase both initial capital expenditure and ongoing operational costs compared to established X-band technologies.
Integration challenges with existing meteorological infrastructure cannot be overlooked. Current weather prediction models and forecasting systems are calibrated for data from conventional radar systems, necessitating significant adaptation to effectively utilize the different characteristics and higher-resolution data provided by mmWave systems.
Signal processing complexity represents another major hurdle. The shorter wavelengths of mmWave signals result in increased scattering effects from atmospheric particles, creating more complex signal returns that require sophisticated algorithms for accurate interpretation. This necessitates advanced digital signal processing capabilities and computational resources that exceed those required for conventional weather radar systems.
Hardware limitations pose significant engineering challenges. mmWave components, including high-power transmitters, low-noise receivers, and precision waveguides, demand specialized manufacturing techniques and materials. These components often suffer from lower efficiency, higher power consumption, and increased thermal management requirements compared to their X-band counterparts.
Calibration and stability issues further complicate mmWave weather radar implementation. The extreme sensitivity of mmWave systems to environmental factors such as temperature fluctuations and mechanical vibrations necessitates robust calibration procedures and stabilization mechanisms to maintain measurement accuracy over time.
Spatial resolution paradoxically presents both an advantage and a challenge. While mmWave radars offer superior spatial resolution due to shorter wavelengths, this increased resolution generates vastly larger data volumes that strain storage systems and real-time processing capabilities. Managing and interpreting this data deluge requires advanced data compression techniques and high-performance computing infrastructure.
Cost considerations remain a significant barrier to widespread adoption. The specialized components, advanced processing requirements, and complex engineering solutions needed for mmWave weather radar systems substantially increase both initial capital expenditure and ongoing operational costs compared to established X-band technologies.
Integration challenges with existing meteorological infrastructure cannot be overlooked. Current weather prediction models and forecasting systems are calibrated for data from conventional radar systems, necessitating significant adaptation to effectively utilize the different characteristics and higher-resolution data provided by mmWave systems.
Current mmWave and X-Band Weather Radar Solutions
01 Frequency band characteristics and performance comparison
mmWave radar systems operate at higher frequencies (typically 30-300 GHz) compared to X-band systems (8-12 GHz). This frequency difference results in distinct performance characteristics. mmWave radars offer higher resolution and better detection of small objects due to shorter wavelengths, while X-band radars provide better penetration through precipitation and longer detection ranges. The comparison between these technologies highlights trade-offs between resolution, range, and weather penetration capabilities.- Frequency band characteristics and performance comparison: Weather radar systems operate in different frequency bands, with X-band (8-12 GHz) and millimeter wave (mmWave, typically 30-300 GHz) having distinct characteristics. X-band radars offer better penetration through precipitation and longer detection ranges, while mmWave radars provide higher resolution and better detection of smaller particles. The choice between these technologies depends on specific weather monitoring requirements, with each offering advantages in different atmospheric conditions.
- Resolution and accuracy capabilities: mmWave radar systems generally provide superior spatial resolution compared to X-band systems due to their shorter wavelengths, allowing for more detailed imaging of weather phenomena. This higher resolution enables better detection of small-scale weather features and more precise tracking of storm development. However, X-band systems typically offer better accuracy in heavy precipitation conditions where signal attenuation becomes a significant factor for higher frequency systems.
- Range and coverage considerations: X-band radar systems generally provide superior range capabilities compared to mmWave systems, making them more suitable for long-range weather monitoring. The longer wavelength of X-band signals allows for better penetration through atmospheric conditions, particularly heavy precipitation. mmWave systems, while limited in range due to higher atmospheric attenuation, excel in short to medium-range applications where detailed resolution is more critical than extended coverage.
- Signal processing and interference mitigation: Advanced signal processing techniques are essential for both mmWave and X-band weather radar systems to mitigate interference and improve data quality. mmWave systems typically require more sophisticated signal processing algorithms to compensate for their higher susceptibility to atmospheric attenuation. X-band systems benefit from signal processing that can filter out ground clutter and other non-meteorological returns. Both technologies employ various techniques such as pulse compression, Doppler processing, and adaptive filtering to enhance performance.
- Application-specific deployment considerations: The selection between mmWave and X-band radar technologies depends heavily on the specific application requirements. X-band systems are typically preferred for large-area surveillance, severe weather monitoring, and applications requiring operation in heavy precipitation. mmWave systems are advantageous for high-resolution applications such as cloud physics research, airport weather systems, and urban meteorology where detailed short-range information is critical. Hybrid approaches combining both technologies can provide comprehensive weather monitoring capabilities across various conditions.
02 Weather detection and precipitation measurement capabilities
X-band radar systems excel in weather detection applications due to their optimal wavelength for interacting with precipitation particles. They provide superior rainfall measurement accuracy and can detect precipitation at longer ranges. mmWave systems, while offering higher spatial resolution, experience more significant signal attenuation in heavy precipitation. This makes X-band radars generally preferred for meteorological applications requiring accurate precipitation measurement, while mmWave systems may offer advantages in detecting fine-scale weather phenomena.Expand Specific Solutions03 Spatial resolution and target discrimination advantages
mmWave radar systems provide superior spatial resolution compared to X-band systems due to their shorter wavelength. This higher resolution enables better discrimination between closely spaced targets and more detailed imaging of weather phenomena. mmWave systems can detect smaller objects and provide more precise location information, making them advantageous for applications requiring detailed target discrimination. However, this improved resolution comes at the cost of reduced range and increased susceptibility to atmospheric attenuation.Expand Specific Solutions04 Signal processing techniques for performance enhancement
Advanced signal processing techniques can significantly enhance the performance of both mmWave and X-band radar systems. These include adaptive filtering, clutter suppression algorithms, and dual-polarization processing. Such techniques help overcome inherent limitations of each frequency band, improving detection capabilities in challenging environments. Signal processing innovations enable better discrimination between weather phenomena and non-meteorological targets, as well as improved accuracy in measuring precipitation intensity and motion.Expand Specific Solutions05 Hybrid and complementary radar system approaches
Combining mmWave and X-band radar technologies in hybrid or complementary systems leverages the strengths of each frequency band. These integrated approaches provide comprehensive weather monitoring capabilities with both the long-range detection benefits of X-band and the high-resolution advantages of mmWave systems. Hybrid systems can dynamically switch between frequency bands based on environmental conditions or monitoring requirements, offering optimal performance across varying weather scenarios and detection needs.Expand Specific Solutions
Leading Weather Radar Manufacturers and Research Institutions
The mmWave vs X-Band weather radar market is currently in a growth phase, with increasing adoption driven by mmWave's superior resolution and accuracy advantages. The global weather radar market is expanding at approximately 5-7% annually, reaching $2-3 billion. Technology maturity varies significantly between established players and new entrants. Companies like Raytheon, Mitsubishi Electric, and Toshiba have achieved commercial maturity with X-band systems, while Intel, Huawei, and Texas Instruments are advancing mmWave technology. Academic institutions including Nanjing University of Information Science & Technology and California Institute of Technology are conducting foundational research to address mmWave's current limitations in precipitation penetration and range, positioning this technology to potentially become the preferred solution for next-generation weather monitoring systems.
Huawei Technologies Co., Ltd.
Technical Solution: Huawei has developed mmWave radar technology primarily focused on automotive and industrial applications, but with growing research into meteorological applications. Their approach leverages expertise in 5G mmWave communications to create high-resolution radar systems capable of detecting fine-scale atmospheric phenomena. Huawei's weather sensing technology incorporates massive MIMO antenna arrays with digital beamforming to achieve exceptional angular resolution while maintaining reasonable power consumption. Their systems employ advanced signal processing algorithms that compensate for the higher atmospheric attenuation at mmWave frequencies through adaptive power management and sophisticated detection schemes. For weather applications, Huawei has demonstrated capabilities in short-range precipitation monitoring with significantly higher spatial resolution than traditional X-band systems, enabling more precise urban meteorological monitoring.
Strengths: Strong expertise in mmWave technology from communications applications; advanced antenna array and signal processing capabilities; potential for cost-effective solutions through economies of scale. Weaknesses: Less established history in dedicated weather radar applications; solutions may require adaptation from primary automotive/industrial focus; potential regulatory and market access challenges in some regions.
Novimet SA
Technical Solution: Novimet specializes in innovative weather radar solutions and has developed the HYDRIX radar system that operates in X-band while also researching mmWave applications for specialized meteorological sensing. Their technology focuses on optimizing the trade-offs between different frequency bands for weather monitoring. For mmWave implementations, Novimet has developed proprietary signal processing algorithms that compensate for the higher attenuation characteristics at these frequencies. Their approach combines multiple frequency observations to create comprehensive precipitation profiles with enhanced accuracy. Novimet's systems incorporate advanced polarimetric techniques that enable superior hydrometeor classification compared to single-frequency approaches. Their research indicates that mmWave radars can detect smaller droplets and ice particles that X-band systems might miss, providing crucial data for cloud microphysics studies and short-term precipitation forecasting.
Strengths: Highly specialized expertise in meteorological applications; innovative signal processing techniques that maximize information extraction from radar returns; complementary multi-band approach that leverages strengths of different frequencies. Weaknesses: Smaller company with more limited resources compared to major defense contractors; solutions may require more customization for specific deployment scenarios; less extensive field validation history for mmWave systems.
Key Patents and Research in Weather Radar Technology
Techniques for millimeter wave mobile communication
PatentActiveUS20110182174A1
Innovation
- The implementation of a mobile communication system that incorporates both cellular band and mmWave band transceivers in Base Stations (BS), Mobile Stations (MS), and mmWave Access Points (mmAP), with controllers to manage communication and form beams for efficient data transfer, leveraging the high-gain antenna capabilities of mmWaves for high data rate communication while using lower frequency bands for control channels and mobility management.
Tracking radar targets represented by multiple reflection points
PatentActiveUS20230236306A1
Innovation
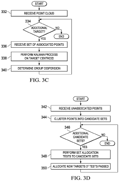
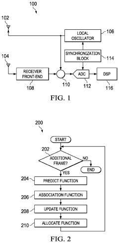
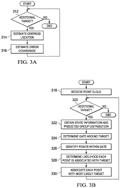
- A method that involves obtaining a point cloud of reflection points, predicting the location of a target object based on previous state information, determining a gate around the target, assessing the likelihood of reflection points within the gate to be associated with the target, and updating the group distribution and location information of the target object.
Environmental Impact and Sustainability Considerations
The environmental impact of weather radar systems is a critical consideration in their deployment and operation. When comparing mmWave and X-band technologies, several sustainability factors emerge as significant differentiators. mmWave radar systems typically operate at higher frequencies (30-300 GHz) and require less power consumption compared to traditional X-band systems (8-12 GHz), resulting in reduced energy requirements over their operational lifetime. This energy efficiency translates to lower carbon footprints and operational costs, particularly important for remote installations or deployments in developing regions with limited power infrastructure.
Material usage represents another environmental consideration. mmWave systems generally utilize smaller antenna arrays and more compact components due to the shorter wavelengths involved. This miniaturization reduces the overall material footprint and potentially decreases the environmental impact associated with manufacturing, transportation, and installation. The reduced size also minimizes visual pollution in urban or natural landscapes where radar installations may be considered intrusive.
Electromagnetic radiation exposure is a concern for both wildlife and human populations. mmWave systems typically operate at lower power levels than X-band radars while maintaining comparable detection capabilities. This characteristic potentially reduces the electromagnetic impact on surrounding ecosystems, though comprehensive long-term studies on mmWave effects on wildlife remain limited. The lower power requirements also diminish heat generation, contributing to reduced thermal pollution in sensitive environments.
Lifecycle considerations reveal additional sustainability advantages for mmWave technology. The solid-state components commonly used in mmWave systems often demonstrate greater longevity and reliability than the magnetron transmitters traditionally employed in X-band systems. This extended operational lifespan reduces electronic waste generation and the environmental burden associated with manufacturing replacement components. Additionally, the modular design approach frequently adopted in newer mmWave systems facilitates easier upgrades and repairs, further extending system lifespan.
Weather monitoring itself serves environmental sustainability goals through improved climate modeling, natural disaster prediction, and resource management. The enhanced resolution and accuracy of mmWave systems potentially enable more precise weather forecasting, contributing to better climate adaptation strategies and more efficient resource allocation during extreme weather events. This improved predictive capability may help reduce economic and environmental damages associated with weather-related disasters.
Despite these advantages, the environmental assessment must acknowledge the entire lifecycle impact, including the energy-intensive semiconductor manufacturing processes required for mmWave components and the potential challenges in recycling specialized electronic components at end-of-life. A comprehensive sustainability evaluation should incorporate these factors alongside operational benefits when determining the overall environmental superiority of mmWave versus X-band weather radar technologies.
Material usage represents another environmental consideration. mmWave systems generally utilize smaller antenna arrays and more compact components due to the shorter wavelengths involved. This miniaturization reduces the overall material footprint and potentially decreases the environmental impact associated with manufacturing, transportation, and installation. The reduced size also minimizes visual pollution in urban or natural landscapes where radar installations may be considered intrusive.
Electromagnetic radiation exposure is a concern for both wildlife and human populations. mmWave systems typically operate at lower power levels than X-band radars while maintaining comparable detection capabilities. This characteristic potentially reduces the electromagnetic impact on surrounding ecosystems, though comprehensive long-term studies on mmWave effects on wildlife remain limited. The lower power requirements also diminish heat generation, contributing to reduced thermal pollution in sensitive environments.
Lifecycle considerations reveal additional sustainability advantages for mmWave technology. The solid-state components commonly used in mmWave systems often demonstrate greater longevity and reliability than the magnetron transmitters traditionally employed in X-band systems. This extended operational lifespan reduces electronic waste generation and the environmental burden associated with manufacturing replacement components. Additionally, the modular design approach frequently adopted in newer mmWave systems facilitates easier upgrades and repairs, further extending system lifespan.
Weather monitoring itself serves environmental sustainability goals through improved climate modeling, natural disaster prediction, and resource management. The enhanced resolution and accuracy of mmWave systems potentially enable more precise weather forecasting, contributing to better climate adaptation strategies and more efficient resource allocation during extreme weather events. This improved predictive capability may help reduce economic and environmental damages associated with weather-related disasters.
Despite these advantages, the environmental assessment must acknowledge the entire lifecycle impact, including the energy-intensive semiconductor manufacturing processes required for mmWave components and the potential challenges in recycling specialized electronic components at end-of-life. A comprehensive sustainability evaluation should incorporate these factors alongside operational benefits when determining the overall environmental superiority of mmWave versus X-band weather radar technologies.
Regulatory Framework for Weather Radar Frequencies
The regulatory landscape governing weather radar frequencies is complex and varies significantly across different regions of the world. The International Telecommunication Union (ITU) serves as the primary global body responsible for allocating radio frequency bands, including those used for meteorological purposes. Within this framework, specific frequency bands are designated for weather radar applications, with X-band (8-12 GHz) traditionally being allocated for meteorological services in many jurisdictions.
For X-band weather radars, regulatory provisions typically allow operation between 9.3-9.5 GHz with specific power limitations and interference protection measures. These regulations have been established for decades, creating a stable regulatory environment for X-band weather radar deployment and operation. National weather services and meteorological agencies have developed their infrastructure around these established frequency allocations.
In contrast, mmWave frequencies (30-300 GHz) face a more evolving regulatory landscape. The 76-77 GHz band has received increasing attention for weather radar applications, but regulatory frameworks specifically addressing weather monitoring at these frequencies remain less developed compared to X-band. The World Radiocommunication Conference (WRC) has been gradually expanding allocations for millimeter wave bands, though primarily focused on telecommunications rather than meteorological applications.
Regulatory challenges for mmWave weather radar implementation include spectrum sharing concerns, as these frequencies are increasingly sought after for 5G and future telecommunications systems. Cross-border coordination presents another regulatory hurdle, particularly for national weather services operating near international boundaries. The ITU-R recommendations provide guidelines, but actual implementation varies by region.
The Federal Communications Commission (FCC) in the United States and the European Conference of Postal and Telecommunications Administrations (CEPT) in Europe have begun addressing mmWave allocations for various sensing applications, including automotive radar, which shares technical similarities with weather radar systems. However, specific provisions for meteorological services at mmWave frequencies remain limited.
For organizations considering transitioning from X-band to mmWave weather radar systems, navigating this regulatory uncertainty represents a significant challenge. The established regulatory framework for X-band provides operational certainty, while mmWave deployment may require extensive regulatory engagement, including potential advocacy for new allocations or sharing arrangements. This regulatory disparity must be factored into any technical comparison between the two frequency ranges for weather radar applications.
For X-band weather radars, regulatory provisions typically allow operation between 9.3-9.5 GHz with specific power limitations and interference protection measures. These regulations have been established for decades, creating a stable regulatory environment for X-band weather radar deployment and operation. National weather services and meteorological agencies have developed their infrastructure around these established frequency allocations.
In contrast, mmWave frequencies (30-300 GHz) face a more evolving regulatory landscape. The 76-77 GHz band has received increasing attention for weather radar applications, but regulatory frameworks specifically addressing weather monitoring at these frequencies remain less developed compared to X-band. The World Radiocommunication Conference (WRC) has been gradually expanding allocations for millimeter wave bands, though primarily focused on telecommunications rather than meteorological applications.
Regulatory challenges for mmWave weather radar implementation include spectrum sharing concerns, as these frequencies are increasingly sought after for 5G and future telecommunications systems. Cross-border coordination presents another regulatory hurdle, particularly for national weather services operating near international boundaries. The ITU-R recommendations provide guidelines, but actual implementation varies by region.
The Federal Communications Commission (FCC) in the United States and the European Conference of Postal and Telecommunications Administrations (CEPT) in Europe have begun addressing mmWave allocations for various sensing applications, including automotive radar, which shares technical similarities with weather radar systems. However, specific provisions for meteorological services at mmWave frequencies remain limited.
For organizations considering transitioning from X-band to mmWave weather radar systems, navigating this regulatory uncertainty represents a significant challenge. The established regulatory framework for X-band provides operational certainty, while mmWave deployment may require extensive regulatory engagement, including potential advocacy for new allocations or sharing arrangements. This regulatory disparity must be factored into any technical comparison between the two frequency ranges for weather radar applications.
Unlock deeper insights with Patsnap Eureka Quick Research — get a full tech report to explore trends and direct your research. Try now!
Generate Your Research Report Instantly with AI Agent
Supercharge your innovation with Patsnap Eureka AI Agent Platform!