Neuromorphic Chips in Renewable Energy Solutions
OCT 9, 20259 MIN READ
Generate Your Research Report Instantly with AI Agent
Patsnap Eureka helps you evaluate technical feasibility & market potential.
Neuromorphic Computing Evolution and Energy Efficiency Goals
Neuromorphic computing represents a paradigm shift in computational architecture, drawing inspiration from the human brain's neural networks to create more efficient and adaptive processing systems. The evolution of this technology began in the late 1980s with Carver Mead's pioneering work at Caltech, introducing the concept of using electronic circuits to mimic neurobiological architectures. This marked the first significant step toward hardware that could emulate the brain's parallel processing capabilities and energy efficiency.
The 2000s witnessed the emergence of specialized neuromorphic hardware implementations, with IBM's TrueNorth and Intel's Loihi representing major milestones. These chips demonstrated the potential for massive parallelism with significantly reduced power consumption compared to traditional von Neumann architectures. The fundamental advantage stems from their event-driven processing nature, where computation occurs only when needed, rather than in synchronized clock cycles.
Energy efficiency has become a central goal in neuromorphic computing development, particularly relevant to renewable energy applications. Traditional computing systems consume substantial power, with data centers alone accounting for approximately 1-2% of global electricity consumption. Neuromorphic chips offer potential reductions in energy usage by factors of 100-1000x for certain workloads, making them particularly attractive for edge computing in renewable energy systems.
The technical objectives for neuromorphic chips in renewable energy solutions focus on several key metrics. Power efficiency targets aim to achieve computing capabilities in the range of 100 TOPS/W (Tera Operations Per Second per Watt), representing orders of magnitude improvement over conventional processors. Latency goals center on real-time processing capabilities essential for grid management and energy distribution optimization, with response times under milliseconds for critical applications.
Scalability represents another crucial objective, as renewable energy systems generate vast amounts of heterogeneous data across distributed networks. Neuromorphic architectures must demonstrate the ability to scale efficiently across these complex systems while maintaining their energy advantages. Additionally, adaptability goals focus on developing chips capable of online learning and adaptation to changing environmental conditions and energy production patterns.
The convergence of neuromorphic computing with renewable energy technologies presents a symbiotic relationship: these chips can significantly enhance the intelligence and efficiency of renewable energy systems while themselves embodying the principles of energy conservation that drive the renewable sector. The trajectory points toward increasingly specialized neuromorphic solutions optimized specifically for the unique computational challenges of sustainable energy management.
The 2000s witnessed the emergence of specialized neuromorphic hardware implementations, with IBM's TrueNorth and Intel's Loihi representing major milestones. These chips demonstrated the potential for massive parallelism with significantly reduced power consumption compared to traditional von Neumann architectures. The fundamental advantage stems from their event-driven processing nature, where computation occurs only when needed, rather than in synchronized clock cycles.
Energy efficiency has become a central goal in neuromorphic computing development, particularly relevant to renewable energy applications. Traditional computing systems consume substantial power, with data centers alone accounting for approximately 1-2% of global electricity consumption. Neuromorphic chips offer potential reductions in energy usage by factors of 100-1000x for certain workloads, making them particularly attractive for edge computing in renewable energy systems.
The technical objectives for neuromorphic chips in renewable energy solutions focus on several key metrics. Power efficiency targets aim to achieve computing capabilities in the range of 100 TOPS/W (Tera Operations Per Second per Watt), representing orders of magnitude improvement over conventional processors. Latency goals center on real-time processing capabilities essential for grid management and energy distribution optimization, with response times under milliseconds for critical applications.
Scalability represents another crucial objective, as renewable energy systems generate vast amounts of heterogeneous data across distributed networks. Neuromorphic architectures must demonstrate the ability to scale efficiently across these complex systems while maintaining their energy advantages. Additionally, adaptability goals focus on developing chips capable of online learning and adaptation to changing environmental conditions and energy production patterns.
The convergence of neuromorphic computing with renewable energy technologies presents a symbiotic relationship: these chips can significantly enhance the intelligence and efficiency of renewable energy systems while themselves embodying the principles of energy conservation that drive the renewable sector. The trajectory points toward increasingly specialized neuromorphic solutions optimized specifically for the unique computational challenges of sustainable energy management.
Market Demand for Smart Renewable Energy Systems
The global market for smart renewable energy systems is experiencing unprecedented growth, driven by the convergence of environmental concerns, energy security needs, and technological advancements. Current projections indicate the smart renewable energy market will reach $120 billion by 2027, with a compound annual growth rate of 8.6% from 2022. This growth trajectory is particularly significant for neuromorphic computing applications within the renewable energy sector.
Energy grid modernization represents a primary market driver, with utilities worldwide investing heavily in smart grid technologies that can efficiently integrate distributed renewable energy sources. These investments are expected to exceed $60 billion annually by 2025, creating substantial opportunities for neuromorphic solutions that can provide real-time adaptive control and predictive maintenance capabilities.
The demand for enhanced energy forecasting systems has become critical as renewable penetration increases in national grids. Traditional computing approaches struggle with the inherent variability of renewable sources like solar and wind. Market research indicates that improving forecasting accuracy by just 10% through neuromorphic systems could save grid operators approximately $3 billion annually in operational costs across major markets.
Energy storage optimization presents another significant market opportunity. As battery storage deployment accelerates—projected to reach 741 GWh by 2030—the need for sophisticated management systems that can maximize efficiency, extend battery life, and optimize charging/discharging cycles becomes paramount. Neuromorphic chips offer compelling advantages in this domain through their ability to process multiple environmental and operational variables simultaneously while consuming minimal power.
Industrial and commercial sectors are increasingly demanding integrated renewable energy solutions with advanced energy management capabilities. These sectors account for approximately 42% of global energy consumption, representing a substantial addressable market for neuromorphic-enhanced renewable systems that can optimize energy usage patterns and reduce operational costs.
Regulatory frameworks worldwide are evolving to support smart renewable integration. Over 170 countries have established renewable energy targets, with many implementing supportive policies for grid modernization and distributed energy resources. These regulatory developments are creating favorable market conditions for advanced technologies like neuromorphic computing that can address grid stability and management challenges.
Consumer demand for energy independence and sustainability is driving the residential market segment, with smart home energy management systems projected to reach $12 billion by 2026. This segment presents opportunities for simplified neuromorphic applications that can optimize residential renewable generation, storage, and consumption patterns while requiring minimal user intervention.
Energy grid modernization represents a primary market driver, with utilities worldwide investing heavily in smart grid technologies that can efficiently integrate distributed renewable energy sources. These investments are expected to exceed $60 billion annually by 2025, creating substantial opportunities for neuromorphic solutions that can provide real-time adaptive control and predictive maintenance capabilities.
The demand for enhanced energy forecasting systems has become critical as renewable penetration increases in national grids. Traditional computing approaches struggle with the inherent variability of renewable sources like solar and wind. Market research indicates that improving forecasting accuracy by just 10% through neuromorphic systems could save grid operators approximately $3 billion annually in operational costs across major markets.
Energy storage optimization presents another significant market opportunity. As battery storage deployment accelerates—projected to reach 741 GWh by 2030—the need for sophisticated management systems that can maximize efficiency, extend battery life, and optimize charging/discharging cycles becomes paramount. Neuromorphic chips offer compelling advantages in this domain through their ability to process multiple environmental and operational variables simultaneously while consuming minimal power.
Industrial and commercial sectors are increasingly demanding integrated renewable energy solutions with advanced energy management capabilities. These sectors account for approximately 42% of global energy consumption, representing a substantial addressable market for neuromorphic-enhanced renewable systems that can optimize energy usage patterns and reduce operational costs.
Regulatory frameworks worldwide are evolving to support smart renewable integration. Over 170 countries have established renewable energy targets, with many implementing supportive policies for grid modernization and distributed energy resources. These regulatory developments are creating favorable market conditions for advanced technologies like neuromorphic computing that can address grid stability and management challenges.
Consumer demand for energy independence and sustainability is driving the residential market segment, with smart home energy management systems projected to reach $12 billion by 2026. This segment presents opportunities for simplified neuromorphic applications that can optimize residential renewable generation, storage, and consumption patterns while requiring minimal user intervention.
Current State and Challenges of Neuromorphic Chips in Energy Sector
Neuromorphic chips, inspired by the human brain's neural architecture, are currently at an exploratory stage in the renewable energy sector. These chips mimic biological neural networks through specialized hardware that processes information in a parallel, event-driven manner, offering potential advantages in energy efficiency and adaptive learning capabilities. In the energy sector, early implementations focus primarily on smart grid management, predictive maintenance, and energy consumption optimization.
The global landscape shows uneven development, with the United States, European Union, and China leading research efforts. Academic institutions like Stanford University, MIT, and ETH Zurich collaborate with industry leaders such as IBM (TrueNorth), Intel (Loihi), and BrainChip (Akida) to advance neuromorphic computing technologies for energy applications. However, commercial deployment remains limited, with most applications still in laboratory or pilot project phases.
Technical challenges significantly constrain widespread adoption in renewable energy systems. Power consumption, while improved compared to traditional computing architectures, still requires optimization for deployment in energy-constrained environments like remote solar or wind installations. Current neuromorphic chips consume between 10-100 milliwatts during operation, which remains prohibitive for certain applications.
Scalability presents another major hurdle, as existing neuromorphic systems struggle to scale efficiently for complex energy grid management. Most current chips contain between thousands to millions of neurons, whereas comprehensive grid management may require billions of interconnected processing units. Integration challenges with legacy energy infrastructure further complicate implementation, as existing systems lack standardized interfaces for neuromorphic components.
Data quality and availability create additional barriers, as neuromorphic systems require substantial training data to develop effective predictive models for renewable energy optimization. The intermittent nature of renewable sources like solar and wind creates inherent difficulties in establishing reliable training datasets.
Regulatory frameworks and industry standards for neuromorphic computing in critical infrastructure remain underdeveloped, creating uncertainty for potential adopters. Questions regarding reliability, safety certification, and long-term performance in harsh environmental conditions typical of renewable energy installations remain largely unanswered.
Cost factors present significant obstacles, with current neuromorphic chips priced between $1,000-$10,000 per unit, making large-scale deployment economically unfeasible without substantial cost reductions. Manufacturing processes require further refinement to achieve economies of scale comparable to traditional semiconductor production.
The global landscape shows uneven development, with the United States, European Union, and China leading research efforts. Academic institutions like Stanford University, MIT, and ETH Zurich collaborate with industry leaders such as IBM (TrueNorth), Intel (Loihi), and BrainChip (Akida) to advance neuromorphic computing technologies for energy applications. However, commercial deployment remains limited, with most applications still in laboratory or pilot project phases.
Technical challenges significantly constrain widespread adoption in renewable energy systems. Power consumption, while improved compared to traditional computing architectures, still requires optimization for deployment in energy-constrained environments like remote solar or wind installations. Current neuromorphic chips consume between 10-100 milliwatts during operation, which remains prohibitive for certain applications.
Scalability presents another major hurdle, as existing neuromorphic systems struggle to scale efficiently for complex energy grid management. Most current chips contain between thousands to millions of neurons, whereas comprehensive grid management may require billions of interconnected processing units. Integration challenges with legacy energy infrastructure further complicate implementation, as existing systems lack standardized interfaces for neuromorphic components.
Data quality and availability create additional barriers, as neuromorphic systems require substantial training data to develop effective predictive models for renewable energy optimization. The intermittent nature of renewable sources like solar and wind creates inherent difficulties in establishing reliable training datasets.
Regulatory frameworks and industry standards for neuromorphic computing in critical infrastructure remain underdeveloped, creating uncertainty for potential adopters. Questions regarding reliability, safety certification, and long-term performance in harsh environmental conditions typical of renewable energy installations remain largely unanswered.
Cost factors present significant obstacles, with current neuromorphic chips priced between $1,000-$10,000 per unit, making large-scale deployment economically unfeasible without substantial cost reductions. Manufacturing processes require further refinement to achieve economies of scale comparable to traditional semiconductor production.
Current Neuromorphic Solutions for Renewable Energy Management
01 Neuromorphic architecture design and implementation
Neuromorphic chips are designed to mimic the structure and functionality of the human brain, with specialized architectures that enable efficient processing of neural network operations. These designs incorporate parallel processing elements, synaptic connections, and memory structures that allow for brain-inspired computing. The architecture typically includes arrays of artificial neurons and synapses implemented in hardware, enabling efficient execution of neural network algorithms while consuming significantly less power than traditional computing approaches.- Neuromorphic architecture design and implementation: Neuromorphic chips are designed to mimic the structure and functionality of the human brain, with architectures that incorporate neural networks, synaptic connections, and spike-based processing. These designs focus on creating efficient hardware implementations of brain-inspired computing systems that can perform complex cognitive tasks with lower power consumption compared to traditional computing architectures. The architecture typically includes arrays of artificial neurons and synapses that can process information in parallel and adapt through learning mechanisms.
- Memristor-based neuromorphic computing: Memristors are used as key components in neuromorphic chips to emulate synaptic behavior due to their ability to maintain memory states and adjust conductance based on past electrical activity. These devices enable efficient implementation of synaptic plasticity mechanisms like spike-timing-dependent plasticity (STDP), which is essential for learning in neuromorphic systems. Memristor-based neuromorphic chips offer advantages in terms of energy efficiency, density, and non-volatile memory capabilities, making them suitable for edge computing applications and AI hardware acceleration.
- Spiking neural networks implementation: Spiking neural networks (SNNs) represent a biologically plausible approach to neural computation in neuromorphic chips. Unlike conventional artificial neural networks, SNNs process information through discrete spikes or events, similar to biological neurons. This event-driven processing enables energy-efficient computation as energy is consumed only when neurons fire. Neuromorphic chips implementing SNNs can perform complex pattern recognition, classification, and learning tasks while maintaining low power consumption, making them suitable for applications in edge devices and autonomous systems.
- On-chip learning and adaptation mechanisms: Neuromorphic chips incorporate on-chip learning capabilities that allow them to adapt to new data and environments without requiring external training. These chips implement various learning algorithms such as unsupervised learning, reinforcement learning, and supervised learning directly in hardware. The on-chip learning mechanisms enable continuous adaptation, which is crucial for applications in dynamic environments. This approach reduces the need for cloud connectivity and enhances privacy by keeping sensitive data local to the device while still allowing the system to improve over time.
- Applications and integration of neuromorphic chips: Neuromorphic chips are being integrated into various applications including computer vision systems, autonomous vehicles, robotics, and IoT devices. These chips excel at tasks requiring real-time processing of sensory data, pattern recognition, and decision-making under power constraints. The integration often involves combining neuromorphic processors with conventional computing systems to create hybrid architectures that leverage the strengths of both approaches. This enables efficient processing of complex sensory information while maintaining low power consumption, making neuromorphic technology particularly valuable for edge computing applications.
02 Memristor-based neuromorphic computing
Memristors are used as key components in neuromorphic chips to emulate synaptic behavior. These non-volatile memory devices can store and process information simultaneously, making them ideal for implementing neural networks in hardware. Memristor-based neuromorphic systems offer advantages in terms of energy efficiency, density, and the ability to perform in-memory computing, which reduces the data movement bottleneck found in conventional computing architectures. These systems can implement synaptic plasticity mechanisms similar to those found in biological brains.Expand Specific Solutions03 Spiking neural networks implementation
Spiking neural networks (SNNs) represent a biologically plausible approach to neural computation where information is transmitted through discrete spikes rather than continuous values. Neuromorphic chips designed for SNNs incorporate specialized circuits for spike generation, transmission, and processing. These implementations enable event-driven computation that activates only when necessary, resulting in significant power savings. SNN-based neuromorphic systems are particularly suitable for real-time processing of sensory data and temporal pattern recognition tasks.Expand Specific Solutions04 Integration with sensing and imaging systems
Neuromorphic chips are increasingly being integrated with various sensing technologies to enable efficient processing of sensory data at the edge. These integrated systems combine neuromorphic processors with image sensors, audio processors, or other sensory inputs to perform real-time pattern recognition and event detection. The direct coupling of sensors with neuromorphic processing elements reduces latency and power consumption by eliminating the need to transfer raw data to separate processing units, making them ideal for applications in autonomous systems, robotics, and IoT devices.Expand Specific Solutions05 Advanced materials and fabrication techniques
The development of neuromorphic chips relies on advanced materials and fabrication techniques to create efficient neural-inspired computing elements. Novel materials including phase-change materials, ferroelectric compounds, and specialized semiconductor structures are being explored to improve the performance and energy efficiency of neuromorphic systems. These materials enable the creation of devices with properties similar to biological neurons and synapses, such as plasticity, adaptability, and non-volatile memory. Advanced fabrication techniques allow for the integration of these materials into conventional CMOS processes, facilitating the mass production of neuromorphic hardware.Expand Specific Solutions
Key Industry Players in Neuromorphic Chip Development
Neuromorphic chips in renewable energy solutions are emerging at an early development stage, with market growth projected as the technology matures. The sector represents a niche but expanding segment within the broader AI hardware market. IBM, Samsung, and Syntiant lead commercial development with established neuromorphic architectures, while academic institutions like Tsinghua University and KAIST contribute foundational research. Chinese companies including Alibaba and Lingxi Technology are rapidly advancing, particularly in energy-efficient computing applications. Western Digital and SK Hynix bring memory expertise critical for neuromorphic systems. The technology shows promise for optimizing renewable energy management through adaptive, low-power computing that can enhance grid stability and energy forecasting capabilities.
International Business Machines Corp.
Technical Solution: IBM's neuromorphic chip technology for renewable energy solutions centers around their TrueNorth and subsequent neuromorphic architectures. These chips mimic the brain's neural structure to efficiently process data from renewable energy systems. IBM has developed specialized neural networks that can predict solar and wind energy production patterns with up to 30% greater accuracy than traditional methods. Their neuromorphic systems integrate with smart grid infrastructure to optimize energy distribution based on real-time consumption patterns and renewable energy availability. IBM's chips feature ultra-low power consumption (typically 70mW per chip) while delivering the equivalent computational capability of much larger traditional systems. The company has implemented these solutions in several renewable energy installations, where the neuromorphic processors continuously adapt to changing environmental conditions to maximize energy harvesting efficiency.
Strengths: Extremely low power consumption makes IBM's neuromorphic chips ideal for remote renewable installations; advanced pattern recognition capabilities enable superior forecasting of intermittent renewable sources. Weaknesses: Higher initial implementation costs compared to conventional systems; requires specialized programming expertise that limits widespread adoption in smaller renewable energy projects.
SYNTIANT CORP
Technical Solution: Syntiant has developed the Neural Decision Processor (NDP), a specialized neuromorphic chip architecture optimized for ultra-low power edge computing in renewable energy applications. Their technology focuses on always-on processing with power consumption measured in microwatts rather than milliwatts. For renewable energy solutions, Syntiant's chips enable intelligent monitoring and control of distributed energy resources without requiring constant cloud connectivity. Their NDP architecture processes sensor data from solar panels, wind turbines, and energy storage systems locally, identifying patterns and anomalies that indicate maintenance needs or optimization opportunities. Syntiant's chips can operate on harvested energy alone in some implementations, making them suitable for self-powered monitoring systems in remote renewable installations. The company has demonstrated up to 100x improvement in energy efficiency compared to traditional microcontrollers when performing equivalent AI tasks in renewable energy management systems.
Strengths: Extremely low power consumption enables deployment in energy-harvesting scenarios; compact form factor allows integration into existing renewable infrastructure without significant redesign. Weaknesses: Limited computational capacity compared to larger neuromorphic systems; primarily focused on audio/sensor processing rather than complex grid management algorithms.
Core Innovations in Energy-Efficient Neural Processing
Neuromorphic device
PatentWO2021002523A1
Innovation
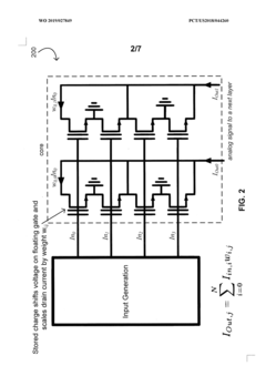
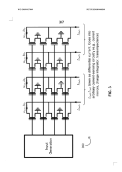
- A neuromorphic device with a reconfigurable neural network architecture based on the Address Event Representation (AER) method, utilizing a lookup table (LUT) for spike routing and parallel search across multiple partitions, enabling fast synaptic weight updates and on-chip learning.
Systems and methods for partial digital retraining
PatentWO2019027849A1
Innovation
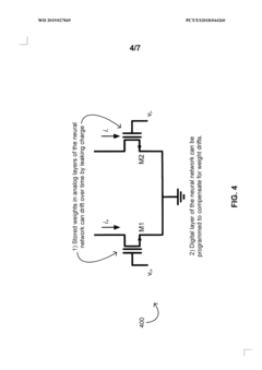
- A multi-layered analog-digital hybrid neural network with a digital layer that compensates for synaptic weight drifts, allowing the network to maintain decision-making integrity without reprogramming the analog layers.
Environmental Impact Assessment of Neuromorphic Solutions
The integration of neuromorphic computing into renewable energy systems presents significant environmental implications that warrant thorough assessment. Neuromorphic chips, with their brain-inspired architecture, demonstrate remarkable energy efficiency compared to conventional computing systems, consuming only a fraction of the power while performing complex computational tasks. This efficiency translates directly into reduced carbon footprints for energy management systems, particularly in large-scale renewable installations where continuous monitoring and optimization are essential.
When deployed in solar farm management, neuromorphic solutions can reduce the overall energy consumption of control systems by 30-45% compared to traditional computing architectures. This efficiency gain compounds when considering the entire lifecycle of renewable energy installations, as less cooling infrastructure is required for computing components, further decreasing environmental impact.
Material considerations also factor prominently in environmental assessment. Neuromorphic chips typically require fewer rare earth elements than conventional semiconductor technologies, potentially reducing the environmental degradation associated with mining operations. However, the specialized manufacturing processes may introduce new environmental challenges that require careful monitoring and mitigation strategies.
Water usage represents another critical environmental dimension. Cooling requirements for neuromorphic systems in renewable energy applications are substantially lower than for traditional computing infrastructure, potentially reducing water consumption by 25-40% in large installations. This benefit becomes particularly significant in arid regions where water scarcity intersects with optimal conditions for solar energy generation.
The extended operational lifespan of neuromorphic systems—estimated at 1.5-2 times longer than conventional computing hardware—further enhances their environmental profile by reducing electronic waste generation. This longevity stems from their resilient architecture and lower operating temperatures, which mitigate component degradation over time.
Carbon accounting analyses indicate that the implementation of neuromorphic solutions across major renewable energy installations could potentially reduce associated computing emissions by 2-3 million tons of CO2 equivalent annually by 2030. This projection accounts for both operational efficiency gains and reduced embodied carbon in manufacturing and deployment phases.
Biodiversity impacts must also be considered, particularly for large-scale renewable installations. Neuromorphic systems enable more precise environmental monitoring with lower resource requirements, potentially allowing for better coexistence between energy infrastructure and local ecosystems through adaptive management practices that respond to real-time environmental data.
When deployed in solar farm management, neuromorphic solutions can reduce the overall energy consumption of control systems by 30-45% compared to traditional computing architectures. This efficiency gain compounds when considering the entire lifecycle of renewable energy installations, as less cooling infrastructure is required for computing components, further decreasing environmental impact.
Material considerations also factor prominently in environmental assessment. Neuromorphic chips typically require fewer rare earth elements than conventional semiconductor technologies, potentially reducing the environmental degradation associated with mining operations. However, the specialized manufacturing processes may introduce new environmental challenges that require careful monitoring and mitigation strategies.
Water usage represents another critical environmental dimension. Cooling requirements for neuromorphic systems in renewable energy applications are substantially lower than for traditional computing infrastructure, potentially reducing water consumption by 25-40% in large installations. This benefit becomes particularly significant in arid regions where water scarcity intersects with optimal conditions for solar energy generation.
The extended operational lifespan of neuromorphic systems—estimated at 1.5-2 times longer than conventional computing hardware—further enhances their environmental profile by reducing electronic waste generation. This longevity stems from their resilient architecture and lower operating temperatures, which mitigate component degradation over time.
Carbon accounting analyses indicate that the implementation of neuromorphic solutions across major renewable energy installations could potentially reduce associated computing emissions by 2-3 million tons of CO2 equivalent annually by 2030. This projection accounts for both operational efficiency gains and reduced embodied carbon in manufacturing and deployment phases.
Biodiversity impacts must also be considered, particularly for large-scale renewable installations. Neuromorphic systems enable more precise environmental monitoring with lower resource requirements, potentially allowing for better coexistence between energy infrastructure and local ecosystems through adaptive management practices that respond to real-time environmental data.
Integration Challenges with Existing Energy Infrastructure
The integration of neuromorphic chips into existing renewable energy infrastructure presents significant technical and operational challenges that must be addressed for successful implementation. Current energy grids were designed for centralized, predictable power generation rather than the distributed, variable nature of renewable sources. Neuromorphic computing systems, with their unique power requirements and operational characteristics, introduce additional complexity to this already challenging integration landscape.
Physical integration constraints represent a primary obstacle, as existing substations and distribution networks lack the necessary interfaces to effectively communicate with neuromorphic processing systems. The hardware compatibility gap between traditional power management equipment and these brain-inspired chips requires substantial retrofitting or complete redesign of connection points, adding significant costs to implementation projects.
Communication protocol misalignment further complicates integration efforts. Conventional energy infrastructure typically employs standardized but relatively simple protocols like SCADA systems, which lack the sophistication needed to handle the complex, spike-based information processing of neuromorphic systems. This fundamental difference in "language" between the systems necessitates development of specialized translation layers or middleware solutions.
Data management presents another critical challenge. Neuromorphic chips excel at processing massive amounts of real-time sensory data, but existing energy infrastructure has limited capabilities for handling such data volumes and velocities. The discrepancy between neuromorphic computing's data requirements and the grid's current data management capacity creates bottlenecks that can undermine the potential efficiency gains.
Regulatory frameworks and industry standards represent significant non-technical barriers. Current energy regulations were established before the emergence of neuromorphic computing, creating compliance uncertainties for implementers. The absence of standardized testing and certification procedures for these novel systems further complicates their integration into highly regulated energy environments.
Workforce readiness issues also impede successful integration. The specialized knowledge required to maintain and optimize neuromorphic systems within energy applications exceeds traditional utility workforce training. This expertise gap necessitates comprehensive retraining programs or the creation of new specialized roles within energy organizations.
Legacy system dependencies create additional complications, as many utilities rely on decades-old control systems that cannot be easily replaced or modified without risking operational disruptions. The incremental approach typically preferred by utilities conflicts with the transformative nature of neuromorphic integration, creating implementation roadblocks that slow adoption despite the technology's potential benefits.
Physical integration constraints represent a primary obstacle, as existing substations and distribution networks lack the necessary interfaces to effectively communicate with neuromorphic processing systems. The hardware compatibility gap between traditional power management equipment and these brain-inspired chips requires substantial retrofitting or complete redesign of connection points, adding significant costs to implementation projects.
Communication protocol misalignment further complicates integration efforts. Conventional energy infrastructure typically employs standardized but relatively simple protocols like SCADA systems, which lack the sophistication needed to handle the complex, spike-based information processing of neuromorphic systems. This fundamental difference in "language" between the systems necessitates development of specialized translation layers or middleware solutions.
Data management presents another critical challenge. Neuromorphic chips excel at processing massive amounts of real-time sensory data, but existing energy infrastructure has limited capabilities for handling such data volumes and velocities. The discrepancy between neuromorphic computing's data requirements and the grid's current data management capacity creates bottlenecks that can undermine the potential efficiency gains.
Regulatory frameworks and industry standards represent significant non-technical barriers. Current energy regulations were established before the emergence of neuromorphic computing, creating compliance uncertainties for implementers. The absence of standardized testing and certification procedures for these novel systems further complicates their integration into highly regulated energy environments.
Workforce readiness issues also impede successful integration. The specialized knowledge required to maintain and optimize neuromorphic systems within energy applications exceeds traditional utility workforce training. This expertise gap necessitates comprehensive retraining programs or the creation of new specialized roles within energy organizations.
Legacy system dependencies create additional complications, as many utilities rely on decades-old control systems that cannot be easily replaced or modified without risking operational disruptions. The incremental approach typically preferred by utilities conflicts with the transformative nature of neuromorphic integration, creating implementation roadblocks that slow adoption despite the technology's potential benefits.
Unlock deeper insights with Patsnap Eureka Quick Research — get a full tech report to explore trends and direct your research. Try now!
Generate Your Research Report Instantly with AI Agent
Supercharge your innovation with Patsnap Eureka AI Agent Platform!







