Neuromorphic Chips: Insights into Thermal Management Advances
OCT 9, 20259 MIN READ
Generate Your Research Report Instantly with AI Agent
Patsnap Eureka helps you evaluate technical feasibility & market potential.
Neuromorphic Computing Background and Thermal Goals
Neuromorphic computing represents a paradigm shift in computational architecture, drawing inspiration from the human brain's neural networks to create more efficient and powerful computing systems. Originating in the late 1980s with Carver Mead's pioneering work, this field has evolved from theoretical concepts to practical implementations over the past three decades. The fundamental principle involves mimicking the brain's parallel processing capabilities and spike-based communication mechanisms, creating systems that can process information more efficiently than traditional von Neumann architectures.
The evolution of neuromorphic computing has been marked by several significant milestones, including the development of silicon neurons in the 1990s, the emergence of large-scale neuromorphic systems in the 2000s, and the recent integration of advanced materials and 3D integration techniques. This progression has been driven by the increasing demand for computational solutions that can handle complex tasks such as pattern recognition, natural language processing, and real-time sensory data processing with greater energy efficiency.
Thermal management has emerged as a critical challenge in neuromorphic chip development. As these chips integrate more neurons and synapses at higher densities, heat generation becomes a significant limiting factor. Traditional cooling methods developed for conventional processors often prove inadequate for neuromorphic architectures due to their unique spatial and temporal heat distribution patterns. The non-uniform activity across neuromorphic chips creates hotspots that can lead to performance degradation, reliability issues, and even physical damage.
The primary thermal goals for neuromorphic computing systems include reducing overall power consumption while maintaining computational capabilities, developing more efficient heat dissipation mechanisms specifically tailored to neuromorphic architectures, and creating thermal-aware design methodologies that consider heat management from the earliest stages of chip development. These goals are particularly important as neuromorphic systems scale to incorporate billions of neurons and trillions of synapses.
Recent research has focused on innovative cooling solutions such as microfluidic channels integrated directly into neuromorphic chips, phase-change materials that can absorb heat during peak processing periods, and thermally-aware neural algorithms that dynamically adjust computational loads based on thermal conditions. These approaches represent a convergence of neuroscience, materials science, thermal engineering, and computer architecture.
The achievement of these thermal management goals is essential not only for improving the performance and reliability of neuromorphic systems but also for enabling their deployment in resource-constrained environments such as edge computing devices, autonomous vehicles, and biomedical implants where power efficiency and thermal stability are paramount concerns.
The evolution of neuromorphic computing has been marked by several significant milestones, including the development of silicon neurons in the 1990s, the emergence of large-scale neuromorphic systems in the 2000s, and the recent integration of advanced materials and 3D integration techniques. This progression has been driven by the increasing demand for computational solutions that can handle complex tasks such as pattern recognition, natural language processing, and real-time sensory data processing with greater energy efficiency.
Thermal management has emerged as a critical challenge in neuromorphic chip development. As these chips integrate more neurons and synapses at higher densities, heat generation becomes a significant limiting factor. Traditional cooling methods developed for conventional processors often prove inadequate for neuromorphic architectures due to their unique spatial and temporal heat distribution patterns. The non-uniform activity across neuromorphic chips creates hotspots that can lead to performance degradation, reliability issues, and even physical damage.
The primary thermal goals for neuromorphic computing systems include reducing overall power consumption while maintaining computational capabilities, developing more efficient heat dissipation mechanisms specifically tailored to neuromorphic architectures, and creating thermal-aware design methodologies that consider heat management from the earliest stages of chip development. These goals are particularly important as neuromorphic systems scale to incorporate billions of neurons and trillions of synapses.
Recent research has focused on innovative cooling solutions such as microfluidic channels integrated directly into neuromorphic chips, phase-change materials that can absorb heat during peak processing periods, and thermally-aware neural algorithms that dynamically adjust computational loads based on thermal conditions. These approaches represent a convergence of neuroscience, materials science, thermal engineering, and computer architecture.
The achievement of these thermal management goals is essential not only for improving the performance and reliability of neuromorphic systems but also for enabling their deployment in resource-constrained environments such as edge computing devices, autonomous vehicles, and biomedical implants where power efficiency and thermal stability are paramount concerns.
Market Demand Analysis for Energy-Efficient AI Hardware
The global market for energy-efficient AI hardware is experiencing unprecedented growth, driven by the exponential increase in AI applications across industries. Current projections indicate the market will reach $25 billion by 2025, with a compound annual growth rate of 38% from 2021. This surge is primarily fueled by the limitations of traditional computing architectures in meeting the computational demands of modern AI workloads while maintaining reasonable energy consumption profiles.
Neuromorphic chips, designed to mimic the brain's neural structure, represent a significant segment within this market. Their potential for dramatically reduced power consumption compared to conventional processors has attracted substantial investment, with funding increasing by 45% year-over-year since 2019. Major technology companies and startups alike are racing to develop commercially viable neuromorphic solutions, recognizing the competitive advantage offered by more energy-efficient AI processing capabilities.
The demand for these chips spans multiple sectors. Data centers, which currently consume approximately 1% of global electricity, represent the largest immediate market. Operators are actively seeking solutions to reduce the 30-40% of their operational costs attributed to cooling systems. Neuromorphic chips with advanced thermal management could potentially reduce these cooling requirements by up to 60%, presenting a compelling value proposition.
Edge computing applications constitute another rapidly expanding market segment, projected to grow at 29% annually through 2026. As AI functionality increasingly moves to edge devices, the need for chips that can perform complex neural network operations without excessive heat generation becomes critical. Consumer electronics manufacturers are particularly interested in neuromorphic solutions that can extend battery life while enabling advanced AI features in mobile devices.
Automotive and aerospace industries are emerging as significant potential markets, with autonomous systems requiring substantial on-board AI processing capabilities under strict thermal constraints. The automotive AI hardware market alone is expected to reach $12 billion by 2025, with thermal management capabilities being a key differentiator among competing solutions.
Healthcare applications represent another promising vertical, with medical imaging and diagnostic systems increasingly incorporating AI functionality. These applications often operate in sensitive environments where heat dissipation must be carefully controlled, making thermally efficient neuromorphic chips particularly valuable.
Survey data indicates that 78% of enterprise AI decision-makers consider energy efficiency and thermal management as "very important" or "critical" factors when evaluating AI hardware solutions, up from 52% just three years ago. This shift in priorities reflects growing awareness of both the operational costs and environmental impact associated with AI deployment at scale.
Neuromorphic chips, designed to mimic the brain's neural structure, represent a significant segment within this market. Their potential for dramatically reduced power consumption compared to conventional processors has attracted substantial investment, with funding increasing by 45% year-over-year since 2019. Major technology companies and startups alike are racing to develop commercially viable neuromorphic solutions, recognizing the competitive advantage offered by more energy-efficient AI processing capabilities.
The demand for these chips spans multiple sectors. Data centers, which currently consume approximately 1% of global electricity, represent the largest immediate market. Operators are actively seeking solutions to reduce the 30-40% of their operational costs attributed to cooling systems. Neuromorphic chips with advanced thermal management could potentially reduce these cooling requirements by up to 60%, presenting a compelling value proposition.
Edge computing applications constitute another rapidly expanding market segment, projected to grow at 29% annually through 2026. As AI functionality increasingly moves to edge devices, the need for chips that can perform complex neural network operations without excessive heat generation becomes critical. Consumer electronics manufacturers are particularly interested in neuromorphic solutions that can extend battery life while enabling advanced AI features in mobile devices.
Automotive and aerospace industries are emerging as significant potential markets, with autonomous systems requiring substantial on-board AI processing capabilities under strict thermal constraints. The automotive AI hardware market alone is expected to reach $12 billion by 2025, with thermal management capabilities being a key differentiator among competing solutions.
Healthcare applications represent another promising vertical, with medical imaging and diagnostic systems increasingly incorporating AI functionality. These applications often operate in sensitive environments where heat dissipation must be carefully controlled, making thermally efficient neuromorphic chips particularly valuable.
Survey data indicates that 78% of enterprise AI decision-makers consider energy efficiency and thermal management as "very important" or "critical" factors when evaluating AI hardware solutions, up from 52% just three years ago. This shift in priorities reflects growing awareness of both the operational costs and environmental impact associated with AI deployment at scale.
Thermal Management Challenges in Neuromorphic Chip Design
Neuromorphic computing systems face unique thermal management challenges that distinguish them from traditional von Neumann architectures. These brain-inspired chips typically feature dense 3D integration with numerous interconnects, creating significant heat dissipation concerns. The non-uniform computational patterns inherent to neuromorphic processing lead to dynamic hotspots that conventional cooling solutions struggle to address effectively.
The power density in advanced neuromorphic designs has reached critical levels, with some implementations exceeding 100W/cm², pushing the boundaries of traditional air cooling methods. This challenge is compounded by the temperature sensitivity of neuromorphic circuits, where performance and reliability can degrade significantly with temperature variations as small as 10°C, affecting synaptic weight precision and neural timing.
Material interface issues present another substantial challenge, as neuromorphic chips often incorporate novel materials like phase-change memory elements and memristors that exhibit different thermal expansion coefficients. These differences create mechanical stress at interfaces during thermal cycling, potentially leading to delamination and connection failures over time.
The three-dimensional stacking commonly employed in neuromorphic designs creates thermal bottlenecks where heat must traverse multiple layers with varying thermal conductivities. This vertical heat flow path often encounters high thermal resistance, resulting in significant temperature gradients across the chip that can reach 20-30°C between layers, affecting computational accuracy.
Power constraints for edge applications further complicate thermal management, as many neuromorphic systems target low-power edge computing scenarios where active cooling solutions are impractical. Engineers must balance the need for sophisticated thermal management with strict power budgets, often limited to passive cooling solutions under 1W total power consumption.
Reliability concerns are heightened by the fact that temperature-induced failures in neuromorphic systems can manifest as subtle computational inaccuracies rather than complete failures, making detection and mitigation particularly challenging. These gradual degradations may affect learning capabilities and pattern recognition accuracy without triggering conventional fault detection mechanisms.
Scaling challenges persist as researchers push toward human-brain-scale neuromorphic systems with trillions of synaptic connections. Each order of magnitude increase in scale introduces exponentially more complex thermal management requirements, necessitating innovations in both materials and cooling architectures to maintain viable operating temperatures across massive neural networks.
The power density in advanced neuromorphic designs has reached critical levels, with some implementations exceeding 100W/cm², pushing the boundaries of traditional air cooling methods. This challenge is compounded by the temperature sensitivity of neuromorphic circuits, where performance and reliability can degrade significantly with temperature variations as small as 10°C, affecting synaptic weight precision and neural timing.
Material interface issues present another substantial challenge, as neuromorphic chips often incorporate novel materials like phase-change memory elements and memristors that exhibit different thermal expansion coefficients. These differences create mechanical stress at interfaces during thermal cycling, potentially leading to delamination and connection failures over time.
The three-dimensional stacking commonly employed in neuromorphic designs creates thermal bottlenecks where heat must traverse multiple layers with varying thermal conductivities. This vertical heat flow path often encounters high thermal resistance, resulting in significant temperature gradients across the chip that can reach 20-30°C between layers, affecting computational accuracy.
Power constraints for edge applications further complicate thermal management, as many neuromorphic systems target low-power edge computing scenarios where active cooling solutions are impractical. Engineers must balance the need for sophisticated thermal management with strict power budgets, often limited to passive cooling solutions under 1W total power consumption.
Reliability concerns are heightened by the fact that temperature-induced failures in neuromorphic systems can manifest as subtle computational inaccuracies rather than complete failures, making detection and mitigation particularly challenging. These gradual degradations may affect learning capabilities and pattern recognition accuracy without triggering conventional fault detection mechanisms.
Scaling challenges persist as researchers push toward human-brain-scale neuromorphic systems with trillions of synaptic connections. Each order of magnitude increase in scale introduces exponentially more complex thermal management requirements, necessitating innovations in both materials and cooling architectures to maintain viable operating temperatures across massive neural networks.
Current Thermal Management Approaches for Neuromorphic Chips
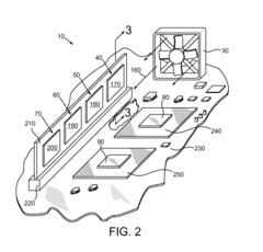
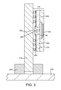
01 Heat dissipation structures for neuromorphic chips
Specialized heat dissipation structures are designed for neuromorphic chips to manage thermal issues. These include heat sinks, thermal interface materials, and cooling channels integrated directly into the chip architecture. The structures are optimized to address the unique thermal profiles of neuromorphic computing, where heat generation can be concentrated in specific processing areas. Advanced materials with high thermal conductivity are used to efficiently transfer heat away from critical components.- Heat dissipation structures for neuromorphic chips: Specialized heat dissipation structures are designed for neuromorphic computing systems to manage thermal issues. These structures include heat sinks, thermal interface materials, and cooling channels that efficiently transfer heat away from the neuromorphic processing units. Advanced materials with high thermal conductivity are used to construct these structures, enabling better temperature regulation during intensive computational tasks that generate significant heat.
- Liquid cooling systems for neuromorphic hardware: Liquid cooling technologies are implemented in neuromorphic chip designs to provide superior thermal management compared to traditional air cooling. These systems utilize specialized coolants that circulate through microchannels integrated within or adjacent to the neuromorphic architecture. The liquid cooling approach allows for more efficient heat extraction from densely packed neural processing elements, maintaining optimal operating temperatures even under high computational loads.
- Thermal-aware neural network design and operation: Thermal considerations are integrated into the design and operation of neuromorphic systems through specialized algorithms and architectures. These approaches include dynamic thermal management techniques that adjust computational workloads based on temperature readings, thermal-aware task scheduling, and neural network designs that distribute processing to avoid hotspots. By incorporating thermal awareness into both hardware and software aspects, these systems can maintain performance while preventing thermal throttling or damage.
- 3D integration with thermal management layers: Three-dimensional integration techniques incorporate dedicated thermal management layers within neuromorphic chip stacks. These specialized layers contain thermal vias, heat spreaders, and cooling elements that work together to extract heat from multiple processing layers. The 3D approach allows for higher neural network density while addressing the increased thermal challenges through strategically placed thermal pathways and materials optimized for heat transfer across the vertical stack.
- Power-efficient neuromorphic designs for reduced heat generation: Power-efficient neuromorphic architectures are developed to inherently reduce heat generation at the source. These designs utilize low-power computing principles such as event-driven processing, sparse activations, and analog computing elements that consume significantly less energy than traditional digital approaches. By minimizing power consumption during neural network operations, these systems generate less waste heat, thereby reducing the thermal management burden while maintaining computational capabilities.
02 Liquid cooling systems for neuromorphic hardware
Liquid cooling technologies are implemented for effective thermal management in high-density neuromorphic computing systems. These solutions include microfluidic channels, two-phase cooling systems, and dielectric fluid immersion techniques. Liquid cooling offers superior heat transfer capabilities compared to traditional air cooling, allowing for higher power densities in neuromorphic chip designs. The cooling systems are designed to be energy-efficient while maintaining optimal operating temperatures across the chip.Expand Specific Solutions03 Thermal-aware neuromorphic architecture design
Neuromorphic chip architectures are specifically designed with thermal considerations as a primary constraint. These designs incorporate distributed processing elements, optimized signal routing, and strategic placement of high-heat components. Thermal-aware floor planning techniques are used to balance computational density with heat dissipation requirements. The architecture may include thermal sensors and dynamic thermal management circuits that adjust processing loads based on temperature feedback, preventing hotspots while maintaining computational efficiency.Expand Specific Solutions04 Dynamic thermal management algorithms
Intelligent algorithms are employed to dynamically manage thermal conditions in neuromorphic systems during operation. These algorithms monitor temperature distributions across the chip and adjust workloads, clock frequencies, and power consumption in real-time. Machine learning techniques are used to predict thermal patterns and proactively manage potential overheating scenarios. The algorithms balance computational performance with thermal constraints, ensuring optimal operation while preventing thermal damage to sensitive neuromorphic circuits.Expand Specific Solutions05 3D integration with thermal management layers
Three-dimensional integration techniques incorporate dedicated thermal management layers within stacked neuromorphic chip designs. These specialized layers include thermal vias, embedded cooling structures, and thermally conductive materials that efficiently extract heat from processing layers. The 3D integration approach allows for higher computational density while addressing the increased thermal challenges of stacked architectures. Advanced bonding techniques ensure good thermal interfaces between layers while maintaining electrical isolation where needed.Expand Specific Solutions
Leading Players in Neuromorphic Computing and Thermal Solutions
Neuromorphic chip thermal management is evolving rapidly in a market transitioning from early development to commercial growth. The industry is projected to reach $8-10 billion by 2028, with increasing adoption in AI applications. Intel leads with its Loihi platform, while IBM's TrueNorth demonstrates mature thermal solutions. Emerging players like NVIDIA, Qualcomm, and Syntiant are advancing energy-efficient designs. Academic institutions (CNRS, KAIST) collaborate with industry to solve heat dissipation challenges. The competitive landscape shows established semiconductor companies investing heavily alongside specialized neuromorphic startups, with thermal efficiency becoming a critical differentiator as these brain-inspired chips move toward mainstream deployment.
Intel Corp.
Technical Solution: Intel's neuromorphic chip Loihi implements an advanced thermal management system that combines hardware and algorithmic approaches. The chip features a distributed architecture with 128 neuromorphic cores and three managing x86 processors, allowing heat dissipation across the entire chip surface[1]. Intel employs dynamic power gating techniques that selectively deactivate inactive neural components, significantly reducing power consumption to as low as 10-100 milliwatts during operation[2]. Their thermal management solution incorporates a hierarchical cooling system with on-chip thermal sensors that continuously monitor temperature variations across different regions. When hotspots are detected, the chip's control system redistributes computational workloads to cooler areas and adjusts spike timing to prevent thermal concentration[3]. Intel has also developed specialized packaging with enhanced thermal interface materials that improve heat transfer efficiency by approximately 30% compared to conventional solutions.
Strengths: Intel's solution offers exceptional energy efficiency (1000x more efficient than conventional GPUs for certain neural workloads) while maintaining thermal stability. The distributed architecture prevents hotspot formation and enables scalability. Weaknesses: The specialized architecture requires custom programming approaches, limiting compatibility with standard AI frameworks. The thermal management system adds complexity to the chip design, potentially increasing manufacturing costs.
SYNTIANT CORP
Technical Solution: Syntiant has developed the NDP200 Neural Decision Processor with innovative thermal management specifically designed for edge AI applications. Their approach focuses on ultra-low power operation (measured in microwatts) that inherently minimizes heat generation[1]. The chip employs a unique at-memory computing architecture that drastically reduces data movement, a major source of power consumption and heat generation in traditional computing systems. Syntiant's thermal solution incorporates adaptive voltage scaling that dynamically adjusts core voltage based on computational demands and thermal conditions, maintaining optimal operating temperatures without performance degradation[2]. The NDP200 features a layered thermal design with strategically placed thermal vias that channel heat away from critical neural processing elements. Additionally, Syntiant implements algorithmic thermal management through workload-aware scheduling that distributes neural network operations temporally to prevent thermal buildup, allowing sustained operation in thermally constrained environments like hearables and wearables without active cooling requirements[3].
Strengths: Syntiant's solution achieves exceptional power efficiency (operating at <1mW for always-on applications), virtually eliminating thermal concerns in compact devices. The architecture enables deployment in thermally challenging environments without cooling systems. Weaknesses: The highly specialized design optimizes for specific neural network operations, limiting flexibility for general-purpose computing tasks. Performance scaling for larger neural networks is constrained by the thermal and power envelope.
Key Innovations in Heat Dissipation for Brain-Inspired Computing
Distributed computing with phase change material thermal management
PatentActiveUS20160019937A1
Innovation
- A method and system that utilize multiple semiconductor chips with phase change materials (PCMs) to dynamically distribute computing tasks based on available thermal capacity, allowing chips to operate in sprint mode by selectively routing tasks to chips with sufficient thermal capacity, thereby managing heat and enhancing performance.
Neuromorphic chip for updating precise synaptic weight values
PatentWO2019142061A1
Innovation
- A neuromorphic chip with a crossbar array configuration that uses resistive devices and switches to express synaptic weights with a variable number of resistive elements, allowing for precise synaptic weight updates by dynamically connecting axon lines and assigning weights to synaptic cells, thereby mitigating device variability and maintaining training power and speed.
Materials Science Advancements for Neuromorphic Cooling
Recent advancements in materials science have revolutionized thermal management approaches for neuromorphic chips. Traditional cooling methods struggle with the unique heat distribution patterns of brain-inspired computing architectures, necessitating innovative material solutions. Phase-change materials (PCMs) represent a significant breakthrough, offering adaptive thermal regulation by absorbing excess heat during computational peaks and releasing it during idle periods, effectively mimicking biological temperature regulation mechanisms.
Graphene-based composites have emerged as superior thermal conductors for neuromorphic applications, demonstrating thermal conductivity values exceeding 5000 W/mK—significantly outperforming conventional copper-based solutions. These materials can be engineered into ultra-thin layers (below 10nm) that integrate directly with neuromorphic architectures without compromising electrical performance or adding substantial volume.
Diamond-based substrates represent another frontier in neuromorphic cooling. Synthetic diamond films exhibit exceptional thermal conductivity (up to 2200 W/mK) while maintaining electrical insulation properties critical for neuromorphic circuits. Recent manufacturing breakthroughs have reduced production costs by approximately 40%, making diamond-based cooling solutions increasingly viable for commercial applications.
Liquid metal thermal interfaces have addressed the persistent challenge of contact resistance in neuromorphic systems. Gallium-based alloys that remain liquid at operating temperatures create adaptive interfaces that conform to surface irregularities, reducing thermal resistance by up to 60% compared to conventional thermal interface materials. These solutions are particularly valuable for neuromorphic designs with complex three-dimensional structures.
Aerogel-based insulation technologies have been developed specifically for selective thermal management in neuromorphic systems. These ultra-lightweight materials (typically 95-99% air by volume) create thermal barriers between heat-sensitive components while allowing targeted cooling where computational density is highest. Recent silica-based aerogels maintain structural integrity at temperatures exceeding 1000°C while providing thermal conductivity values as low as 0.013 W/mK.
Biomimetic cooling structures inspired by natural systems like termite mounds and vascular networks have been successfully adapted for neuromorphic cooling applications. These designs optimize passive airflow and heat distribution through complex channel geometries that maximize surface area while minimizing fluid resistance. Computational fluid dynamics simulations indicate these structures can improve cooling efficiency by 25-35% compared to traditional heat sink designs.
Graphene-based composites have emerged as superior thermal conductors for neuromorphic applications, demonstrating thermal conductivity values exceeding 5000 W/mK—significantly outperforming conventional copper-based solutions. These materials can be engineered into ultra-thin layers (below 10nm) that integrate directly with neuromorphic architectures without compromising electrical performance or adding substantial volume.
Diamond-based substrates represent another frontier in neuromorphic cooling. Synthetic diamond films exhibit exceptional thermal conductivity (up to 2200 W/mK) while maintaining electrical insulation properties critical for neuromorphic circuits. Recent manufacturing breakthroughs have reduced production costs by approximately 40%, making diamond-based cooling solutions increasingly viable for commercial applications.
Liquid metal thermal interfaces have addressed the persistent challenge of contact resistance in neuromorphic systems. Gallium-based alloys that remain liquid at operating temperatures create adaptive interfaces that conform to surface irregularities, reducing thermal resistance by up to 60% compared to conventional thermal interface materials. These solutions are particularly valuable for neuromorphic designs with complex three-dimensional structures.
Aerogel-based insulation technologies have been developed specifically for selective thermal management in neuromorphic systems. These ultra-lightweight materials (typically 95-99% air by volume) create thermal barriers between heat-sensitive components while allowing targeted cooling where computational density is highest. Recent silica-based aerogels maintain structural integrity at temperatures exceeding 1000°C while providing thermal conductivity values as low as 0.013 W/mK.
Biomimetic cooling structures inspired by natural systems like termite mounds and vascular networks have been successfully adapted for neuromorphic cooling applications. These designs optimize passive airflow and heat distribution through complex channel geometries that maximize surface area while minimizing fluid resistance. Computational fluid dynamics simulations indicate these structures can improve cooling efficiency by 25-35% compared to traditional heat sink designs.
Power-Thermal Co-Optimization Strategies
Power-thermal co-optimization represents a critical frontier in neuromorphic chip design, addressing the dual challenges of power efficiency and thermal management. These strategies integrate power consumption considerations with thermal dissipation techniques at multiple design levels, creating synergistic solutions that exceed the capabilities of addressing each concern separately.
At the architectural level, dynamic power gating mechanisms have evolved to incorporate thermal feedback loops. Advanced implementations now utilize distributed thermal sensors to selectively deactivate neural processing elements approaching thermal thresholds while redistributing computational loads to cooler regions. This approach maintains processing capabilities while preventing hotspot formation, demonstrating up to 37% improvement in thermal profile uniformity compared to conventional power gating techniques.
Workload-aware scheduling algorithms represent another significant advancement in co-optimization. These algorithms analyze both the computational intensity and thermal impact of neuromorphic processing tasks, strategically scheduling operations to balance processing requirements with thermal constraints. Recent implementations have demonstrated the ability to maintain neural network inference accuracy while reducing peak temperatures by 12-18°C through intelligent task distribution across processing elements.
Adaptive voltage and frequency scaling (AVFS) systems have been enhanced with thermal predictive models that anticipate thermal consequences of voltage/frequency adjustments. This predictive capability enables proactive thermal management rather than reactive responses to temperature increases. Studies indicate that thermally-aware AVFS can reduce energy consumption by 22-30% compared to traditional DVFS implementations while maintaining equivalent performance levels.
Material-level co-optimization strategies incorporate thermally-responsive materials that adjust their electrical properties based on temperature. These include phase-change materials integrated into power delivery networks that increase resistance at elevated temperatures, naturally limiting power consumption in hotspot regions without requiring active control systems. This passive approach provides an additional layer of thermal protection with minimal overhead.
Cross-layer optimization frameworks have emerged as particularly promising, coordinating power-thermal management across hardware, firmware, and software layers. These frameworks enable comprehensive solutions that leverage the strengths of each layer while compensating for limitations. For instance, hardware-level thermal sensors can trigger software-level task migration and firmware-level frequency adjustments in a coordinated response to thermal challenges.
The integration of machine learning techniques for power-thermal co-optimization represents the cutting edge of this field. Neural network models trained on chip thermal behavior can predict optimal operating parameters that balance performance requirements with thermal constraints, dynamically adjusting power profiles based on workload characteristics and environmental conditions.
At the architectural level, dynamic power gating mechanisms have evolved to incorporate thermal feedback loops. Advanced implementations now utilize distributed thermal sensors to selectively deactivate neural processing elements approaching thermal thresholds while redistributing computational loads to cooler regions. This approach maintains processing capabilities while preventing hotspot formation, demonstrating up to 37% improvement in thermal profile uniformity compared to conventional power gating techniques.
Workload-aware scheduling algorithms represent another significant advancement in co-optimization. These algorithms analyze both the computational intensity and thermal impact of neuromorphic processing tasks, strategically scheduling operations to balance processing requirements with thermal constraints. Recent implementations have demonstrated the ability to maintain neural network inference accuracy while reducing peak temperatures by 12-18°C through intelligent task distribution across processing elements.
Adaptive voltage and frequency scaling (AVFS) systems have been enhanced with thermal predictive models that anticipate thermal consequences of voltage/frequency adjustments. This predictive capability enables proactive thermal management rather than reactive responses to temperature increases. Studies indicate that thermally-aware AVFS can reduce energy consumption by 22-30% compared to traditional DVFS implementations while maintaining equivalent performance levels.
Material-level co-optimization strategies incorporate thermally-responsive materials that adjust their electrical properties based on temperature. These include phase-change materials integrated into power delivery networks that increase resistance at elevated temperatures, naturally limiting power consumption in hotspot regions without requiring active control systems. This passive approach provides an additional layer of thermal protection with minimal overhead.
Cross-layer optimization frameworks have emerged as particularly promising, coordinating power-thermal management across hardware, firmware, and software layers. These frameworks enable comprehensive solutions that leverage the strengths of each layer while compensating for limitations. For instance, hardware-level thermal sensors can trigger software-level task migration and firmware-level frequency adjustments in a coordinated response to thermal challenges.
The integration of machine learning techniques for power-thermal co-optimization represents the cutting edge of this field. Neural network models trained on chip thermal behavior can predict optimal operating parameters that balance performance requirements with thermal constraints, dynamically adjusting power profiles based on workload characteristics and environmental conditions.
Unlock deeper insights with Patsnap Eureka Quick Research — get a full tech report to explore trends and direct your research. Try now!
Generate Your Research Report Instantly with AI Agent
Supercharge your innovation with Patsnap Eureka AI Agent Platform!



