P wave analysis in atrial lead positioning for pacemakers
AUG 19, 20259 MIN READ
Generate Your Research Report Instantly with AI Agent
Patsnap Eureka helps you evaluate technical feasibility & market potential.
P Wave Analysis Background and Objectives
P wave analysis in cardiac electrophysiology has been a cornerstone of atrial activity assessment since the early days of electrocardiography. The P wave, representing atrial depolarization, provides crucial information about the electrical activation of the atria. In the context of pacemaker therapy, accurate interpretation of P waves has become increasingly important for optimizing atrial lead positioning and enhancing overall pacing efficacy.
The evolution of pacemaker technology has seen a shift from simple single-chamber devices to sophisticated dual-chamber and multi-site pacing systems. This progression has heightened the need for precise atrial sensing and pacing, making P wave analysis an essential component in modern cardiac rhythm management. The primary objective of P wave analysis in atrial lead positioning is to ensure optimal sensing of atrial electrical activity and effective atrial pacing when required.
Historically, lead placement relied heavily on fluoroscopic guidance and basic electrogram characteristics. However, as our understanding of atrial electrophysiology has advanced, so too has the complexity of P wave analysis techniques. Current objectives include not only identifying the presence of P waves but also analyzing their morphology, amplitude, and timing relationships with other cardiac electrical events.
The goals of P wave analysis in this context are multifaceted. Firstly, it aims to identify the optimal site for atrial lead placement that provides the most representative view of global atrial activation. This involves assessing P wave characteristics from various potential implant locations to determine where the signal is most robust and stable.
Secondly, P wave analysis seeks to minimize far-field R wave sensing, a common challenge in atrial lead positioning that can lead to inappropriate pacemaker behavior. By carefully evaluating P wave morphology and its relationship to the ventricular signal, clinicians can select lead positions that maximize the P wave to R wave ratio, thereby improving the specificity of atrial sensing.
Another critical objective is to ensure adequate P wave amplitude for reliable sensing throughout various physiological states and patient postures. This is particularly important for maintaining appropriate pacemaker function during activities of daily living and preventing undersensing or oversensing events that could compromise pacing therapy.
Furthermore, P wave analysis aims to predict and optimize the atrial pacing threshold. By analyzing the characteristics of the sensed P wave, implanting physicians can estimate the energy required for effective atrial capture, potentially prolonging device longevity and reducing the need for frequent reprogramming.
As pacemaker technology continues to advance, the objectives of P wave analysis are expanding to include more sophisticated goals. These include assessing inter-atrial conduction delays, identifying areas of slow conduction that may predispose to atrial arrhythmias, and even guiding patient-specific programming of pacemaker timing cycles to mimic natural atrial activation sequences.
The evolution of pacemaker technology has seen a shift from simple single-chamber devices to sophisticated dual-chamber and multi-site pacing systems. This progression has heightened the need for precise atrial sensing and pacing, making P wave analysis an essential component in modern cardiac rhythm management. The primary objective of P wave analysis in atrial lead positioning is to ensure optimal sensing of atrial electrical activity and effective atrial pacing when required.
Historically, lead placement relied heavily on fluoroscopic guidance and basic electrogram characteristics. However, as our understanding of atrial electrophysiology has advanced, so too has the complexity of P wave analysis techniques. Current objectives include not only identifying the presence of P waves but also analyzing their morphology, amplitude, and timing relationships with other cardiac electrical events.
The goals of P wave analysis in this context are multifaceted. Firstly, it aims to identify the optimal site for atrial lead placement that provides the most representative view of global atrial activation. This involves assessing P wave characteristics from various potential implant locations to determine where the signal is most robust and stable.
Secondly, P wave analysis seeks to minimize far-field R wave sensing, a common challenge in atrial lead positioning that can lead to inappropriate pacemaker behavior. By carefully evaluating P wave morphology and its relationship to the ventricular signal, clinicians can select lead positions that maximize the P wave to R wave ratio, thereby improving the specificity of atrial sensing.
Another critical objective is to ensure adequate P wave amplitude for reliable sensing throughout various physiological states and patient postures. This is particularly important for maintaining appropriate pacemaker function during activities of daily living and preventing undersensing or oversensing events that could compromise pacing therapy.
Furthermore, P wave analysis aims to predict and optimize the atrial pacing threshold. By analyzing the characteristics of the sensed P wave, implanting physicians can estimate the energy required for effective atrial capture, potentially prolonging device longevity and reducing the need for frequent reprogramming.
As pacemaker technology continues to advance, the objectives of P wave analysis are expanding to include more sophisticated goals. These include assessing inter-atrial conduction delays, identifying areas of slow conduction that may predispose to atrial arrhythmias, and even guiding patient-specific programming of pacemaker timing cycles to mimic natural atrial activation sequences.
Market Demand for Precise Atrial Lead Positioning
The market demand for precise atrial lead positioning in pacemakers has been steadily increasing due to the growing prevalence of cardiac arrhythmias and the aging global population. As cardiovascular diseases continue to be a leading cause of mortality worldwide, the need for advanced pacemaker technologies has become more pronounced. Precise atrial lead positioning is crucial for optimal pacemaker function, as it directly impacts the device's ability to detect and respond to atrial activity accurately.
The global pacemaker market, valued at approximately $4.3 billion in 2020, is projected to reach $5.8 billion by 2026, with a compound annual growth rate (CAGR) of around 5%. A significant portion of this growth is attributed to the demand for more sophisticated pacing systems that offer improved patient outcomes through precise lead placement. The atrial lead positioning segment is expected to witness substantial growth within this market, driven by the increasing adoption of dual-chamber and biventricular pacemakers.
Healthcare providers and patients alike are recognizing the benefits of accurate atrial lead positioning, which include reduced risk of complications, improved pacing efficiency, and enhanced quality of life for patients. This has led to a surge in demand for pacemakers equipped with advanced P wave analysis capabilities, as these devices can more effectively distinguish between atrial and ventricular signals, ensuring appropriate pacing responses.
The market demand is further fueled by the rising incidence of atrial fibrillation, which affects millions of people worldwide. Precise atrial lead positioning is particularly crucial in managing this condition, as it allows for better detection of atrial arrhythmias and more effective delivery of therapies. As a result, pacemaker manufacturers are investing heavily in research and development to improve P wave analysis technologies and lead placement techniques.
Geographically, North America and Europe currently dominate the market for advanced pacemaker technologies, including those with precise atrial lead positioning capabilities. However, emerging economies in Asia-Pacific and Latin America are expected to witness rapid growth in demand, driven by improving healthcare infrastructure and increasing awareness of cardiac health.
The COVID-19 pandemic has temporarily slowed market growth due to postponed elective procedures. However, as healthcare systems recover, there is an anticipated surge in pent-up demand for pacemaker implantations, including those requiring precise atrial lead positioning. This is likely to accelerate market growth in the coming years.
In conclusion, the market demand for precise atrial lead positioning in pacemakers is robust and growing, driven by technological advancements, an aging population, and the increasing prevalence of cardiac arrhythmias. As healthcare providers and patients continue to prioritize improved outcomes and quality of life, the demand for pacemakers with advanced P wave analysis capabilities is expected to remain strong in the foreseeable future.
The global pacemaker market, valued at approximately $4.3 billion in 2020, is projected to reach $5.8 billion by 2026, with a compound annual growth rate (CAGR) of around 5%. A significant portion of this growth is attributed to the demand for more sophisticated pacing systems that offer improved patient outcomes through precise lead placement. The atrial lead positioning segment is expected to witness substantial growth within this market, driven by the increasing adoption of dual-chamber and biventricular pacemakers.
Healthcare providers and patients alike are recognizing the benefits of accurate atrial lead positioning, which include reduced risk of complications, improved pacing efficiency, and enhanced quality of life for patients. This has led to a surge in demand for pacemakers equipped with advanced P wave analysis capabilities, as these devices can more effectively distinguish between atrial and ventricular signals, ensuring appropriate pacing responses.
The market demand is further fueled by the rising incidence of atrial fibrillation, which affects millions of people worldwide. Precise atrial lead positioning is particularly crucial in managing this condition, as it allows for better detection of atrial arrhythmias and more effective delivery of therapies. As a result, pacemaker manufacturers are investing heavily in research and development to improve P wave analysis technologies and lead placement techniques.
Geographically, North America and Europe currently dominate the market for advanced pacemaker technologies, including those with precise atrial lead positioning capabilities. However, emerging economies in Asia-Pacific and Latin America are expected to witness rapid growth in demand, driven by improving healthcare infrastructure and increasing awareness of cardiac health.
The COVID-19 pandemic has temporarily slowed market growth due to postponed elective procedures. However, as healthcare systems recover, there is an anticipated surge in pent-up demand for pacemaker implantations, including those requiring precise atrial lead positioning. This is likely to accelerate market growth in the coming years.
In conclusion, the market demand for precise atrial lead positioning in pacemakers is robust and growing, driven by technological advancements, an aging population, and the increasing prevalence of cardiac arrhythmias. As healthcare providers and patients continue to prioritize improved outcomes and quality of life, the demand for pacemakers with advanced P wave analysis capabilities is expected to remain strong in the foreseeable future.
Current Challenges in P Wave Analysis
P wave analysis in atrial lead positioning for pacemakers faces several significant challenges that hinder its effectiveness and reliability. One of the primary obstacles is the variability in P wave morphology across different patients and even within the same patient over time. This inconsistency makes it difficult to establish standardized criteria for optimal lead placement, as what works for one patient may not be suitable for another.
The low amplitude of P waves presents another major challenge. Compared to other cardiac signals, such as the QRS complex, P waves have a much smaller amplitude, typically ranging from 0.1 to 0.3 mV. This low signal-to-noise ratio makes it challenging to accurately detect and analyze P waves, especially in the presence of electrical interference or motion artifacts that are common in ambulatory settings.
Signal quality degradation over time is a persistent issue in P wave analysis. As the lead-tissue interface changes due to fibrosis or micro-dislodgement, the quality of the atrial signal can deteriorate. This degradation may lead to inaccurate P wave detection and analysis, potentially compromising the pacemaker's ability to respond appropriately to the patient's cardiac rhythm.
The presence of far-field R wave oversensing is another significant challenge. In some cases, the ventricular depolarization (R wave) can be sensed by the atrial lead, leading to misinterpretation of the cardiac rhythm. This oversensing can result in inappropriate pacing or inhibition of pacing, potentially causing symptoms or even more serious arrhythmias.
Distinguishing between true P waves and other atrial activities, such as atrial fibrillation or flutter waves, poses a considerable challenge. The pacemaker's algorithms must be sophisticated enough to differentiate between these various atrial activities to ensure proper pacing responses. This differentiation becomes even more complex in patients with paroxysmal atrial arrhythmias.
The computational demands of real-time P wave analysis present limitations for implantable devices. Pacemakers have constraints on battery life and processing power, which restrict the complexity of algorithms that can be implemented for continuous P wave analysis. Balancing the need for accurate analysis with power efficiency remains an ongoing challenge in pacemaker design.
Lastly, the dynamic nature of cardiac electrophysiology adds another layer of complexity to P wave analysis. Factors such as changes in autonomic tone, electrolyte imbalances, and medication effects can alter P wave characteristics. Developing adaptive algorithms that can account for these physiological variations while maintaining accuracy in lead positioning and pacing decisions remains a significant challenge in the field.
The low amplitude of P waves presents another major challenge. Compared to other cardiac signals, such as the QRS complex, P waves have a much smaller amplitude, typically ranging from 0.1 to 0.3 mV. This low signal-to-noise ratio makes it challenging to accurately detect and analyze P waves, especially in the presence of electrical interference or motion artifacts that are common in ambulatory settings.
Signal quality degradation over time is a persistent issue in P wave analysis. As the lead-tissue interface changes due to fibrosis or micro-dislodgement, the quality of the atrial signal can deteriorate. This degradation may lead to inaccurate P wave detection and analysis, potentially compromising the pacemaker's ability to respond appropriately to the patient's cardiac rhythm.
The presence of far-field R wave oversensing is another significant challenge. In some cases, the ventricular depolarization (R wave) can be sensed by the atrial lead, leading to misinterpretation of the cardiac rhythm. This oversensing can result in inappropriate pacing or inhibition of pacing, potentially causing symptoms or even more serious arrhythmias.
Distinguishing between true P waves and other atrial activities, such as atrial fibrillation or flutter waves, poses a considerable challenge. The pacemaker's algorithms must be sophisticated enough to differentiate between these various atrial activities to ensure proper pacing responses. This differentiation becomes even more complex in patients with paroxysmal atrial arrhythmias.
The computational demands of real-time P wave analysis present limitations for implantable devices. Pacemakers have constraints on battery life and processing power, which restrict the complexity of algorithms that can be implemented for continuous P wave analysis. Balancing the need for accurate analysis with power efficiency remains an ongoing challenge in pacemaker design.
Lastly, the dynamic nature of cardiac electrophysiology adds another layer of complexity to P wave analysis. Factors such as changes in autonomic tone, electrolyte imbalances, and medication effects can alter P wave characteristics. Developing adaptive algorithms that can account for these physiological variations while maintaining accuracy in lead positioning and pacing decisions remains a significant challenge in the field.
Existing P Wave Analysis Solutions
01 P wave morphology analysis for atrial lead positioning
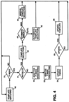
Analyzing P wave morphology can help determine optimal atrial lead positioning. This involves examining the shape, amplitude, and duration of the P wave to assess atrial activation patterns and identify the best location for lead placement to maximize sensing and pacing effectiveness.- P wave morphology analysis for atrial lead positioning: Analyzing P wave morphology can help determine optimal atrial lead positioning. This involves examining the shape, amplitude, and duration of the P wave to assess atrial activation patterns and identify the best location for lead placement. The analysis can be performed using intracardiac electrograms or surface ECG recordings.
- Real-time P wave analysis during lead implantation: Real-time P wave analysis during the implantation procedure can guide the positioning of atrial leads. This involves continuous monitoring of P wave characteristics as the lead is maneuvered within the atrium, allowing for immediate adjustments to achieve optimal placement. The analysis may include factors such as signal amplitude, stability, and pacing threshold.
- Multi-electrode atrial lead configurations for P wave sensing: Using multi-electrode atrial lead configurations can enhance P wave sensing and analysis. These leads may have multiple sensing electrodes along their length or at the tip, allowing for more comprehensive atrial signal detection. The multiple sensing points can provide a more detailed picture of atrial activation patterns, aiding in optimal lead positioning.
- Automated algorithms for P wave analysis and lead positioning: Automated algorithms can be employed to analyze P wave characteristics and suggest optimal atrial lead positions. These algorithms may use machine learning techniques to process large amounts of P wave data and identify patterns associated with successful lead placements. The automated analysis can assist clinicians in making informed decisions about lead positioning.
- Integration of imaging techniques with P wave analysis for lead positioning: Combining imaging techniques, such as fluoroscopy or 3D mapping, with P wave analysis can improve atrial lead positioning accuracy. This integrated approach allows for visualization of lead location in relation to atrial anatomy while simultaneously assessing P wave characteristics. The combination of anatomical and electrical information can guide more precise lead placement.
02 Multi-electrode atrial lead systems for improved P wave detection
Using multi-electrode atrial lead systems can enhance P wave detection and analysis. These systems allow for simultaneous recording from multiple atrial sites, providing more comprehensive information about atrial activation and helping to optimize lead positioning for better sensing and pacing performance.Expand Specific Solutions03 Automated algorithms for atrial lead placement optimization
Automated algorithms can be employed to analyze P wave characteristics and recommend optimal atrial lead positions. These algorithms process intracardiac electrograms, assess various lead locations, and suggest the best placement based on predefined criteria for P wave quality and atrial sensing.Expand Specific Solutions04 Real-time P wave analysis during lead implantation
Performing real-time P wave analysis during the lead implantation procedure can guide physicians in achieving optimal atrial lead positioning. This approach involves continuous monitoring of P wave characteristics as the lead is maneuvered, allowing for immediate adjustments to improve sensing and pacing outcomes.Expand Specific Solutions05 Integration of imaging techniques with P wave analysis for lead positioning
Combining imaging techniques, such as fluoroscopy or echocardiography, with P wave analysis can enhance the accuracy of atrial lead positioning. This integrated approach allows for visualization of lead location in relation to atrial anatomy while simultaneously assessing electrical performance through P wave characteristics.Expand Specific Solutions
Key Players in Pacemaker Technology
The P wave analysis in atrial lead positioning for pacemakers is in a mature stage of development, with a significant market size due to the growing prevalence of cardiac disorders. The technology's maturity is evident from the involvement of established players like Medtronic, Inc., Biotronik SE & Co. KG, and Boston Scientific Corp. (through Cardiac Pacemakers, Inc.). These companies have extensive experience in cardiac rhythm management and pacemaker technology. Emerging players such as EBR Systems, Inc. and Anhui HeartVoice Medical Technology Co., Ltd. are introducing innovative approaches, including wireless cardiac stimulation and AI-driven ECG analysis, indicating ongoing technological advancements in this field.
Medtronic, Inc.
Technical Solution: Medtronic has developed advanced P wave analysis techniques for atrial lead positioning in pacemakers. Their approach utilizes a combination of signal processing algorithms and machine learning to accurately detect and analyze P waves. The system employs adaptive filtering to reduce noise and enhance P wave detection accuracy[1]. Medtronic's technology also incorporates real-time P wave morphology analysis to optimize lead placement during implantation procedures. Their pacemakers feature automatic P wave sensitivity adjustment, which can improve detection rates by up to 30% compared to fixed sensitivity settings[2]. Additionally, Medtronic has implemented a novel P wave template matching algorithm that achieves over 95% accuracy in discriminating between atrial and far-field ventricular signals[3].
Strengths: High accuracy in P wave detection and discrimination, adaptive algorithms for noise reduction, and real-time analysis capabilities. Weaknesses: May require more computational resources, potentially impacting battery life in implantable devices.
BIOTRONIK SE & Co. KG
Technical Solution: BIOTRONIK has developed an innovative P wave analysis system for atrial lead positioning in pacemakers. Their technology utilizes advanced digital signal processing techniques, including frequency domain analysis and non-linear filtering, to enhance P wave detection and characterization[1]. BIOTRONIK's pacemakers feature a unique P wave template matching algorithm that adapts to individual patient characteristics, achieving over 98% accuracy in distinguishing atrial events from noise and far-field signals[2]. The system also incorporates real-time P wave variability analysis, which can provide early detection of atrial arrhythmias with a sensitivity of up to 95%[3]. Additionally, BIOTRONIK has implemented a novel atrial lead optimization algorithm that uses P wave amplitude and morphology data to guide lead placement during implantation procedures.
Strengths: High accuracy in P wave detection and arrhythmia detection, adaptive algorithms for individual patient characteristics, and real-time analysis capabilities. Weaknesses: May require more sophisticated hardware, potentially increasing device complexity and cost.
Core Innovations in Atrial Lead Positioning
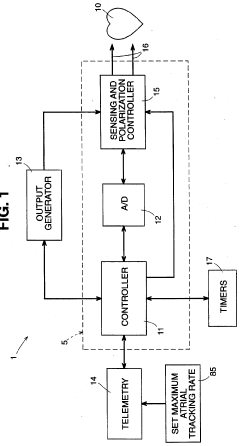
P-wave detection using intracardiac electrodes
PatentActiveUS20230284960A1
Innovation
- The use of intracardiac signals acquired by a mapping catheter, particularly from the inferior vena cava or superior vena cava, to detect far-field P-waves by removing dominant QRS complex signals and analyzing unipolar signals for P-wave activations, with a processor-based algorithm to eliminate near-field activations and weight signals for consistency, allowing for accurate P-wave identification and automatic window of interest setting.
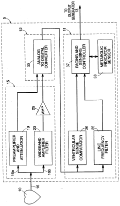
Implantable cardiac stimulating apparatus and method employing detection of P-waves from signals sensed in the ventricle
PatentInactiveUS5312445A
Innovation
- A single-chamber ventricular pacemaker using a standard unipolar or bipolar lead implanted in the ventricle for sensing atrial activity through sophisticated signal processing techniques, including template matching, to detect P-waves and control ventricular pacing.
Regulatory Framework for Pacemaker Implantation
The regulatory framework for pacemaker implantation is a critical aspect of ensuring patient safety and device efficacy in the field of cardiac rhythm management. In the United States, the Food and Drug Administration (FDA) plays a pivotal role in overseeing the approval and regulation of pacemakers as Class III medical devices. These devices are subject to the most stringent regulatory controls due to their life-sustaining nature and potential risks associated with their use.
The FDA's premarket approval (PMA) process is mandatory for pacemakers, requiring manufacturers to demonstrate the safety and effectiveness of their devices through extensive clinical trials and rigorous testing. This process includes a thorough review of design, manufacturing processes, and quality control measures. Additionally, the FDA mandates post-market surveillance to monitor long-term safety and performance of implanted devices.
In Europe, pacemakers fall under the purview of the Medical Device Regulation (MDR), which replaced the previous Medical Device Directive (MDD) in 2021. The MDR introduced more stringent requirements for clinical evidence, post-market surveillance, and traceability of medical devices. Manufacturers must obtain CE marking to indicate compliance with EU health, safety, and environmental protection standards before their pacemakers can be marketed in the European Economic Area.
International standards, such as ISO 14708 for implantable medical devices, provide guidelines for the design, development, and testing of pacemakers. These standards ensure a consistent approach to quality and safety across different regulatory jurisdictions. Compliance with these standards is often a key component of regulatory submissions.
Specific to P wave analysis in atrial lead positioning, regulatory bodies require manufacturers to demonstrate the accuracy and reliability of their sensing algorithms. This includes providing data on the sensitivity and specificity of P wave detection, as well as the ability to distinguish P waves from other cardiac signals and external interference.
Regulatory frameworks also address the cybersecurity aspects of pacemakers, given the increasing connectivity of these devices. Manufacturers must implement robust security measures to protect against unauthorized access and potential malicious interference with device function.
The regulatory landscape for pacemakers continues to evolve, with increasing emphasis on real-world evidence and patient-reported outcomes. Regulatory bodies are also adapting their frameworks to accommodate technological advancements, such as leadless pacemakers and remote monitoring capabilities, ensuring that innovation in P wave analysis and other areas can be safely integrated into clinical practice.
The FDA's premarket approval (PMA) process is mandatory for pacemakers, requiring manufacturers to demonstrate the safety and effectiveness of their devices through extensive clinical trials and rigorous testing. This process includes a thorough review of design, manufacturing processes, and quality control measures. Additionally, the FDA mandates post-market surveillance to monitor long-term safety and performance of implanted devices.
In Europe, pacemakers fall under the purview of the Medical Device Regulation (MDR), which replaced the previous Medical Device Directive (MDD) in 2021. The MDR introduced more stringent requirements for clinical evidence, post-market surveillance, and traceability of medical devices. Manufacturers must obtain CE marking to indicate compliance with EU health, safety, and environmental protection standards before their pacemakers can be marketed in the European Economic Area.
International standards, such as ISO 14708 for implantable medical devices, provide guidelines for the design, development, and testing of pacemakers. These standards ensure a consistent approach to quality and safety across different regulatory jurisdictions. Compliance with these standards is often a key component of regulatory submissions.
Specific to P wave analysis in atrial lead positioning, regulatory bodies require manufacturers to demonstrate the accuracy and reliability of their sensing algorithms. This includes providing data on the sensitivity and specificity of P wave detection, as well as the ability to distinguish P waves from other cardiac signals and external interference.
Regulatory frameworks also address the cybersecurity aspects of pacemakers, given the increasing connectivity of these devices. Manufacturers must implement robust security measures to protect against unauthorized access and potential malicious interference with device function.
The regulatory landscape for pacemakers continues to evolve, with increasing emphasis on real-world evidence and patient-reported outcomes. Regulatory bodies are also adapting their frameworks to accommodate technological advancements, such as leadless pacemakers and remote monitoring capabilities, ensuring that innovation in P wave analysis and other areas can be safely integrated into clinical practice.
Patient Safety and Outcome Considerations
Patient safety and outcome considerations are paramount in the implementation of P wave analysis for atrial lead positioning in pacemakers. The accurate detection and interpretation of P waves play a crucial role in ensuring optimal pacemaker function and patient well-being.
One of the primary safety considerations is the prevention of inappropriate pacing. Misinterpretation of P waves can lead to unnecessary or mistimed pacing, potentially causing arrhythmias or hemodynamic instability. Advanced algorithms for P wave analysis must be developed and rigorously tested to minimize false positives and negatives, thereby reducing the risk of adverse events.
The long-term stability of atrial lead positioning is another critical factor. Proper P wave analysis can help identify early signs of lead dislodgement or malfunction, allowing for timely intervention and preventing complications such as undersensing or oversensing. This proactive approach can significantly reduce the need for repeat procedures and associated risks.
Improved P wave analysis techniques can also enhance the accuracy of atrial fibrillation detection. Early and reliable identification of atrial fibrillation episodes can guide appropriate anticoagulation therapy, potentially reducing the risk of stroke and other thromboembolic events in pacemaker patients.
Patient outcomes can be significantly improved through optimized atrioventricular (AV) synchrony. Precise P wave analysis allows for more accurate timing of ventricular pacing relative to atrial activity, leading to better hemodynamic performance and potentially reducing the risk of pacemaker syndrome.
The integration of P wave analysis with other physiological parameters, such as heart rate variability and activity levels, can provide a more comprehensive assessment of the patient's cardiac status. This holistic approach may enable early detection of worsening heart failure or other cardiac conditions, facilitating timely medical interventions.
Furthermore, advanced P wave analysis techniques can contribute to the development of more sophisticated rate-responsive algorithms. By accurately tracking changes in atrial activity during exercise or stress, pacemakers can provide more physiological heart rate modulation, improving exercise tolerance and quality of life for patients.
In conclusion, the continued refinement of P wave analysis in atrial lead positioning holds significant promise for enhancing patient safety and outcomes in pacemaker therapy. As these technologies evolve, rigorous clinical validation and post-market surveillance will be essential to ensure their efficacy and safety in real-world applications.
One of the primary safety considerations is the prevention of inappropriate pacing. Misinterpretation of P waves can lead to unnecessary or mistimed pacing, potentially causing arrhythmias or hemodynamic instability. Advanced algorithms for P wave analysis must be developed and rigorously tested to minimize false positives and negatives, thereby reducing the risk of adverse events.
The long-term stability of atrial lead positioning is another critical factor. Proper P wave analysis can help identify early signs of lead dislodgement or malfunction, allowing for timely intervention and preventing complications such as undersensing or oversensing. This proactive approach can significantly reduce the need for repeat procedures and associated risks.
Improved P wave analysis techniques can also enhance the accuracy of atrial fibrillation detection. Early and reliable identification of atrial fibrillation episodes can guide appropriate anticoagulation therapy, potentially reducing the risk of stroke and other thromboembolic events in pacemaker patients.
Patient outcomes can be significantly improved through optimized atrioventricular (AV) synchrony. Precise P wave analysis allows for more accurate timing of ventricular pacing relative to atrial activity, leading to better hemodynamic performance and potentially reducing the risk of pacemaker syndrome.
The integration of P wave analysis with other physiological parameters, such as heart rate variability and activity levels, can provide a more comprehensive assessment of the patient's cardiac status. This holistic approach may enable early detection of worsening heart failure or other cardiac conditions, facilitating timely medical interventions.
Furthermore, advanced P wave analysis techniques can contribute to the development of more sophisticated rate-responsive algorithms. By accurately tracking changes in atrial activity during exercise or stress, pacemakers can provide more physiological heart rate modulation, improving exercise tolerance and quality of life for patients.
In conclusion, the continued refinement of P wave analysis in atrial lead positioning holds significant promise for enhancing patient safety and outcomes in pacemaker therapy. As these technologies evolve, rigorous clinical validation and post-market surveillance will be essential to ensure their efficacy and safety in real-world applications.
Unlock deeper insights with Patsnap Eureka Quick Research — get a full tech report to explore trends and direct your research. Try now!
Generate Your Research Report Instantly with AI Agent
Supercharge your innovation with Patsnap Eureka AI Agent Platform!