P wave alterations in sudden cardiac arrest survivors
AUG 19, 20259 MIN READ
Generate Your Research Report Instantly with AI Agent
Patsnap Eureka helps you evaluate technical feasibility & market potential.
P Wave Analysis Background and Objectives
P wave analysis has emerged as a critical area of research in cardiology, particularly in the context of sudden cardiac arrest (SCA) survivors. The P wave, representing atrial depolarization in the electrocardiogram (ECG), has been increasingly recognized as a potential indicator of underlying cardiac abnormalities and a predictor of future arrhythmic events. This research aims to comprehensively investigate the alterations in P wave characteristics among SCA survivors, with the ultimate goal of enhancing risk stratification and improving preventive strategies for this high-risk population.
The evolution of P wave analysis techniques has been closely tied to advancements in ECG technology and signal processing. Early studies primarily focused on basic P wave duration and amplitude measurements. However, recent technological progress has enabled more sophisticated analyses, including P wave morphology, dispersion, and advanced signal-averaged ECG techniques. These developments have opened new avenues for exploring subtle electrical disturbances that may precede life-threatening arrhythmias.
The primary objective of this research is to identify specific P wave alterations that are uniquely associated with SCA survivors. By comparing the P wave characteristics of SCA survivors with those of control groups, including healthy individuals and patients with non-life-threatening cardiac conditions, we aim to isolate distinctive features that may serve as early warning signs for future cardiac events. This comparative approach is crucial for developing more accurate risk assessment tools and personalized prevention strategies.
Another key goal is to investigate the temporal evolution of P wave alterations in SCA survivors. By conducting longitudinal studies, we seek to understand how these changes progress over time, potentially identifying critical windows for intervention. This temporal analysis may reveal patterns that could guide the timing and intensity of preventive measures, ultimately improving long-term outcomes for SCA survivors.
Furthermore, this research aims to explore the relationship between P wave alterations and underlying structural and functional cardiac abnormalities. By correlating P wave changes with data from advanced cardiac imaging techniques, such as cardiac MRI and echocardiography, we hope to elucidate the pathophysiological mechanisms linking electrical disturbances to structural heart disease. This integrated approach may provide insights into the complex interplay between electrical and structural remodeling in the hearts of SCA survivors.
Lastly, we aim to leverage machine learning and artificial intelligence techniques to enhance the analysis and interpretation of P wave data. By developing advanced algorithms capable of detecting subtle P wave alterations, we aspire to create more sensitive and specific tools for risk stratification. These computational approaches may uncover complex patterns and relationships within the ECG data that are not readily apparent through traditional analysis methods.
The evolution of P wave analysis techniques has been closely tied to advancements in ECG technology and signal processing. Early studies primarily focused on basic P wave duration and amplitude measurements. However, recent technological progress has enabled more sophisticated analyses, including P wave morphology, dispersion, and advanced signal-averaged ECG techniques. These developments have opened new avenues for exploring subtle electrical disturbances that may precede life-threatening arrhythmias.
The primary objective of this research is to identify specific P wave alterations that are uniquely associated with SCA survivors. By comparing the P wave characteristics of SCA survivors with those of control groups, including healthy individuals and patients with non-life-threatening cardiac conditions, we aim to isolate distinctive features that may serve as early warning signs for future cardiac events. This comparative approach is crucial for developing more accurate risk assessment tools and personalized prevention strategies.
Another key goal is to investigate the temporal evolution of P wave alterations in SCA survivors. By conducting longitudinal studies, we seek to understand how these changes progress over time, potentially identifying critical windows for intervention. This temporal analysis may reveal patterns that could guide the timing and intensity of preventive measures, ultimately improving long-term outcomes for SCA survivors.
Furthermore, this research aims to explore the relationship between P wave alterations and underlying structural and functional cardiac abnormalities. By correlating P wave changes with data from advanced cardiac imaging techniques, such as cardiac MRI and echocardiography, we hope to elucidate the pathophysiological mechanisms linking electrical disturbances to structural heart disease. This integrated approach may provide insights into the complex interplay between electrical and structural remodeling in the hearts of SCA survivors.
Lastly, we aim to leverage machine learning and artificial intelligence techniques to enhance the analysis and interpretation of P wave data. By developing advanced algorithms capable of detecting subtle P wave alterations, we aspire to create more sensitive and specific tools for risk stratification. These computational approaches may uncover complex patterns and relationships within the ECG data that are not readily apparent through traditional analysis methods.
Clinical Significance of P Wave Alterations
P wave alterations have emerged as a significant clinical indicator in the context of sudden cardiac arrest (SCA) survivors. These electrocardiographic changes provide valuable insights into the electrical activity of the atria and can serve as potential markers for identifying individuals at higher risk of future cardiac events. The clinical significance of P wave alterations lies in their ability to reflect underlying atrial remodeling and conduction abnormalities, which may precede more severe arrhythmias or cardiac dysfunction.
In SCA survivors, P wave alterations can manifest in various forms, including changes in P wave duration, amplitude, and morphology. Prolonged P wave duration, often defined as exceeding 120 milliseconds, has been associated with an increased risk of atrial fibrillation and other supraventricular arrhythmias. This prolongation may indicate atrial conduction delays or structural changes that predispose patients to further cardiac complications.
P wave amplitude changes, particularly an increase in P wave amplitude, have been linked to atrial enlargement and increased atrial pressures. These alterations can signify underlying structural heart disease or hemodynamic abnormalities that may contribute to the risk of recurrent cardiac events in SCA survivors. Conversely, a decrease in P wave amplitude may suggest atrial fibrosis or scarring, which can also impact atrial function and arrhythmia susceptibility.
Morphological changes in the P wave, such as notching, fragmentation, or biphasic appearance, can provide additional diagnostic and prognostic information. These alterations may reflect localized conduction disturbances or heterogeneous atrial activation patterns, which can serve as substrates for atrial arrhythmias and potentially trigger ventricular arrhythmias in susceptible individuals.
The clinical significance of P wave alterations extends beyond their role as markers of atrial pathology. These changes can also offer insights into the overall cardiac health and risk stratification of SCA survivors. Studies have shown that P wave alterations, particularly when combined with other electrocardiographic and clinical parameters, can enhance the prediction of adverse outcomes and guide therapeutic interventions in this high-risk population.
Furthermore, monitoring P wave alterations over time in SCA survivors can provide valuable information about disease progression and the effectiveness of therapeutic interventions. Serial assessments of P wave characteristics may help clinicians identify patients who are responding favorably to treatment or those who may require more aggressive management strategies to prevent future cardiac events.
In conclusion, the clinical significance of P wave alterations in SCA survivors lies in their potential to serve as non-invasive, readily available markers of atrial remodeling and arrhythmia risk. By incorporating P wave analysis into the comprehensive evaluation of these patients, clinicians can gain additional insights into cardiac electrical and structural abnormalities, ultimately improving risk stratification and guiding personalized treatment approaches to prevent recurrent cardiac events and improve long-term outcomes.
In SCA survivors, P wave alterations can manifest in various forms, including changes in P wave duration, amplitude, and morphology. Prolonged P wave duration, often defined as exceeding 120 milliseconds, has been associated with an increased risk of atrial fibrillation and other supraventricular arrhythmias. This prolongation may indicate atrial conduction delays or structural changes that predispose patients to further cardiac complications.
P wave amplitude changes, particularly an increase in P wave amplitude, have been linked to atrial enlargement and increased atrial pressures. These alterations can signify underlying structural heart disease or hemodynamic abnormalities that may contribute to the risk of recurrent cardiac events in SCA survivors. Conversely, a decrease in P wave amplitude may suggest atrial fibrosis or scarring, which can also impact atrial function and arrhythmia susceptibility.
Morphological changes in the P wave, such as notching, fragmentation, or biphasic appearance, can provide additional diagnostic and prognostic information. These alterations may reflect localized conduction disturbances or heterogeneous atrial activation patterns, which can serve as substrates for atrial arrhythmias and potentially trigger ventricular arrhythmias in susceptible individuals.
The clinical significance of P wave alterations extends beyond their role as markers of atrial pathology. These changes can also offer insights into the overall cardiac health and risk stratification of SCA survivors. Studies have shown that P wave alterations, particularly when combined with other electrocardiographic and clinical parameters, can enhance the prediction of adverse outcomes and guide therapeutic interventions in this high-risk population.
Furthermore, monitoring P wave alterations over time in SCA survivors can provide valuable information about disease progression and the effectiveness of therapeutic interventions. Serial assessments of P wave characteristics may help clinicians identify patients who are responding favorably to treatment or those who may require more aggressive management strategies to prevent future cardiac events.
In conclusion, the clinical significance of P wave alterations in SCA survivors lies in their potential to serve as non-invasive, readily available markers of atrial remodeling and arrhythmia risk. By incorporating P wave analysis into the comprehensive evaluation of these patients, clinicians can gain additional insights into cardiac electrical and structural abnormalities, ultimately improving risk stratification and guiding personalized treatment approaches to prevent recurrent cardiac events and improve long-term outcomes.
Current Challenges in P Wave Research
P wave research in sudden cardiac arrest (SCA) survivors faces several significant challenges that hinder progress in this critical field. One of the primary obstacles is the limited availability of high-quality, long-term electrocardiogram (ECG) data from SCA survivors. This scarcity of data makes it difficult to establish robust patterns and predictive markers for future cardiac events.
Another challenge lies in the subtle nature of P wave alterations. These changes can be minute and easily overlooked in standard ECG readings, requiring advanced signal processing techniques and sophisticated algorithms for accurate detection and analysis. The development and validation of such tools remain ongoing challenges in the field.
The heterogeneity of SCA survivors further complicates research efforts. Variations in underlying cardiac conditions, comorbidities, and treatment regimens among survivors create a complex landscape for identifying consistent P wave alterations across different patient subgroups. This diversity necessitates larger sample sizes and more comprehensive studies to draw meaningful conclusions.
Temporal variability in P wave characteristics poses another significant challenge. P wave alterations may not be constant over time, potentially changing with disease progression, treatment effects, or other physiological factors. Capturing and interpreting these dynamic changes requires longitudinal studies with frequent ECG monitoring, which are resource-intensive and logistically challenging to conduct.
The lack of standardization in P wave analysis methods across different research groups and clinical settings also hampers progress. Inconsistencies in measurement techniques, reference values, and reporting standards make it difficult to compare results across studies and translate findings into clinical practice.
Furthermore, the multifactorial nature of SCA complicates the interpretation of P wave alterations. Distinguishing between changes directly related to SCA risk and those resulting from other cardiac or non-cardiac factors remains a significant challenge. This complexity necessitates advanced statistical methods and careful consideration of confounding variables in research designs.
Lastly, the translation of research findings into clinically actionable insights presents a formidable challenge. While P wave alterations may show promise as risk markers, establishing their predictive value and integrating them into existing risk stratification models requires extensive validation studies and careful consideration of their incremental value over current practices.
Another challenge lies in the subtle nature of P wave alterations. These changes can be minute and easily overlooked in standard ECG readings, requiring advanced signal processing techniques and sophisticated algorithms for accurate detection and analysis. The development and validation of such tools remain ongoing challenges in the field.
The heterogeneity of SCA survivors further complicates research efforts. Variations in underlying cardiac conditions, comorbidities, and treatment regimens among survivors create a complex landscape for identifying consistent P wave alterations across different patient subgroups. This diversity necessitates larger sample sizes and more comprehensive studies to draw meaningful conclusions.
Temporal variability in P wave characteristics poses another significant challenge. P wave alterations may not be constant over time, potentially changing with disease progression, treatment effects, or other physiological factors. Capturing and interpreting these dynamic changes requires longitudinal studies with frequent ECG monitoring, which are resource-intensive and logistically challenging to conduct.
The lack of standardization in P wave analysis methods across different research groups and clinical settings also hampers progress. Inconsistencies in measurement techniques, reference values, and reporting standards make it difficult to compare results across studies and translate findings into clinical practice.
Furthermore, the multifactorial nature of SCA complicates the interpretation of P wave alterations. Distinguishing between changes directly related to SCA risk and those resulting from other cardiac or non-cardiac factors remains a significant challenge. This complexity necessitates advanced statistical methods and careful consideration of confounding variables in research designs.
Lastly, the translation of research findings into clinically actionable insights presents a formidable challenge. While P wave alterations may show promise as risk markers, establishing their predictive value and integrating them into existing risk stratification models requires extensive validation studies and careful consideration of their incremental value over current practices.
Existing P Wave Alteration Detection Methods
01 ECG signal analysis for P wave detection
Methods and systems for analyzing electrocardiogram (ECG) signals to detect and characterize P wave alterations. These techniques involve signal processing algorithms to isolate P waves from other components of the ECG and identify changes in their morphology, amplitude, or duration.- ECG signal analysis for P wave detection: Methods and systems for analyzing electrocardiogram (ECG) signals to detect and characterize P wave alterations. These techniques involve signal processing algorithms to isolate P waves from other components of the ECG signal, enabling the identification of abnormalities in P wave morphology, duration, or amplitude.
- Wireless monitoring of cardiac activity: Development of wireless systems for continuous monitoring of cardiac activity, including P wave alterations. These systems utilize advanced sensors and communication protocols to transmit real-time ECG data, allowing for remote detection and analysis of P wave abnormalities.
- Machine learning algorithms for P wave analysis: Application of machine learning and artificial intelligence techniques to improve the accuracy and efficiency of P wave alteration detection. These algorithms can learn from large datasets of ECG signals to identify subtle changes in P wave characteristics that may indicate underlying cardiac conditions.
- Imaging techniques for visualizing P wave alterations: Development of advanced imaging methods to visualize and analyze P wave alterations in real-time. These techniques may involve the use of high-resolution displays or augmented reality systems to provide clinicians with enhanced visual representations of P wave morphology and propagation patterns.
- Biomarker analysis for P wave alteration prediction: Research into the identification and analysis of biomarkers that may predict or correlate with P wave alterations. This approach combines ECG analysis with other physiological or biochemical markers to improve the early detection and understanding of cardiac conduction abnormalities affecting P waves.
02 Wireless monitoring of cardiac activity
Wireless devices and systems for continuous monitoring of cardiac activity, including P wave alterations. These solutions enable remote detection and analysis of ECG signals, allowing for early identification of potential cardiac issues related to P wave changes.Expand Specific Solutions03 Machine learning algorithms for P wave analysis
Application of artificial intelligence and machine learning techniques to analyze P wave alterations in ECG data. These algorithms can identify patterns and anomalies in P waves that may be indicative of various cardiac conditions.Expand Specific Solutions04 Imaging techniques for visualizing P wave alterations
Advanced imaging methods and systems for visualizing and analyzing P wave alterations in cardiac electrical activity. These techniques may involve 3D mapping or other innovative approaches to represent P wave changes graphically.Expand Specific Solutions05 Biomarkers associated with P wave alterations
Identification and analysis of biomarkers that correlate with P wave alterations in ECG signals. This approach combines molecular biology with electrophysiology to provide a more comprehensive understanding of the underlying causes of P wave changes.Expand Specific Solutions
Key Researchers and Institutions
The research on P wave alterations in sudden cardiac arrest survivors is in a developing stage, with increasing market potential as cardiovascular diseases remain a global health concern. The technology's maturity is advancing, driven by contributions from key players. Medtronic, Inc. and ZOLL Medical Corp. are leading the field with their established presence in cardiac monitoring devices. Emerging companies like Bardy Diagnostics, Inc. and Flint Hills Scientific LLC are introducing innovative ECG monitoring solutions. Academic institutions such as MIT, Zhejiang University, and Caltech are contributing valuable research, potentially accelerating technological advancements in this area.
Medtronic, Inc.
Technical Solution: Medtronic has developed advanced algorithms for P wave analysis in implantable cardioverter-defibrillators (ICDs) and pacemakers. Their technology uses machine learning techniques to analyze P wave morphology, duration, and amplitude changes in real-time. This allows for early detection of atrial fibrillation and other arrhythmias that may precede sudden cardiac arrest. The system continuously monitors P wave alterations and can trigger alerts or therapeutic interventions when significant changes are detected[1][3]. Medtronic's devices also incorporate multi-parameter analysis, combining P wave data with other cardiac signals for improved accuracy in predicting and preventing sudden cardiac events[2].
Strengths: Extensive experience in cardiac device manufacturing, large-scale clinical data for algorithm training, and integrated therapeutic capabilities. Weaknesses: Reliance on invasive implantable devices, which may limit widespread application in all at-risk populations.
ZOLL Medical Corp.
Technical Solution: ZOLL has developed a non-invasive wearable defibrillator system that incorporates P wave analysis for sudden cardiac arrest prediction. Their technology uses advanced signal processing algorithms to analyze P wave characteristics from surface ECG recordings. The system employs machine learning models trained on large datasets of sudden cardiac arrest survivors to identify subtle P wave alterations that may precede a cardiac event[4]. ZOLL's wearable solution provides continuous monitoring and can alert both the patient and healthcare providers when significant P wave changes are detected, potentially allowing for early intervention[5].
Strengths: Non-invasive monitoring solution, suitable for a wider range of at-risk patients. Continuous real-time analysis with immediate alert capabilities. Weaknesses: Potential for reduced signal quality compared to implantable devices, which may affect the accuracy of P wave analysis.
Innovative P Wave Characterization Approaches
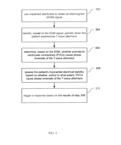
Implantable systems and methods for monitoring myocardial electrical stability by detecting PVC induced t-wave alternans reversals
PatentActiveUS20120053475A1
Innovation
- Implantable systems with electrodes that obtain electrogram signals to identify T-wave alternans and determine if PVCs cause phase reversals, assessing myocardial electrical stability by calculating the percentage of PVCs inducing phase reversals, and triggering appropriate responses such as anti-arrhythmia therapy or notifications.
Cardiac Monitoring Technology Advancements
Cardiac monitoring technology has undergone significant advancements in recent years, particularly in the field of sudden cardiac arrest (SCA) prediction and prevention. These developments have been driven by the critical need to identify individuals at high risk of SCA and implement timely interventions.
One of the most promising areas of research focuses on P wave alterations in SCA survivors. The P wave, representing atrial depolarization, has been found to contain valuable information about cardiac electrical activity and potential arrhythmic risk. Advanced signal processing techniques and machine learning algorithms have enabled more precise analysis of P wave morphology, duration, and variability.
High-resolution electrocardiography (ECG) systems have been developed to capture subtle changes in P wave characteristics. These systems employ advanced noise reduction algorithms and signal amplification techniques to enhance the quality of P wave recordings. This improved signal quality allows for more accurate detection of P wave abnormalities that may be indicative of increased SCA risk.
Wearable ECG devices have also emerged as a significant technological advancement in cardiac monitoring. These devices enable continuous, long-term monitoring of cardiac activity in real-world settings, providing a more comprehensive view of P wave dynamics over time. The integration of miniaturized sensors and low-power electronics has made these wearable devices both comfortable and practical for extended use.
Cloud-based data analytics platforms have been developed to process and analyze the vast amounts of ECG data generated by these monitoring devices. These platforms utilize advanced machine learning algorithms to identify patterns and trends in P wave characteristics that may be associated with increased SCA risk. The ability to analyze large datasets across multiple patients has led to improved risk stratification models and personalized treatment strategies.
Artificial intelligence (AI) and deep learning techniques have been applied to ECG analysis, enabling automated detection of subtle P wave alterations that may be missed by human interpreters. These AI-powered systems can process ECG data in real-time, providing immediate alerts to healthcare providers when potentially dangerous P wave changes are detected.
The integration of cardiac monitoring technology with electronic health records (EHR) systems has further enhanced the clinical utility of P wave analysis. This integration allows for the correlation of P wave alterations with other relevant clinical data, providing a more comprehensive assessment of SCA risk and enabling more informed decision-making by healthcare providers.
As research in this field continues to progress, we can expect further refinements in P wave analysis techniques and the development of more sophisticated predictive models for SCA risk assessment. These advancements hold great promise for improving outcomes in patients at risk of sudden cardiac arrest and may ultimately lead to more effective prevention strategies.
One of the most promising areas of research focuses on P wave alterations in SCA survivors. The P wave, representing atrial depolarization, has been found to contain valuable information about cardiac electrical activity and potential arrhythmic risk. Advanced signal processing techniques and machine learning algorithms have enabled more precise analysis of P wave morphology, duration, and variability.
High-resolution electrocardiography (ECG) systems have been developed to capture subtle changes in P wave characteristics. These systems employ advanced noise reduction algorithms and signal amplification techniques to enhance the quality of P wave recordings. This improved signal quality allows for more accurate detection of P wave abnormalities that may be indicative of increased SCA risk.
Wearable ECG devices have also emerged as a significant technological advancement in cardiac monitoring. These devices enable continuous, long-term monitoring of cardiac activity in real-world settings, providing a more comprehensive view of P wave dynamics over time. The integration of miniaturized sensors and low-power electronics has made these wearable devices both comfortable and practical for extended use.
Cloud-based data analytics platforms have been developed to process and analyze the vast amounts of ECG data generated by these monitoring devices. These platforms utilize advanced machine learning algorithms to identify patterns and trends in P wave characteristics that may be associated with increased SCA risk. The ability to analyze large datasets across multiple patients has led to improved risk stratification models and personalized treatment strategies.
Artificial intelligence (AI) and deep learning techniques have been applied to ECG analysis, enabling automated detection of subtle P wave alterations that may be missed by human interpreters. These AI-powered systems can process ECG data in real-time, providing immediate alerts to healthcare providers when potentially dangerous P wave changes are detected.
The integration of cardiac monitoring technology with electronic health records (EHR) systems has further enhanced the clinical utility of P wave analysis. This integration allows for the correlation of P wave alterations with other relevant clinical data, providing a more comprehensive assessment of SCA risk and enabling more informed decision-making by healthcare providers.
As research in this field continues to progress, we can expect further refinements in P wave analysis techniques and the development of more sophisticated predictive models for SCA risk assessment. These advancements hold great promise for improving outcomes in patients at risk of sudden cardiac arrest and may ultimately lead to more effective prevention strategies.
Ethical Considerations in Cardiac Arrest Research
Ethical considerations in cardiac arrest research, particularly in studies involving P wave alterations in sudden cardiac arrest survivors, are of paramount importance. The vulnerability of this patient population necessitates a careful balance between scientific advancement and patient protection.
Informed consent is a critical ethical issue in this field. Survivors of sudden cardiac arrest may experience cognitive impairments or emotional distress, potentially affecting their ability to provide fully informed consent. Researchers must develop clear, comprehensible consent processes and materials, potentially involving family members or legal representatives when appropriate.
The risk-benefit ratio must be carefully evaluated for each study. While research on P wave alterations could lead to improved prediction and prevention of sudden cardiac arrest, the potential risks to participants, including psychological stress or physical discomfort from monitoring devices, must be minimized and justified by the expected benefits.
Privacy and confidentiality are particularly sensitive in cardiac arrest research. P wave data and associated medical information are highly personal. Robust data protection measures must be implemented, and researchers should be transparent about how data will be used, stored, and potentially shared for future research.
Equity in participant selection is another crucial consideration. Researchers must ensure that the study population accurately represents the diversity of sudden cardiac arrest survivors, including various age groups, ethnicities, and socioeconomic backgrounds. This approach not only promotes fairness but also enhances the generalizability of research findings.
Long-term follow-up studies present unique ethical challenges. Researchers must consider the potential psychological impact of prolonged monitoring on survivors and their families. Clear protocols should be established for handling incidental findings that may arise during extended P wave monitoring.
The ethical use of control groups in P wave alteration studies requires careful consideration. While control groups are essential for scientific validity, withholding potentially beneficial interventions from cardiac arrest survivors raises ethical concerns. Adaptive trial designs or crossover studies may be considered to address this issue.
Lastly, the dissemination of research findings carries ethical responsibilities. Researchers must commit to publishing all results, including negative findings, to prevent publication bias and ensure that the scientific community and public have access to comprehensive information about P wave alterations in sudden cardiac arrest survivors.
Informed consent is a critical ethical issue in this field. Survivors of sudden cardiac arrest may experience cognitive impairments or emotional distress, potentially affecting their ability to provide fully informed consent. Researchers must develop clear, comprehensible consent processes and materials, potentially involving family members or legal representatives when appropriate.
The risk-benefit ratio must be carefully evaluated for each study. While research on P wave alterations could lead to improved prediction and prevention of sudden cardiac arrest, the potential risks to participants, including psychological stress or physical discomfort from monitoring devices, must be minimized and justified by the expected benefits.
Privacy and confidentiality are particularly sensitive in cardiac arrest research. P wave data and associated medical information are highly personal. Robust data protection measures must be implemented, and researchers should be transparent about how data will be used, stored, and potentially shared for future research.
Equity in participant selection is another crucial consideration. Researchers must ensure that the study population accurately represents the diversity of sudden cardiac arrest survivors, including various age groups, ethnicities, and socioeconomic backgrounds. This approach not only promotes fairness but also enhances the generalizability of research findings.
Long-term follow-up studies present unique ethical challenges. Researchers must consider the potential psychological impact of prolonged monitoring on survivors and their families. Clear protocols should be established for handling incidental findings that may arise during extended P wave monitoring.
The ethical use of control groups in P wave alteration studies requires careful consideration. While control groups are essential for scientific validity, withholding potentially beneficial interventions from cardiac arrest survivors raises ethical concerns. Adaptive trial designs or crossover studies may be considered to address this issue.
Lastly, the dissemination of research findings carries ethical responsibilities. Researchers must commit to publishing all results, including negative findings, to prevent publication bias and ensure that the scientific community and public have access to comprehensive information about P wave alterations in sudden cardiac arrest survivors.
Unlock deeper insights with Patsnap Eureka Quick Research — get a full tech report to explore trends and direct your research. Try now!
Generate Your Research Report Instantly with AI Agent
Supercharge your innovation with Patsnap Eureka AI Agent Platform!