P wave applications in cardiopulmonary exercise testing
AUG 19, 20259 MIN READ
Generate Your Research Report Instantly with AI Agent
PatSnap Eureka helps you evaluate technical feasibility & market potential.
P Wave CPET Background
Cardiopulmonary exercise testing (CPET) has long been recognized as a valuable tool in assessing cardiovascular and respiratory function during physical exertion. Within this context, the P wave, a component of the electrocardiogram (ECG), has emerged as a significant area of interest for researchers and clinicians alike. The P wave represents atrial depolarization and provides crucial information about the heart's electrical activity preceding ventricular contraction.
The application of P wave analysis in CPET has its roots in the broader field of exercise physiology and cardiology. Historically, CPET has primarily focused on parameters such as oxygen uptake, carbon dioxide production, and ventilatory thresholds. However, the integration of detailed ECG analysis, particularly P wave characteristics, has opened new avenues for understanding cardiac adaptations to exercise stress.
The evolution of P wave applications in CPET can be traced back to early observations of ECG changes during exercise. As technology advanced, allowing for more precise and real-time ECG monitoring during exercise, researchers began to pay closer attention to the nuances of P wave morphology and timing. This shift in focus was driven by the recognition that atrial function plays a critical role in overall cardiac performance, especially under the increased demands of physical exertion.
In recent years, there has been a growing appreciation for the potential of P wave analysis to provide insights into atrial electrophysiology and its response to exercise. This has led to the development of more sophisticated algorithms and analytical techniques for extracting meaningful data from P waves during CPET. These advancements have enabled researchers to investigate correlations between P wave characteristics and various aspects of cardiopulmonary function and exercise capacity.
The current landscape of P wave applications in CPET encompasses a wide range of research objectives and clinical applications. Studies have explored the relationship between P wave duration and exercise tolerance, the impact of exercise on P wave amplitude and morphology, and the predictive value of P wave changes for identifying underlying cardiovascular conditions. Additionally, researchers have investigated how P wave parameters during CPET may serve as markers for atrial remodeling or as early indicators of exercise-induced cardiac adaptations.
As the field continues to evolve, there is a growing trend towards integrating P wave analysis with other CPET parameters to create more comprehensive assessments of cardiovascular health and exercise physiology. This holistic approach aims to enhance the diagnostic and prognostic capabilities of CPET, potentially leading to more personalized exercise prescriptions and improved risk stratification for patients with cardiovascular diseases.
The application of P wave analysis in CPET has its roots in the broader field of exercise physiology and cardiology. Historically, CPET has primarily focused on parameters such as oxygen uptake, carbon dioxide production, and ventilatory thresholds. However, the integration of detailed ECG analysis, particularly P wave characteristics, has opened new avenues for understanding cardiac adaptations to exercise stress.
The evolution of P wave applications in CPET can be traced back to early observations of ECG changes during exercise. As technology advanced, allowing for more precise and real-time ECG monitoring during exercise, researchers began to pay closer attention to the nuances of P wave morphology and timing. This shift in focus was driven by the recognition that atrial function plays a critical role in overall cardiac performance, especially under the increased demands of physical exertion.
In recent years, there has been a growing appreciation for the potential of P wave analysis to provide insights into atrial electrophysiology and its response to exercise. This has led to the development of more sophisticated algorithms and analytical techniques for extracting meaningful data from P waves during CPET. These advancements have enabled researchers to investigate correlations between P wave characteristics and various aspects of cardiopulmonary function and exercise capacity.
The current landscape of P wave applications in CPET encompasses a wide range of research objectives and clinical applications. Studies have explored the relationship between P wave duration and exercise tolerance, the impact of exercise on P wave amplitude and morphology, and the predictive value of P wave changes for identifying underlying cardiovascular conditions. Additionally, researchers have investigated how P wave parameters during CPET may serve as markers for atrial remodeling or as early indicators of exercise-induced cardiac adaptations.
As the field continues to evolve, there is a growing trend towards integrating P wave analysis with other CPET parameters to create more comprehensive assessments of cardiovascular health and exercise physiology. This holistic approach aims to enhance the diagnostic and prognostic capabilities of CPET, potentially leading to more personalized exercise prescriptions and improved risk stratification for patients with cardiovascular diseases.
CPET Market Analysis
The cardiopulmonary exercise testing (CPET) market has been experiencing significant growth in recent years, driven by the increasing prevalence of cardiovascular and respiratory diseases worldwide. The global CPET market was valued at approximately $2.3 billion in 2020 and is projected to reach $3.8 billion by 2027, growing at a CAGR of 7.4% during the forecast period.
The rising incidence of chronic diseases, such as heart failure, chronic obstructive pulmonary disease (COPD), and obesity, has led to a growing demand for CPET as a diagnostic and prognostic tool. Additionally, the aging population and increasing awareness about preventive healthcare have contributed to the market expansion.
In terms of end-users, hospitals and specialty clinics dominate the CPET market, accounting for over 60% of the total market share. This is primarily due to the high cost of CPET equipment and the need for specialized personnel to conduct and interpret the tests. However, there is a growing trend towards the adoption of CPET in sports medicine and rehabilitation centers, which is expected to drive market growth in these segments.
Geographically, North America holds the largest market share, followed by Europe and Asia-Pacific. The United States, in particular, is a key market for CPET, owing to its advanced healthcare infrastructure and high healthcare expenditure. However, emerging economies in Asia-Pacific, such as China and India, are expected to witness the fastest growth in the coming years due to improving healthcare facilities and increasing healthcare awareness.
The integration of P wave analysis in CPET represents a significant technological advancement in the field. P wave applications in CPET offer enhanced diagnostic capabilities by providing more detailed information about cardiac function during exercise. This innovation is expected to drive market growth and create new opportunities for CPET equipment manufacturers and healthcare providers.
Key players in the CPET market are investing heavily in research and development to introduce advanced technologies and improve the accuracy and efficiency of CPET systems. The incorporation of artificial intelligence and machine learning algorithms for data analysis and interpretation is a notable trend in the market, which is likely to enhance the clinical utility of CPET and expand its applications.
Despite the positive market outlook, challenges such as the high cost of CPET equipment and the need for skilled technicians to operate the systems may hinder market growth, particularly in developing regions. However, ongoing technological advancements and increasing healthcare investments are expected to mitigate these challenges and drive the adoption of CPET globally.
The rising incidence of chronic diseases, such as heart failure, chronic obstructive pulmonary disease (COPD), and obesity, has led to a growing demand for CPET as a diagnostic and prognostic tool. Additionally, the aging population and increasing awareness about preventive healthcare have contributed to the market expansion.
In terms of end-users, hospitals and specialty clinics dominate the CPET market, accounting for over 60% of the total market share. This is primarily due to the high cost of CPET equipment and the need for specialized personnel to conduct and interpret the tests. However, there is a growing trend towards the adoption of CPET in sports medicine and rehabilitation centers, which is expected to drive market growth in these segments.
Geographically, North America holds the largest market share, followed by Europe and Asia-Pacific. The United States, in particular, is a key market for CPET, owing to its advanced healthcare infrastructure and high healthcare expenditure. However, emerging economies in Asia-Pacific, such as China and India, are expected to witness the fastest growth in the coming years due to improving healthcare facilities and increasing healthcare awareness.
The integration of P wave analysis in CPET represents a significant technological advancement in the field. P wave applications in CPET offer enhanced diagnostic capabilities by providing more detailed information about cardiac function during exercise. This innovation is expected to drive market growth and create new opportunities for CPET equipment manufacturers and healthcare providers.
Key players in the CPET market are investing heavily in research and development to introduce advanced technologies and improve the accuracy and efficiency of CPET systems. The incorporation of artificial intelligence and machine learning algorithms for data analysis and interpretation is a notable trend in the market, which is likely to enhance the clinical utility of CPET and expand its applications.
Despite the positive market outlook, challenges such as the high cost of CPET equipment and the need for skilled technicians to operate the systems may hinder market growth, particularly in developing regions. However, ongoing technological advancements and increasing healthcare investments are expected to mitigate these challenges and drive the adoption of CPET globally.
P Wave CPET Challenges
The application of P wave analysis in cardiopulmonary exercise testing (CPET) faces several significant challenges that hinder its widespread adoption and effectiveness. One of the primary obstacles is the difficulty in accurately detecting and isolating P waves during exercise. As physical exertion increases, the electrical activity of the heart becomes more complex, leading to increased noise and artifacts in the ECG signal. This makes it challenging to distinguish P waves from other components of the cardiac cycle, particularly when heart rates are elevated.
Another major challenge is the lack of standardized protocols for P wave analysis in CPET. While CPET itself has well-established guidelines, the integration of P wave analysis into these protocols is not yet fully developed. This absence of standardization makes it difficult to compare results across different studies or clinical settings, limiting the broader applicability of P wave-derived metrics in exercise physiology and cardiology.
The interpretation of P wave changes during exercise also presents a significant challenge. The physiological meaning of alterations in P wave morphology, duration, and amplitude during different stages of exercise is not yet fully understood. This knowledge gap makes it challenging to draw clinically relevant conclusions from observed P wave changes, potentially limiting the diagnostic and prognostic value of this analysis in CPET.
Technical limitations in real-time P wave analysis pose another hurdle. Current ECG systems used in CPET may not have the necessary processing power or algorithms to perform sophisticated P wave analysis on-the-fly. This limitation restricts the ability to provide immediate feedback during the test, which could be valuable for adjusting exercise protocols or making clinical decisions.
Furthermore, there is a challenge in correlating P wave changes with specific cardiopulmonary parameters measured during CPET. Establishing clear relationships between P wave characteristics and metrics such as VO2 max, anaerobic threshold, or ventilatory efficiency requires extensive research and validation. The multifactorial nature of exercise physiology makes it difficult to isolate the specific contributions of atrial function, as reflected by P waves, to overall cardiopulmonary performance.
Lastly, the clinical significance and added value of P wave analysis in CPET compared to traditional CPET parameters are not yet fully established. While P wave analysis shows promise in providing additional insights into cardiac function during exercise, demonstrating its incremental value over existing CPET metrics is crucial for its acceptance in clinical practice. This requires large-scale studies and long-term follow-up to determine whether P wave-derived parameters can improve risk stratification, diagnosis, or treatment decisions in various patient populations undergoing CPET.
Another major challenge is the lack of standardized protocols for P wave analysis in CPET. While CPET itself has well-established guidelines, the integration of P wave analysis into these protocols is not yet fully developed. This absence of standardization makes it difficult to compare results across different studies or clinical settings, limiting the broader applicability of P wave-derived metrics in exercise physiology and cardiology.
The interpretation of P wave changes during exercise also presents a significant challenge. The physiological meaning of alterations in P wave morphology, duration, and amplitude during different stages of exercise is not yet fully understood. This knowledge gap makes it challenging to draw clinically relevant conclusions from observed P wave changes, potentially limiting the diagnostic and prognostic value of this analysis in CPET.
Technical limitations in real-time P wave analysis pose another hurdle. Current ECG systems used in CPET may not have the necessary processing power or algorithms to perform sophisticated P wave analysis on-the-fly. This limitation restricts the ability to provide immediate feedback during the test, which could be valuable for adjusting exercise protocols or making clinical decisions.
Furthermore, there is a challenge in correlating P wave changes with specific cardiopulmonary parameters measured during CPET. Establishing clear relationships between P wave characteristics and metrics such as VO2 max, anaerobic threshold, or ventilatory efficiency requires extensive research and validation. The multifactorial nature of exercise physiology makes it difficult to isolate the specific contributions of atrial function, as reflected by P waves, to overall cardiopulmonary performance.
Lastly, the clinical significance and added value of P wave analysis in CPET compared to traditional CPET parameters are not yet fully established. While P wave analysis shows promise in providing additional insights into cardiac function during exercise, demonstrating its incremental value over existing CPET metrics is crucial for its acceptance in clinical practice. This requires large-scale studies and long-term follow-up to determine whether P wave-derived parameters can improve risk stratification, diagnosis, or treatment decisions in various patient populations undergoing CPET.
Current P Wave CPET
01 P wave detection and analysis in ECG signals
Methods and systems for detecting and analyzing P waves in electrocardiogram (ECG) signals. These techniques involve signal processing algorithms to identify, isolate, and characterize P waves, which represent atrial depolarization. The analysis of P waves can provide valuable information about cardiac health and potential abnormalities in the heart's electrical activity.- P wave detection and analysis in ECG signals: Methods and systems for detecting and analyzing P waves in electrocardiogram (ECG) signals. This includes techniques for identifying P wave morphology, measuring P wave duration and amplitude, and distinguishing P waves from other ECG components. These approaches can be used for diagnosing various cardiac conditions and assessing atrial function.
- P wave-based cardiac monitoring devices: Devices and systems designed specifically for monitoring and analyzing P waves in real-time. These may include wearable sensors, implantable devices, or external monitors that focus on capturing and processing P wave data for continuous cardiac assessment and early detection of atrial abnormalities.
- Signal processing techniques for P wave enhancement: Advanced signal processing methods to enhance the detection and analysis of P waves in noisy or complex ECG recordings. This may involve filtering techniques, wavelet transforms, or machine learning algorithms to isolate and clarify P wave signals for more accurate interpretation.
- P wave-based arrhythmia detection and classification: Algorithms and systems that use P wave characteristics to detect and classify various types of cardiac arrhythmias. This includes methods for distinguishing between different atrial arrhythmias based on P wave patterns, timing, and morphology changes.
- Integration of P wave analysis in comprehensive cardiac monitoring systems: Incorporation of P wave analysis into broader cardiac monitoring and diagnostic systems. This involves combining P wave data with other ECG components and physiological parameters to provide a more comprehensive assessment of cardiac health and function in clinical settings.
02 P wave communication systems
Technologies related to P wave communication systems, which utilize low-frequency electromagnetic waves for data transmission. These systems are particularly useful for underwater or underground communication where traditional radio waves are ineffective. The innovations focus on improving signal generation, modulation techniques, and reception methods for P wave communications.Expand Specific Solutions03 P wave seismic exploration
Advancements in seismic exploration techniques using P waves (primary waves) for geological surveys and oil/gas exploration. These methods involve generating, detecting, and analyzing P waves to create detailed subsurface images and identify potential hydrocarbon reservoirs. Innovations include improved sensor arrays, data processing algorithms, and interpretation techniques.Expand Specific Solutions04 P wave-based medical diagnostics
Medical diagnostic tools and methods that utilize P wave analysis for assessing cardiac health and detecting various heart conditions. These innovations encompass wearable devices, implantable sensors, and advanced algorithms for real-time monitoring and analysis of P waves in clinical and home settings.Expand Specific Solutions05 P wave signal processing in telecommunications
Signal processing techniques for P waves in telecommunications applications, focusing on improving signal quality, reducing interference, and enhancing data transmission rates. These innovations include advanced modulation schemes, error correction methods, and adaptive filtering techniques specifically designed for P wave communications.Expand Specific Solutions
Key CPET Players
The P wave applications in cardiopulmonary exercise testing market is in a growth phase, with increasing adoption of advanced ECG monitoring technologies. The global market size is expanding, driven by rising prevalence of cardiovascular diseases and growing emphasis on preventive healthcare. Technologically, the field is advancing rapidly, with companies like Bardy Diagnostics, Medtronic, and Boston Scientific leading innovation in P wave detection and analysis. These firms are developing more sophisticated, wearable ECG devices with improved P wave monitoring capabilities. However, the technology is still evolving, with ongoing research to enhance accuracy and clinical utility, particularly in integrating AI and machine learning for more precise P wave interpretation during exercise testing.
Medtronic, Inc.
Technical Solution: Medtronic has developed advanced P wave detection algorithms for their cardiac devices, particularly in implantable cardioverter-defibrillators (ICDs) and pacemakers. Their technology focuses on accurate P wave sensing during cardiopulmonary exercise testing (CPET) to optimize device performance and patient outcomes. The company's approach involves using proprietary signal processing techniques to filter out noise and motion artifacts during exercise, ensuring reliable P wave detection even under strenuous conditions[1]. Medtronic's devices also incorporate adaptive algorithms that can adjust sensing parameters based on the patient's activity level and heart rate, maintaining accurate P wave detection throughout the CPET process[2]. This technology enables real-time monitoring of atrial activity during exercise, providing valuable insights into cardiac function and potential arrhythmias[3].
Strengths: Highly accurate P wave detection during exercise, adaptive algorithms for various activity levels, and extensive clinical validation. Weaknesses: Potential for over-reliance on proprietary technology and higher cost compared to some competitors.
Boston Scientific Scimed, Inc.
Technical Solution: Boston Scientific has developed a comprehensive P wave analysis system for use in cardiopulmonary exercise testing. Their technology integrates advanced signal processing algorithms with high-sensitivity sensors to capture and analyze P waves during various stages of exercise. The system employs machine learning techniques to differentiate between true P waves and artifacts, ensuring accurate detection even in the presence of motion and respiratory interference[4]. Boston Scientific's approach also includes real-time analysis of P wave morphology changes during exercise, providing insights into atrial conduction and potential arrhythmogenic substrates[5]. The company's CPET-specific P wave analysis tools are designed to work seamlessly with their cardiac rhythm management devices, offering a comprehensive solution for exercise-based cardiac assessment[6].
Strengths: Advanced machine learning algorithms for artifact rejection, comprehensive P wave morphology analysis during exercise. Weaknesses: May require specialized training for optimal use, potential integration challenges with non-Boston Scientific devices.
P Wave CPET Innovations
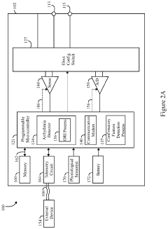
P-wave detection using intracardiac electrodes
PatentActiveUS20230284960A1
Innovation
- The use of intracardiac signals acquired by a mapping catheter, particularly from the inferior vena cava or superior vena cava, to detect far-field P-waves by removing dominant QRS complex signals and analyzing unipolar signals for P-wave activations, with a processor-based algorithm to eliminate near-field activations and weight signals for consistency, allowing for accurate P-wave identification and automatic window of interest setting.
Method and system to detect p-waves in cardiac arrhythmic patterns
PatentActiveUS20210076969A1
Innovation
- A P-wave detection process using advanced signal processing techniques, including morphology-based template matching, to identify P-waves in cardiac activity signals, even when they have small amplitudes and are subject to noise, and integrating these findings into the AF detection algorithm to improve specificity.
CPET Data Integration
The integration of P wave data into cardiopulmonary exercise testing (CPET) represents a significant advancement in the comprehensive assessment of cardiovascular function during physical exertion. This integration allows for a more nuanced understanding of the heart's electrical activity and its relationship to overall cardiopulmonary performance.
P wave analysis during CPET provides valuable insights into atrial function and its response to increasing workload. By incorporating P wave measurements into the standard CPET data set, clinicians can gain a more complete picture of the heart's adaptation to exercise stress. This integration enables the detection of subtle changes in atrial depolarization patterns that may not be apparent in resting electrocardiograms.
One of the key benefits of P wave integration in CPET is the ability to identify potential atrial abnormalities or early signs of atrial remodeling. Changes in P wave morphology, duration, or amplitude during exercise can indicate altered atrial conduction or increased atrial pressure, which may be precursors to more serious cardiovascular conditions.
The technical implementation of P wave analysis in CPET requires sophisticated signal processing algorithms to accurately extract P wave parameters from the ECG signal during exercise. These algorithms must be robust enough to handle the increased noise and motion artifacts associated with physical activity. Advanced filtering techniques and machine learning approaches have been developed to improve the accuracy and reliability of P wave detection and measurement during CPET.
Integrating P wave data with other CPET parameters, such as oxygen uptake, ventilatory efficiency, and heart rate variability, allows for a more comprehensive evaluation of cardiopulmonary function. This multi-parameter approach can reveal complex interactions between atrial function, ventricular performance, and overall exercise capacity.
The clinical implications of P wave integration in CPET are significant. It can enhance the diagnostic accuracy for conditions such as exercise-induced atrial fibrillation, atrial flutter, and other supraventricular arrhythmias. Additionally, it may improve risk stratification for patients with known cardiovascular disease or those at risk for developing atrial arrhythmias.
Future developments in CPET data integration are likely to focus on real-time analysis and interpretation of P wave changes during exercise. This could lead to more immediate and personalized exercise prescriptions and risk assessments. Furthermore, the integration of P wave data with other emerging biomarkers and imaging techniques may provide even more comprehensive insights into cardiovascular health and exercise physiology.
P wave analysis during CPET provides valuable insights into atrial function and its response to increasing workload. By incorporating P wave measurements into the standard CPET data set, clinicians can gain a more complete picture of the heart's adaptation to exercise stress. This integration enables the detection of subtle changes in atrial depolarization patterns that may not be apparent in resting electrocardiograms.
One of the key benefits of P wave integration in CPET is the ability to identify potential atrial abnormalities or early signs of atrial remodeling. Changes in P wave morphology, duration, or amplitude during exercise can indicate altered atrial conduction or increased atrial pressure, which may be precursors to more serious cardiovascular conditions.
The technical implementation of P wave analysis in CPET requires sophisticated signal processing algorithms to accurately extract P wave parameters from the ECG signal during exercise. These algorithms must be robust enough to handle the increased noise and motion artifacts associated with physical activity. Advanced filtering techniques and machine learning approaches have been developed to improve the accuracy and reliability of P wave detection and measurement during CPET.
Integrating P wave data with other CPET parameters, such as oxygen uptake, ventilatory efficiency, and heart rate variability, allows for a more comprehensive evaluation of cardiopulmonary function. This multi-parameter approach can reveal complex interactions between atrial function, ventricular performance, and overall exercise capacity.
The clinical implications of P wave integration in CPET are significant. It can enhance the diagnostic accuracy for conditions such as exercise-induced atrial fibrillation, atrial flutter, and other supraventricular arrhythmias. Additionally, it may improve risk stratification for patients with known cardiovascular disease or those at risk for developing atrial arrhythmias.
Future developments in CPET data integration are likely to focus on real-time analysis and interpretation of P wave changes during exercise. This could lead to more immediate and personalized exercise prescriptions and risk assessments. Furthermore, the integration of P wave data with other emerging biomarkers and imaging techniques may provide even more comprehensive insights into cardiovascular health and exercise physiology.
CPET Clinical Guidelines
Cardiopulmonary exercise testing (CPET) is a valuable tool for assessing cardiovascular and respiratory function during physical exertion. Clinical guidelines for CPET provide standardized protocols and interpretation criteria to ensure consistent and reliable results across different healthcare settings.
These guidelines typically cover various aspects of CPET, including indications, contraindications, equipment requirements, test protocols, and data interpretation. They emphasize the importance of proper patient preparation, including a thorough medical history and physical examination, to ensure safety and optimize test results.
CPET protocols outlined in clinical guidelines often include incremental exercise tests on a treadmill or cycle ergometer. The guidelines specify recommended workload increments, test duration, and criteria for test termination. They also provide guidance on monitoring vital signs, such as heart rate, blood pressure, and oxygen saturation, throughout the test.
Data collection and analysis are critical components of CPET. Clinical guidelines detail the parameters to be measured, including oxygen uptake, carbon dioxide production, ventilation, and heart rate. They provide standardized methods for calculating key variables like anaerobic threshold and peak oxygen uptake.
Interpretation of CPET results is a complex process that requires expertise. Clinical guidelines offer a framework for analyzing and reporting test outcomes, including normal reference values and criteria for identifying abnormal responses. They also provide guidance on integrating CPET results with other clinical information to inform diagnosis and treatment decisions.
Safety considerations are paramount in CPET guidelines. They outline necessary precautions, emergency procedures, and criteria for test termination to minimize risks to patients. Additionally, guidelines address quality control measures to ensure the accuracy and reliability of test results.
Clinical guidelines for CPET are regularly updated to incorporate new research findings and technological advancements. They often include recommendations for special populations, such as patients with specific cardiovascular or respiratory conditions, to tailor the test protocol and interpretation to their unique needs.
Implementation of CPET guidelines in clinical practice requires proper training of healthcare professionals. Guidelines often include recommendations for staff qualifications, ongoing education, and quality assurance programs to maintain high standards of CPET performance and interpretation.
These guidelines typically cover various aspects of CPET, including indications, contraindications, equipment requirements, test protocols, and data interpretation. They emphasize the importance of proper patient preparation, including a thorough medical history and physical examination, to ensure safety and optimize test results.
CPET protocols outlined in clinical guidelines often include incremental exercise tests on a treadmill or cycle ergometer. The guidelines specify recommended workload increments, test duration, and criteria for test termination. They also provide guidance on monitoring vital signs, such as heart rate, blood pressure, and oxygen saturation, throughout the test.
Data collection and analysis are critical components of CPET. Clinical guidelines detail the parameters to be measured, including oxygen uptake, carbon dioxide production, ventilation, and heart rate. They provide standardized methods for calculating key variables like anaerobic threshold and peak oxygen uptake.
Interpretation of CPET results is a complex process that requires expertise. Clinical guidelines offer a framework for analyzing and reporting test outcomes, including normal reference values and criteria for identifying abnormal responses. They also provide guidance on integrating CPET results with other clinical information to inform diagnosis and treatment decisions.
Safety considerations are paramount in CPET guidelines. They outline necessary precautions, emergency procedures, and criteria for test termination to minimize risks to patients. Additionally, guidelines address quality control measures to ensure the accuracy and reliability of test results.
Clinical guidelines for CPET are regularly updated to incorporate new research findings and technological advancements. They often include recommendations for special populations, such as patients with specific cardiovascular or respiratory conditions, to tailor the test protocol and interpretation to their unique needs.
Implementation of CPET guidelines in clinical practice requires proper training of healthcare professionals. Guidelines often include recommendations for staff qualifications, ongoing education, and quality assurance programs to maintain high standards of CPET performance and interpretation.
Unlock deeper insights with PatSnap Eureka Quick Research — get a full tech report to explore trends and direct your research. Try now!
Generate Your Research Report Instantly with AI Agent
Supercharge your innovation with PatSnap Eureka AI Agent Platform!







