P wave applications in personalized cardiac treatment plans
AUG 19, 20259 MIN READ
Generate Your Research Report Instantly with AI Agent
Patsnap Eureka helps you evaluate technical feasibility & market potential.
P Wave Analysis Background
P wave analysis has emerged as a crucial component in the field of cardiology, offering valuable insights into the electrical activity of the heart's atria. This analysis focuses on the initial deflection of the electrocardiogram (ECG) waveform, which represents atrial depolarization. The P wave's morphology, duration, and amplitude provide essential information about the heart's conduction system and potential abnormalities.
The history of P wave analysis dates back to the early 20th century when Willem Einthoven invented the string galvanometer, enabling the recording of electrical activity from the heart. Since then, advancements in ECG technology and signal processing have significantly enhanced our ability to interpret P waves with greater precision and clinical relevance.
In recent years, the integration of P wave analysis into personalized cardiac treatment plans has gained considerable attention. This approach allows for tailored interventions based on individual patient characteristics and specific atrial abnormalities. By examining P wave morphology, clinicians can identify various cardiac conditions, including atrial enlargement, conduction disorders, and potential risk factors for atrial fibrillation.
The evolution of P wave analysis has been driven by technological advancements in ECG recording and processing. High-resolution ECG systems, advanced signal filtering techniques, and computerized analysis algorithms have improved the accuracy and reliability of P wave measurements. These developments have enabled more precise detection of subtle P wave abnormalities that may have been previously overlooked.
Furthermore, the incorporation of artificial intelligence and machine learning algorithms has revolutionized P wave analysis. These technologies can process vast amounts of ECG data, identify patterns, and assist in the early detection of cardiac abnormalities. This has opened new avenues for predictive analytics in cardiology, allowing for more proactive and personalized treatment strategies.
The growing emphasis on preventive cardiology has further underscored the importance of P wave analysis. By detecting early signs of atrial remodeling or conduction abnormalities, clinicians can implement preventive measures to reduce the risk of more severe cardiac events. This approach aligns with the broader shift towards personalized medicine, where treatment plans are tailored to individual patient profiles and risk factors.
As research in this field continues to expand, new applications of P wave analysis are being explored. These include risk stratification for various cardiac conditions, guiding ablation procedures for atrial arrhythmias, and monitoring the effectiveness of antiarrhythmic therapies. The integration of P wave analysis with other cardiac imaging modalities and biomarkers is also enhancing our understanding of atrial physiology and pathology.
The history of P wave analysis dates back to the early 20th century when Willem Einthoven invented the string galvanometer, enabling the recording of electrical activity from the heart. Since then, advancements in ECG technology and signal processing have significantly enhanced our ability to interpret P waves with greater precision and clinical relevance.
In recent years, the integration of P wave analysis into personalized cardiac treatment plans has gained considerable attention. This approach allows for tailored interventions based on individual patient characteristics and specific atrial abnormalities. By examining P wave morphology, clinicians can identify various cardiac conditions, including atrial enlargement, conduction disorders, and potential risk factors for atrial fibrillation.
The evolution of P wave analysis has been driven by technological advancements in ECG recording and processing. High-resolution ECG systems, advanced signal filtering techniques, and computerized analysis algorithms have improved the accuracy and reliability of P wave measurements. These developments have enabled more precise detection of subtle P wave abnormalities that may have been previously overlooked.
Furthermore, the incorporation of artificial intelligence and machine learning algorithms has revolutionized P wave analysis. These technologies can process vast amounts of ECG data, identify patterns, and assist in the early detection of cardiac abnormalities. This has opened new avenues for predictive analytics in cardiology, allowing for more proactive and personalized treatment strategies.
The growing emphasis on preventive cardiology has further underscored the importance of P wave analysis. By detecting early signs of atrial remodeling or conduction abnormalities, clinicians can implement preventive measures to reduce the risk of more severe cardiac events. This approach aligns with the broader shift towards personalized medicine, where treatment plans are tailored to individual patient profiles and risk factors.
As research in this field continues to expand, new applications of P wave analysis are being explored. These include risk stratification for various cardiac conditions, guiding ablation procedures for atrial arrhythmias, and monitoring the effectiveness of antiarrhythmic therapies. The integration of P wave analysis with other cardiac imaging modalities and biomarkers is also enhancing our understanding of atrial physiology and pathology.
Cardiac Treatment Market
The cardiac treatment market has experienced significant growth in recent years, driven by the increasing prevalence of cardiovascular diseases and the aging global population. This market encompasses a wide range of products and services, including medical devices, pharmaceuticals, and innovative treatment modalities. The global cardiac treatment market was valued at approximately $110 billion in 2020 and is projected to reach $177 billion by 2026, growing at a CAGR of 8.2% during the forecast period.
One of the key factors contributing to market growth is the rising incidence of heart-related disorders worldwide. According to the World Health Organization, cardiovascular diseases are the leading cause of death globally, claiming an estimated 17.9 million lives each year. This has led to increased demand for advanced cardiac treatments and personalized care solutions.
The market is characterized by continuous technological advancements and innovations in treatment approaches. Personalized medicine, in particular, has gained significant traction in recent years. The integration of P wave analysis in cardiac treatment plans represents a promising avenue for tailoring interventions to individual patient needs, potentially improving outcomes and reducing healthcare costs.
Geographically, North America dominates the cardiac treatment market, accounting for approximately 40% of the global market share. This can be attributed to the region's well-established healthcare infrastructure, high healthcare expenditure, and early adoption of advanced technologies. Europe follows closely, while the Asia-Pacific region is expected to witness the fastest growth due to improving healthcare access and rising awareness about cardiovascular health.
The market landscape is highly competitive, with key players including Medtronic, Abbott Laboratories, Boston Scientific Corporation, and Johnson & Johnson. These companies are investing heavily in research and development to introduce innovative products and maintain their market positions. The focus on personalized treatment approaches, such as those leveraging P wave analysis, is expected to drive further market expansion and create new opportunities for both established players and emerging startups.
However, the cardiac treatment market also faces challenges, including stringent regulatory requirements and the high cost of advanced treatments. These factors can potentially limit market growth, particularly in developing regions. Nevertheless, the increasing focus on preventive care and the growing adoption of telemedicine and remote monitoring solutions are expected to create new avenues for market expansion in the coming years.
One of the key factors contributing to market growth is the rising incidence of heart-related disorders worldwide. According to the World Health Organization, cardiovascular diseases are the leading cause of death globally, claiming an estimated 17.9 million lives each year. This has led to increased demand for advanced cardiac treatments and personalized care solutions.
The market is characterized by continuous technological advancements and innovations in treatment approaches. Personalized medicine, in particular, has gained significant traction in recent years. The integration of P wave analysis in cardiac treatment plans represents a promising avenue for tailoring interventions to individual patient needs, potentially improving outcomes and reducing healthcare costs.
Geographically, North America dominates the cardiac treatment market, accounting for approximately 40% of the global market share. This can be attributed to the region's well-established healthcare infrastructure, high healthcare expenditure, and early adoption of advanced technologies. Europe follows closely, while the Asia-Pacific region is expected to witness the fastest growth due to improving healthcare access and rising awareness about cardiovascular health.
The market landscape is highly competitive, with key players including Medtronic, Abbott Laboratories, Boston Scientific Corporation, and Johnson & Johnson. These companies are investing heavily in research and development to introduce innovative products and maintain their market positions. The focus on personalized treatment approaches, such as those leveraging P wave analysis, is expected to drive further market expansion and create new opportunities for both established players and emerging startups.
However, the cardiac treatment market also faces challenges, including stringent regulatory requirements and the high cost of advanced treatments. These factors can potentially limit market growth, particularly in developing regions. Nevertheless, the increasing focus on preventive care and the growing adoption of telemedicine and remote monitoring solutions are expected to create new avenues for market expansion in the coming years.
P Wave Detection Challenges
P wave detection in electrocardiogram (ECG) signals plays a crucial role in personalized cardiac treatment plans. However, this process faces several significant challenges that can impact the accuracy and reliability of P wave identification. One of the primary difficulties is the low amplitude of P waves compared to other ECG components, such as QRS complexes. This low signal-to-noise ratio makes P waves susceptible to interference from various sources, including muscle artifacts, baseline wander, and power line interference.
The morphological variability of P waves across different patients and even within the same individual presents another substantial challenge. P waves can vary in shape, duration, and amplitude due to factors like heart rate, patient position, and underlying cardiac conditions. This variability complicates the development of universal detection algorithms and necessitates adaptive approaches.
Overlapping of P waves with T waves or U waves in cases of tachycardia or certain arrhythmias further compounds the detection problem. In such scenarios, distinguishing the P wave from adjacent waveforms becomes particularly challenging, potentially leading to missed or false detections.
The presence of ectopic beats or arrhythmias can significantly alter the normal ECG pattern, making P wave detection even more complex. Atrial fibrillation, for instance, replaces normal P waves with fibrillatory waves, rendering traditional P wave detection methods ineffective.
Technical limitations of ECG recording devices, such as inadequate sampling rates or poor electrode contact, can also hinder accurate P wave detection. These issues may result in distorted or incomplete P wave representations in the ECG signal.
Moreover, the computational complexity of P wave detection algorithms poses challenges for real-time processing, especially in continuous monitoring scenarios or when dealing with large volumes of ECG data. Balancing detection accuracy with processing speed remains an ongoing challenge in algorithm development.
Inter-patient variability in ECG characteristics necessitates robust and adaptable detection methods. Factors such as age, gender, and underlying cardiac conditions can significantly influence P wave morphology, requiring detection algorithms to be flexible and capable of handling diverse patient populations.
Addressing these challenges is crucial for improving the accuracy and reliability of P wave detection in personalized cardiac treatment plans. Ongoing research focuses on developing advanced signal processing techniques, machine learning algorithms, and adaptive filtering methods to overcome these obstacles and enhance P wave detection performance across various clinical scenarios.
The morphological variability of P waves across different patients and even within the same individual presents another substantial challenge. P waves can vary in shape, duration, and amplitude due to factors like heart rate, patient position, and underlying cardiac conditions. This variability complicates the development of universal detection algorithms and necessitates adaptive approaches.
Overlapping of P waves with T waves or U waves in cases of tachycardia or certain arrhythmias further compounds the detection problem. In such scenarios, distinguishing the P wave from adjacent waveforms becomes particularly challenging, potentially leading to missed or false detections.
The presence of ectopic beats or arrhythmias can significantly alter the normal ECG pattern, making P wave detection even more complex. Atrial fibrillation, for instance, replaces normal P waves with fibrillatory waves, rendering traditional P wave detection methods ineffective.
Technical limitations of ECG recording devices, such as inadequate sampling rates or poor electrode contact, can also hinder accurate P wave detection. These issues may result in distorted or incomplete P wave representations in the ECG signal.
Moreover, the computational complexity of P wave detection algorithms poses challenges for real-time processing, especially in continuous monitoring scenarios or when dealing with large volumes of ECG data. Balancing detection accuracy with processing speed remains an ongoing challenge in algorithm development.
Inter-patient variability in ECG characteristics necessitates robust and adaptable detection methods. Factors such as age, gender, and underlying cardiac conditions can significantly influence P wave morphology, requiring detection algorithms to be flexible and capable of handling diverse patient populations.
Addressing these challenges is crucial for improving the accuracy and reliability of P wave detection in personalized cardiac treatment plans. Ongoing research focuses on developing advanced signal processing techniques, machine learning algorithms, and adaptive filtering methods to overcome these obstacles and enhance P wave detection performance across various clinical scenarios.
P Wave Analysis Techniques
01 P wave detection and analysis in ECG signals
Methods and systems for detecting and analyzing P waves in electrocardiogram (ECG) signals. These techniques involve signal processing algorithms to identify, isolate, and characterize P waves, which represent atrial depolarization. The analysis of P waves can provide valuable information about cardiac health and potential arrhythmias.- P wave detection and analysis in ECG signals: Methods and systems for detecting and analyzing P waves in electrocardiogram (ECG) signals. These techniques involve signal processing algorithms to identify and characterize P waves, which can be used for diagnosing various cardiac conditions and assessing heart health.
- Wireless communication using P waves: Innovations in wireless communication technology utilizing P waves for data transmission. These systems aim to improve signal quality, reduce interference, and enhance overall communication efficiency in various applications, including mobile devices and IoT.
- P wave seismic exploration techniques: Advanced methods for seismic exploration using P waves to analyze subsurface structures. These techniques involve generating, recording, and processing P wave data to create detailed images of geological formations, aiding in oil and gas exploration.
- Medical devices for P wave monitoring: Innovative medical devices designed specifically for monitoring and analyzing P waves in cardiac patients. These devices offer improved accuracy in detecting atrial activity and can be used for both diagnostic and therapeutic purposes in cardiology.
- P wave signal processing in audio systems: Advanced signal processing techniques for P waves in audio applications. These methods focus on enhancing sound quality, reducing noise, and improving overall audio performance in various devices and systems, including speakers and headphones.
02 P wave communication systems
Technologies related to P wave communication systems, which utilize low-frequency electromagnetic waves for data transmission. These systems are particularly useful for underwater or underground communication where traditional radio waves are ineffective. The innovations focus on improving signal generation, modulation, and reception of P waves.Expand Specific Solutions03 Seismic P wave analysis for geological exploration
Techniques for analyzing seismic P waves in geological exploration. These methods involve processing and interpreting P wave data to gain insights into subsurface structures, mineral deposits, and oil and gas reservoirs. Advanced algorithms and modeling techniques are used to enhance the accuracy of geological assessments.Expand Specific Solutions04 P wave-based medical diagnostics
Innovative approaches using P wave analysis for medical diagnostics beyond traditional ECG applications. These include methods for assessing cardiovascular health, detecting specific cardiac conditions, and monitoring patient status. The technologies often involve machine learning algorithms and advanced signal processing techniques.Expand Specific Solutions05 P wave signal processing in telecommunications
Advancements in P wave signal processing for telecommunications applications. These innovations focus on improving signal quality, reducing interference, and enhancing data transmission rates in P wave-based communication systems. The technologies often involve novel modulation schemes and adaptive filtering techniques.Expand Specific Solutions
Cardiac Monitoring Players
The P wave applications in personalized cardiac treatment plans market is in an early growth stage, with increasing adoption driven by advancements in ECG technology and a growing focus on precision medicine. The market size is expanding rapidly, fueled by rising cardiovascular disease prevalence and demand for personalized therapies. Technologically, the field is progressing swiftly, with companies like Medtronic, Boston Scientific, and Biosense Webster leading innovation in ECG devices and analytics. Emerging players such as Bardy Diagnostics and Volta Medical are introducing novel AI-powered solutions, while established firms like Abbott and Johnson & Johnson are leveraging their extensive resources to develop integrated cardiac care platforms incorporating P wave analysis.
Medtronic, Inc.
Technical Solution: Medtronic has developed advanced P wave detection algorithms for their cardiac devices, particularly in implantable cardioverter-defibrillators (ICDs) and pacemakers. Their technology utilizes machine learning techniques to analyze P wave morphology and timing, enabling more accurate atrial arrhythmia detection[1]. The company's PureWave™ technology enhances P wave sensing, reducing the risk of undersensing or oversensing in challenging patient anatomies[2]. Medtronic's devices also incorporate AdaptivCRT™ algorithm, which uses P wave information to optimize cardiac resynchronization therapy, potentially improving patient outcomes by up to 18% compared to standard biventricular pacing[3].
Strengths: Extensive experience in cardiac device manufacturing, large R&D budget, and established market presence. Weaknesses: Potential for device recalls and cybersecurity concerns in connected cardiac devices.
Pacesetter, Inc.
Technical Solution: Pacesetter, a subsidiary of Abbott Laboratories, has developed the AutoCapture™ Pacing System, which utilizes P wave analysis for improved atrial capture management. Their technology incorporates advanced algorithms to distinguish between intrinsic P waves and paced atrial events, ensuring optimal pacing thresholds and energy efficiency[4]. The company's SonR™ hemodynamic sensor technology also leverages P wave information to optimize AV and VV delays in cardiac resynchronization therapy, potentially improving response rates by up to 74% in heart failure patients[5].
Strengths: Strong focus on energy-efficient pacing technologies and hemodynamic optimization. Weaknesses: Relatively smaller market share compared to industry leaders like Medtronic and Boston Scientific.
P Wave Interpretation AI
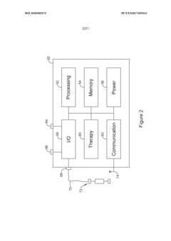
Cardiac therapy system using subcutaneously sensed p-waves for resynchronization pacing management
PatentWO2018005373A1
Innovation
- A system comprising a leadless cardiac pacemaker (LCP) that receives data from a subcutaneous implantable cardiac defibrillator (SICD) or monitor to synchronize pacing pulses with atrial depolarization events, allowing for the delivery of pacing therapy based on detected P-waves, thereby resynchronizing heart chamber contractions without the need for transvenous leads.
Far-field p-wave sensing in near real-time for timing delivery of pacing therapy in a cardiac medical device and medical device system
PatentActiveEP3368149A1
Innovation
- An implantable medical device system that senses cardiac electrical signals using subcutaneous or far-field signals to identify P-waves through a method involving local maximum detection and amplitude/slope threshold analysis, allowing for precise timing of ventricular pacing therapy.
Regulatory Framework
The regulatory framework surrounding P wave applications in personalized cardiac treatment plans is complex and multifaceted, involving various governing bodies and standards. At the forefront, the Food and Drug Administration (FDA) plays a crucial role in overseeing the development and implementation of such technologies in the United States. The FDA's Center for Devices and Radiological Health (CDRH) is responsible for regulating medical devices, including those utilizing P wave analysis for cardiac treatments.
In the European Union, the Medical Device Regulation (MDR) and In Vitro Diagnostic Regulation (IVDR) provide the regulatory foundation for such technologies. These regulations emphasize the importance of clinical evidence, risk management, and post-market surveillance for medical devices, including those used in personalized cardiac care.
The International Electrotechnical Commission (IEC) has established standards specifically relevant to electrocardiographic equipment, such as IEC 60601-2-25 for electrocardiographs. These standards ensure the safety and performance of devices used in P wave analysis and interpretation.
Regulatory bodies also focus on data privacy and security, given the sensitive nature of personal health information involved in personalized treatment plans. In the United States, the Health Insurance Portability and Accountability Act (HIPAA) sets stringent requirements for protecting patient data. Similarly, the General Data Protection Regulation (GDPR) in the European Union provides a comprehensive framework for data protection and privacy.
Clinical validation is a critical aspect of the regulatory process for P wave applications. Regulatory agencies typically require robust clinical trials to demonstrate the safety and efficacy of these technologies before approval. This includes evaluating the accuracy of P wave analysis in predicting cardiac events and the effectiveness of personalized treatment plans based on this analysis.
The regulatory landscape also addresses the integration of artificial intelligence and machine learning algorithms in P wave analysis. As these technologies become more prevalent in cardiac care, regulators are developing frameworks to ensure their reliability and transparency. The FDA, for instance, has released guidance on the use of AI/ML in medical devices, emphasizing the need for continuous monitoring and updates to maintain safety and effectiveness.
Interoperability standards are another crucial aspect of the regulatory framework. Organizations like Health Level Seven International (HL7) develop standards to ensure seamless integration of P wave data and analysis results with electronic health records and other healthcare information systems.
As the field of personalized cardiac treatment evolves, regulatory bodies continue to adapt their frameworks to keep pace with technological advancements. This ongoing process aims to strike a balance between fostering innovation and ensuring patient safety, ultimately shaping the future of P wave applications in cardiac care.
In the European Union, the Medical Device Regulation (MDR) and In Vitro Diagnostic Regulation (IVDR) provide the regulatory foundation for such technologies. These regulations emphasize the importance of clinical evidence, risk management, and post-market surveillance for medical devices, including those used in personalized cardiac care.
The International Electrotechnical Commission (IEC) has established standards specifically relevant to electrocardiographic equipment, such as IEC 60601-2-25 for electrocardiographs. These standards ensure the safety and performance of devices used in P wave analysis and interpretation.
Regulatory bodies also focus on data privacy and security, given the sensitive nature of personal health information involved in personalized treatment plans. In the United States, the Health Insurance Portability and Accountability Act (HIPAA) sets stringent requirements for protecting patient data. Similarly, the General Data Protection Regulation (GDPR) in the European Union provides a comprehensive framework for data protection and privacy.
Clinical validation is a critical aspect of the regulatory process for P wave applications. Regulatory agencies typically require robust clinical trials to demonstrate the safety and efficacy of these technologies before approval. This includes evaluating the accuracy of P wave analysis in predicting cardiac events and the effectiveness of personalized treatment plans based on this analysis.
The regulatory landscape also addresses the integration of artificial intelligence and machine learning algorithms in P wave analysis. As these technologies become more prevalent in cardiac care, regulators are developing frameworks to ensure their reliability and transparency. The FDA, for instance, has released guidance on the use of AI/ML in medical devices, emphasizing the need for continuous monitoring and updates to maintain safety and effectiveness.
Interoperability standards are another crucial aspect of the regulatory framework. Organizations like Health Level Seven International (HL7) develop standards to ensure seamless integration of P wave data and analysis results with electronic health records and other healthcare information systems.
As the field of personalized cardiac treatment evolves, regulatory bodies continue to adapt their frameworks to keep pace with technological advancements. This ongoing process aims to strike a balance between fostering innovation and ensuring patient safety, ultimately shaping the future of P wave applications in cardiac care.
Patient Data Privacy
Patient data privacy is a critical concern in the application of P wave analysis for personalized cardiac treatment plans. As healthcare systems increasingly rely on digital technologies and data-driven approaches, protecting sensitive patient information becomes paramount. The use of P wave data in cardiac treatment involves collecting, storing, and analyzing highly personal health information, which necessitates robust privacy measures.
One of the primary challenges in ensuring patient data privacy is the need for secure data storage and transmission systems. Healthcare providers must implement state-of-the-art encryption protocols and secure cloud storage solutions to safeguard P wave data from unauthorized access or breaches. Additionally, access control mechanisms should be in place to ensure that only authorized personnel can view and manipulate patient data.
Another crucial aspect of patient data privacy is compliance with regulatory frameworks such as HIPAA in the United States or GDPR in Europe. These regulations set strict guidelines for the handling of personal health information, including P wave data. Healthcare organizations must ensure that their data management practices align with these regulations to avoid legal repercussions and maintain patient trust.
De-identification and anonymization techniques play a vital role in protecting patient privacy while still allowing for valuable research and analysis. By removing personally identifiable information from P wave data, researchers can conduct studies and develop treatment plans without compromising individual privacy. However, it is essential to balance de-identification with the need for accurate and personalized treatment, as some identifiable information may be necessary for effective cardiac care.
Informed consent is another critical component of patient data privacy in P wave applications. Patients must be fully informed about how their data will be used, stored, and potentially shared for research or treatment purposes. Clear and transparent communication regarding data usage helps build trust and ensures that patients have control over their personal health information.
As artificial intelligence and machine learning techniques become more prevalent in analyzing P wave data for personalized treatment plans, additional privacy considerations arise. These advanced algorithms often require large datasets to train and improve their accuracy, which may increase the risk of re-identification or data misuse. Implementing privacy-preserving machine learning techniques, such as federated learning or differential privacy, can help mitigate these risks while still leveraging the power of AI in cardiac care.
One of the primary challenges in ensuring patient data privacy is the need for secure data storage and transmission systems. Healthcare providers must implement state-of-the-art encryption protocols and secure cloud storage solutions to safeguard P wave data from unauthorized access or breaches. Additionally, access control mechanisms should be in place to ensure that only authorized personnel can view and manipulate patient data.
Another crucial aspect of patient data privacy is compliance with regulatory frameworks such as HIPAA in the United States or GDPR in Europe. These regulations set strict guidelines for the handling of personal health information, including P wave data. Healthcare organizations must ensure that their data management practices align with these regulations to avoid legal repercussions and maintain patient trust.
De-identification and anonymization techniques play a vital role in protecting patient privacy while still allowing for valuable research and analysis. By removing personally identifiable information from P wave data, researchers can conduct studies and develop treatment plans without compromising individual privacy. However, it is essential to balance de-identification with the need for accurate and personalized treatment, as some identifiable information may be necessary for effective cardiac care.
Informed consent is another critical component of patient data privacy in P wave applications. Patients must be fully informed about how their data will be used, stored, and potentially shared for research or treatment purposes. Clear and transparent communication regarding data usage helps build trust and ensures that patients have control over their personal health information.
As artificial intelligence and machine learning techniques become more prevalent in analyzing P wave data for personalized treatment plans, additional privacy considerations arise. These advanced algorithms often require large datasets to train and improve their accuracy, which may increase the risk of re-identification or data misuse. Implementing privacy-preserving machine learning techniques, such as federated learning or differential privacy, can help mitigate these risks while still leveraging the power of AI in cardiac care.
Unlock deeper insights with Patsnap Eureka Quick Research — get a full tech report to explore trends and direct your research. Try now!
Generate Your Research Report Instantly with AI Agent
Supercharge your innovation with Patsnap Eureka AI Agent Platform!