Analysis of Grid Storage and Battery Thermal Management
SEP 24, 20259 MIN READ
Generate Your Research Report Instantly with AI Agent
Patsnap Eureka helps you evaluate technical feasibility & market potential.
Grid Storage Evolution and Objectives
Grid storage technology has evolved significantly over the past decades, transitioning from simple energy storage concepts to sophisticated systems integrated with renewable energy sources. The evolution began in the 1970s with pumped hydro storage, which remains the most widely deployed grid storage technology globally. By the 1990s, battery technologies started emerging as viable alternatives, initially with lead-acid batteries and later advancing to lithium-ion systems that offered higher energy density and improved cycle life.
The 2000s marked a pivotal shift with the integration of renewable energy sources into power grids, creating an urgent need for efficient energy storage solutions to address intermittency issues. This period saw substantial research investments in advanced battery chemistries, flow batteries, and thermal storage systems. The 2010s witnessed rapid commercialization of grid-scale battery storage, with costs declining by over 85% for lithium-ion technologies, making grid storage economically viable for utilities and grid operators.
Current technological objectives for grid storage focus on several critical parameters. Energy density improvement remains paramount, with research targeting storage systems capable of delivering 300-500 Wh/kg at the cell level, significantly higher than current commercial solutions. Cycle life extension is equally important, with goals to achieve 10,000+ full cycles while maintaining at least 80% of original capacity, essential for long-term grid applications.
Cost reduction continues to be a driving objective, with industry targets of $100/kWh for complete systems by 2025, representing a critical threshold for widespread adoption. Safety enhancement is particularly relevant for battery thermal management, with objectives to develop systems that can prevent thermal runaway even under extreme conditions while minimizing auxiliary power requirements.
Response time optimization is crucial for grid stabilization applications, with targets to achieve full power delivery in milliseconds. Scalability and modularity have become essential design considerations, allowing systems to be right-sized for various applications from residential to utility-scale deployments.
The integration of advanced thermal management systems represents a convergence point between grid storage evolution and battery technology development. As energy densities increase, thermal challenges become more pronounced, necessitating sophisticated cooling strategies that maintain optimal operating temperatures while minimizing energy consumption. The industry is moving toward unified approaches that address both energy storage efficiency and thermal management as interconnected challenges rather than separate technical domains.
The 2000s marked a pivotal shift with the integration of renewable energy sources into power grids, creating an urgent need for efficient energy storage solutions to address intermittency issues. This period saw substantial research investments in advanced battery chemistries, flow batteries, and thermal storage systems. The 2010s witnessed rapid commercialization of grid-scale battery storage, with costs declining by over 85% for lithium-ion technologies, making grid storage economically viable for utilities and grid operators.
Current technological objectives for grid storage focus on several critical parameters. Energy density improvement remains paramount, with research targeting storage systems capable of delivering 300-500 Wh/kg at the cell level, significantly higher than current commercial solutions. Cycle life extension is equally important, with goals to achieve 10,000+ full cycles while maintaining at least 80% of original capacity, essential for long-term grid applications.
Cost reduction continues to be a driving objective, with industry targets of $100/kWh for complete systems by 2025, representing a critical threshold for widespread adoption. Safety enhancement is particularly relevant for battery thermal management, with objectives to develop systems that can prevent thermal runaway even under extreme conditions while minimizing auxiliary power requirements.
Response time optimization is crucial for grid stabilization applications, with targets to achieve full power delivery in milliseconds. Scalability and modularity have become essential design considerations, allowing systems to be right-sized for various applications from residential to utility-scale deployments.
The integration of advanced thermal management systems represents a convergence point between grid storage evolution and battery technology development. As energy densities increase, thermal challenges become more pronounced, necessitating sophisticated cooling strategies that maintain optimal operating temperatures while minimizing energy consumption. The industry is moving toward unified approaches that address both energy storage efficiency and thermal management as interconnected challenges rather than separate technical domains.
Market Analysis for Grid-Scale Energy Storage
The global grid-scale energy storage market is experiencing unprecedented growth, driven by the increasing integration of renewable energy sources and the need for grid stability. As of 2023, the market was valued at approximately $8.5 billion and is projected to reach $31.2 billion by 2030, representing a compound annual growth rate (CAGR) of 20.4%. This remarkable expansion reflects the critical role that energy storage systems play in modern power infrastructure.
Lithium-ion batteries currently dominate the market, accounting for 70% of new grid-scale installations. However, alternative technologies are gaining traction, including flow batteries, compressed air energy storage (CAES), pumped hydro storage, and emerging solid-state battery technologies. Each solution addresses specific market needs across different duration requirements and deployment scenarios.
Regional analysis reveals distinct market characteristics. North America leads with the largest market share (34%), driven by favorable regulatory frameworks and substantial investments in grid modernization. The Asia-Pacific region follows closely (31%) with China and South Korea making significant advancements in manufacturing capacity and deployment. Europe (27%) is experiencing accelerated growth due to aggressive decarbonization policies and energy security concerns following recent geopolitical developments.
The demand drivers for grid-scale storage have diversified beyond traditional peak shaving and frequency regulation. Emerging applications include renewable energy integration, transmission and distribution deferral, microgrids, and resilience services. These use cases are expanding the total addressable market and creating new revenue streams for storage assets.
Battery thermal management systems (BTMS) have become a critical component of grid-scale storage solutions, representing a specialized sub-segment valued at $1.2 billion. Effective thermal management directly impacts system longevity, safety, and performance, with advanced cooling technologies demonstrating potential to extend battery life by 40-60% under grid cycling conditions.
Market barriers persist despite the positive outlook. High upfront capital costs, although declining at 8-12% annually, remain a significant hurdle. Regulatory frameworks in many regions have not fully evolved to recognize and compensate for the multiple values that storage provides. Additionally, supply chain constraints for critical materials like lithium, cobalt, and specialized cooling components have created bottlenecks affecting deployment timelines.
Customer segments are increasingly diverse, with utilities representing 52% of demand, independent power producers 28%, commercial and industrial users 15%, and other segments including military and remote applications accounting for the remainder. This diversification indicates broader market acceptance and application versatility of grid-scale storage technologies.
Lithium-ion batteries currently dominate the market, accounting for 70% of new grid-scale installations. However, alternative technologies are gaining traction, including flow batteries, compressed air energy storage (CAES), pumped hydro storage, and emerging solid-state battery technologies. Each solution addresses specific market needs across different duration requirements and deployment scenarios.
Regional analysis reveals distinct market characteristics. North America leads with the largest market share (34%), driven by favorable regulatory frameworks and substantial investments in grid modernization. The Asia-Pacific region follows closely (31%) with China and South Korea making significant advancements in manufacturing capacity and deployment. Europe (27%) is experiencing accelerated growth due to aggressive decarbonization policies and energy security concerns following recent geopolitical developments.
The demand drivers for grid-scale storage have diversified beyond traditional peak shaving and frequency regulation. Emerging applications include renewable energy integration, transmission and distribution deferral, microgrids, and resilience services. These use cases are expanding the total addressable market and creating new revenue streams for storage assets.
Battery thermal management systems (BTMS) have become a critical component of grid-scale storage solutions, representing a specialized sub-segment valued at $1.2 billion. Effective thermal management directly impacts system longevity, safety, and performance, with advanced cooling technologies demonstrating potential to extend battery life by 40-60% under grid cycling conditions.
Market barriers persist despite the positive outlook. High upfront capital costs, although declining at 8-12% annually, remain a significant hurdle. Regulatory frameworks in many regions have not fully evolved to recognize and compensate for the multiple values that storage provides. Additionally, supply chain constraints for critical materials like lithium, cobalt, and specialized cooling components have created bottlenecks affecting deployment timelines.
Customer segments are increasingly diverse, with utilities representing 52% of demand, independent power producers 28%, commercial and industrial users 15%, and other segments including military and remote applications accounting for the remainder. This diversification indicates broader market acceptance and application versatility of grid-scale storage technologies.
Battery Thermal Management Challenges
Battery thermal management represents one of the most critical challenges in the advancement of energy storage technologies, particularly for grid storage applications. As battery systems scale up to meet grid demands, thermal issues become increasingly complex and impactful on overall system performance, safety, and longevity.
Temperature gradients within large-scale battery systems present a fundamental challenge, with variations as small as 5°C potentially reducing capacity by up to 20% across battery modules. These gradients create uneven aging patterns, leading to premature system degradation and reduced operational efficiency in grid storage installations.
Heat dissipation becomes exponentially more difficult as battery systems scale to grid-level capacities. The volumetric heat generation increases with the square of current density, while the surface area available for cooling increases only linearly with battery size. This physical constraint creates an inherent thermal management bottleneck that conventional cooling approaches struggle to overcome.
Thermal runaway risk escalates dramatically in grid-scale installations, where thousands of cells operate in close proximity. A single cell failure can trigger cascading thermal events affecting adjacent modules, potentially compromising entire storage systems. Current prevention mechanisms add significant weight, cost, and complexity to already challenging grid storage economics.
Extreme environmental conditions pose additional challenges for grid storage deployments. Batteries installed in desert regions may experience ambient temperatures exceeding 45°C, while those in northern climates may operate below -20°C. These conditions necessitate active thermal management systems that consume parasitic power, reducing overall system efficiency by 3-8% depending on conditions.
The integration of thermal management with battery management systems (BMS) presents significant technical hurdles. Real-time temperature monitoring across thousands of cells requires sophisticated sensor networks and algorithms capable of detecting thermal anomalies before they become critical. Current systems often lack the granularity needed for optimal thermal control in large-scale applications.
Material limitations further constrain thermal management solutions. Thermal interface materials with both high conductivity and long-term stability remain elusive, particularly under the cycling conditions typical of grid applications. Similarly, phase change materials with appropriate transition temperatures and energy densities for grid-scale systems are still under development.
Cost considerations ultimately determine the viability of thermal management approaches. Advanced cooling systems can represent 15-25% of total battery system costs for grid applications, creating tension between thermal performance and economic feasibility. This cost pressure often leads to compromised designs that may not deliver optimal thermal performance over the expected 10-20 year lifespan of grid storage assets.
Temperature gradients within large-scale battery systems present a fundamental challenge, with variations as small as 5°C potentially reducing capacity by up to 20% across battery modules. These gradients create uneven aging patterns, leading to premature system degradation and reduced operational efficiency in grid storage installations.
Heat dissipation becomes exponentially more difficult as battery systems scale to grid-level capacities. The volumetric heat generation increases with the square of current density, while the surface area available for cooling increases only linearly with battery size. This physical constraint creates an inherent thermal management bottleneck that conventional cooling approaches struggle to overcome.
Thermal runaway risk escalates dramatically in grid-scale installations, where thousands of cells operate in close proximity. A single cell failure can trigger cascading thermal events affecting adjacent modules, potentially compromising entire storage systems. Current prevention mechanisms add significant weight, cost, and complexity to already challenging grid storage economics.
Extreme environmental conditions pose additional challenges for grid storage deployments. Batteries installed in desert regions may experience ambient temperatures exceeding 45°C, while those in northern climates may operate below -20°C. These conditions necessitate active thermal management systems that consume parasitic power, reducing overall system efficiency by 3-8% depending on conditions.
The integration of thermal management with battery management systems (BMS) presents significant technical hurdles. Real-time temperature monitoring across thousands of cells requires sophisticated sensor networks and algorithms capable of detecting thermal anomalies before they become critical. Current systems often lack the granularity needed for optimal thermal control in large-scale applications.
Material limitations further constrain thermal management solutions. Thermal interface materials with both high conductivity and long-term stability remain elusive, particularly under the cycling conditions typical of grid applications. Similarly, phase change materials with appropriate transition temperatures and energy densities for grid-scale systems are still under development.
Cost considerations ultimately determine the viability of thermal management approaches. Advanced cooling systems can represent 15-25% of total battery system costs for grid applications, creating tension between thermal performance and economic feasibility. This cost pressure often leads to compromised designs that may not deliver optimal thermal performance over the expected 10-20 year lifespan of grid storage assets.
Current Battery Thermal Management Systems
01 Thermal management systems for grid-scale battery storage
Thermal management systems designed specifically for grid-scale battery storage facilities help maintain optimal operating temperatures across large battery arrays. These systems typically incorporate advanced cooling technologies, temperature monitoring networks, and control algorithms to prevent thermal runaway in high-capacity installations. Effective thermal management at grid scale improves battery longevity, enhances safety, and ensures consistent power delivery during peak demand periods.- Thermal management systems for grid-scale battery storage: Thermal management systems designed specifically for grid-scale battery storage facilities help maintain optimal operating temperatures across large battery arrays. These systems often incorporate advanced cooling technologies, temperature monitoring sensors, and control algorithms to prevent overheating during high-demand periods. Effective thermal management at grid scale improves overall system efficiency, extends battery lifespan, and enhances safety by preventing thermal runaway in large-scale installations.
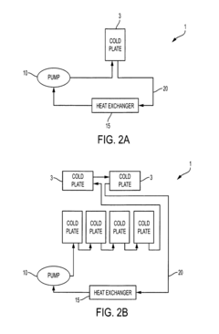
- Liquid cooling solutions for battery thermal management: Liquid cooling systems provide efficient heat dissipation for battery packs by circulating coolant through channels or plates in direct contact with battery cells. These systems can maintain more uniform temperatures across battery modules compared to air cooling, particularly in high-power applications. Advanced liquid cooling designs incorporate flow optimization, thermally conductive materials, and intelligent control systems to maximize cooling efficiency while minimizing energy consumption and system complexity.
- Integrated battery management and thermal control systems: Integrated systems that combine battery management functionality with thermal control provide comprehensive monitoring and regulation of battery performance. These systems use real-time temperature data to adjust charging/discharging rates, activate cooling mechanisms, and optimize overall battery operation. By integrating thermal management with battery management, these solutions can predict thermal behavior, prevent temperature-related failures, and extend battery life through adaptive control strategies that respond to changing operating conditions.
- Passive thermal management techniques for energy storage: Passive thermal management approaches utilize thermally conductive materials, phase change materials, and strategic component arrangement to regulate battery temperatures without requiring active energy input. These techniques include heat-dissipating structures, thermal insulation layers, and materials that absorb or release heat during phase transitions. Passive systems offer advantages in reliability and energy efficiency by reducing or eliminating the need for powered cooling components, making them particularly valuable for remote or off-grid storage applications.
- Smart thermal management with predictive control algorithms: Advanced thermal management systems incorporate predictive algorithms and machine learning to anticipate thermal behavior and optimize cooling strategies. These smart systems analyze usage patterns, environmental conditions, and battery characteristics to proactively adjust thermal management parameters. By predicting thermal loads and optimizing cooling resources in advance, these systems can improve energy efficiency, reduce cooling costs, and prevent thermal issues before they occur, particularly valuable for grid storage applications with variable demand profiles.
02 Liquid cooling solutions for battery thermal management
Liquid cooling systems offer superior heat transfer capabilities for battery thermal management compared to air cooling. These solutions typically use coolant circulation through channels or plates in direct contact with battery cells or modules. Advanced liquid cooling designs incorporate flow optimization, temperature-responsive pumping systems, and specialized heat exchangers to efficiently remove heat from battery packs, maintaining uniform temperatures even under high discharge rates.Expand Specific Solutions03 Integrated battery management and thermal control systems
Integration of battery management systems (BMS) with thermal control mechanisms creates comprehensive solutions that optimize both electrical and thermal performance. These integrated systems monitor cell temperatures, state of charge, and other parameters to dynamically adjust cooling or heating operations. By coordinating power management with thermal control, these systems can prevent thermal issues during fast charging, extend battery life, and improve overall energy efficiency of storage installations.Expand Specific Solutions04 Phase change materials for passive thermal management
Phase change materials (PCMs) provide passive thermal management by absorbing excess heat during battery operation and releasing it when temperatures drop. These materials undergo phase transitions at specific temperatures, effectively creating a thermal buffer that helps maintain batteries within optimal temperature ranges. PCM-based solutions can be integrated into battery packs as layers, modules, or composite materials, reducing the need for active cooling systems and improving thermal stability during varying load conditions.Expand Specific Solutions05 Smart thermal management with predictive algorithms
Advanced thermal management systems incorporate predictive algorithms and machine learning to anticipate thermal behavior based on usage patterns and environmental conditions. These smart systems can preemptively adjust cooling or heating parameters before critical temperature thresholds are reached. By analyzing historical data and real-time inputs, predictive thermal management reduces energy consumption of cooling systems, prevents thermal stress on batteries, and optimizes performance across varying operational scenarios.Expand Specific Solutions
Leading Companies in Grid Storage Solutions
The grid storage and battery thermal management market is currently in a growth phase, characterized by increasing demand for renewable energy integration and grid stability solutions. The market size is expanding rapidly, driven by global energy transition initiatives and the need for efficient energy storage systems. Technologically, the field shows varying maturity levels across different applications. Leading players like State Grid Corp. of China, CATL, and LG Energy Solution are advancing large-scale grid storage technologies, while companies such as Huawei Digital Power, Sungrow, and Form Energy focus on innovative storage solutions. Specialized thermal management technologies are being developed by firms like Qdot Technology and Intramicron, addressing critical safety and efficiency challenges. The competitive landscape features both established energy giants and emerging technology-focused startups, with increasing collaboration between research institutions and industry players to accelerate technological advancement.
Sungrow Power Supply Co., Ltd.
Technical Solution: Sungrow has developed an integrated grid storage solution featuring their "PowerTitan" liquid-cooled energy storage system with capacities ranging from 2.0-8.0 MWh per unit. Their thermal management approach utilizes a closed-loop liquid cooling system that maintains temperature differentials across battery cells to within 3°C, significantly extending battery lifespan. The system incorporates intelligent thermal prediction algorithms that analyze weather forecasts, grid demand patterns, and historical thermal performance to optimize cooling operations 24-48 hours in advance. Sungrow's battery enclosures feature specialized thermal insulation materials that reduce the impact of ambient temperature fluctuations by up to 60% compared to standard containers. Their Battery Management System employs distributed temperature sensors (approximately one sensor per 3-5 cells) to create high-resolution thermal profiles, enabling precise cooling control. Additionally, Sungrow has implemented an emergency thermal management protocol that can rapidly reduce battery temperature in critical situations through a dedicated high-capacity cooling circuit that activates only during thermal emergencies.
Strengths: Exceptional temperature uniformity across battery cells; predictive thermal management based on multiple data inputs; rapid emergency cooling capabilities for critical situations. Weaknesses: High-density sensor network increases system complexity and potential failure points; advanced predictive algorithms require substantial computational resources; emergency cooling systems add cost to installations that may never require them.
Hitachi Ltd.
Technical Solution: Hitachi has developed an advanced grid storage solution featuring their "Adaptive Battery Cooling Technology" that dynamically adjusts cooling intensity based on real-time battery conditions and grid demands. Their system utilizes a hybrid cooling approach combining direct liquid cooling for high-density battery modules with strategic air cooling for auxiliary components, optimizing overall energy efficiency. Hitachi's thermal management incorporates phase-change materials embedded within battery modules that provide passive temperature regulation, absorbing excess heat during high discharge rates and releasing it during low-demand periods. Their grid storage installations feature thermal segmentation with fire-resistant barriers between battery clusters that can contain thermal events within limited zones. Hitachi's Battery Management System employs machine learning algorithms that continuously analyze thermal patterns to identify potential failure modes up to 72 hours before they might occur, enabling preemptive maintenance. Additionally, their cooling system incorporates variable-speed pumps and fans that adjust operation based on cooling demands, reducing parasitic energy losses by approximately 40% compared to constant-speed systems.
Strengths: Sophisticated hybrid cooling approach that optimizes energy efficiency; innovative use of phase-change materials for passive temperature regulation; advanced predictive maintenance capabilities through machine learning. Weaknesses: Complex integration of multiple cooling technologies increases potential failure points; phase-change materials add weight and cost to battery modules; system requires substantial data collection and processing infrastructure.
Key Innovations in Thermal Regulation Technologies
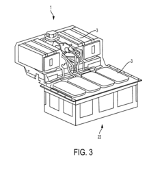
Battery thermal management for hybrid electric vehicles using a phase-change material cold plate
PatentInactiveUS20160006088A1
Innovation
- A thermal management system utilizing a cold plate partially composed of phase-change material (PCM) with a graphite matrix, integrated with a liquid cooling system and a pump that operates intermittently based on temperature measurements, allowing for efficient heat absorption and storage.
Thermal management of battery systems
PatentWO2024248972A1
Innovation
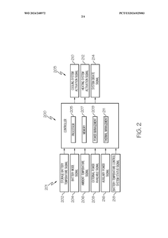
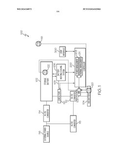
- A thermal management system that enables a sleep mode to control the main storage battery temperature using an auxiliary battery-powered temperature control system, switching to an externally powered mode when connected to external power sources for charging, and an internally powered mode when disconnected, to maintain optimal battery temperatures.
Regulatory Framework for Energy Storage Systems
The regulatory landscape for energy storage systems (ESS) has evolved significantly in response to the growing integration of grid storage solutions and battery technologies. At the international level, organizations such as the International Electrotechnical Commission (IEC) have developed standards like IEC 62933 specifically for ESS, addressing safety, performance, and grid integration requirements. These standards provide a foundation for consistent global implementation while allowing regional adaptations.
In the United States, the regulatory framework is multi-layered, with federal agencies like FERC (Federal Energy Regulatory Commission) establishing Order 841 to remove barriers for energy storage participation in wholesale electricity markets. This landmark regulation requires grid operators to create market rules that recognize the unique characteristics of storage technologies. Complementing this, NERC (North American Electric Reliability Corporation) has developed reliability standards that address the integration of battery storage systems into the grid infrastructure.
State-level regulations vary considerably, with California leading through initiatives like AB 2514, which established procurement targets for utilities to deploy energy storage. The California Energy Commission has also implemented specific thermal management requirements for battery systems to mitigate fire risks and ensure operational safety in diverse climate conditions.
The European Union has established the Clean Energy Package, which explicitly recognizes energy storage as a distinct asset class in the electricity market. This framework is supplemented by the Battery Directive (2006/66/EC), currently undergoing revision to address the full lifecycle of batteries, including thermal management considerations and end-of-life recycling requirements.
Safety standards specifically addressing battery thermal management have become increasingly stringent following high-profile thermal runaway incidents. UL 9540A has emerged as a critical test method for evaluating thermal runaway fire propagation in battery energy storage systems. Similarly, NFPA 855 provides comprehensive installation requirements for stationary energy storage systems, with detailed provisions for thermal management systems and fire suppression.
Grid interconnection standards such as IEEE 1547 have been updated to accommodate the unique characteristics of battery storage systems, including thermal considerations during charging and discharging cycles. These standards ensure that battery systems can safely interact with the existing grid infrastructure while maintaining system stability and reliability.
Emerging regulatory trends include the development of performance-based standards that focus on outcomes rather than prescriptive requirements, allowing for technological innovation while maintaining safety. Additionally, regulations are increasingly addressing cybersecurity concerns for battery management systems that control thermal parameters, recognizing the critical infrastructure status of large-scale energy storage installations.
In the United States, the regulatory framework is multi-layered, with federal agencies like FERC (Federal Energy Regulatory Commission) establishing Order 841 to remove barriers for energy storage participation in wholesale electricity markets. This landmark regulation requires grid operators to create market rules that recognize the unique characteristics of storage technologies. Complementing this, NERC (North American Electric Reliability Corporation) has developed reliability standards that address the integration of battery storage systems into the grid infrastructure.
State-level regulations vary considerably, with California leading through initiatives like AB 2514, which established procurement targets for utilities to deploy energy storage. The California Energy Commission has also implemented specific thermal management requirements for battery systems to mitigate fire risks and ensure operational safety in diverse climate conditions.
The European Union has established the Clean Energy Package, which explicitly recognizes energy storage as a distinct asset class in the electricity market. This framework is supplemented by the Battery Directive (2006/66/EC), currently undergoing revision to address the full lifecycle of batteries, including thermal management considerations and end-of-life recycling requirements.
Safety standards specifically addressing battery thermal management have become increasingly stringent following high-profile thermal runaway incidents. UL 9540A has emerged as a critical test method for evaluating thermal runaway fire propagation in battery energy storage systems. Similarly, NFPA 855 provides comprehensive installation requirements for stationary energy storage systems, with detailed provisions for thermal management systems and fire suppression.
Grid interconnection standards such as IEEE 1547 have been updated to accommodate the unique characteristics of battery storage systems, including thermal considerations during charging and discharging cycles. These standards ensure that battery systems can safely interact with the existing grid infrastructure while maintaining system stability and reliability.
Emerging regulatory trends include the development of performance-based standards that focus on outcomes rather than prescriptive requirements, allowing for technological innovation while maintaining safety. Additionally, regulations are increasingly addressing cybersecurity concerns for battery management systems that control thermal parameters, recognizing the critical infrastructure status of large-scale energy storage installations.
Environmental Impact Assessment
The environmental impact of grid storage and battery thermal management systems extends across their entire lifecycle, from raw material extraction to end-of-life disposal. Battery production processes, particularly for lithium-ion technologies, involve significant mining operations that can lead to habitat destruction, water pollution, and soil contamination. The extraction of lithium, cobalt, and nickel—critical components in modern battery systems—has been associated with substantial environmental degradation in regions like South America's "Lithium Triangle" and the Democratic Republic of Congo.
During operational phases, battery thermal management systems consume energy for heating and cooling, contributing to indirect emissions when powered by non-renewable sources. However, well-designed thermal management systems can significantly extend battery lifespan, reducing the frequency of replacement and associated environmental impacts. Research indicates that batteries maintained within optimal temperature ranges (typically 20-30°C) can achieve up to 60% longer operational lifespans compared to poorly managed systems.
Grid storage facilities present land use challenges, particularly for large-scale installations. However, these impacts must be balanced against their positive environmental contributions through renewable energy integration. By enabling greater penetration of intermittent renewable sources like solar and wind, battery storage systems help displace fossil fuel generation, potentially reducing greenhouse gas emissions by 50-80% compared to conventional peaking power plants.
End-of-life considerations represent a growing environmental concern. Current recycling rates for lithium-ion batteries remain suboptimal, with global averages below 5%. Improper disposal can release toxic materials including heavy metals and electrolytes into ecosystems. Emerging recycling technologies show promise, with advanced hydrometallurgical processes achieving material recovery rates exceeding 95% for key elements like cobalt and nickel.
Water usage presents another significant environmental dimension, with cooling systems in large grid storage installations consuming substantial quantities. Closed-loop cooling systems can reduce consumption by 60-80% compared to traditional methods, though implementation costs remain a barrier to widespread adoption.
Carbon footprint analyses reveal that despite manufacturing impacts, grid storage systems typically achieve carbon payback within 1-3 years when supporting renewable energy integration. Life cycle assessments indicate that thermal management innovations could further reduce this timeframe by 15-25% through improved efficiency and extended operational lifespans.
During operational phases, battery thermal management systems consume energy for heating and cooling, contributing to indirect emissions when powered by non-renewable sources. However, well-designed thermal management systems can significantly extend battery lifespan, reducing the frequency of replacement and associated environmental impacts. Research indicates that batteries maintained within optimal temperature ranges (typically 20-30°C) can achieve up to 60% longer operational lifespans compared to poorly managed systems.
Grid storage facilities present land use challenges, particularly for large-scale installations. However, these impacts must be balanced against their positive environmental contributions through renewable energy integration. By enabling greater penetration of intermittent renewable sources like solar and wind, battery storage systems help displace fossil fuel generation, potentially reducing greenhouse gas emissions by 50-80% compared to conventional peaking power plants.
End-of-life considerations represent a growing environmental concern. Current recycling rates for lithium-ion batteries remain suboptimal, with global averages below 5%. Improper disposal can release toxic materials including heavy metals and electrolytes into ecosystems. Emerging recycling technologies show promise, with advanced hydrometallurgical processes achieving material recovery rates exceeding 95% for key elements like cobalt and nickel.
Water usage presents another significant environmental dimension, with cooling systems in large grid storage installations consuming substantial quantities. Closed-loop cooling systems can reduce consumption by 60-80% compared to traditional methods, though implementation costs remain a barrier to widespread adoption.
Carbon footprint analyses reveal that despite manufacturing impacts, grid storage systems typically achieve carbon payback within 1-3 years when supporting renewable energy integration. Life cycle assessments indicate that thermal management innovations could further reduce this timeframe by 15-25% through improved efficiency and extended operational lifespans.
Unlock deeper insights with Patsnap Eureka Quick Research — get a full tech report to explore trends and direct your research. Try now!
Generate Your Research Report Instantly with AI Agent
Supercharge your innovation with Patsnap Eureka AI Agent Platform!