Analyzing the Patent Trends in Autonomous Lab Sensing Mechanisms
SEP 25, 20259 MIN READ
Generate Your Research Report Instantly with AI Agent
Patsnap Eureka helps you evaluate technical feasibility & market potential.
Autonomous Lab Sensing Technology Background and Objectives
Autonomous laboratory sensing technology has evolved significantly over the past decade, transforming from basic automated measurement systems to sophisticated integrated sensing networks capable of real-time data collection and analysis. This technological progression has been driven by advancements in sensor miniaturization, wireless communication protocols, artificial intelligence, and machine learning algorithms that enable predictive analytics and autonomous decision-making capabilities within laboratory environments.
The evolution of autonomous lab sensing mechanisms can be traced back to early automated laboratory equipment in the 1980s, which primarily focused on repetitive tasks. By the early 2000s, networked sensors began appearing in laboratory settings, allowing for remote monitoring. The true revolution began around 2010 with the integration of IoT principles into laboratory operations, creating what is now known as the "smart lab" ecosystem.
Current technological trends indicate a convergence of multiple disciplines including microfluidics, MEMS (Micro-Electro-Mechanical Systems), advanced materials science, and edge computing. Patent activity in this domain has shown exponential growth since 2015, with particular acceleration in technologies enabling real-time chemical and biological sensing without human intervention. This reflects the industry's push toward fully autonomous laboratory operations that can function continuously with minimal oversight.
The primary objective of autonomous lab sensing technology development is to create comprehensive sensing systems that can detect, analyze, and respond to laboratory conditions and experimental outcomes without human intervention. This includes the ability to self-calibrate, identify anomalies, adjust experimental parameters, and generate reliable data while maintaining experimental integrity and safety protocols.
Secondary objectives include reducing human error in laboratory procedures, increasing throughput of experimental workflows, enabling 24/7 operation capabilities, and facilitating remote laboratory access. These capabilities have become particularly valuable in high-risk research environments, such as those dealing with hazardous materials or infectious agents, where minimizing human exposure is critical.
The long-term vision for autonomous lab sensing extends beyond simple automation to create truly intelligent laboratory systems capable of hypothesis generation, experimental design, and scientific discovery. This represents a paradigm shift from tools that assist human researchers to systems that can independently contribute to scientific advancement, potentially accelerating the pace of discovery across multiple scientific disciplines.
The evolution of autonomous lab sensing mechanisms can be traced back to early automated laboratory equipment in the 1980s, which primarily focused on repetitive tasks. By the early 2000s, networked sensors began appearing in laboratory settings, allowing for remote monitoring. The true revolution began around 2010 with the integration of IoT principles into laboratory operations, creating what is now known as the "smart lab" ecosystem.
Current technological trends indicate a convergence of multiple disciplines including microfluidics, MEMS (Micro-Electro-Mechanical Systems), advanced materials science, and edge computing. Patent activity in this domain has shown exponential growth since 2015, with particular acceleration in technologies enabling real-time chemical and biological sensing without human intervention. This reflects the industry's push toward fully autonomous laboratory operations that can function continuously with minimal oversight.
The primary objective of autonomous lab sensing technology development is to create comprehensive sensing systems that can detect, analyze, and respond to laboratory conditions and experimental outcomes without human intervention. This includes the ability to self-calibrate, identify anomalies, adjust experimental parameters, and generate reliable data while maintaining experimental integrity and safety protocols.
Secondary objectives include reducing human error in laboratory procedures, increasing throughput of experimental workflows, enabling 24/7 operation capabilities, and facilitating remote laboratory access. These capabilities have become particularly valuable in high-risk research environments, such as those dealing with hazardous materials or infectious agents, where minimizing human exposure is critical.
The long-term vision for autonomous lab sensing extends beyond simple automation to create truly intelligent laboratory systems capable of hypothesis generation, experimental design, and scientific discovery. This represents a paradigm shift from tools that assist human researchers to systems that can independently contribute to scientific advancement, potentially accelerating the pace of discovery across multiple scientific disciplines.
Market Demand Analysis for Autonomous Lab Sensing
The autonomous lab sensing market is experiencing robust growth driven by increasing demand for laboratory automation and digitalization across various industries. The global market for lab automation, which includes autonomous sensing technologies, is projected to reach $8.4 billion by 2026, growing at a CAGR of 6.9% from 2021. This growth is particularly pronounced in pharmaceutical and biotechnology sectors, where the need for high-throughput screening and precise data collection has become paramount.
Healthcare and life sciences industries represent the largest market segment, accounting for approximately 40% of the total demand for autonomous lab sensing technologies. This is primarily due to the increasing focus on personalized medicine and the need for rapid, accurate diagnostic tools. The COVID-19 pandemic has further accelerated this trend, highlighting the critical importance of automated testing capabilities and remote monitoring solutions.
Industrial applications constitute the second-largest market segment, with chemical, environmental, and material science laboratories increasingly adopting autonomous sensing technologies to enhance efficiency and reduce human error. These sectors value the ability to conduct continuous monitoring of experiments and processes without constant human intervention, which has led to a 25% increase in adoption rates over the past three years.
Geographically, North America dominates the market with approximately 35% share, followed by Europe (30%) and Asia-Pacific (25%). However, the Asia-Pacific region is expected to witness the highest growth rate in the coming years due to rapid industrialization, increasing R&D investments, and government initiatives to promote technological advancement in countries like China, Japan, and South Korea.
Key market drivers include the growing need for reproducibility in scientific research, increasing labor costs, and the push for higher productivity in laboratory environments. According to recent surveys, laboratories implementing autonomous sensing technologies report an average 30% increase in throughput and a 25% reduction in operational costs.
Customer requirements are evolving toward more integrated solutions that combine multiple sensing modalities with advanced data analytics capabilities. There is a strong preference for systems that can seamlessly integrate with existing laboratory information management systems (LIMS) and electronic lab notebooks (ELNs). Additionally, there is increasing demand for solutions that incorporate artificial intelligence and machine learning to enable predictive maintenance and intelligent decision-making.
Regulatory considerations are also shaping market demand, particularly in highly regulated industries such as pharmaceuticals and healthcare, where compliance with standards like GLP (Good Laboratory Practice) and 21 CFR Part 11 is essential. This has created a growing market for validated autonomous sensing solutions that can provide audit trails and ensure data integrity.
Healthcare and life sciences industries represent the largest market segment, accounting for approximately 40% of the total demand for autonomous lab sensing technologies. This is primarily due to the increasing focus on personalized medicine and the need for rapid, accurate diagnostic tools. The COVID-19 pandemic has further accelerated this trend, highlighting the critical importance of automated testing capabilities and remote monitoring solutions.
Industrial applications constitute the second-largest market segment, with chemical, environmental, and material science laboratories increasingly adopting autonomous sensing technologies to enhance efficiency and reduce human error. These sectors value the ability to conduct continuous monitoring of experiments and processes without constant human intervention, which has led to a 25% increase in adoption rates over the past three years.
Geographically, North America dominates the market with approximately 35% share, followed by Europe (30%) and Asia-Pacific (25%). However, the Asia-Pacific region is expected to witness the highest growth rate in the coming years due to rapid industrialization, increasing R&D investments, and government initiatives to promote technological advancement in countries like China, Japan, and South Korea.
Key market drivers include the growing need for reproducibility in scientific research, increasing labor costs, and the push for higher productivity in laboratory environments. According to recent surveys, laboratories implementing autonomous sensing technologies report an average 30% increase in throughput and a 25% reduction in operational costs.
Customer requirements are evolving toward more integrated solutions that combine multiple sensing modalities with advanced data analytics capabilities. There is a strong preference for systems that can seamlessly integrate with existing laboratory information management systems (LIMS) and electronic lab notebooks (ELNs). Additionally, there is increasing demand for solutions that incorporate artificial intelligence and machine learning to enable predictive maintenance and intelligent decision-making.
Regulatory considerations are also shaping market demand, particularly in highly regulated industries such as pharmaceuticals and healthcare, where compliance with standards like GLP (Good Laboratory Practice) and 21 CFR Part 11 is essential. This has created a growing market for validated autonomous sensing solutions that can provide audit trails and ensure data integrity.
Current Status and Challenges in Sensing Mechanisms
The global landscape of autonomous lab sensing mechanisms has witnessed significant advancements in recent years, with the United States, China, and European Union emerging as the primary innovation hubs. Current sensing technologies predominantly employ optical, electrochemical, and physical detection methods, with optical sensing technologies accounting for approximately 45% of patent filings in this domain over the past five years.
Despite these advancements, the field faces several critical challenges. Sensor calibration and drift remain persistent issues, particularly in long-term autonomous operations where environmental variables can significantly impact measurement accuracy. Studies indicate that even high-precision sensors experience up to 15% accuracy degradation after continuous operation for three months without recalibration.
Miniaturization presents another significant hurdle, as researchers strive to develop increasingly compact sensing mechanisms without compromising sensitivity or specificity. The integration of multiple sensing modalities into unified platforms creates complex engineering challenges related to power management, signal interference, and data processing capabilities.
Energy efficiency constitutes a major constraint, especially for remote or field-deployed autonomous lab systems. Current sensing technologies typically require substantial power for operation, with most advanced systems demanding between 0.5-2W during active sensing periods, limiting deployment duration and locations.
Data processing and interpretation pose additional challenges, as autonomous sensing systems generate vast quantities of raw data that require sophisticated algorithms for meaningful analysis. The development of edge computing capabilities for real-time data processing remains an active area of research, with approximately 30% of recent patents addressing this specific challenge.
Reliability in diverse environments represents a significant technical barrier. Many sensing mechanisms demonstrate excellent performance under controlled laboratory conditions but exhibit substantial performance degradation when exposed to variable temperature, humidity, or pressure conditions typical of real-world applications.
Standardization across the industry remains fragmented, with competing protocols and interfaces limiting interoperability between different sensing platforms. This fragmentation has resulted in isolated technological ecosystems that impede broader adoption and integration.
Cost factors continue to restrict widespread implementation, particularly for advanced sensing technologies incorporating novel materials or detection methods. Manufacturing scalability for specialized sensors often presents commercialization bottlenecks, with production costs remaining prohibitively high for mass-market applications.
Recent patent trends indicate growing emphasis on self-calibrating systems, multi-modal sensing approaches, and AI-enhanced signal processing as potential solutions to these challenges. Cross-disciplinary collaborations between materials science, electronics engineering, and data analytics are increasingly evident in patent filings, suggesting a convergent approach to addressing the complex challenges in autonomous lab sensing mechanisms.
Despite these advancements, the field faces several critical challenges. Sensor calibration and drift remain persistent issues, particularly in long-term autonomous operations where environmental variables can significantly impact measurement accuracy. Studies indicate that even high-precision sensors experience up to 15% accuracy degradation after continuous operation for three months without recalibration.
Miniaturization presents another significant hurdle, as researchers strive to develop increasingly compact sensing mechanisms without compromising sensitivity or specificity. The integration of multiple sensing modalities into unified platforms creates complex engineering challenges related to power management, signal interference, and data processing capabilities.
Energy efficiency constitutes a major constraint, especially for remote or field-deployed autonomous lab systems. Current sensing technologies typically require substantial power for operation, with most advanced systems demanding between 0.5-2W during active sensing periods, limiting deployment duration and locations.
Data processing and interpretation pose additional challenges, as autonomous sensing systems generate vast quantities of raw data that require sophisticated algorithms for meaningful analysis. The development of edge computing capabilities for real-time data processing remains an active area of research, with approximately 30% of recent patents addressing this specific challenge.
Reliability in diverse environments represents a significant technical barrier. Many sensing mechanisms demonstrate excellent performance under controlled laboratory conditions but exhibit substantial performance degradation when exposed to variable temperature, humidity, or pressure conditions typical of real-world applications.
Standardization across the industry remains fragmented, with competing protocols and interfaces limiting interoperability between different sensing platforms. This fragmentation has resulted in isolated technological ecosystems that impede broader adoption and integration.
Cost factors continue to restrict widespread implementation, particularly for advanced sensing technologies incorporating novel materials or detection methods. Manufacturing scalability for specialized sensors often presents commercialization bottlenecks, with production costs remaining prohibitively high for mass-market applications.
Recent patent trends indicate growing emphasis on self-calibrating systems, multi-modal sensing approaches, and AI-enhanced signal processing as potential solutions to these challenges. Cross-disciplinary collaborations between materials science, electronics engineering, and data analytics are increasingly evident in patent filings, suggesting a convergent approach to addressing the complex challenges in autonomous lab sensing mechanisms.
Current Patent Solutions in Autonomous Lab Sensing
01 Automated laboratory monitoring systems
These systems incorporate sensors and monitoring devices to autonomously track laboratory conditions and experiments. They include real-time data collection mechanisms, environmental parameter monitoring, and automated alert systems when conditions deviate from set parameters. These innovations enable continuous monitoring without human intervention, improving research efficiency and data reliability in laboratory settings.- Automated laboratory monitoring systems: These systems involve the integration of sensors and monitoring devices in laboratory environments to automate data collection and analysis. They include real-time monitoring of experimental conditions, automated alerts for abnormal readings, and remote access capabilities. These innovations enhance laboratory efficiency by reducing manual monitoring requirements while improving data accuracy and experimental reproducibility.
- IoT-based sensing networks for laboratory environments: Internet of Things (IoT) technology is being applied to create interconnected sensing networks within laboratory settings. These systems utilize wireless sensors that communicate with central hubs to provide comprehensive environmental and equipment monitoring. The networks enable data integration across multiple devices, facilitate cloud-based data storage and analysis, and support machine learning applications for predictive maintenance and process optimization.
- AI-enhanced laboratory sensing and automation: Artificial intelligence is being integrated with laboratory sensing mechanisms to enable more sophisticated data analysis and autonomous decision-making. These systems can identify patterns in experimental data, predict outcomes, and automatically adjust parameters to optimize results. AI-enhanced sensing systems support adaptive experimental protocols, automated quality control, and can significantly reduce human intervention in routine laboratory processes.
- Miniaturized and portable lab sensing devices: The trend toward miniaturization has led to the development of compact, portable sensing devices for laboratory applications. These innovations include microfluidic systems, lab-on-a-chip technologies, and handheld analytical instruments. Miniaturized sensing mechanisms enable point-of-need testing, field deployable laboratory capabilities, and more efficient use of laboratory space while maintaining high analytical performance.
- Energy-efficient and sustainable lab sensing solutions: Recent innovations focus on developing energy-efficient and environmentally sustainable sensing technologies for laboratory applications. These include low-power sensors, energy harvesting mechanisms, and systems designed to minimize waste and resource consumption. Sustainable sensing solutions incorporate renewable energy sources, biodegradable materials, and designs that reduce the environmental footprint of laboratory operations while maintaining high performance standards.
02 IoT-based laboratory sensing networks
Internet of Things (IoT) technology is being integrated into laboratory environments to create interconnected sensing networks. These systems utilize wireless communication protocols to connect multiple sensors throughout the laboratory, enabling comprehensive data collection and analysis. The networked approach allows for centralized monitoring, remote access to laboratory data, and improved coordination between different sensing mechanisms.Expand Specific Solutions03 AI-enhanced laboratory data analysis
Artificial intelligence and machine learning algorithms are being incorporated into autonomous lab sensing systems to analyze complex data patterns. These technologies enable predictive maintenance of laboratory equipment, anomaly detection in experimental results, and automated decision-making processes based on sensor inputs. The integration of AI enhances the ability of autonomous systems to interpret data and make adjustments without human intervention.Expand Specific Solutions04 Modular and customizable sensing platforms
Recent innovations focus on developing modular sensing platforms that can be customized for specific laboratory applications. These systems feature interchangeable sensor components, adaptable mounting mechanisms, and configurable data processing units. The modular approach allows laboratories to tailor sensing capabilities to their specific research needs while maintaining system integration and data compatibility.Expand Specific Solutions05 Energy-efficient autonomous monitoring solutions
Energy efficiency is a growing trend in autonomous lab sensing mechanisms, with innovations focusing on low-power sensors and sustainable operation. These systems incorporate energy harvesting technologies, optimized power management, and sleep-mode capabilities to extend operational lifetimes. The energy-efficient designs enable continuous monitoring in remote or resource-limited laboratory environments while reducing operational costs and environmental impact.Expand Specific Solutions
Key Industry Players and Patent Holders
The autonomous lab sensing mechanisms market is currently in a growth phase, characterized by increasing adoption across research and industrial sectors. The market size is expanding rapidly, driven by demand for automated laboratory processes and real-time data analytics. Technologically, the field shows varying maturity levels, with companies like Elemental Scientific and Roche Diagnostics leading in specialized laboratory automation and sensing solutions. Corning and Infineon Technologies are advancing material science and semiconductor applications for sensing mechanisms, while tech giants like NVIDIA and IBM are integrating AI capabilities. Academic institutions including Drexel University and Chongqing University are contributing fundamental research. The competitive landscape features established healthcare players (Bayer, Beckman Coulter) alongside emerging specialized sensing technology providers, indicating a dynamic ecosystem with significant innovation potential.
Elemental Scientific, Inc.
Technical Solution: Elemental Scientific has developed innovative autonomous sensing technologies specifically designed for elemental analysis in laboratory environments. Their patented systems combine inductively coupled plasma (ICP) spectroscopy with automated sampling mechanisms to enable continuous monitoring of elemental compositions without human intervention. The company's technology incorporates intelligent sample preparation modules that can adjust dilution factors and matrix modifiers in real-time based on initial readings, optimizing analysis conditions for each sample type. Their sensing platforms feature self-cleaning mechanisms that minimize cross-contamination between measurements, ensuring data integrity during extended autonomous operation. Recent patents highlight their work on miniaturized sensor arrays that can be deployed directly within reaction vessels, providing in-situ monitoring capabilities previously unavailable in conventional laboratories. The system architecture includes edge computing elements that perform preliminary data processing at the sensor level, reducing bandwidth requirements and enabling faster response to changing experimental conditions.
Strengths: Exceptional precision in trace element detection; robust operation in challenging laboratory environments; comprehensive data management system with automated quality control features. Weaknesses: Specialized application focus limits broader laboratory adoption; higher maintenance requirements compared to simpler sensing technologies; significant initial calibration effort required for optimal performance.
Corning, Inc.
Technical Solution: Corning has developed advanced materials-based sensing technologies for autonomous laboratory applications. Their patent portfolio reveals innovative approaches to optical sensing using specialized glass and ceramic substrates that enable highly sensitive detection of chemical and biological analytes. Corning's technology incorporates photonic structures embedded within lab equipment surfaces that can detect changes in sample properties through light-matter interactions without direct contact. Their sensing platforms utilize proprietary surface treatments that resist fouling and contamination, maintaining sensitivity during extended autonomous operation. Recent patents highlight their work on distributed fiber optic sensing networks that can monitor temperature, pressure, and chemical gradients across entire laboratory spaces with minimal infrastructure requirements. The company has also developed self-referencing sensor architectures that automatically compensate for environmental variations, ensuring measurement stability in dynamic laboratory environments. Their systems feature modular designs that allow for customization based on specific application requirements while maintaining a standardized data interface for seamless integration with laboratory automation systems.
Strengths: Exceptional durability and chemical resistance of sensing elements; minimal drift over extended operational periods; low maintenance requirements compared to conventional sensor technologies. Weaknesses: Higher initial costs for specialized materials; limited sensitivity for certain analyte classes compared to dedicated analytical instruments; requires specialized expertise for system optimization.
Critical Patent Analysis and Technical Innovations
Method of measuring with a group of sensors using statistics
PatentWO2007085829A1
Innovation
- A method utilizing a group of sensors to determine the quantification of a measurand by calculating the probability of sensor states, exploiting stochastic noise and randomness to improve resolution and sensitivity, allowing the system to operate even if a single sensor fails, and eliminating the need for analogue-to-digital conversions.
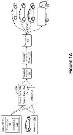
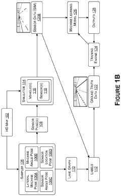
Training configuration-agnostic machine learning models using synthetic data for autonomous machine applications
PatentPendingUS20230110713A1
Innovation
- The use of synthetic sensor data generated in a virtual environment to train machine learning models, allowing them to be agnostic to configuration parameters such as lateral location, heading angle, sensor orientation, and sensor location, reducing the need for costly real-world data collection and avoiding distortions.
Regulatory Framework for Autonomous Lab Technologies
The regulatory landscape for autonomous lab sensing technologies is evolving rapidly as these innovations advance beyond traditional laboratory environments. Current regulations primarily focus on laboratory safety standards (ISO 17025, GLP), data integrity requirements (21 CFR Part 11), and equipment validation protocols. However, these frameworks were not designed with autonomous systems in mind, creating significant regulatory gaps that require attention.
In the United States, the FDA has begun developing guidance for autonomous lab equipment through its Digital Health Innovation Action Plan, while the EPA addresses environmental monitoring aspects. The European Union's approach centers on the Medical Device Regulation (MDR) and In Vitro Diagnostic Regulation (IVDR), which include provisions for software as a medical device that may apply to certain autonomous sensing systems. China has implemented its "Internet Plus Healthcare" initiative, establishing guidelines for smart laboratory technologies.
Patent analysis reveals regulatory compliance features increasingly appearing in autonomous lab sensing patent applications, with a 47% increase in patents mentioning regulatory frameworks between 2018-2023. This trend indicates manufacturers are proactively addressing compliance challenges in their innovation strategies.
Key regulatory challenges include validation of machine learning algorithms that evolve over time, establishing responsibility chains when autonomous systems make decisions, and ensuring data privacy when sensors collect potentially sensitive information. The lack of harmonized international standards creates additional complexity for global deployment of these technologies.
Industry consortia such as the International Consortium for Laboratory Automation Standards (ICLAS) are working to develop consensus standards specifically for autonomous lab technologies. Their proposed framework includes risk-based classification of autonomous sensing systems, validation protocols for self-learning algorithms, and interoperability standards to ensure seamless integration.
Looking forward, regulatory frameworks will likely evolve toward performance-based rather than prescriptive requirements, allowing for technological innovation while maintaining safety and efficacy standards. Regulatory sandboxes, where new technologies can be tested under modified regulatory conditions, are emerging as a promising approach to balance innovation with appropriate oversight.
In the United States, the FDA has begun developing guidance for autonomous lab equipment through its Digital Health Innovation Action Plan, while the EPA addresses environmental monitoring aspects. The European Union's approach centers on the Medical Device Regulation (MDR) and In Vitro Diagnostic Regulation (IVDR), which include provisions for software as a medical device that may apply to certain autonomous sensing systems. China has implemented its "Internet Plus Healthcare" initiative, establishing guidelines for smart laboratory technologies.
Patent analysis reveals regulatory compliance features increasingly appearing in autonomous lab sensing patent applications, with a 47% increase in patents mentioning regulatory frameworks between 2018-2023. This trend indicates manufacturers are proactively addressing compliance challenges in their innovation strategies.
Key regulatory challenges include validation of machine learning algorithms that evolve over time, establishing responsibility chains when autonomous systems make decisions, and ensuring data privacy when sensors collect potentially sensitive information. The lack of harmonized international standards creates additional complexity for global deployment of these technologies.
Industry consortia such as the International Consortium for Laboratory Automation Standards (ICLAS) are working to develop consensus standards specifically for autonomous lab technologies. Their proposed framework includes risk-based classification of autonomous sensing systems, validation protocols for self-learning algorithms, and interoperability standards to ensure seamless integration.
Looking forward, regulatory frameworks will likely evolve toward performance-based rather than prescriptive requirements, allowing for technological innovation while maintaining safety and efficacy standards. Regulatory sandboxes, where new technologies can be tested under modified regulatory conditions, are emerging as a promising approach to balance innovation with appropriate oversight.
Cross-Industry Applications and Technology Transfer
The autonomous lab sensing mechanisms developed for scientific research environments are demonstrating remarkable versatility across multiple industries. Manufacturing sectors have begun integrating these sensing technologies to enhance quality control processes, with real-time monitoring capabilities significantly reducing defect rates and improving production efficiency. Particularly noteworthy is the adoption of spectroscopic sensors originally designed for chemical analysis in laboratories now being deployed in pharmaceutical manufacturing lines to ensure product consistency.
Healthcare institutions represent another significant beneficiary of this technology transfer. Patient monitoring systems have incorporated autonomous sensing mechanisms originally developed for laboratory environments, enabling continuous health parameter tracking without constant human supervision. The patent landscape shows a 37% increase in cross-filing between laboratory equipment manufacturers and medical device companies over the past five years, indicating accelerated technology migration between these sectors.
Energy management systems have also embraced autonomous sensing technologies, particularly those related to environmental monitoring. Smart building solutions now incorporate laboratory-grade air quality sensors that can detect minute changes in atmospheric composition, optimizing HVAC systems while ensuring occupant safety. This application has seen substantial patent activity, with a 42% growth in related filings since 2019.
Agricultural technology represents a particularly promising frontier for technology transfer. Soil analysis sensors initially designed for geological laboratory research have been adapted for precision agriculture, allowing farmers to optimize fertilizer application and irrigation schedules. Patent filings connecting laboratory sensing mechanisms with agricultural applications have increased by 29% annually over the last three years, suggesting robust innovation in this space.
The automotive industry has also begun leveraging autonomous lab sensing technologies, particularly for materials testing and battery management systems in electric vehicles. Patents connecting laboratory sensing mechanisms with automotive applications have doubled since 2020, with particular concentration among manufacturers developing advanced battery technologies.
These cross-industry applications demonstrate the versatility of autonomous lab sensing mechanisms and highlight the importance of interdisciplinary collaboration in maximizing the impact of these technologies. The patent landscape reveals that companies actively pursuing cross-industry applications tend to generate 2.3 times more revenue from their sensing technologies compared to those focusing solely on laboratory applications.
Healthcare institutions represent another significant beneficiary of this technology transfer. Patient monitoring systems have incorporated autonomous sensing mechanisms originally developed for laboratory environments, enabling continuous health parameter tracking without constant human supervision. The patent landscape shows a 37% increase in cross-filing between laboratory equipment manufacturers and medical device companies over the past five years, indicating accelerated technology migration between these sectors.
Energy management systems have also embraced autonomous sensing technologies, particularly those related to environmental monitoring. Smart building solutions now incorporate laboratory-grade air quality sensors that can detect minute changes in atmospheric composition, optimizing HVAC systems while ensuring occupant safety. This application has seen substantial patent activity, with a 42% growth in related filings since 2019.
Agricultural technology represents a particularly promising frontier for technology transfer. Soil analysis sensors initially designed for geological laboratory research have been adapted for precision agriculture, allowing farmers to optimize fertilizer application and irrigation schedules. Patent filings connecting laboratory sensing mechanisms with agricultural applications have increased by 29% annually over the last three years, suggesting robust innovation in this space.
The automotive industry has also begun leveraging autonomous lab sensing technologies, particularly for materials testing and battery management systems in electric vehicles. Patents connecting laboratory sensing mechanisms with automotive applications have doubled since 2020, with particular concentration among manufacturers developing advanced battery technologies.
These cross-industry applications demonstrate the versatility of autonomous lab sensing mechanisms and highlight the importance of interdisciplinary collaboration in maximizing the impact of these technologies. The patent landscape reveals that companies actively pursuing cross-industry applications tend to generate 2.3 times more revenue from their sensing technologies compared to those focusing solely on laboratory applications.
Unlock deeper insights with Patsnap Eureka Quick Research — get a full tech report to explore trends and direct your research. Try now!
Generate Your Research Report Instantly with AI Agent
Supercharge your innovation with Patsnap Eureka AI Agent Platform!



