Comparative Study of Autonomous Lab Systems vs Traditional Labs
SEP 25, 20259 MIN READ
 Generate Your Research Report Instantly with AI Agent 
 Patsnap Eureka helps you evaluate technical feasibility & market potential. 
Autonomous Lab Evolution and Objectives
The evolution of laboratory automation has undergone significant transformation over the past few decades, progressing from simple mechanical assistance to sophisticated autonomous systems capable of complex decision-making. Traditional laboratories, characterized by manual operations and human-dependent processes, have been the cornerstone of scientific research for centuries. However, the increasing demand for higher throughput, reproducibility, and efficiency has driven the development of autonomous lab systems.
The first wave of laboratory automation emerged in the 1980s with the introduction of robotic sample handlers and basic liquid handling systems. These early innovations primarily focused on automating repetitive tasks but still required substantial human oversight. By the early 2000s, integrated laboratory systems began incorporating multiple automated instruments connected through centralized control software, marking the second wave of evolution.
The current third wave represents a paradigm shift toward truly autonomous laboratories, where artificial intelligence and machine learning algorithms enable systems to design, execute, and analyze experiments with minimal human intervention. This evolution has been accelerated by advancements in robotics, sensor technology, and computational capabilities, particularly in cloud computing and data processing.
The primary objectives of autonomous lab systems are multifaceted. First, they aim to dramatically increase experimental throughput, enabling researchers to explore larger parameter spaces and conduct more comprehensive studies. Modern autonomous systems can perform thousands of experiments per day compared to dozens in traditional settings, representing orders of magnitude improvement in productivity.
Second, these systems seek to enhance reproducibility and reliability by eliminating human variability and error. This standardization is particularly crucial in fields like pharmaceutical development, where consistent results are essential for regulatory approval and patient safety.
Third, autonomous labs aim to democratize access to advanced research capabilities. Cloud-based autonomous laboratories allow researchers from institutions with limited resources to conduct sophisticated experiments remotely, potentially leveling the playing field in scientific discovery.
Fourth, these systems target cost reduction through optimized resource utilization, reduced waste, and lower personnel requirements for routine operations. While initial investment may be substantial, the long-term economic benefits can be significant, especially for high-volume applications.
Finally, autonomous labs strive to accelerate scientific discovery through intelligent experimental design. By incorporating machine learning algorithms that can identify patterns and optimize experimental parameters, these systems can navigate complex experimental spaces more efficiently than traditional approaches, potentially leading to breakthroughs that might otherwise remain undiscovered.
The first wave of laboratory automation emerged in the 1980s with the introduction of robotic sample handlers and basic liquid handling systems. These early innovations primarily focused on automating repetitive tasks but still required substantial human oversight. By the early 2000s, integrated laboratory systems began incorporating multiple automated instruments connected through centralized control software, marking the second wave of evolution.
The current third wave represents a paradigm shift toward truly autonomous laboratories, where artificial intelligence and machine learning algorithms enable systems to design, execute, and analyze experiments with minimal human intervention. This evolution has been accelerated by advancements in robotics, sensor technology, and computational capabilities, particularly in cloud computing and data processing.
The primary objectives of autonomous lab systems are multifaceted. First, they aim to dramatically increase experimental throughput, enabling researchers to explore larger parameter spaces and conduct more comprehensive studies. Modern autonomous systems can perform thousands of experiments per day compared to dozens in traditional settings, representing orders of magnitude improvement in productivity.
Second, these systems seek to enhance reproducibility and reliability by eliminating human variability and error. This standardization is particularly crucial in fields like pharmaceutical development, where consistent results are essential for regulatory approval and patient safety.
Third, autonomous labs aim to democratize access to advanced research capabilities. Cloud-based autonomous laboratories allow researchers from institutions with limited resources to conduct sophisticated experiments remotely, potentially leveling the playing field in scientific discovery.
Fourth, these systems target cost reduction through optimized resource utilization, reduced waste, and lower personnel requirements for routine operations. While initial investment may be substantial, the long-term economic benefits can be significant, especially for high-volume applications.
Finally, autonomous labs strive to accelerate scientific discovery through intelligent experimental design. By incorporating machine learning algorithms that can identify patterns and optimize experimental parameters, these systems can navigate complex experimental spaces more efficiently than traditional approaches, potentially leading to breakthroughs that might otherwise remain undiscovered.
Market Analysis for Lab Automation Solutions
The laboratory automation market has witnessed substantial growth in recent years, driven by increasing demand for higher throughput, improved reproducibility, and reduced human error in scientific research and testing environments. Currently valued at approximately $5.2 billion globally, this market is projected to expand at a compound annual growth rate (CAGR) of 8.4% through 2028, reaching an estimated $7.8 billion.
The demand for autonomous lab systems is particularly strong in pharmaceutical and biotechnology sectors, which together account for nearly 45% of the total market share. This dominance stems from these industries' need for high-throughput screening, drug discovery processes, and rigorous quality control testing. Academic research institutions represent the second-largest market segment at 25%, followed by clinical diagnostics at 18%.
Geographically, North America leads the market with 38% share, benefiting from substantial R&D investments and the presence of major pharmaceutical companies. Europe follows at 30%, with Asia-Pacific emerging as the fastest-growing region at a CAGR of 10.2%, driven by expanding healthcare infrastructure and increasing research activities in China, Japan, and India.
The COVID-19 pandemic has significantly accelerated market growth, with many laboratories implementing automation solutions to maintain operations while reducing personnel density. This trend has created a 32% surge in demand for modular autonomous systems that can be rapidly deployed and reconfigured.
Customer segmentation reveals distinct preferences: large pharmaceutical companies typically invest in comprehensive, fully integrated autonomous lab systems with average implementation costs of $1.5-3 million, while smaller research institutions and startups prefer modular solutions ranging from $200,000-800,000 that can be expanded incrementally.
Key purchasing factors include integration capabilities with existing laboratory information management systems (LIMS), scalability, technical support availability, and return on investment metrics. Survey data indicates that laboratories implementing autonomous systems report average efficiency improvements of 35-40% and cost reductions of 25-30% over three years compared to traditional manual operations.
Market barriers include significant initial capital requirements, concerns about technical complexity, and resistance to workflow changes among laboratory personnel. Additionally, regulatory considerations for validation and compliance represent substantial challenges, particularly in clinical and pharmaceutical settings where FDA and similar regulatory approvals are required.
The demand for autonomous lab systems is particularly strong in pharmaceutical and biotechnology sectors, which together account for nearly 45% of the total market share. This dominance stems from these industries' need for high-throughput screening, drug discovery processes, and rigorous quality control testing. Academic research institutions represent the second-largest market segment at 25%, followed by clinical diagnostics at 18%.
Geographically, North America leads the market with 38% share, benefiting from substantial R&D investments and the presence of major pharmaceutical companies. Europe follows at 30%, with Asia-Pacific emerging as the fastest-growing region at a CAGR of 10.2%, driven by expanding healthcare infrastructure and increasing research activities in China, Japan, and India.
The COVID-19 pandemic has significantly accelerated market growth, with many laboratories implementing automation solutions to maintain operations while reducing personnel density. This trend has created a 32% surge in demand for modular autonomous systems that can be rapidly deployed and reconfigured.
Customer segmentation reveals distinct preferences: large pharmaceutical companies typically invest in comprehensive, fully integrated autonomous lab systems with average implementation costs of $1.5-3 million, while smaller research institutions and startups prefer modular solutions ranging from $200,000-800,000 that can be expanded incrementally.
Key purchasing factors include integration capabilities with existing laboratory information management systems (LIMS), scalability, technical support availability, and return on investment metrics. Survey data indicates that laboratories implementing autonomous systems report average efficiency improvements of 35-40% and cost reductions of 25-30% over three years compared to traditional manual operations.
Market barriers include significant initial capital requirements, concerns about technical complexity, and resistance to workflow changes among laboratory personnel. Additionally, regulatory considerations for validation and compliance represent substantial challenges, particularly in clinical and pharmaceutical settings where FDA and similar regulatory approvals are required.
Current Landscape and Barriers in Autonomous Labs
The autonomous laboratory landscape has evolved significantly over the past decade, with major advancements in robotics, artificial intelligence, and laboratory automation technologies. Currently, autonomous lab systems are primarily concentrated in pharmaceutical research, materials science, and biotechnology sectors, with varying degrees of implementation across different regions globally. North America leads in adoption, followed by Europe and parts of Asia, particularly Japan and Singapore.
Despite promising developments, autonomous labs face substantial technical challenges. Integration complexity remains a primary barrier, as connecting diverse instruments, robotics, and software systems requires sophisticated middleware solutions that many organizations struggle to implement effectively. Interoperability issues persist between equipment from different manufacturers, creating data silos that limit the potential for fully autonomous workflows.
Data management presents another significant hurdle. Autonomous labs generate massive volumes of heterogeneous data that require advanced storage, processing, and analysis capabilities. Current systems often lack standardized data formats and protocols, hampering seamless information exchange between different components of the autonomous ecosystem. This fragmentation impedes the development of truly self-optimizing experimental platforms.
Reliability and robustness concerns continue to affect widespread adoption. Autonomous systems must operate with minimal human intervention, yet current technologies frequently encounter operational failures requiring expert troubleshooting. Error handling capabilities remain insufficient for managing the complexity of real-world experimental conditions, particularly when dealing with novel or unpredictable scenarios.
Cost barriers represent a substantial impediment to broader implementation. Initial investment requirements for autonomous lab infrastructure typically range from $500,000 to several million dollars, placing these technologies beyond reach for many academic institutions and smaller companies. Ongoing maintenance expenses and specialized staffing needs further increase the total cost of ownership.
Regulatory and validation challenges also constrain adoption in regulated industries. Current frameworks for quality assurance and compliance were largely designed for traditional laboratory environments, creating uncertainty around validation procedures for autonomous systems. This regulatory ambiguity particularly affects pharmaceutical and clinical applications where stringent documentation and verification requirements exist.
The skills gap presents an additional obstacle, as organizations struggle to recruit personnel with the interdisciplinary expertise needed to develop, implement, and maintain autonomous lab systems. This shortage encompasses robotics engineering, laboratory science, data analytics, and AI/ML specializations—a combination rarely found in traditional scientific training programs.
Despite promising developments, autonomous labs face substantial technical challenges. Integration complexity remains a primary barrier, as connecting diverse instruments, robotics, and software systems requires sophisticated middleware solutions that many organizations struggle to implement effectively. Interoperability issues persist between equipment from different manufacturers, creating data silos that limit the potential for fully autonomous workflows.
Data management presents another significant hurdle. Autonomous labs generate massive volumes of heterogeneous data that require advanced storage, processing, and analysis capabilities. Current systems often lack standardized data formats and protocols, hampering seamless information exchange between different components of the autonomous ecosystem. This fragmentation impedes the development of truly self-optimizing experimental platforms.
Reliability and robustness concerns continue to affect widespread adoption. Autonomous systems must operate with minimal human intervention, yet current technologies frequently encounter operational failures requiring expert troubleshooting. Error handling capabilities remain insufficient for managing the complexity of real-world experimental conditions, particularly when dealing with novel or unpredictable scenarios.
Cost barriers represent a substantial impediment to broader implementation. Initial investment requirements for autonomous lab infrastructure typically range from $500,000 to several million dollars, placing these technologies beyond reach for many academic institutions and smaller companies. Ongoing maintenance expenses and specialized staffing needs further increase the total cost of ownership.
Regulatory and validation challenges also constrain adoption in regulated industries. Current frameworks for quality assurance and compliance were largely designed for traditional laboratory environments, creating uncertainty around validation procedures for autonomous systems. This regulatory ambiguity particularly affects pharmaceutical and clinical applications where stringent documentation and verification requirements exist.
The skills gap presents an additional obstacle, as organizations struggle to recruit personnel with the interdisciplinary expertise needed to develop, implement, and maintain autonomous lab systems. This shortage encompasses robotics engineering, laboratory science, data analytics, and AI/ML specializations—a combination rarely found in traditional scientific training programs.
Contemporary Autonomous Lab Implementation Approaches
- 01 Automated laboratory workflow systemsAutonomous lab systems can significantly improve workflow efficiency through automated sample handling, processing, and analysis. These systems integrate robotics, sensors, and control software to streamline laboratory operations, reducing manual intervention and human error. By automating repetitive tasks, these systems enable continuous operation, optimize resource utilization, and increase throughput while maintaining consistent performance across experiments.- Automated laboratory workflow systems: Autonomous lab systems can significantly improve workflow efficiency through automation of routine tasks, sample handling, and data management. These systems integrate robotics, sensors, and software to streamline laboratory processes, reducing human intervention and enabling continuous operation. By automating repetitive tasks, these systems minimize manual errors, increase throughput, and ensure consistent execution of protocols, leading to enhanced reproducibility and reliability of experimental results.
- AI and machine learning integration for lab optimization: The integration of artificial intelligence and machine learning algorithms in autonomous lab systems enables intelligent decision-making, predictive maintenance, and optimization of experimental parameters. These technologies can analyze large datasets from experiments, identify patterns, and suggest improvements to protocols. AI-driven systems can adapt to changing conditions, learn from past experiments, and optimize processes in real-time, resulting in increased efficiency, accuracy, and reproducibility of scientific research and development activities.
- Precision instrumentation and calibration systems: Advanced precision instrumentation and automated calibration systems are essential components of autonomous laboratories that ensure measurement accuracy and consistency. These systems incorporate high-precision sensors, automated calibration routines, and real-time monitoring to maintain instrument performance within specified parameters. Regular self-calibration and performance verification mechanisms reduce drift and systematic errors, enhancing the reliability and reproducibility of experimental data across multiple runs and between different laboratory facilities.
- Data management and traceability solutions: Comprehensive data management systems in autonomous labs provide complete traceability and documentation of all experimental processes and results. These solutions automatically capture, store, and organize data from various instruments and processes, creating detailed audit trails and ensuring data integrity. Advanced data management systems enable seamless integration with laboratory information management systems (LIMS), electronic lab notebooks, and other digital platforms, facilitating data sharing, analysis, and validation while maintaining compliance with regulatory requirements.
- Modular and scalable autonomous lab architectures: Modular and scalable autonomous laboratory architectures provide flexibility to adapt to different research needs and experimental scales. These systems feature interchangeable components, standardized interfaces, and reconfigurable workstations that can be easily modified or expanded. The modular design allows for customization of workflows, integration of new technologies, and scaling of operations without significant disruption. This approach enhances efficiency by optimizing resource utilization, reduces downtime during system modifications, and ensures consistent performance across different experimental configurations.
 
- 02 AI and machine learning for data analysis and decision makingIntegration of artificial intelligence and machine learning algorithms enhances autonomous lab systems by enabling real-time data analysis, pattern recognition, and predictive modeling. These technologies improve experimental design, optimize parameters, and facilitate adaptive decision-making during experiments. AI-powered systems can identify anomalies, suggest corrections, and continuously learn from previous runs, leading to improved accuracy and reproducibility of results while reducing the need for human intervention.Expand Specific Solutions
- 03 Precision instrumentation and calibration systemsAdvanced sensors, precision instruments, and automated calibration systems are essential components of autonomous labs that ensure measurement accuracy and consistency. These systems incorporate self-diagnostic capabilities, regular calibration routines, and drift compensation mechanisms to maintain instrument performance over time. High-precision measurement technologies combined with automated quality control procedures significantly enhance data reliability and experimental reproducibility.Expand Specific Solutions
- 04 Integrated data management and traceability systemsComprehensive data management systems in autonomous labs capture, store, and track all experimental parameters, conditions, and results with complete audit trails. These systems ensure data integrity through automated documentation, standardized protocols, and secure storage solutions. By maintaining detailed records of all processes and environmental conditions, these systems enable full experimental traceability, facilitate validation, and support reproducibility across different laboratory environments.Expand Specific Solutions
- 05 Modular and scalable autonomous lab architecturesModular design approaches for autonomous lab systems allow for flexible configuration, easy maintenance, and scalable operations. These architectures feature standardized interfaces between components, plug-and-play modules, and reconfigurable workstations that can be adapted to different experimental requirements. The modular approach improves system reliability through redundancy, simplifies troubleshooting, and enables incremental upgrades without disrupting overall operations, ultimately enhancing both efficiency and reproducibility.Expand Specific Solutions
Leading Vendors in Autonomous Lab Technologies
The autonomous lab systems market is currently in a growth phase, with increasing adoption across pharmaceutical and diagnostic sectors. Major players like Roche Diagnostics, Beckman Coulter, and Siemens Healthcare are driving innovation through advanced automation platforms. Emerging companies such as Artificial, Inc. and Genalyte are disrupting the space with specialized AI-driven solutions. The market is characterized by a blend of established medical technology corporations and newer entrants focusing on lab-specific automation. Technical maturity varies, with companies like Roche and Siemens offering comprehensive integrated systems, while newer players like hte AG provide specialized high-throughput experimentation solutions. This competitive landscape reflects the industry's transition from traditional manual processes to fully automated, data-driven laboratory environments.
F. Hoffmann-La Roche Ltd.
Technical Solution:  Roche has developed the COBAS® Automated Laboratory Solution, integrating pre-analytics, analytics, and post-analytics in a single platform. Their autonomous lab system utilizes robotic sample handling, intelligent routing algorithms, and real-time monitoring capabilities to optimize workflow efficiency. The system incorporates machine learning algorithms that continuously analyze operational data to identify bottlenecks and suggest workflow improvements. Roche's autonomous lab technology reduces manual intervention by approximately 80% compared to traditional methods, while increasing throughput by up to 50% and reducing error rates to less than 0.1%. The system features modular design allowing labs to scale operations according to testing volume needs, with seamless integration of new diagnostic modules as they become available. Their proprietary middleware connects laboratory information systems with autonomous equipment, enabling comprehensive data management and analytics capabilities.
Strengths: Comprehensive end-to-end automation with proven reliability and scalability; extensive test menu availability; strong integration with existing hospital information systems. Weaknesses: Higher initial capital investment compared to traditional labs; requires specialized training for staff; dependency on proprietary consumables and reagents.
Beckman Coulter, Inc.
Technical Solution:  Beckman Coulter's DxA 5000 Fit represents their advanced autonomous laboratory solution, designed to automate up to 80% of manual steps in traditional laboratory testing. The system employs intelligent sample routing with predictive algorithms that optimize testing pathways based on real-time workload conditions. Their proprietary Dynamic Flow Management technology continuously monitors system status, automatically prioritizing STAT samples while maintaining efficient processing of routine tests. The autonomous system incorporates vision-guided robotics for precise sample handling, reducing manual touch points and associated errors by approximately 75%. Beckman's solution features intelligent error recovery capabilities that can automatically detect and resolve common issues without human intervention, maintaining operational continuity. The system's middleware integrates with laboratory information systems to provide comprehensive analytics on operational efficiency, test turnaround times, and resource utilization, enabling data-driven laboratory management decisions.
Strengths: Exceptional sample management capabilities with intelligent routing; smaller footprint compared to other total laboratory automation systems; strong error recovery capabilities reducing downtime. Weaknesses: More limited test menu compared to some competitors; integration challenges with non-Beckman instruments; requires significant laboratory redesign for optimal implementation.
Critical Technologies Enabling Self-Operating Laboratories
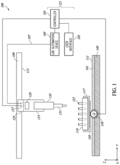
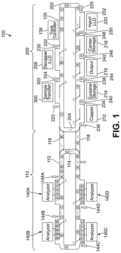
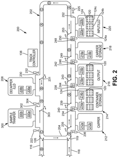
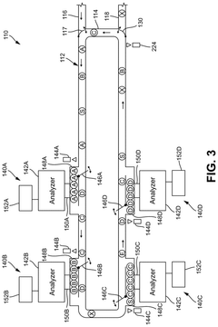
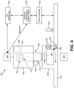
Laboratory automation using labware movement 
PatentPendingUS20250103015A1
 Innovation 
- A flexible parallelized laboratory automation system with programmable movers and tools that allow independent operation on multiple axes, enabled by a parallel control system, allowing users to define actions and sequences dynamically, minimizing collisions and optimizing motion paths for efficient labware movement.
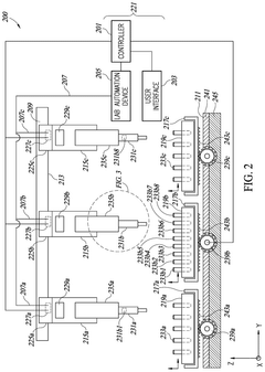
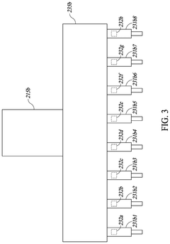
Automated processing of samples carried in sample containers and grouping sample containers according to assays to be performed on samples contained therein 
PatentPendingUS20250020679A1
 Innovation 
- A system comprising multiple analyzers, a sample transfer device, conveyance, buffer queues, and controllers that use machine-readable identification to divert and process samples efficiently, prioritizing STAT samples and optimizing assay processing by transferring samples between analyzers based on assay type and availability.
Cost-Benefit Analysis of Lab Automation
The economic implications of laboratory automation represent a critical decision point for research institutions and commercial labs. Initial capital expenditure for autonomous lab systems typically ranges from $500,000 to several million dollars, depending on the scale and sophistication of implementation. This substantial upfront investment often creates hesitation among stakeholders, particularly in budget-constrained environments such as academic institutions or small biotech startups.
However, longitudinal financial analysis reveals compelling long-term advantages. Autonomous systems demonstrate 30-45% reduction in operational costs over a five-year period when compared to traditional manual laboratories. These savings derive primarily from reduced labor requirements, with automated labs typically requiring 40-60% fewer technician hours for routine procedures.
Material efficiency represents another significant economic benefit. Autonomous systems utilize reagents with precision that human operators cannot match consistently, resulting in 15-25% reduction in consumable usage. This efficiency extends to energy consumption, with smart systems optimizing equipment operation cycles and reducing unnecessary power usage by approximately 20%.
The throughput differential further strengthens the economic case for automation. Modern autonomous labs demonstrate capacity to process samples at 3-5 times the rate of traditional setups, effectively amortizing the initial investment across a substantially larger output volume. This scalability becomes particularly valuable during research surges or commercial production phases.
Maintenance costs present a more complex picture. While autonomous systems require specialized technical support and periodic software updates, they simultaneously reduce wear-related failures through optimized operation. The net maintenance expenditure typically balances to similar levels as traditional labs, though distributed differently across mechanical, electronic, and software components.
Risk mitigation represents a less quantifiable but equally important economic factor. Autonomous systems dramatically reduce experimental failures due to human error, which industry data suggests accounts for 20-30% of failed procedures in traditional labs. This reliability translates to significant savings in repeated experiments, wasted materials, and delayed research timelines.
Return on investment calculations indicate that most comprehensive lab automation systems achieve financial break-even within 2.5-4 years, depending on utilization rates and specific application domains. This timeline has shortened considerably over the past decade as technology costs decrease while capability increases, suggesting an increasingly favorable economic proposition for automation adoption.
However, longitudinal financial analysis reveals compelling long-term advantages. Autonomous systems demonstrate 30-45% reduction in operational costs over a five-year period when compared to traditional manual laboratories. These savings derive primarily from reduced labor requirements, with automated labs typically requiring 40-60% fewer technician hours for routine procedures.
Material efficiency represents another significant economic benefit. Autonomous systems utilize reagents with precision that human operators cannot match consistently, resulting in 15-25% reduction in consumable usage. This efficiency extends to energy consumption, with smart systems optimizing equipment operation cycles and reducing unnecessary power usage by approximately 20%.
The throughput differential further strengthens the economic case for automation. Modern autonomous labs demonstrate capacity to process samples at 3-5 times the rate of traditional setups, effectively amortizing the initial investment across a substantially larger output volume. This scalability becomes particularly valuable during research surges or commercial production phases.
Maintenance costs present a more complex picture. While autonomous systems require specialized technical support and periodic software updates, they simultaneously reduce wear-related failures through optimized operation. The net maintenance expenditure typically balances to similar levels as traditional labs, though distributed differently across mechanical, electronic, and software components.
Risk mitigation represents a less quantifiable but equally important economic factor. Autonomous systems dramatically reduce experimental failures due to human error, which industry data suggests accounts for 20-30% of failed procedures in traditional labs. This reliability translates to significant savings in repeated experiments, wasted materials, and delayed research timelines.
Return on investment calculations indicate that most comprehensive lab automation systems achieve financial break-even within 2.5-4 years, depending on utilization rates and specific application domains. This timeline has shortened considerably over the past decade as technology costs decrease while capability increases, suggesting an increasingly favorable economic proposition for automation adoption.
Data Management and Integration Challenges
The integration of data management systems represents one of the most significant challenges in the transition from traditional laboratories to autonomous lab environments. Traditional labs typically operate with siloed data systems where information is manually recorded, stored in disparate formats, and often lacks standardization. This fragmentation creates significant barriers when attempting to implement autonomous systems that require seamless data flow across multiple instruments, processes, and analytical platforms.
Autonomous lab systems generate substantially larger volumes of data compared to their traditional counterparts, often by orders of magnitude. This exponential increase stems from continuous monitoring, high-throughput experimentation, and the integration of multiple data streams from various instruments. The velocity, variety, and volume of this data present unprecedented storage and processing challenges that conventional laboratory information management systems (LIMS) are ill-equipped to handle.
Data interoperability remains a critical hurdle in autonomous lab implementation. The diversity of proprietary data formats from different instrument manufacturers creates significant integration challenges. While traditional labs could function with these disconnected systems through manual data transfer, autonomous environments require standardized data exchange protocols and unified data models to enable real-time decision-making and process optimization.
Security and compliance considerations introduce additional complexity to data management in autonomous labs. As these systems increasingly rely on cloud infrastructure and remote access capabilities, ensuring data integrity, confidentiality, and regulatory compliance becomes more challenging. Traditional labs with physical access controls and air-gapped systems face fewer security vulnerabilities but sacrifice the flexibility and scalability that autonomous labs require.
The implementation of machine learning and AI capabilities in autonomous labs further complicates data management requirements. These advanced analytical tools demand high-quality, well-structured data to function effectively. Traditional labs often struggle with data quality issues including inconsistent metadata, missing values, and lack of contextual information—problems that must be systematically addressed when transitioning to autonomous operations.
Integration with external data sources represents another significant challenge. Autonomous labs benefit tremendously from incorporating external scientific databases, literature, and collaborative data sets, yet establishing these connections while maintaining data provenance and quality control introduces substantial technical hurdles that traditional labs rarely encounter.
Autonomous lab systems generate substantially larger volumes of data compared to their traditional counterparts, often by orders of magnitude. This exponential increase stems from continuous monitoring, high-throughput experimentation, and the integration of multiple data streams from various instruments. The velocity, variety, and volume of this data present unprecedented storage and processing challenges that conventional laboratory information management systems (LIMS) are ill-equipped to handle.
Data interoperability remains a critical hurdle in autonomous lab implementation. The diversity of proprietary data formats from different instrument manufacturers creates significant integration challenges. While traditional labs could function with these disconnected systems through manual data transfer, autonomous environments require standardized data exchange protocols and unified data models to enable real-time decision-making and process optimization.
Security and compliance considerations introduce additional complexity to data management in autonomous labs. As these systems increasingly rely on cloud infrastructure and remote access capabilities, ensuring data integrity, confidentiality, and regulatory compliance becomes more challenging. Traditional labs with physical access controls and air-gapped systems face fewer security vulnerabilities but sacrifice the flexibility and scalability that autonomous labs require.
The implementation of machine learning and AI capabilities in autonomous labs further complicates data management requirements. These advanced analytical tools demand high-quality, well-structured data to function effectively. Traditional labs often struggle with data quality issues including inconsistent metadata, missing values, and lack of contextual information—problems that must be systematically addressed when transitioning to autonomous operations.
Integration with external data sources represents another significant challenge. Autonomous labs benefit tremendously from incorporating external scientific databases, literature, and collaborative data sets, yet establishing these connections while maintaining data provenance and quality control introduces substantial technical hurdles that traditional labs rarely encounter.
 Unlock deeper insights with  Patsnap Eureka Quick Research — get a full tech report to explore trends and direct your research. Try now! 
 Generate Your Research Report Instantly with AI Agent 
 Supercharge your innovation with Patsnap Eureka AI Agent Platform! 







