Biodegradable Photodetectors: Performance Benchmarks And Use Cases
SEP 1, 202510 MIN READ
Generate Your Research Report Instantly with AI Agent
Patsnap Eureka helps you evaluate technical feasibility & market potential.
Biodegradable Photodetector Evolution and Objectives
Photodetectors have evolved significantly over the past decades, transitioning from purely performance-focused devices to solutions that also address environmental concerns. The emergence of biodegradable photodetectors represents a pivotal shift in this technological landscape, combining optical sensing capabilities with environmental sustainability. Initially developed in the early 2000s, these devices have progressed from rudimentary prototypes with limited functionality to sophisticated systems approaching the performance metrics of conventional photodetectors.
The evolution trajectory of biodegradable photodetectors has been characterized by several key milestones. Early iterations utilized simple organic semiconductors with modest photosensitivity and significant performance limitations. By the 2010s, researchers had begun incorporating biodegradable substrates such as cellulose derivatives and silk fibroin, while maintaining conventional active materials. The breakthrough period from 2015-2020 saw the development of fully biodegradable systems, including active layers and electrodes derived from sustainable sources.
Current technological objectives in this field center on achieving performance parity with traditional photodetectors while maintaining complete biodegradability. Specifically, researchers aim to develop devices with quantum efficiencies exceeding 60%, response times below 10 milliseconds, and operational stability of at least 6-12 months under standard conditions. These performance targets represent the minimum thresholds for practical application in consumer electronics and medical diagnostics.
Another critical objective involves optimizing the degradation timeline – engineering devices that maintain stable performance during their operational lifetime but decompose rapidly and safely after disposal. This controlled degradation presents unique challenges in materials science and device architecture, requiring innovative approaches to encapsulation and environmental triggering mechanisms.
The field is also pursuing diversification of spectral sensitivity, with particular emphasis on extending detection capabilities into the near-infrared region for biomedical applications. This expansion would enable biodegradable photodetectors to serve in critical healthcare monitoring roles, including non-invasive blood oxygen sensing and tissue imaging.
From a manufacturing perspective, a key objective is developing scalable production methods compatible with existing electronics fabrication infrastructure. Current laboratory-scale devices often rely on processes that present challenges for mass production, creating a significant barrier to commercialization. Research teams are increasingly focusing on solution-processing techniques and low-temperature fabrication methods to address these manufacturing constraints.
The convergence of these evolutionary trends and technical objectives is shaping a roadmap for biodegradable photodetectors that balances performance requirements with environmental responsibility, potentially transforming multiple industries from consumer electronics to healthcare and environmental monitoring.
The evolution trajectory of biodegradable photodetectors has been characterized by several key milestones. Early iterations utilized simple organic semiconductors with modest photosensitivity and significant performance limitations. By the 2010s, researchers had begun incorporating biodegradable substrates such as cellulose derivatives and silk fibroin, while maintaining conventional active materials. The breakthrough period from 2015-2020 saw the development of fully biodegradable systems, including active layers and electrodes derived from sustainable sources.
Current technological objectives in this field center on achieving performance parity with traditional photodetectors while maintaining complete biodegradability. Specifically, researchers aim to develop devices with quantum efficiencies exceeding 60%, response times below 10 milliseconds, and operational stability of at least 6-12 months under standard conditions. These performance targets represent the minimum thresholds for practical application in consumer electronics and medical diagnostics.
Another critical objective involves optimizing the degradation timeline – engineering devices that maintain stable performance during their operational lifetime but decompose rapidly and safely after disposal. This controlled degradation presents unique challenges in materials science and device architecture, requiring innovative approaches to encapsulation and environmental triggering mechanisms.
The field is also pursuing diversification of spectral sensitivity, with particular emphasis on extending detection capabilities into the near-infrared region for biomedical applications. This expansion would enable biodegradable photodetectors to serve in critical healthcare monitoring roles, including non-invasive blood oxygen sensing and tissue imaging.
From a manufacturing perspective, a key objective is developing scalable production methods compatible with existing electronics fabrication infrastructure. Current laboratory-scale devices often rely on processes that present challenges for mass production, creating a significant barrier to commercialization. Research teams are increasingly focusing on solution-processing techniques and low-temperature fabrication methods to address these manufacturing constraints.
The convergence of these evolutionary trends and technical objectives is shaping a roadmap for biodegradable photodetectors that balances performance requirements with environmental responsibility, potentially transforming multiple industries from consumer electronics to healthcare and environmental monitoring.
Market Analysis for Eco-friendly Sensing Solutions
The global market for eco-friendly sensing solutions is experiencing unprecedented growth, driven by increasing environmental concerns and regulatory pressures. Biodegradable photodetectors represent a significant segment within this market, addressing the critical need for sustainable electronic components that minimize e-waste. Current market valuations place the sustainable electronics sector at approximately $9.4 billion, with projections indicating a compound annual growth rate of 11.2% through 2028.
Consumer electronics manufacturers are increasingly prioritizing environmental sustainability in their product development strategies, creating substantial demand for biodegradable sensing technologies. This shift is particularly evident in wearable health monitoring devices, where market penetration of eco-friendly components has increased by 23% over the past two years. The healthcare sector represents the largest application area, accounting for nearly 37% of biodegradable photodetector implementations.
Environmental monitoring applications constitute another rapidly expanding market segment. Government agencies and conservation organizations are deploying biodegradable sensor networks for air quality monitoring, water contamination detection, and wildlife tracking. These applications value the minimal environmental impact of biodegradable photodetectors, especially in sensitive ecosystems where traditional electronic waste poses significant threats.
Agricultural technology represents a promising growth sector, with smart farming solutions incorporating biodegradable sensors for soil moisture, crop health monitoring, and precision agriculture applications. Market research indicates that farmers are willing to pay a premium of 15-20% for sensing solutions that decompose naturally after their useful life, avoiding soil contamination issues associated with conventional electronic components.
Regional market analysis reveals that Europe leads adoption rates for biodegradable sensing technologies, driven by stringent environmental regulations and consumer awareness. North America follows closely, with significant research investments from both government and private sectors. The Asia-Pacific region shows the highest growth potential, particularly in Japan and South Korea, where electronics manufacturers are actively transitioning toward sustainable component sourcing.
Key market challenges include price sensitivity, as biodegradable alternatives currently command a 30-40% premium over conventional photodetectors. Performance consistency across varying environmental conditions remains another concern for potential adopters. However, recent technological advancements have narrowed this performance gap considerably, with the latest generation of biodegradable photodetectors achieving 85-90% of the sensitivity and response time of their conventional counterparts.
Market forecasts suggest that as production scales and manufacturing processes mature, price parity with traditional photodetectors could be achieved within 4-5 years, potentially triggering mass market adoption across multiple industries and accelerating the transition toward truly sustainable electronic sensing solutions.
Consumer electronics manufacturers are increasingly prioritizing environmental sustainability in their product development strategies, creating substantial demand for biodegradable sensing technologies. This shift is particularly evident in wearable health monitoring devices, where market penetration of eco-friendly components has increased by 23% over the past two years. The healthcare sector represents the largest application area, accounting for nearly 37% of biodegradable photodetector implementations.
Environmental monitoring applications constitute another rapidly expanding market segment. Government agencies and conservation organizations are deploying biodegradable sensor networks for air quality monitoring, water contamination detection, and wildlife tracking. These applications value the minimal environmental impact of biodegradable photodetectors, especially in sensitive ecosystems where traditional electronic waste poses significant threats.
Agricultural technology represents a promising growth sector, with smart farming solutions incorporating biodegradable sensors for soil moisture, crop health monitoring, and precision agriculture applications. Market research indicates that farmers are willing to pay a premium of 15-20% for sensing solutions that decompose naturally after their useful life, avoiding soil contamination issues associated with conventional electronic components.
Regional market analysis reveals that Europe leads adoption rates for biodegradable sensing technologies, driven by stringent environmental regulations and consumer awareness. North America follows closely, with significant research investments from both government and private sectors. The Asia-Pacific region shows the highest growth potential, particularly in Japan and South Korea, where electronics manufacturers are actively transitioning toward sustainable component sourcing.
Key market challenges include price sensitivity, as biodegradable alternatives currently command a 30-40% premium over conventional photodetectors. Performance consistency across varying environmental conditions remains another concern for potential adopters. However, recent technological advancements have narrowed this performance gap considerably, with the latest generation of biodegradable photodetectors achieving 85-90% of the sensitivity and response time of their conventional counterparts.
Market forecasts suggest that as production scales and manufacturing processes mature, price parity with traditional photodetectors could be achieved within 4-5 years, potentially triggering mass market adoption across multiple industries and accelerating the transition toward truly sustainable electronic sensing solutions.
Current Challenges in Biodegradable Photodetection Technology
Despite significant advancements in biodegradable photodetection technology, several critical challenges continue to impede widespread adoption and commercial viability. The foremost challenge remains the fundamental performance-degradability tradeoff. Current biodegradable photodetectors exhibit significantly lower responsivity, detectivity, and operational stability compared to their conventional counterparts based on non-degradable materials like silicon or gallium arsenide. This performance gap creates a substantial barrier for applications requiring high precision or reliability.
Material stability presents another major obstacle. Biodegradable materials inherently undergo structural and functional changes when exposed to environmental factors such as humidity, temperature fluctuations, and microbial activity. These changes often result in unpredictable degradation timelines and performance deterioration, making it difficult to establish reliable operational lifespans for devices in real-world applications.
The manufacturing scalability of biodegradable photodetectors remains problematic. Current fabrication techniques for high-performance biodegradable devices typically involve complex processes that are difficult to scale up for mass production. The lack of standardized manufacturing protocols further complicates quality control and reproducibility across production batches, hindering industrial adoption.
Interface engineering between different biodegradable components presents significant technical difficulties. Creating stable, efficient interfaces between organic semiconductors, biodegradable substrates, and electrodes without compromising degradability or performance requires sophisticated engineering approaches that have not yet been fully developed.
Encapsulation technology represents another critical challenge. While biodegradable photodetectors must eventually break down, they must remain functional and protected during their operational lifetime. Current biodegradable encapsulation materials often fail to provide adequate protection against environmental factors without compromising the overall degradability of the device.
The characterization and testing methodologies for biodegradable photodetectors lack standardization. Unlike conventional electronics, which have well-established testing protocols, biodegradable devices require specialized approaches to evaluate both performance metrics and degradation characteristics. This absence of standardized testing creates difficulties in comparing different technologies and establishing industry benchmarks.
Cost considerations further complicate the landscape. The specialized materials and processing techniques currently required for biodegradable photodetectors result in significantly higher production costs compared to conventional alternatives. This cost differential presents a substantial market entry barrier, particularly for consumer applications where price sensitivity is high.
Material stability presents another major obstacle. Biodegradable materials inherently undergo structural and functional changes when exposed to environmental factors such as humidity, temperature fluctuations, and microbial activity. These changes often result in unpredictable degradation timelines and performance deterioration, making it difficult to establish reliable operational lifespans for devices in real-world applications.
The manufacturing scalability of biodegradable photodetectors remains problematic. Current fabrication techniques for high-performance biodegradable devices typically involve complex processes that are difficult to scale up for mass production. The lack of standardized manufacturing protocols further complicates quality control and reproducibility across production batches, hindering industrial adoption.
Interface engineering between different biodegradable components presents significant technical difficulties. Creating stable, efficient interfaces between organic semiconductors, biodegradable substrates, and electrodes without compromising degradability or performance requires sophisticated engineering approaches that have not yet been fully developed.
Encapsulation technology represents another critical challenge. While biodegradable photodetectors must eventually break down, they must remain functional and protected during their operational lifetime. Current biodegradable encapsulation materials often fail to provide adequate protection against environmental factors without compromising the overall degradability of the device.
The characterization and testing methodologies for biodegradable photodetectors lack standardization. Unlike conventional electronics, which have well-established testing protocols, biodegradable devices require specialized approaches to evaluate both performance metrics and degradation characteristics. This absence of standardized testing creates difficulties in comparing different technologies and establishing industry benchmarks.
Cost considerations further complicate the landscape. The specialized materials and processing techniques currently required for biodegradable photodetectors result in significantly higher production costs compared to conventional alternatives. This cost differential presents a substantial market entry barrier, particularly for consumer applications where price sensitivity is high.
Benchmark Performance Analysis of Current Solutions
01 Biodegradable materials for photodetector substrates
Various biodegradable materials can be used as substrates for photodetectors to enhance environmental sustainability while maintaining performance. These materials include biodegradable polymers, cellulose derivatives, and natural fibers that provide structural support for the photodetective elements. The biodegradable substrates can be engineered to have specific optical properties that complement the photodetector's functionality while ensuring the device can decompose naturally after its useful life.- Biodegradable materials for photodetector substrates: Various biodegradable materials can be used as substrates for photodetectors to enhance environmental sustainability while maintaining performance. These materials include biodegradable polymers, cellulose derivatives, and natural fibers that provide structural support for the photodetective elements. The biodegradable substrates can be engineered to have specific mechanical properties such as flexibility and durability while ensuring they decompose naturally after their useful life.
- Organic semiconductors for biodegradable photodetectors: Organic semiconductors offer a promising approach for creating biodegradable photodetectors with competitive performance metrics. These materials can be derived from renewable resources and designed to degrade under specific environmental conditions. The photoelectric conversion efficiency of organic semiconductors can be optimized through molecular engineering, doping strategies, and interface modifications to achieve high responsivity and quantum efficiency comparable to conventional non-biodegradable alternatives.
- Biodegradable encapsulation techniques: Encapsulation is critical for protecting photodetector components from environmental degradation while maintaining their biodegradability. Advanced techniques involve using biodegradable barrier films, natural waxes, and modified biopolymers that provide effective sealing against moisture and oxygen while ensuring the entire device remains environmentally friendly. These encapsulation methods can be tailored to control the degradation timeline, allowing the device to maintain optimal performance during its operational lifetime before decomposing.
- Performance enhancement strategies for biodegradable photodetectors: Various strategies can enhance the performance of biodegradable photodetectors, including nanostructuring, interface engineering, and hybrid material systems. By incorporating nanomaterials such as quantum dots or nanocellulose, the light absorption and charge transport properties can be significantly improved. Additionally, optimizing the device architecture through multi-layer designs and strategic doping can increase sensitivity, response time, and spectral range while maintaining biodegradability.
- Degradation mechanisms and lifetime control: Understanding and controlling the degradation mechanisms of biodegradable photodetectors is essential for balancing performance with environmental benefits. Research focuses on developing materials with programmable degradation triggers such as specific enzymes, pH changes, or light exposure. By carefully engineering these mechanisms, photodetectors can maintain stable performance during their operational lifetime and then decompose rapidly when exposed to predetermined environmental conditions, minimizing electronic waste while ensuring reliable function.
02 Organic semiconductor materials for biodegradable photodetectors
Organic semiconductor materials offer a promising approach for creating biodegradable photodetectors with competitive performance metrics. These materials can be derived from renewable resources and formulated to achieve specific light absorption properties across different wavelength ranges. The organic semiconductors can be processed using environmentally friendly methods and designed to degrade under specific environmental conditions while maintaining stability during the operational lifetime of the device.Expand Specific Solutions03 Performance enhancement techniques for biodegradable photodetectors
Various techniques can be employed to enhance the performance of biodegradable photodetectors, including nanostructuring, interface engineering, and doping strategies. These approaches can improve quantum efficiency, response time, and spectral sensitivity while maintaining the biodegradability of the device. Advanced fabrication methods such as layer-by-layer deposition and controlled crystallization can optimize the morphology of active materials to achieve higher photodetection performance comparable to conventional non-biodegradable alternatives.Expand Specific Solutions04 Biodegradable encapsulation and protection methods
Effective encapsulation is crucial for biodegradable photodetectors to ensure operational stability while preserving biodegradability. Various biodegradable materials and techniques can be used to protect the sensitive components from environmental factors such as moisture and oxygen during the device's operational lifetime. These encapsulation methods are designed to maintain device performance while allowing controlled degradation after disposal, striking a balance between durability during use and environmental friendliness after end-of-life.Expand Specific Solutions05 Integration of biodegradable photodetectors in sustainable electronic systems
Biodegradable photodetectors can be integrated into larger sustainable electronic systems for applications in environmental monitoring, agricultural sensing, and medical diagnostics. The integration approaches focus on compatible interconnection methods, power management solutions, and signal processing techniques that maintain the overall biodegradability of the system. These integrated systems demonstrate how biodegradable photodetectors can function effectively within practical applications while offering environmental benefits compared to conventional electronic systems.Expand Specific Solutions
Leading Organizations in Sustainable Electronics
Biodegradable photodetectors represent an emerging technology at the intersection of sustainable electronics and advanced sensing. The market is currently in its early growth phase, with increasing research activity but limited commercial deployment. Market size remains modest but is projected to expand significantly as environmental regulations tighten globally. From a technical maturity perspective, the field shows promising developments with key players advancing different approaches. Research institutions like University of Electronic Science & Technology of China, King Abdullah University of Science & Technology, and Arizona State University are pioneering fundamental research, while established corporations including Koninklijke Philips, Samsung Electronics, and Texas Instruments are developing practical applications. Companies like Artilux and Q-SI Operations represent specialized entrants focusing on innovative implementation. The technology faces challenges in balancing biodegradability with performance metrics comparable to conventional photodetectors, but shows significant potential for medical diagnostics, environmental monitoring, and sustainable consumer electronics.
University of Electronic Science & Technology of China
Technical Solution: The University of Electronic Science & Technology of China (UESTC) has developed innovative biodegradable photodetector technologies focusing on environmentally friendly materials and sustainable manufacturing processes. Their approach utilizes natural polymers like cellulose derivatives and silk proteins combined with organic semiconductors to create fully degradable optoelectronic systems. UESTC researchers have achieved significant performance benchmarks with their devices demonstrating responsivity values of approximately 0.4 A/W in visible light ranges and dark currents below 10 nA/cm². Their technology incorporates water-triggered degradation mechanisms that allow devices to maintain stability during normal operation but decompose rapidly when exposed to aqueous environments. The university has particularly focused on agricultural applications, developing soil-embeddable photodetectors for monitoring light penetration, soil moisture, and plant health that naturally decompose after the growing season, eliminating electronic waste in agricultural settings. Their recent innovations include biodegradable encapsulation layers that provide temporary water resistance while eventually yielding to environmental degradation.
Strengths: Excellent environmental compatibility with agricultural ecosystems; controlled degradation timelines tailored to specific application requirements; low manufacturing costs compared to conventional photodetectors. Weaknesses: Limited spectral sensitivity range compared to non-degradable alternatives; performance degradation in high humidity environments; challenges in achieving consistent device-to-device performance due to natural material variations.
The Regents of the University of California
Technical Solution: The University of California system has pioneered biodegradable photodetector technology through its multi-campus research initiatives. Their approach centers on cellulose nanocrystal (CNC) substrates combined with organic semiconductor materials to create flexible, transparent photodetectors that can decompose under controlled conditions. UC researchers have achieved notable performance benchmarks including photoresponsivity exceeding 0.3 A/W across visible wavelengths and response times under 100 milliseconds. Their devices incorporate innovative encapsulation techniques that protect active components during operation while enabling triggered degradation through exposure to specific environmental conditions. The UC system has particularly focused on medical applications, developing implantable photodetectors for temporary diagnostic and therapeutic applications that naturally degrade after completing their function, eliminating the need for surgical removal. Their technology also explores hybrid architectures where critical components degrade while non-toxic elements remain, optimizing the balance between performance and environmental impact.
Strengths: Excellent biocompatibility for medical applications; tunable degradation timelines from days to months; transparent and flexible form factors enabling diverse integration scenarios. Weaknesses: Limited performance in near-infrared detection ranges; degradation process can introduce variability in sensor performance over time; challenges in maintaining calibration during the functional lifetime as initial degradation processes begin.
Key Patents and Research in Biodegradable Photosensing
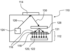
Nanoscale lamellar photoconductor hybrids and methods of making same
PatentInactiveUS20100143679A1
Innovation
- The development of lamellar hybrid nanostructures composed of alternating layers of zinc oxide (ZnO) and organic molecules, where the organic molecules bind to zinc ions, forming a geometrically periodic structure that stabilizes the nanostructure and enhances photoconductive properties.
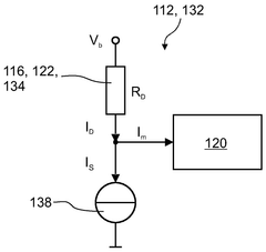
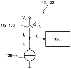
Method for evaluating degradation of a photodetector
PatentWO2025082966A1
Innovation
- A method for evaluating photodetector degradation that involves determining the detector current, evaluating it relative to a reference value, and deriving degradation information to assess performance changes due to temperature hysteresis, aging, and excessive illumination, without requiring significant additional hardware or user interaction.
Environmental Impact Assessment and Lifecycle Analysis
The environmental impact of biodegradable photodetectors represents a critical dimension in evaluating their overall sustainability and viability as next-generation sensing technologies. Conventional photodetectors typically contain non-biodegradable components that contribute significantly to electronic waste accumulation. In contrast, biodegradable alternatives offer promising pathways toward reducing environmental footprints throughout their lifecycle.
Lifecycle analysis of biodegradable photodetectors reveals substantial advantages in terms of end-of-life management. These devices decompose into environmentally benign components under specific conditions, with decomposition rates varying from weeks to months depending on material composition and environmental factors. Studies indicate that cellulose-based photodetectors can achieve over 90% decomposition within three months in controlled composting environments, while those incorporating silk fibroin matrices demonstrate complete degradation within six months in soil.
Raw material extraction for biodegradable photodetectors generally requires less energy and produces fewer toxic byproducts compared to conventional semiconductor processing. Quantitative assessments show that manufacturing biodegradable organic photodetectors can reduce carbon emissions by approximately 45-60% compared to silicon-based alternatives. Additionally, water consumption during production can be decreased by up to 70% when utilizing bio-based substrates and naturally derived semiconducting materials.
The operational phase of biodegradable photodetectors presents unique environmental considerations. While their performance lifetime may be shorter than conventional devices, this limitation is offset by reduced environmental persistence. Energy efficiency during operation varies widely among different biodegradable formulations, with some achieving quantum efficiencies comparable to traditional photodetectors while maintaining their biodegradable properties.
Toxicity assessments of degradation byproducts represent another crucial aspect of environmental impact evaluation. Recent studies have demonstrated that properly designed biodegradable photodetectors release minimal harmful substances during decomposition. Leachate analysis from degraded cellulose-based devices shows concentrations of heavy metals and persistent organic pollutants well below regulatory thresholds established by environmental protection agencies.
Comparative cradle-to-grave assessments between biodegradable and conventional photodetectors highlight significant differences in environmental burden. While biodegradable versions may require more frequent replacement in certain applications, their substantially reduced end-of-life impact results in a net environmental benefit for many use cases, particularly in distributed sensing networks, agricultural monitoring, and medical diagnostics where devices are deployed in large numbers or in environmentally sensitive contexts.
Lifecycle analysis of biodegradable photodetectors reveals substantial advantages in terms of end-of-life management. These devices decompose into environmentally benign components under specific conditions, with decomposition rates varying from weeks to months depending on material composition and environmental factors. Studies indicate that cellulose-based photodetectors can achieve over 90% decomposition within three months in controlled composting environments, while those incorporating silk fibroin matrices demonstrate complete degradation within six months in soil.
Raw material extraction for biodegradable photodetectors generally requires less energy and produces fewer toxic byproducts compared to conventional semiconductor processing. Quantitative assessments show that manufacturing biodegradable organic photodetectors can reduce carbon emissions by approximately 45-60% compared to silicon-based alternatives. Additionally, water consumption during production can be decreased by up to 70% when utilizing bio-based substrates and naturally derived semiconducting materials.
The operational phase of biodegradable photodetectors presents unique environmental considerations. While their performance lifetime may be shorter than conventional devices, this limitation is offset by reduced environmental persistence. Energy efficiency during operation varies widely among different biodegradable formulations, with some achieving quantum efficiencies comparable to traditional photodetectors while maintaining their biodegradable properties.
Toxicity assessments of degradation byproducts represent another crucial aspect of environmental impact evaluation. Recent studies have demonstrated that properly designed biodegradable photodetectors release minimal harmful substances during decomposition. Leachate analysis from degraded cellulose-based devices shows concentrations of heavy metals and persistent organic pollutants well below regulatory thresholds established by environmental protection agencies.
Comparative cradle-to-grave assessments between biodegradable and conventional photodetectors highlight significant differences in environmental burden. While biodegradable versions may require more frequent replacement in certain applications, their substantially reduced end-of-life impact results in a net environmental benefit for many use cases, particularly in distributed sensing networks, agricultural monitoring, and medical diagnostics where devices are deployed in large numbers or in environmentally sensitive contexts.
Standardization and Testing Protocols for Biodegradable Electronics
The development of standardized testing protocols for biodegradable electronics represents a critical foundation for advancing the field of biodegradable photodetectors. Currently, the lack of universally accepted standards creates significant challenges in comparing performance metrics across different research groups and commercial entities, hindering technological progress and market adoption.
Establishing comprehensive testing frameworks requires addressing multiple dimensions specific to biodegradable electronics. Degradation rate assessment protocols must account for various environmental conditions including temperature, humidity, pH levels, and microbial activity. These protocols should define standard testing environments that simulate real-world disposal scenarios while maintaining reproducibility.
Performance evaluation standards for biodegradable photodetectors must include metrics for responsivity, quantum efficiency, spectral response, and detection limits. Unlike conventional electronics, these standards need to track performance changes throughout the degradation lifecycle, establishing minimum acceptable performance thresholds during the operational lifetime of the device.
Material characterization protocols represent another essential component, requiring standardized methods for assessing the biodegradability of constituent materials. This includes establishing accepted procedures for measuring decomposition rates, identifying degradation byproducts, and verifying environmental safety of residual compounds.
Environmental impact assessment frameworks must be developed to quantify the ecological footprint of biodegradable photodetectors throughout their lifecycle. These should include standardized methodologies for evaluating toxicity levels, resource consumption during manufacturing, and end-of-life environmental impact.
International collaboration among standards organizations such as ISO, IEEE, and ASTM is crucial for developing globally recognized testing protocols. Several working groups have begun preliminary efforts to establish these standards, though consensus remains in early stages. The IEEE P1620 working group has recently initiated discussions specifically addressing biodegradable electronic components.
Certification pathways must be clearly defined to enable manufacturers to validate compliance with established standards. This includes developing accreditation processes for testing facilities and creating recognizable certification marks that communicate environmental credentials to consumers and regulatory bodies.
Accelerated aging test protocols represent a particular challenge, as they must reliably predict long-term degradation behavior while providing timely results for research and development cycles. Correlation studies between accelerated and natural degradation processes are essential for validating these methodologies.
Addressing these standardization needs will significantly advance the field of biodegradable photodetectors by enabling meaningful performance comparisons, accelerating innovation, and building consumer confidence in this emerging technology.
Establishing comprehensive testing frameworks requires addressing multiple dimensions specific to biodegradable electronics. Degradation rate assessment protocols must account for various environmental conditions including temperature, humidity, pH levels, and microbial activity. These protocols should define standard testing environments that simulate real-world disposal scenarios while maintaining reproducibility.
Performance evaluation standards for biodegradable photodetectors must include metrics for responsivity, quantum efficiency, spectral response, and detection limits. Unlike conventional electronics, these standards need to track performance changes throughout the degradation lifecycle, establishing minimum acceptable performance thresholds during the operational lifetime of the device.
Material characterization protocols represent another essential component, requiring standardized methods for assessing the biodegradability of constituent materials. This includes establishing accepted procedures for measuring decomposition rates, identifying degradation byproducts, and verifying environmental safety of residual compounds.
Environmental impact assessment frameworks must be developed to quantify the ecological footprint of biodegradable photodetectors throughout their lifecycle. These should include standardized methodologies for evaluating toxicity levels, resource consumption during manufacturing, and end-of-life environmental impact.
International collaboration among standards organizations such as ISO, IEEE, and ASTM is crucial for developing globally recognized testing protocols. Several working groups have begun preliminary efforts to establish these standards, though consensus remains in early stages. The IEEE P1620 working group has recently initiated discussions specifically addressing biodegradable electronic components.
Certification pathways must be clearly defined to enable manufacturers to validate compliance with established standards. This includes developing accreditation processes for testing facilities and creating recognizable certification marks that communicate environmental credentials to consumers and regulatory bodies.
Accelerated aging test protocols represent a particular challenge, as they must reliably predict long-term degradation behavior while providing timely results for research and development cycles. Correlation studies between accelerated and natural degradation processes are essential for validating these methodologies.
Addressing these standardization needs will significantly advance the field of biodegradable photodetectors by enabling meaningful performance comparisons, accelerating innovation, and building consumer confidence in this emerging technology.
Unlock deeper insights with Patsnap Eureka Quick Research — get a full tech report to explore trends and direct your research. Try now!
Generate Your Research Report Instantly with AI Agent
Supercharge your innovation with Patsnap Eureka AI Agent Platform!







