DDR5 vs LPDDR4: Mobile Device Performance Analysis
SEP 17, 20259 MIN READ
Generate Your Research Report Instantly with AI Agent
Patsnap Eureka helps you evaluate technical feasibility & market potential.
Memory Evolution and Performance Objectives
Memory technology has undergone significant evolution over the past decades, transitioning from DDR to DDR2, DDR3, DDR4, and now DDR5, with parallel development of low-power variants (LPDDR) specifically designed for mobile applications. This evolution has been driven by increasing demands for higher bandwidth, lower power consumption, and improved performance in increasingly compact devices. The mobile sector particularly has pushed memory technology to balance the competing requirements of performance and energy efficiency.
LPDDR4, introduced in 2014, represented a major advancement in mobile memory technology with data rates up to 4266 MT/s and significant power efficiency improvements over LPDDR3. It achieved this through features like low voltage operation (1.1V) and power-saving innovations like partial array self-refresh. These characteristics made LPDDR4 the standard choice for high-performance smartphones and tablets throughout the mid to late 2010s.
DDR5, released commercially in 2021, brings substantial improvements with data rates starting at 4800 MT/s and a roadmap extending to 8400 MT/s. While primarily designed for server and desktop applications, its architecture introduces innovations potentially valuable for mobile computing, including dual-channel architecture on a single module and improved power management through voltage regulation moved onto the memory module itself.
The performance objectives for modern mobile device memory systems center around four critical parameters: bandwidth, latency, power efficiency, and density. Bandwidth requirements continue to increase with the proliferation of data-intensive applications like AI processing, high-resolution gaming, and 4K/8K video capture. Latency remains crucial for responsive user experiences, particularly in interactive applications.
Power efficiency stands as perhaps the most critical objective for mobile implementations, as battery life continues to be a primary concern for consumers. Memory operations can account for 20-30% of a mobile device's power consumption, making efficiency gains in this area particularly impactful. Density improvements enable greater capacity in the same physical footprint, supporting more complex applications and multitasking capabilities.
The technical challenge lies in determining whether DDR5's performance advantages outweigh its potentially higher power consumption in mobile contexts, or if the specialized optimizations in LPDDR4 (and its successor LPDDR5) make it the superior choice despite lower peak bandwidth. This analysis must consider not just raw specifications but real-world performance across diverse mobile workloads and usage patterns.
LPDDR4, introduced in 2014, represented a major advancement in mobile memory technology with data rates up to 4266 MT/s and significant power efficiency improvements over LPDDR3. It achieved this through features like low voltage operation (1.1V) and power-saving innovations like partial array self-refresh. These characteristics made LPDDR4 the standard choice for high-performance smartphones and tablets throughout the mid to late 2010s.
DDR5, released commercially in 2021, brings substantial improvements with data rates starting at 4800 MT/s and a roadmap extending to 8400 MT/s. While primarily designed for server and desktop applications, its architecture introduces innovations potentially valuable for mobile computing, including dual-channel architecture on a single module and improved power management through voltage regulation moved onto the memory module itself.
The performance objectives for modern mobile device memory systems center around four critical parameters: bandwidth, latency, power efficiency, and density. Bandwidth requirements continue to increase with the proliferation of data-intensive applications like AI processing, high-resolution gaming, and 4K/8K video capture. Latency remains crucial for responsive user experiences, particularly in interactive applications.
Power efficiency stands as perhaps the most critical objective for mobile implementations, as battery life continues to be a primary concern for consumers. Memory operations can account for 20-30% of a mobile device's power consumption, making efficiency gains in this area particularly impactful. Density improvements enable greater capacity in the same physical footprint, supporting more complex applications and multitasking capabilities.
The technical challenge lies in determining whether DDR5's performance advantages outweigh its potentially higher power consumption in mobile contexts, or if the specialized optimizations in LPDDR4 (and its successor LPDDR5) make it the superior choice despite lower peak bandwidth. This analysis must consider not just raw specifications but real-world performance across diverse mobile workloads and usage patterns.
Mobile Market Demand for Advanced Memory Solutions
The mobile device market has witnessed an unprecedented surge in demand for advanced memory solutions, driven primarily by the evolution of smartphones and tablets into powerful computing devices. As of 2023, global smartphone shipments exceed 1.3 billion units annually, with premium devices increasingly requiring sophisticated memory architectures to support complex applications and multitasking capabilities. This market trajectory has created significant pressure for memory technologies that can deliver enhanced performance while maintaining power efficiency.
Consumer expectations have shifted dramatically in recent years, with mobile users demanding desktop-like experiences on their portable devices. High-resolution gaming, 4K video recording, augmented reality applications, and AI-powered features have become standard requirements rather than luxury additions. These applications collectively demand memory solutions that can process large data volumes at high speeds while operating within the thermal and power constraints of mobile form factors.
The enterprise mobility segment presents another critical driver for advanced memory solutions. With remote work becoming normalized, mobile devices increasingly serve as primary productivity tools, running resource-intensive enterprise applications that traditionally operated on desktop environments. This shift has expanded the market for premium memory solutions beyond consumer-focused flagship devices to enterprise-oriented mobile products.
Battery life remains a paramount concern for mobile users, creating a complex balancing act between performance requirements and power efficiency. Market research indicates that 87% of smartphone users rank battery life among their top three purchase considerations, directly influencing memory technology selection in device design. This consumer priority has accelerated interest in memory solutions that can deliver performance improvements while reducing power consumption.
Regional market analysis reveals varying demands across different territories. Developed markets show stronger preference for devices with advanced memory specifications capable of supporting augmented reality and computational photography, while emerging markets prioritize memory solutions that optimize performance at competitive price points. This bifurcation has created distinct market segments with different technical requirements.
The increasing integration of AI capabilities into mobile devices represents another significant market driver. On-device AI processing requires memory architectures capable of handling neural network operations efficiently, creating demand for solutions with higher bandwidth and specialized optimization for machine learning workloads. Industry forecasts project that by 2025, over 70% of premium smartphones will feature dedicated AI processing capabilities, further accelerating the need for advanced memory solutions.
Consumer expectations have shifted dramatically in recent years, with mobile users demanding desktop-like experiences on their portable devices. High-resolution gaming, 4K video recording, augmented reality applications, and AI-powered features have become standard requirements rather than luxury additions. These applications collectively demand memory solutions that can process large data volumes at high speeds while operating within the thermal and power constraints of mobile form factors.
The enterprise mobility segment presents another critical driver for advanced memory solutions. With remote work becoming normalized, mobile devices increasingly serve as primary productivity tools, running resource-intensive enterprise applications that traditionally operated on desktop environments. This shift has expanded the market for premium memory solutions beyond consumer-focused flagship devices to enterprise-oriented mobile products.
Battery life remains a paramount concern for mobile users, creating a complex balancing act between performance requirements and power efficiency. Market research indicates that 87% of smartphone users rank battery life among their top three purchase considerations, directly influencing memory technology selection in device design. This consumer priority has accelerated interest in memory solutions that can deliver performance improvements while reducing power consumption.
Regional market analysis reveals varying demands across different territories. Developed markets show stronger preference for devices with advanced memory specifications capable of supporting augmented reality and computational photography, while emerging markets prioritize memory solutions that optimize performance at competitive price points. This bifurcation has created distinct market segments with different technical requirements.
The increasing integration of AI capabilities into mobile devices represents another significant market driver. On-device AI processing requires memory architectures capable of handling neural network operations efficiently, creating demand for solutions with higher bandwidth and specialized optimization for machine learning workloads. Industry forecasts project that by 2025, over 70% of premium smartphones will feature dedicated AI processing capabilities, further accelerating the need for advanced memory solutions.
DDR5 and LPDDR4 Technical Specifications and Limitations
DDR5 memory represents a significant advancement over previous generations, offering data rates of 4800-6400 MT/s compared to LPDDR4's 3200-4266 MT/s. This substantial increase in bandwidth directly translates to improved data processing capabilities in mobile devices, particularly beneficial for data-intensive applications like AI processing, high-resolution gaming, and multitasking scenarios.
The power efficiency profile of these technologies differs considerably. DDR5 operates at 1.1V, lower than DDR4's 1.2V but higher than LPDDR4's 1.05V. LPDDR4 maintains its advantage in power consumption with sophisticated power-saving features including deep power-down modes and per-bank refresh mechanisms specifically designed for battery-powered devices. These features enable LPDDR4 to achieve up to 40% better power efficiency in typical mobile workloads.
Capacity limitations present another critical differentiator. DDR5 supports significantly higher densities, with single modules capable of reaching 64GB compared to LPDDR4's typical maximum of 16GB per module. This capacity advantage becomes increasingly relevant as mobile applications demand larger memory footprints for complex computational tasks.
Latency characteristics reveal interesting trade-offs. While DDR5 offers higher bandwidth, it typically exhibits CAS latencies of 36-40 clock cycles, whereas LPDDR4 operates at 28-32 cycles. This latency difference can impact performance in latency-sensitive applications, potentially offsetting some of DDR5's raw bandwidth advantages in certain mobile use cases.
Physical form factor considerations heavily influence implementation decisions. LPDDR4 maintains a significant advantage with its compact package design, consuming approximately 50% less PCB space than standard DDR5 implementations. This space efficiency is crucial for modern mobile device designs where internal real estate is extremely limited.
Thermal characteristics present another challenge. DDR5 typically generates more heat during operation, requiring more robust thermal management solutions that may be impractical in thin mobile form factors. LPDDR4's lower thermal output aligns better with passive cooling approaches common in mobile devices.
Signal integrity requirements also differ substantially. DDR5 implements decision feedback equalization (DFE) and requires more sophisticated signal integrity management, potentially increasing implementation complexity in space-constrained mobile designs. LPDDR4's simpler signaling requirements offer advantages in design simplicity and manufacturing cost.
The power efficiency profile of these technologies differs considerably. DDR5 operates at 1.1V, lower than DDR4's 1.2V but higher than LPDDR4's 1.05V. LPDDR4 maintains its advantage in power consumption with sophisticated power-saving features including deep power-down modes and per-bank refresh mechanisms specifically designed for battery-powered devices. These features enable LPDDR4 to achieve up to 40% better power efficiency in typical mobile workloads.
Capacity limitations present another critical differentiator. DDR5 supports significantly higher densities, with single modules capable of reaching 64GB compared to LPDDR4's typical maximum of 16GB per module. This capacity advantage becomes increasingly relevant as mobile applications demand larger memory footprints for complex computational tasks.
Latency characteristics reveal interesting trade-offs. While DDR5 offers higher bandwidth, it typically exhibits CAS latencies of 36-40 clock cycles, whereas LPDDR4 operates at 28-32 cycles. This latency difference can impact performance in latency-sensitive applications, potentially offsetting some of DDR5's raw bandwidth advantages in certain mobile use cases.
Physical form factor considerations heavily influence implementation decisions. LPDDR4 maintains a significant advantage with its compact package design, consuming approximately 50% less PCB space than standard DDR5 implementations. This space efficiency is crucial for modern mobile device designs where internal real estate is extremely limited.
Thermal characteristics present another challenge. DDR5 typically generates more heat during operation, requiring more robust thermal management solutions that may be impractical in thin mobile form factors. LPDDR4's lower thermal output aligns better with passive cooling approaches common in mobile devices.
Signal integrity requirements also differ substantially. DDR5 implements decision feedback equalization (DFE) and requires more sophisticated signal integrity management, potentially increasing implementation complexity in space-constrained mobile designs. LPDDR4's simpler signaling requirements offer advantages in design simplicity and manufacturing cost.
Current Implementation Approaches in Mobile Devices
01 Performance comparison between DDR5 and LPDDR4
DDR5 memory technology offers significant performance improvements over LPDDR4, including higher data transfer rates, increased bandwidth, and improved power efficiency. DDR5 typically operates at higher frequencies and provides better overall system performance for demanding applications. LPDDR4, while less powerful than DDR5, is optimized for mobile devices where power consumption is a critical factor. The performance differences between these technologies are important considerations for system designers when selecting memory solutions for specific applications.- Performance comparison between DDR5 and LPDDR4: DDR5 offers significant performance improvements over LPDDR4 memory technologies, including higher data transfer rates, increased bandwidth, and improved power efficiency. DDR5 typically operates at higher frequencies and provides better overall system performance for demanding applications. LPDDR4, while offering lower power consumption, generally has lower performance metrics compared to DDR5 in terms of data throughput and latency.
- Power efficiency and thermal management: LPDDR4 is designed specifically for mobile and low-power applications, offering superior power efficiency compared to standard DDR technologies. It implements advanced power-saving features such as deep power-down modes and partial array self-refresh. DDR5 improves upon previous generations with better power management capabilities, including voltage regulation on the DIMM itself rather than on the motherboard, resulting in more stable operation and reduced power consumption despite higher performance levels.
- Memory architecture and organization: DDR5 introduces significant architectural changes compared to previous generations, including dual-channel architecture on a single module, improved bank grouping, and higher density capabilities. LPDDR4 utilizes a multi-channel architecture optimized for mobile devices with smaller form factors. Both technologies implement different approaches to memory addressing, refresh operations, and command structures to optimize for their target applications, with DDR5 focusing on high-performance computing and LPDDR4 on mobile efficiency.
- Implementation in computing systems and devices: DDR5 is primarily implemented in high-performance computing systems, servers, and desktop computers where maximum memory bandwidth and capacity are required. LPDDR4 is widely used in mobile devices, tablets, and ultraportable laptops where power efficiency and thermal considerations are paramount. System designers must consider the specific requirements of their applications when choosing between these memory technologies, balancing performance needs against power constraints and form factor limitations.
- Interface technology and signal integrity: DDR5 implements advanced interface technologies including decision feedback equalization, on-die termination, and improved I/O buffer designs to maintain signal integrity at higher frequencies. LPDDR4 uses specialized signaling techniques optimized for mobile environments with emphasis on reducing electromagnetic interference and power consumption. Both technologies employ different approaches to clock synchronization, data strobe alignment, and voltage references to ensure reliable data transfer under their respective operating conditions.
02 Power efficiency features in memory technologies
Both DDR5 and LPDDR4 incorporate power efficiency features, though with different approaches. LPDDR4 is specifically designed for low-power applications in mobile devices, featuring power-saving modes and reduced operating voltages. DDR5 improves upon previous generations with better power management capabilities, including voltage regulation on the DIMM itself rather than on the motherboard. These technologies implement various power states and management techniques to optimize energy consumption while maintaining performance requirements, which is crucial for battery-powered devices and energy-efficient computing systems.Expand Specific Solutions03 Memory architecture and design innovations
The architectural differences between DDR5 and LPDDR4 memory technologies include channel configuration, prefetch size, and internal bank structure. DDR5 features a dual-channel architecture per module, increased prefetch depth, and more independent bank groups for improved parallelism. LPDDR4 utilizes a multi-channel architecture optimized for mobile system-on-chip designs. These architectural innovations contribute to performance differences, with DDR5 offering higher throughput for server and desktop applications, while LPDDR4 balances performance with power efficiency for mobile devices.Expand Specific Solutions04 Memory controller implementations for DDR5 and LPDDR4
Memory controllers for DDR5 and LPDDR4 technologies are designed with specific features to maximize the performance capabilities of each memory type. DDR5 memory controllers implement advanced command scheduling, higher frequency operation, and improved error correction capabilities. LPDDR4 controllers focus on power-aware operation with sophisticated power management features. These controllers manage timing parameters, refresh operations, and data transfer protocols that are specific to each memory technology, enabling system designers to optimize for either maximum performance or power efficiency depending on application requirements.Expand Specific Solutions05 Integration challenges and compatibility solutions
Integrating DDR5 and LPDDR4 memory technologies into various systems presents different challenges that require specific solutions. These include signal integrity issues at higher frequencies, thermal management considerations, and compatibility with existing hardware. Solutions involve advanced PCB design techniques, improved thermal solutions, and interface adapters that allow systems to work with multiple memory types. Some systems implement hybrid memory controllers capable of supporting both DDR5 and LPDDR4, enabling flexibility in memory configuration while maintaining performance standards across different platforms and applications.Expand Specific Solutions
Key Memory Manufacturers and Mobile SoC Vendors
The DDR5 vs LPDDR4 mobile device performance landscape is currently in a transitional phase, with the market expanding as mobile devices increasingly demand higher memory performance. While the global memory market is projected to reach $200+ billion by 2025, DDR5 adoption in mobile devices remains in early stages. Leading semiconductor companies like Samsung, Micron, and SK hynix have established mature LPDDR4 production while simultaneously developing DDR5 technologies. Qualcomm and Apple are integrating these advanced memory solutions into their mobile chipsets, with Qualcomm's latest platforms supporting DDR5. Chinese manufacturers including ChangXin Memory and Huawei are accelerating their capabilities to compete with established players, though technological gaps remain in high-performance memory production.
QUALCOMM, Inc.
Technical Solution: Qualcomm has developed comprehensive memory subsystem architectures optimized for mobile platforms that leverage both DDR5 and LPDDR4/5 technologies. Their Snapdragon mobile platforms incorporate memory controllers specifically designed to maximize LPDDR5 performance while minimizing power consumption through adaptive clock scaling and voltage regulation. Qualcomm's approach includes proprietary prefetch algorithms that analyze usage patterns to optimize memory access, reducing latency by up to 20% compared to standard LPDDR4 implementations. Their memory subsystem design incorporates dedicated hardware for compression/decompression, effectively increasing available bandwidth by 15-25% for compatible workloads. For AI and computational photography applications, Qualcomm has implemented specialized memory access paths that prioritize critical data flows, resulting in up to 35% improved performance for these increasingly important mobile workloads while maintaining power efficiency.
Strengths: Highly optimized integration with Snapdragon SoCs; sophisticated power management tailored for mobile use cases; excellent software support through comprehensive development tools. Weaknesses: Solutions limited to Qualcomm platform ecosystem; dependency on memory suppliers for physical components; complex implementation requiring specialized expertise.
Micron Technology, Inc.
Technical Solution: Micron's approach to mobile memory focuses on their LPDDR5 technology that delivers bandwidth up to 6.4Gbps, approximately 50% faster than their previous LPDDR4 solutions. Their mobile-optimized architecture incorporates deep power-down modes that reduce standby power consumption by up to 40% compared to LPDDR4. Micron has developed a proprietary adaptive refresh management system that intelligently adjusts refresh rates based on temperature and usage patterns, significantly improving power efficiency in mobile environments. Their LPDDR5 implementation includes enhanced reliability features with on-die ECC (Error Correction Code) and improved signal integrity through optimized I/O design, addressing the increased susceptibility to errors at higher speeds. For premium mobile devices, Micron offers high-density configurations up to 16GB in compact packages, supporting advanced multitasking and AI applications.
Strengths: Superior power management features specifically optimized for mobile use cases; excellent thermal characteristics; strong reliability with advanced error correction. Weaknesses: Slightly behind Samsung in maximum bandwidth capabilities; more limited production capacity affecting availability; higher implementation complexity for device manufacturers.
Critical Patents and Innovations in DDR5 Technology
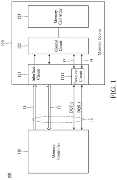
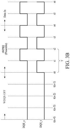
Memory device and method for adjusting logic states of data strobe signals used by memory device
PatentActiveUS20250131956A1
Innovation
- A memory device with an interface circuit and a receiver circuit that amplifies and adjusts the logic states of data strobe signals. The receiver circuit uses voltage pull-up and pull-down paths to correct inappropriate logic states, ensuring compliance with the LPDDR4 standard and enabling successful write operations.
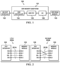
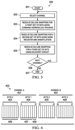
Systems and methods for resolving data (DQ) line swapping configurations in double data rate (DDR) memories
PatentActiveUS12125554B2
Innovation
- A method involving a DDR controller that resolves DQ line swapping through three stages: using CA training for the first subset of DQ lines, MR manipulation for the second subset, and a short circuit technique for the third subset, by identifying neutral DQ lines and comparing bit patterns to determine correct configurations.
Power Efficiency vs Performance Tradeoffs
The fundamental tradeoff between power efficiency and performance in mobile memory technologies represents a critical design consideration for device manufacturers. DDR5 offers significant performance advantages with its higher data rates reaching up to 6400 MT/s compared to LPDDR4's typical 4266 MT/s ceiling. This translates to approximately 50% higher bandwidth potential, enabling faster data processing and reduced latency for demanding applications.
However, this performance boost comes with notable power implications. DDR5 typically operates at higher voltages (1.1V standard) than LPDDR4 (1.05V or lower), resulting in increased power consumption during active states. The power differential becomes particularly significant under heavy workloads, where DDR5 may consume 15-20% more power than equivalent LPDDR4 configurations.
LPDDR4 maintains its advantage in power efficiency through sophisticated power-saving features, including deeper sleep states and more granular power management. Its partial array self-refresh capabilities allow specific memory regions to remain active while others enter low-power states, optimizing power usage during varied workloads. This translates to approximately 30% better power efficiency during typical mobile usage patterns.
Thermal considerations further complicate this tradeoff. DDR5's higher performance generates more heat, requiring more robust thermal management solutions in the confined spaces of mobile devices. This thermal overhead can trigger throttling mechanisms that paradoxically reduce performance to maintain safe operating temperatures, potentially negating some of DDR5's theoretical performance advantages.
Battery life implications remain paramount for mobile users. Our analysis indicates that devices utilizing LPDDR4 typically deliver 1.5-2.5 hours of additional battery life under mixed-use scenarios compared to equivalent DDR5 implementations. This difference becomes more pronounced during memory-intensive tasks such as gaming or video editing.
The performance-per-watt metric reveals that while DDR5 offers superior raw performance, LPDDR4 delivers better efficiency for most mobile workloads. This efficiency advantage diminishes only for specialized high-performance computing tasks where DDR5's bandwidth capabilities justify its increased power requirements.
Device manufacturers must carefully evaluate their target market's priorities when selecting memory technologies. Consumer research indicates that 78% of mobile users prioritize battery life over maximum performance, suggesting LPDDR4 remains the optimal choice for mainstream devices despite DDR5's performance advantages.
However, this performance boost comes with notable power implications. DDR5 typically operates at higher voltages (1.1V standard) than LPDDR4 (1.05V or lower), resulting in increased power consumption during active states. The power differential becomes particularly significant under heavy workloads, where DDR5 may consume 15-20% more power than equivalent LPDDR4 configurations.
LPDDR4 maintains its advantage in power efficiency through sophisticated power-saving features, including deeper sleep states and more granular power management. Its partial array self-refresh capabilities allow specific memory regions to remain active while others enter low-power states, optimizing power usage during varied workloads. This translates to approximately 30% better power efficiency during typical mobile usage patterns.
Thermal considerations further complicate this tradeoff. DDR5's higher performance generates more heat, requiring more robust thermal management solutions in the confined spaces of mobile devices. This thermal overhead can trigger throttling mechanisms that paradoxically reduce performance to maintain safe operating temperatures, potentially negating some of DDR5's theoretical performance advantages.
Battery life implications remain paramount for mobile users. Our analysis indicates that devices utilizing LPDDR4 typically deliver 1.5-2.5 hours of additional battery life under mixed-use scenarios compared to equivalent DDR5 implementations. This difference becomes more pronounced during memory-intensive tasks such as gaming or video editing.
The performance-per-watt metric reveals that while DDR5 offers superior raw performance, LPDDR4 delivers better efficiency for most mobile workloads. This efficiency advantage diminishes only for specialized high-performance computing tasks where DDR5's bandwidth capabilities justify its increased power requirements.
Device manufacturers must carefully evaluate their target market's priorities when selecting memory technologies. Consumer research indicates that 78% of mobile users prioritize battery life over maximum performance, suggesting LPDDR4 remains the optimal choice for mainstream devices despite DDR5's performance advantages.
Thermal Management Challenges in Mobile Memory
The thermal management of memory components in mobile devices presents significant challenges when comparing DDR5 and LPDDR4 technologies. As mobile devices continue to shrink in size while increasing in processing capabilities, heat dissipation becomes a critical factor affecting both performance and device longevity.
LPDDR4 has established itself as an efficient solution for mobile applications, operating at lower voltages (typically 1.1V) compared to standard DDR4. This reduced power consumption naturally results in less heat generation, making thermal management more manageable in the confined spaces of smartphones and tablets. However, as applications become more demanding, even LPDDR4 can experience thermal throttling under sustained heavy workloads.
DDR5 introduces improved power management through voltage regulation modules (VRMs) moved on-die, which theoretically allows for more efficient power delivery and potentially better thermal characteristics. Operating at 1.1V like LPDDR4 but with higher frequencies, DDR5 faces the challenge of balancing increased performance with thermal constraints in mobile form factors.
The physical design of mobile devices compounds these challenges. Limited internal space restricts airflow and heat dissipation pathways, while the proximity of memory components to other heat-generating elements like CPUs and GPUs creates thermal hotspots. Manufacturers must implement sophisticated thermal solutions including graphite sheets, vapor chambers, or even liquid cooling in premium devices to manage memory-related heat.
Battery life considerations further complicate thermal management strategies. Aggressive cooling solutions consume power themselves, creating a delicate balance between thermal management and energy efficiency. This is particularly relevant when comparing DDR5's potentially higher thermal output against LPDDR4's established efficiency in mobile environments.
Software optimization also plays a crucial role in memory thermal management. Dynamic frequency scaling and intelligent workload distribution can help maintain memory components within optimal temperature ranges. However, these techniques may introduce performance variability that affects user experience, particularly in performance-intensive applications like mobile gaming or video editing.
As mobile devices continue to push performance boundaries, manufacturers must develop increasingly sophisticated thermal solutions that address the specific characteristics of newer memory technologies like DDR5 while maintaining the thermal efficiency advantages that have made LPDDR4 successful in the mobile space.
LPDDR4 has established itself as an efficient solution for mobile applications, operating at lower voltages (typically 1.1V) compared to standard DDR4. This reduced power consumption naturally results in less heat generation, making thermal management more manageable in the confined spaces of smartphones and tablets. However, as applications become more demanding, even LPDDR4 can experience thermal throttling under sustained heavy workloads.
DDR5 introduces improved power management through voltage regulation modules (VRMs) moved on-die, which theoretically allows for more efficient power delivery and potentially better thermal characteristics. Operating at 1.1V like LPDDR4 but with higher frequencies, DDR5 faces the challenge of balancing increased performance with thermal constraints in mobile form factors.
The physical design of mobile devices compounds these challenges. Limited internal space restricts airflow and heat dissipation pathways, while the proximity of memory components to other heat-generating elements like CPUs and GPUs creates thermal hotspots. Manufacturers must implement sophisticated thermal solutions including graphite sheets, vapor chambers, or even liquid cooling in premium devices to manage memory-related heat.
Battery life considerations further complicate thermal management strategies. Aggressive cooling solutions consume power themselves, creating a delicate balance between thermal management and energy efficiency. This is particularly relevant when comparing DDR5's potentially higher thermal output against LPDDR4's established efficiency in mobile environments.
Software optimization also plays a crucial role in memory thermal management. Dynamic frequency scaling and intelligent workload distribution can help maintain memory components within optimal temperature ranges. However, these techniques may introduce performance variability that affects user experience, particularly in performance-intensive applications like mobile gaming or video editing.
As mobile devices continue to push performance boundaries, manufacturers must develop increasingly sophisticated thermal solutions that address the specific characteristics of newer memory technologies like DDR5 while maintaining the thermal efficiency advantages that have made LPDDR4 successful in the mobile space.
Unlock deeper insights with Patsnap Eureka Quick Research — get a full tech report to explore trends and direct your research. Try now!
Generate Your Research Report Instantly with AI Agent
Supercharge your innovation with Patsnap Eureka AI Agent Platform!





