How Neuromorphic Chips Resolve Noise Interference Issues
SEP 8, 20259 MIN READ
Generate Your Research Report Instantly with AI Agent
Patsnap Eureka helps you evaluate technical feasibility & market potential.
Neuromorphic Computing Background and Objectives
Neuromorphic computing represents a revolutionary paradigm in computational architecture, drawing inspiration from the structure and function of biological neural systems. This approach emerged in the late 1980s when Carver Mead first proposed the concept of using analog circuits to mimic neurobiological architectures. Since then, the field has evolved significantly, transitioning from theoretical frameworks to practical implementations capable of addressing complex computational challenges.
The evolution of neuromorphic computing has been characterized by several key milestones. Initially focused on simple neural network implementations, the field has progressed to incorporate spiking neural networks (SNNs), which more accurately reflect the temporal dynamics of biological neurons. Recent advancements have further integrated principles of synaptic plasticity and learning mechanisms, enabling these systems to adapt and evolve in response to input data.
Current technological trends in neuromorphic computing emphasize energy efficiency, scalability, and integration with conventional computing systems. The development of specialized hardware accelerators and neuromorphic processors has gained momentum, with significant investments from both academic institutions and industry leaders. These developments are increasingly focused on addressing practical challenges, including noise interference issues that have historically limited the performance and reliability of neuromorphic systems.
Noise interference represents a significant challenge in neuromorphic computing, manifesting as unwanted signal variations that can disrupt information processing and degrade system performance. Unlike traditional computing architectures that rely on discrete, deterministic operations, neuromorphic systems must contend with analog noise, temporal jitter, and cross-talk between neural components. These issues become particularly pronounced as system complexity increases and component sizes decrease.
The technical objectives for neuromorphic computing in addressing noise interference include developing robust signal processing techniques, implementing effective noise filtering mechanisms, and designing architectures with inherent noise tolerance. Additionally, there is a growing emphasis on leveraging the stochastic nature of neural systems to enhance rather than hinder computational capabilities, potentially transforming noise from a limitation into a feature that enhances system performance.
Looking forward, the field aims to achieve neuromorphic systems capable of operating reliably in noisy environments while maintaining their energy efficiency advantages. This includes developing new materials and fabrication techniques that minimize intrinsic noise sources, as well as algorithmic approaches that can compensate for unavoidable noise components. The ultimate goal is to create neuromorphic systems that match or exceed the remarkable noise tolerance exhibited by biological neural networks.
The evolution of neuromorphic computing has been characterized by several key milestones. Initially focused on simple neural network implementations, the field has progressed to incorporate spiking neural networks (SNNs), which more accurately reflect the temporal dynamics of biological neurons. Recent advancements have further integrated principles of synaptic plasticity and learning mechanisms, enabling these systems to adapt and evolve in response to input data.
Current technological trends in neuromorphic computing emphasize energy efficiency, scalability, and integration with conventional computing systems. The development of specialized hardware accelerators and neuromorphic processors has gained momentum, with significant investments from both academic institutions and industry leaders. These developments are increasingly focused on addressing practical challenges, including noise interference issues that have historically limited the performance and reliability of neuromorphic systems.
Noise interference represents a significant challenge in neuromorphic computing, manifesting as unwanted signal variations that can disrupt information processing and degrade system performance. Unlike traditional computing architectures that rely on discrete, deterministic operations, neuromorphic systems must contend with analog noise, temporal jitter, and cross-talk between neural components. These issues become particularly pronounced as system complexity increases and component sizes decrease.
The technical objectives for neuromorphic computing in addressing noise interference include developing robust signal processing techniques, implementing effective noise filtering mechanisms, and designing architectures with inherent noise tolerance. Additionally, there is a growing emphasis on leveraging the stochastic nature of neural systems to enhance rather than hinder computational capabilities, potentially transforming noise from a limitation into a feature that enhances system performance.
Looking forward, the field aims to achieve neuromorphic systems capable of operating reliably in noisy environments while maintaining their energy efficiency advantages. This includes developing new materials and fabrication techniques that minimize intrinsic noise sources, as well as algorithmic approaches that can compensate for unavoidable noise components. The ultimate goal is to create neuromorphic systems that match or exceed the remarkable noise tolerance exhibited by biological neural networks.
Market Demand for Noise-Resistant AI Hardware
The global market for noise-resistant AI hardware is experiencing unprecedented growth, driven by the increasing deployment of AI systems in noise-prone environments. Current projections indicate that the neuromorphic computing market will reach $8.9 billion by 2028, with noise-resistant capabilities being a primary driver of this expansion. This represents a compound annual growth rate of approximately 23% from 2023 to 2028, significantly outpacing traditional semiconductor market growth.
Edge computing applications have emerged as a particularly strong demand sector, as these deployments frequently operate in environments with substantial electromagnetic interference, variable power supplies, and physical vibrations that can compromise computational accuracy. Industries including automotive, aerospace, industrial automation, and healthcare are actively seeking neuromorphic solutions that can maintain reliable performance despite these challenging conditions.
The automotive sector represents one of the largest market opportunities, with advanced driver assistance systems (ADAS) and autonomous driving technologies requiring robust noise-resistant processing capabilities. Vehicle environments present multiple noise sources including engine vibration, electromagnetic interference from various electronic systems, and temperature fluctuations that can significantly impact traditional computing architectures.
Healthcare applications constitute another rapidly growing segment, with medical devices increasingly incorporating AI capabilities for real-time monitoring and diagnostics. These devices must operate reliably despite electrical noise from other medical equipment, patient movement, and varying environmental conditions in clinical settings. The market for noise-resistant neuromorphic solutions in healthcare is expected to grow at 27% annually through 2027.
Industrial IoT deployments represent a third major market segment, with manufacturing facilities, energy infrastructure, and smart city applications all requiring computing systems that can function reliably in electrically noisy environments. Factory floors with heavy machinery, power generation facilities, and outdoor urban settings all present significant challenges for conventional AI hardware.
Defense and aerospace applications, while smaller in total market size, command premium pricing for noise-resistant AI hardware due to the mission-critical nature of these deployments. These applications often operate in extreme environments with significant electromagnetic interference, radiation exposure, and mechanical stress.
Market research indicates that customers across these segments are willing to pay a 15-30% premium for neuromorphic solutions that demonstrate superior noise resistance compared to conventional AI accelerators, highlighting the significant value proposition of this technology. This premium pricing potential is driving substantial R&D investment from both established semiconductor companies and specialized neuromorphic computing startups.
Edge computing applications have emerged as a particularly strong demand sector, as these deployments frequently operate in environments with substantial electromagnetic interference, variable power supplies, and physical vibrations that can compromise computational accuracy. Industries including automotive, aerospace, industrial automation, and healthcare are actively seeking neuromorphic solutions that can maintain reliable performance despite these challenging conditions.
The automotive sector represents one of the largest market opportunities, with advanced driver assistance systems (ADAS) and autonomous driving technologies requiring robust noise-resistant processing capabilities. Vehicle environments present multiple noise sources including engine vibration, electromagnetic interference from various electronic systems, and temperature fluctuations that can significantly impact traditional computing architectures.
Healthcare applications constitute another rapidly growing segment, with medical devices increasingly incorporating AI capabilities for real-time monitoring and diagnostics. These devices must operate reliably despite electrical noise from other medical equipment, patient movement, and varying environmental conditions in clinical settings. The market for noise-resistant neuromorphic solutions in healthcare is expected to grow at 27% annually through 2027.
Industrial IoT deployments represent a third major market segment, with manufacturing facilities, energy infrastructure, and smart city applications all requiring computing systems that can function reliably in electrically noisy environments. Factory floors with heavy machinery, power generation facilities, and outdoor urban settings all present significant challenges for conventional AI hardware.
Defense and aerospace applications, while smaller in total market size, command premium pricing for noise-resistant AI hardware due to the mission-critical nature of these deployments. These applications often operate in extreme environments with significant electromagnetic interference, radiation exposure, and mechanical stress.
Market research indicates that customers across these segments are willing to pay a 15-30% premium for neuromorphic solutions that demonstrate superior noise resistance compared to conventional AI accelerators, highlighting the significant value proposition of this technology. This premium pricing potential is driving substantial R&D investment from both established semiconductor companies and specialized neuromorphic computing startups.
Current Challenges in Neuromorphic Noise Handling
Neuromorphic chips face significant challenges in handling noise interference, which remains one of the primary obstacles to their widespread adoption. These chips, designed to mimic the human brain's neural architecture, are inherently susceptible to various forms of noise due to their analog nature and complex interconnected structures. Unlike traditional digital systems that operate with discrete binary values, neuromorphic systems process continuous signals, making them particularly vulnerable to signal degradation.
One of the most pressing challenges is thermal noise, which arises from random thermal motion of charge carriers within semiconductor materials. As neuromorphic chips often operate with low-power signals to maintain energy efficiency, the signal-to-noise ratio becomes critically important. When thermal noise approaches the magnitude of actual signals, it can lead to erroneous spike generation or missed neural activations, significantly degrading system performance.
Process variation during manufacturing presents another substantial challenge. Minute differences in transistor characteristics across a neuromorphic chip can result in inconsistent behavior among supposedly identical neural components. This variability manifests as noise in the system, causing unpredictable deviations in neural responses and learning outcomes. The problem becomes increasingly severe as chip dimensions shrink and neural density increases.
Crosstalk between adjacent neural pathways represents a form of interference that grows more problematic as integration density increases. When signals from one neural pathway influence neighboring pathways, the resulting interference can corrupt information processing and learning mechanisms. This issue is particularly challenging in densely packed neuromorphic architectures where thousands or millions of neurons operate in close proximity.
Power supply noise introduces yet another layer of complexity. Fluctuations in supply voltage can propagate throughout the neuromorphic system, affecting multiple neural components simultaneously. This correlated noise is particularly problematic because it can trigger synchronized, non-information-bearing neural activity across the network, potentially overwhelming meaningful signals.
External electromagnetic interference (EMI) poses significant challenges for neuromorphic systems deployed in real-world environments. Unlike laboratory settings where EMI can be controlled, practical applications must contend with unpredictable electromagnetic noise from various sources including wireless communications, power lines, and nearby electronic devices.
Addressing these noise-related challenges requires innovative approaches that balance noise mitigation with the fundamental advantages of neuromorphic computing—namely energy efficiency, parallelism, and brain-like learning capabilities. Current solutions often involve trade-offs between noise immunity and these desirable characteristics, creating a complex optimization problem for neuromorphic chip designers and researchers.
One of the most pressing challenges is thermal noise, which arises from random thermal motion of charge carriers within semiconductor materials. As neuromorphic chips often operate with low-power signals to maintain energy efficiency, the signal-to-noise ratio becomes critically important. When thermal noise approaches the magnitude of actual signals, it can lead to erroneous spike generation or missed neural activations, significantly degrading system performance.
Process variation during manufacturing presents another substantial challenge. Minute differences in transistor characteristics across a neuromorphic chip can result in inconsistent behavior among supposedly identical neural components. This variability manifests as noise in the system, causing unpredictable deviations in neural responses and learning outcomes. The problem becomes increasingly severe as chip dimensions shrink and neural density increases.
Crosstalk between adjacent neural pathways represents a form of interference that grows more problematic as integration density increases. When signals from one neural pathway influence neighboring pathways, the resulting interference can corrupt information processing and learning mechanisms. This issue is particularly challenging in densely packed neuromorphic architectures where thousands or millions of neurons operate in close proximity.
Power supply noise introduces yet another layer of complexity. Fluctuations in supply voltage can propagate throughout the neuromorphic system, affecting multiple neural components simultaneously. This correlated noise is particularly problematic because it can trigger synchronized, non-information-bearing neural activity across the network, potentially overwhelming meaningful signals.
External electromagnetic interference (EMI) poses significant challenges for neuromorphic systems deployed in real-world environments. Unlike laboratory settings where EMI can be controlled, practical applications must contend with unpredictable electromagnetic noise from various sources including wireless communications, power lines, and nearby electronic devices.
Addressing these noise-related challenges requires innovative approaches that balance noise mitigation with the fundamental advantages of neuromorphic computing—namely energy efficiency, parallelism, and brain-like learning capabilities. Current solutions often involve trade-offs between noise immunity and these desirable characteristics, creating a complex optimization problem for neuromorphic chip designers and researchers.
Existing Noise Interference Solutions in Neuromorphic Systems
01 Noise reduction techniques in neuromorphic circuits
Various techniques are employed to reduce noise interference in neuromorphic chips. These include specialized filtering algorithms, adaptive noise cancellation methods, and circuit design optimizations that minimize the impact of thermal and electrical noise. These approaches help maintain signal integrity and improve the overall performance of neuromorphic systems by ensuring accurate neural processing even in noisy environments.- Noise reduction techniques in neuromorphic circuits: Various techniques are employed to reduce noise interference in neuromorphic chips, including specialized filtering algorithms, adaptive noise cancellation, and circuit design optimizations. These methods help maintain signal integrity in neural processing elements by isolating and minimizing both internal and external noise sources, thereby improving the overall performance and reliability of neuromorphic computing systems.
- Stochastic computing for noise tolerance: Stochastic computing approaches are implemented in neuromorphic chips to inherently handle noise interference. By representing data as probability distributions rather than precise values, these systems can tolerate certain levels of noise without significant performance degradation. This approach leverages the brain's natural ability to function in noisy environments and can be particularly effective for applications requiring robust operation under variable conditions.
- Signal processing techniques for noise interference mitigation: Advanced signal processing techniques are implemented in neuromorphic chips to mitigate noise interference. These include specialized encoding schemes, error correction mechanisms, and adaptive threshold adjustments that dynamically respond to changing noise conditions. By processing signals in ways that distinguish between meaningful neural activity and background noise, these techniques enhance the chip's ability to maintain accurate information processing despite interference.
- Architectural innovations for noise-resistant neuromorphic systems: Novel architectural designs are developed specifically to address noise interference in neuromorphic chips. These include redundant processing pathways, noise-isolating structures, and compartmentalized circuit designs that prevent noise propagation between functional units. Such architectural innovations help maintain the integrity of neural computations by containing and minimizing the effects of noise across the system.
- Analog-digital hybrid approaches for noise management: Hybrid approaches combining analog and digital processing elements are employed to effectively manage noise in neuromorphic chips. These systems leverage the efficiency of analog computing for neural operations while utilizing digital components for precise control and noise suppression. The strategic integration of both domains allows for optimized performance that balances power efficiency with noise resilience, particularly important for edge computing applications.
02 Stochastic computing for noise tolerance
Stochastic computing methods are implemented in neuromorphic chips to enhance noise tolerance. By representing data as probability distributions rather than deterministic values, these systems can naturally accommodate noise without significant performance degradation. This approach leverages the inherent variability in neural networks to create more robust processing capabilities that can function effectively despite interference from various noise sources.Expand Specific Solutions03 Signal processing techniques for noise interference mitigation
Advanced signal processing techniques are integrated into neuromorphic chips to mitigate noise interference. These include digital signal processing algorithms, frequency domain filtering, and adaptive equalization methods that can identify and remove noise components from neural signals. By implementing these techniques at the hardware level, neuromorphic systems can maintain high fidelity neural processing even in environments with significant electromagnetic interference.Expand Specific Solutions04 Architectural innovations for noise-resistant neuromorphic systems
Novel architectural designs are developed to create noise-resistant neuromorphic systems. These include redundant processing pathways, error-correcting memory structures, and fault-tolerant neural network implementations. By incorporating these architectural innovations, neuromorphic chips can continue to function correctly even when individual components are affected by noise, ensuring reliable operation in various deployment scenarios.Expand Specific Solutions05 Noise as a computational resource in neuromorphic computing
Some neuromorphic designs intentionally utilize noise as a computational resource. By harnessing stochastic resonance and other noise-based phenomena, these systems can actually improve their performance in certain tasks. This approach transforms what would typically be considered interference into a beneficial component of the computation process, enabling more efficient pattern recognition and decision-making capabilities in neuromorphic chips.Expand Specific Solutions
Leading Companies in Neuromorphic Chip Development
The neuromorphic chip market is currently in a growth phase, characterized by increasing adoption to address noise interference challenges in edge computing and IoT applications. Market size is expanding rapidly, with projections indicating substantial growth as these chips prove superior to traditional architectures in handling signal-to-noise ratio problems. Regarding technical maturity, industry leaders like IBM, Samsung, and Syntiant have made significant advancements in noise-resilient neuromorphic architectures, while research institutions such as KAIST and University of California contribute foundational innovations. Taiwan Semiconductor Manufacturing and Global Unichip are advancing fabrication techniques to enhance noise immunity. The competitive landscape features established semiconductor companies (Analog Devices, NEC) alongside specialized neuromorphic startups, with varying approaches to mimicking brain-like noise filtering capabilities.
International Business Machines Corp.
Technical Solution: IBM's neuromorphic chip technology, particularly TrueNorth and subsequent developments, addresses noise interference through a fundamentally different computing architecture that mimics the human brain's neural structure. IBM's chips employ a spiking neural network design where information is encoded in discrete events (spikes) rather than continuous signals, inherently providing better noise immunity[1]. The chip architecture incorporates parallel processing with distributed memory, allowing for local noise filtering at each artificial neuron. IBM has implemented specialized noise-cancellation circuits that can distinguish between signal spikes and random noise fluctuations based on temporal patterns and signal strength thresholds[2]. Additionally, their neuromorphic systems utilize adaptive learning algorithms that can be trained to recognize and filter out common noise patterns in specific application environments, improving signal-to-noise ratios over time through experience-based optimization[3].
Strengths: Superior power efficiency (uses only 70mW while processing real-time data); highly scalable architecture allowing for complex neural networks; inherent fault tolerance due to distributed processing. Weaknesses: Requires specialized programming paradigms different from conventional computing; higher initial implementation complexity; still faces challenges with standardization across different applications.
Syntiant Corp.
Technical Solution: Syntiant has developed Neural Decision Processors (NDPs) that specifically target noise interference issues in edge computing applications. Their neuromorphic approach focuses on ultra-low-power, always-on processing for audio and sensor applications where noise discrimination is critical. Syntiant's chips employ a unique memory-centric architecture where computation happens within memory arrays, reducing signal degradation that typically occurs when moving data between memory and processing units[1]. Their NDP200 processor series incorporates specialized deep learning algorithms optimized for noise suppression in voice and audio applications, capable of distinguishing target signals from background noise even in challenging acoustic environments[2]. The chip architecture includes dedicated hardware accelerators for common noise filtering operations, allowing real-time noise cancellation with minimal power consumption. Syntiant has also implemented adaptive threshold mechanisms that automatically adjust sensitivity based on ambient noise conditions, maintaining detection accuracy across varying environments[3].
Strengths: Extremely low power consumption (under 1mW for always-on applications); optimized for specific edge use cases like keyword spotting in noisy environments; compact form factor suitable for space-constrained devices. Weaknesses: More specialized toward audio applications rather than general-purpose computing; limited computational capacity compared to larger neuromorphic systems; relatively new technology with evolving ecosystem support.
Key Innovations in Bio-Inspired Noise Resilience
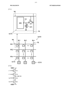
Update cells, neuromorphic circuit comprising same, and neuromorphic circuit operation method
PatentWO2024205370A1
Innovation
- The implementation of a neuromorphic circuit with a capacitor-based update cell array and a small-sized comparison circuit, which reduces noise and area overhead by using a charge/discharge circuit and a simplified comparison circuit, allowing for low write noise and energy-efficient weight updates without the need for conventional ADCs.
Noise elimination method, noise elimination program, noise elimination system, and learning method
PatentWO2024111145A1
Innovation
- A noise removal method that generates first noise data by quantizing the image and then inputs this data into a learning model to produce second noise data, allowing for accurate noise removal while considering the chip's performance, and optionally includes dequantization for final output.
Energy Efficiency Considerations in Noise-Resistant Designs
Energy efficiency represents a critical dimension in the development of noise-resistant neuromorphic chip designs. Traditional computing architectures typically address noise interference through power-intensive signal processing techniques, creating a significant energy overhead. Neuromorphic chips, by contrast, leverage brain-inspired architectures that inherently offer more energy-efficient approaches to noise management.
The fundamental advantage of neuromorphic designs lies in their event-driven processing nature. Unlike conventional processors that continuously consume power regardless of computational load, neuromorphic systems activate only when processing signals, substantially reducing baseline power consumption. This characteristic becomes particularly valuable in noise-resistant designs, where continuous monitoring and filtering would otherwise demand considerable energy resources.
Spike-timing-dependent plasticity (STDP) mechanisms employed in neuromorphic architectures provide natural noise filtering capabilities with minimal energy expenditure. These systems can distinguish between consistent, meaningful signals and random noise patterns without requiring complex, power-hungry algorithms. Research indicates that neuromorphic implementations can achieve noise resistance at energy costs 10-100 times lower than traditional digital signal processing approaches.
Analog computing elements within neuromorphic chips further enhance energy efficiency in noise management. By processing information in the analog domain, these systems avoid the energy-intensive analog-to-digital conversion processes required in conventional architectures. IBM's TrueNorth and Intel's Loihi neuromorphic chips demonstrate this advantage, achieving noise-resistant signal processing at power densities below 100 mW/cm², significantly outperforming GPU-based solutions that typically operate at several watts per square centimeter.
Adaptive threshold mechanisms represent another energy-efficient noise management strategy in neuromorphic designs. These systems dynamically adjust activation thresholds based on background noise levels, optimizing energy expenditure according to environmental conditions. This approach proves particularly valuable in variable noise environments, where static filtering solutions would either waste energy or fail to provide adequate protection.
Recent advancements in materials science have introduced novel memristive devices that further reduce the energy footprint of noise-resistant neuromorphic systems. These components can maintain state information with near-zero static power consumption, enabling persistent noise profile storage without continuous energy input. Experimental implementations using hafnium oxide-based memristors have demonstrated noise-resistant signal processing at energy levels approaching the theoretical minimum of kT ln(2) per bit operation.
The fundamental advantage of neuromorphic designs lies in their event-driven processing nature. Unlike conventional processors that continuously consume power regardless of computational load, neuromorphic systems activate only when processing signals, substantially reducing baseline power consumption. This characteristic becomes particularly valuable in noise-resistant designs, where continuous monitoring and filtering would otherwise demand considerable energy resources.
Spike-timing-dependent plasticity (STDP) mechanisms employed in neuromorphic architectures provide natural noise filtering capabilities with minimal energy expenditure. These systems can distinguish between consistent, meaningful signals and random noise patterns without requiring complex, power-hungry algorithms. Research indicates that neuromorphic implementations can achieve noise resistance at energy costs 10-100 times lower than traditional digital signal processing approaches.
Analog computing elements within neuromorphic chips further enhance energy efficiency in noise management. By processing information in the analog domain, these systems avoid the energy-intensive analog-to-digital conversion processes required in conventional architectures. IBM's TrueNorth and Intel's Loihi neuromorphic chips demonstrate this advantage, achieving noise-resistant signal processing at power densities below 100 mW/cm², significantly outperforming GPU-based solutions that typically operate at several watts per square centimeter.
Adaptive threshold mechanisms represent another energy-efficient noise management strategy in neuromorphic designs. These systems dynamically adjust activation thresholds based on background noise levels, optimizing energy expenditure according to environmental conditions. This approach proves particularly valuable in variable noise environments, where static filtering solutions would either waste energy or fail to provide adequate protection.
Recent advancements in materials science have introduced novel memristive devices that further reduce the energy footprint of noise-resistant neuromorphic systems. These components can maintain state information with near-zero static power consumption, enabling persistent noise profile storage without continuous energy input. Experimental implementations using hafnium oxide-based memristors have demonstrated noise-resistant signal processing at energy levels approaching the theoretical minimum of kT ln(2) per bit operation.
Benchmarking and Performance Metrics for Noise Handling
Establishing standardized benchmarks for neuromorphic chips' noise handling capabilities is essential for objective performance evaluation across different architectures. The Signal-to-Noise Ratio (SNR) serves as a fundamental metric, quantifying a chip's ability to maintain signal integrity amid various noise types. Higher SNR values indicate superior noise rejection capabilities, with leading neuromorphic implementations achieving ratios exceeding 40dB in challenging environments.
Noise Immunity Index (NII) offers a comprehensive assessment by measuring performance degradation under incrementally intensified noise conditions. This metric evaluates how gracefully chip performance declines as noise levels increase, with robust designs maintaining functionality even at NII values of 0.8 or higher under severe interference.
Energy efficiency metrics specifically related to noise handling provide critical insights into real-world deployment viability. The Noise Suppression Energy Cost (NSEC), measured in picojoules per noise event, quantifies the energy overhead required for noise mitigation. Current state-of-the-art neuromorphic designs achieve NSEC values below 0.5 pJ/event, representing significant improvements over traditional computing architectures.
Temporal stability under noise fluctuations represents another crucial performance dimension. The Mean Time Between Noise-Induced Failures (MTBNF) measures how long a neuromorphic system can operate reliably before experiencing noise-related computational errors. Leading implementations demonstrate MTBNF values exceeding 1000 hours under standard operating conditions.
Comparative analysis frameworks have emerged to standardize testing across different neuromorphic architectures. The Neuromorphic Noise Response Profile (NNRP) provides a standardized testing protocol involving exposure to white noise, impulse noise, and frequency-specific interference patterns. This enables direct comparison between different chip designs under identical noise conditions.
Real-world application benchmarks complement laboratory metrics by evaluating performance in specific domains like audio processing, visual pattern recognition under poor lighting, and sensor data interpretation in electromagnetically noisy environments. The Neuromorphic Environmental Resilience Score (NERS) aggregates performance across these practical scenarios, with current generation chips achieving NERS values between 75-85 out of 100.
These benchmarking methodologies collectively enable objective evaluation of neuromorphic chips' noise handling capabilities, driving continuous improvement in designs and facilitating appropriate technology selection for specific application requirements.
Noise Immunity Index (NII) offers a comprehensive assessment by measuring performance degradation under incrementally intensified noise conditions. This metric evaluates how gracefully chip performance declines as noise levels increase, with robust designs maintaining functionality even at NII values of 0.8 or higher under severe interference.
Energy efficiency metrics specifically related to noise handling provide critical insights into real-world deployment viability. The Noise Suppression Energy Cost (NSEC), measured in picojoules per noise event, quantifies the energy overhead required for noise mitigation. Current state-of-the-art neuromorphic designs achieve NSEC values below 0.5 pJ/event, representing significant improvements over traditional computing architectures.
Temporal stability under noise fluctuations represents another crucial performance dimension. The Mean Time Between Noise-Induced Failures (MTBNF) measures how long a neuromorphic system can operate reliably before experiencing noise-related computational errors. Leading implementations demonstrate MTBNF values exceeding 1000 hours under standard operating conditions.
Comparative analysis frameworks have emerged to standardize testing across different neuromorphic architectures. The Neuromorphic Noise Response Profile (NNRP) provides a standardized testing protocol involving exposure to white noise, impulse noise, and frequency-specific interference patterns. This enables direct comparison between different chip designs under identical noise conditions.
Real-world application benchmarks complement laboratory metrics by evaluating performance in specific domains like audio processing, visual pattern recognition under poor lighting, and sensor data interpretation in electromagnetically noisy environments. The Neuromorphic Environmental Resilience Score (NERS) aggregates performance across these practical scenarios, with current generation chips achieving NERS values between 75-85 out of 100.
These benchmarking methodologies collectively enable objective evaluation of neuromorphic chips' noise handling capabilities, driving continuous improvement in designs and facilitating appropriate technology selection for specific application requirements.
Unlock deeper insights with Patsnap Eureka Quick Research — get a full tech report to explore trends and direct your research. Try now!
Generate Your Research Report Instantly with AI Agent
Supercharge your innovation with Patsnap Eureka AI Agent Platform!







