Hybrid CSAC + Crystal Oscillator Architectures For Improved Stability
AUG 29, 202510 MIN READ
Generate Your Research Report Instantly with AI Agent
Patsnap Eureka helps you evaluate technical feasibility & market potential.
Hybrid Timing Technology Background and Objectives
Timing technology has evolved significantly over the past century, from mechanical clocks to atomic frequency standards. The integration of Chip-Scale Atomic Clocks (CSACs) with traditional crystal oscillators represents a pivotal advancement in precision timing solutions. This hybrid approach combines the long-term stability of atomic references with the short-term precision and cost-effectiveness of quartz-based oscillators, addressing critical needs across telecommunications, navigation, and defense sectors.
The evolution of timing technology has been driven by increasing demands for synchronization in distributed systems, precise positioning in GNSS applications, and secure communications in defense networks. Traditional crystal oscillators, while offering excellent short-term stability and low phase noise, suffer from aging effects and environmental sensitivities that limit their long-term performance. Conversely, atomic frequency standards provide superior long-term stability but often at higher costs, greater power consumption, and with inferior short-term performance characteristics.
The concept of hybridizing these technologies emerged in the early 2000s, with significant acceleration following the development of miniaturized atomic clocks by DARPA in 2004. The subsequent commercialization of CSACs around 2011 created new possibilities for integrated timing solutions that leverage the complementary strengths of both technologies. This hybridization aims to achieve performance levels previously attainable only with larger, more expensive atomic standards.
Current technological objectives for hybrid CSAC and crystal oscillator architectures focus on several key areas: reducing size, weight, and power (SWaP) requirements; enhancing environmental robustness; improving short-term stability while maintaining long-term performance; and developing intelligent algorithms for optimal disciplining and environmental compensation. These objectives align with broader industry trends toward miniaturization, increased autonomy, and enhanced reliability in critical timing applications.
The market for precision timing is expanding beyond traditional telecommunications infrastructure into emerging fields such as autonomous vehicles, distributed IoT networks, and next-generation 5G/6G communications systems. Each of these applications presents unique requirements for timing stability across different timescales, driving innovation in hybrid architectures that can deliver optimized performance profiles.
Looking forward, the technology roadmap for hybrid timing solutions anticipates continued improvements in CSAC technology, particularly in reducing power consumption and enhancing radiation hardness. Parallel developments in crystal oscillator technology, including advanced materials and novel resonator designs, will complement these advancements. The ultimate goal is to develop timing solutions that offer the stability of laboratory-grade references in field-deployable, commercially viable packages that can operate reliably in diverse and challenging environments.
The evolution of timing technology has been driven by increasing demands for synchronization in distributed systems, precise positioning in GNSS applications, and secure communications in defense networks. Traditional crystal oscillators, while offering excellent short-term stability and low phase noise, suffer from aging effects and environmental sensitivities that limit their long-term performance. Conversely, atomic frequency standards provide superior long-term stability but often at higher costs, greater power consumption, and with inferior short-term performance characteristics.
The concept of hybridizing these technologies emerged in the early 2000s, with significant acceleration following the development of miniaturized atomic clocks by DARPA in 2004. The subsequent commercialization of CSACs around 2011 created new possibilities for integrated timing solutions that leverage the complementary strengths of both technologies. This hybridization aims to achieve performance levels previously attainable only with larger, more expensive atomic standards.
Current technological objectives for hybrid CSAC and crystal oscillator architectures focus on several key areas: reducing size, weight, and power (SWaP) requirements; enhancing environmental robustness; improving short-term stability while maintaining long-term performance; and developing intelligent algorithms for optimal disciplining and environmental compensation. These objectives align with broader industry trends toward miniaturization, increased autonomy, and enhanced reliability in critical timing applications.
The market for precision timing is expanding beyond traditional telecommunications infrastructure into emerging fields such as autonomous vehicles, distributed IoT networks, and next-generation 5G/6G communications systems. Each of these applications presents unique requirements for timing stability across different timescales, driving innovation in hybrid architectures that can deliver optimized performance profiles.
Looking forward, the technology roadmap for hybrid timing solutions anticipates continued improvements in CSAC technology, particularly in reducing power consumption and enhancing radiation hardness. Parallel developments in crystal oscillator technology, including advanced materials and novel resonator designs, will complement these advancements. The ultimate goal is to develop timing solutions that offer the stability of laboratory-grade references in field-deployable, commercially viable packages that can operate reliably in diverse and challenging environments.
Market Analysis for Precision Timing Solutions
The precision timing solutions market is experiencing robust growth, driven by increasing demand across multiple sectors including telecommunications, defense, aerospace, and scientific research. The global market for precision timing devices was valued at approximately 7.5 billion USD in 2022 and is projected to reach 12.3 billion USD by 2028, representing a compound annual growth rate (CAGR) of 8.6%. This growth trajectory is particularly significant for hybrid CSAC (Chip-Scale Atomic Clock) and crystal oscillator architectures, which are positioned at the premium end of the timing solutions spectrum.
Telecommunications infrastructure, especially with the ongoing deployment of 5G networks, remains the largest market segment, accounting for roughly 35% of the total market share. The stringent timing requirements of 5G networks, which demand phase synchronization accuracy better than 1.5 microseconds, have created substantial demand for high-stability timing solutions that hybrid architectures can provide.
Defense and aerospace applications constitute the second-largest market segment at approximately 28%. These sectors require timing solutions that can operate reliably in harsh environments while maintaining exceptional stability. The reduced size, weight, and power consumption (SWaP) characteristics of hybrid CSAC and crystal oscillator systems make them particularly attractive for military communications, navigation systems, and satellite applications.
The industrial and scientific research sectors collectively represent about 20% of the market. These applications include distributed control systems, scientific instrumentation, and metrology, where precise timing is critical for experimental validity and system coordination. The remaining market share is distributed among emerging applications such as autonomous vehicles, smart grid infrastructure, and quantum computing systems.
Geographically, North America leads the market with approximately 40% share, followed by Europe (25%) and Asia-Pacific (23%). The Asia-Pacific region is expected to show the highest growth rate over the next five years, driven by rapid infrastructure development and increasing technological adoption in countries like China, Japan, and South Korea.
Customer requirements are increasingly focused on improved long-term stability, reduced phase noise, enhanced environmental resilience, and lower power consumption. The hybrid CSAC and crystal oscillator architecture addresses these needs by combining the short-term stability of crystal oscillators with the long-term stability of atomic references, creating a compelling value proposition for customers requiring the highest performance levels.
Market analysis indicates that while cost remains a significant barrier to widespread adoption, the price premium for hybrid solutions is gradually decreasing as manufacturing processes mature and economies of scale are realized. This trend is expected to accelerate market penetration across various industry verticals in the coming years.
Telecommunications infrastructure, especially with the ongoing deployment of 5G networks, remains the largest market segment, accounting for roughly 35% of the total market share. The stringent timing requirements of 5G networks, which demand phase synchronization accuracy better than 1.5 microseconds, have created substantial demand for high-stability timing solutions that hybrid architectures can provide.
Defense and aerospace applications constitute the second-largest market segment at approximately 28%. These sectors require timing solutions that can operate reliably in harsh environments while maintaining exceptional stability. The reduced size, weight, and power consumption (SWaP) characteristics of hybrid CSAC and crystal oscillator systems make them particularly attractive for military communications, navigation systems, and satellite applications.
The industrial and scientific research sectors collectively represent about 20% of the market. These applications include distributed control systems, scientific instrumentation, and metrology, where precise timing is critical for experimental validity and system coordination. The remaining market share is distributed among emerging applications such as autonomous vehicles, smart grid infrastructure, and quantum computing systems.
Geographically, North America leads the market with approximately 40% share, followed by Europe (25%) and Asia-Pacific (23%). The Asia-Pacific region is expected to show the highest growth rate over the next five years, driven by rapid infrastructure development and increasing technological adoption in countries like China, Japan, and South Korea.
Customer requirements are increasingly focused on improved long-term stability, reduced phase noise, enhanced environmental resilience, and lower power consumption. The hybrid CSAC and crystal oscillator architecture addresses these needs by combining the short-term stability of crystal oscillators with the long-term stability of atomic references, creating a compelling value proposition for customers requiring the highest performance levels.
Market analysis indicates that while cost remains a significant barrier to widespread adoption, the price premium for hybrid solutions is gradually decreasing as manufacturing processes mature and economies of scale are realized. This trend is expected to accelerate market penetration across various industry verticals in the coming years.
CSAC and Crystal Oscillator Integration Challenges
The integration of Chip-Scale Atomic Clocks (CSACs) with crystal oscillators presents significant technical challenges despite the potential benefits of such hybrid architectures. One primary challenge lies in the impedance matching between these two fundamentally different timing technologies. CSACs operate based on quantum properties of atoms, while crystal oscillators function through mechanical resonance, creating interface complexities that require sophisticated signal conditioning circuits.
Temperature sensitivity represents another major integration hurdle. CSACs maintain excellent long-term stability but exhibit temperature-dependent frequency shifts that differ significantly from those of crystal oscillators. This differential response to environmental temperature variations necessitates complex compensation algorithms and thermal management systems to maintain overall system stability across operating conditions.
Power management presents a substantial challenge in hybrid architectures. CSACs typically consume significantly more power than crystal oscillators, particularly during warm-up phases. Designing power distribution networks that can efficiently handle these disparate requirements while maintaining signal integrity proves technically demanding, especially for portable or battery-powered applications where energy efficiency is paramount.
Phase noise characteristics differ substantially between these technologies. Crystal oscillators generally exhibit superior close-in phase noise performance, while CSACs offer better long-term stability. Effectively combining these complementary characteristics requires sophisticated phase-locked loop designs and noise filtering techniques to achieve optimal overall performance without introducing additional jitter or instability.
Size and form factor integration presents physical design challenges. Despite their "chip-scale" designation, CSACs remain considerably larger than modern crystal oscillator packages. Creating compact hybrid solutions necessitates advanced packaging technologies and three-dimensional integration approaches to minimize footprint while maintaining thermal isolation between components.
Calibration and synchronization between the two timing sources introduce additional complexity. Developing algorithms that can seamlessly transition between timing references while maintaining phase coherence requires sophisticated digital signal processing capabilities and adaptive control systems.
Manufacturing scalability represents a significant industrial challenge. CSACs involve complex physics packages and specialized materials, making their production processes fundamentally different from the well-established crystal oscillator manufacturing techniques. Creating integrated production lines capable of efficiently assembling hybrid solutions at scale remains problematic for widespread commercial adoption.
Reliability testing methodologies must also be reconsidered for hybrid architectures. Traditional accelerated aging techniques used for crystal oscillators may not accurately predict the long-term behavior of atomic clock components, necessitating new qualification standards and test procedures for these integrated timing solutions.
Temperature sensitivity represents another major integration hurdle. CSACs maintain excellent long-term stability but exhibit temperature-dependent frequency shifts that differ significantly from those of crystal oscillators. This differential response to environmental temperature variations necessitates complex compensation algorithms and thermal management systems to maintain overall system stability across operating conditions.
Power management presents a substantial challenge in hybrid architectures. CSACs typically consume significantly more power than crystal oscillators, particularly during warm-up phases. Designing power distribution networks that can efficiently handle these disparate requirements while maintaining signal integrity proves technically demanding, especially for portable or battery-powered applications where energy efficiency is paramount.
Phase noise characteristics differ substantially between these technologies. Crystal oscillators generally exhibit superior close-in phase noise performance, while CSACs offer better long-term stability. Effectively combining these complementary characteristics requires sophisticated phase-locked loop designs and noise filtering techniques to achieve optimal overall performance without introducing additional jitter or instability.
Size and form factor integration presents physical design challenges. Despite their "chip-scale" designation, CSACs remain considerably larger than modern crystal oscillator packages. Creating compact hybrid solutions necessitates advanced packaging technologies and three-dimensional integration approaches to minimize footprint while maintaining thermal isolation between components.
Calibration and synchronization between the two timing sources introduce additional complexity. Developing algorithms that can seamlessly transition between timing references while maintaining phase coherence requires sophisticated digital signal processing capabilities and adaptive control systems.
Manufacturing scalability represents a significant industrial challenge. CSACs involve complex physics packages and specialized materials, making their production processes fundamentally different from the well-established crystal oscillator manufacturing techniques. Creating integrated production lines capable of efficiently assembling hybrid solutions at scale remains problematic for widespread commercial adoption.
Reliability testing methodologies must also be reconsidered for hybrid architectures. Traditional accelerated aging techniques used for crystal oscillators may not accurately predict the long-term behavior of atomic clock components, necessitating new qualification standards and test procedures for these integrated timing solutions.
Current Hybrid CSAC-Crystal Oscillator Implementations
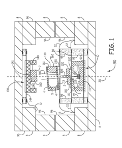
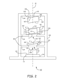
01 CSAC and Crystal Oscillator Integration for Enhanced Stability
Hybrid architectures combining Chip-Scale Atomic Clocks (CSAC) with crystal oscillators leverage the complementary strengths of both technologies. CSACs provide excellent long-term stability while crystal oscillators offer superior short-term stability and phase noise performance. This integration creates timing systems with improved overall stability across different time scales, making them suitable for applications requiring precise timing under varying environmental conditions.- Hybrid CSAC and crystal oscillator integration for improved stability: Hybrid architectures combining Chip-Scale Atomic Clocks (CSAC) with crystal oscillators leverage the long-term stability of atomic references and the short-term precision of crystal oscillators. This integration creates timing systems with enhanced overall stability across different timescales. The CSAC provides excellent long-term frequency accuracy while the crystal oscillator contributes superior phase noise characteristics in the short term, resulting in a complementary system that outperforms either technology alone.
- Temperature compensation techniques for hybrid timing systems: Temperature variations significantly impact the stability of both atomic clocks and crystal oscillators. Advanced temperature compensation techniques are implemented in hybrid architectures to maintain frequency stability across operating environments. These methods include digital temperature compensation algorithms, oven-controlled environments, and adaptive calibration systems that continuously adjust for thermal effects, ensuring consistent performance in varying conditions.
- Feedback control mechanisms for frequency synchronization: Sophisticated feedback control systems are employed to synchronize the CSAC reference with crystal oscillators. These mechanisms continuously monitor frequency deviations and apply corrections to maintain phase coherence between the two oscillator types. The control loops typically include phase detectors, loop filters, and voltage-controlled elements that work together to minimize drift and ensure stable operation over extended periods.
- Power management strategies for hybrid timing architectures: Efficient power management is critical for hybrid CSAC and crystal oscillator systems, particularly in portable or battery-operated applications. Advanced designs implement selective activation of the atomic reference, dynamic power scaling based on stability requirements, and sleep modes that maintain time synchronization while minimizing energy consumption. These strategies extend operational life while preserving timing accuracy.
- Signal processing techniques for noise reduction: Specialized signal processing algorithms are implemented to reduce noise and enhance stability in hybrid timing systems. These techniques include digital filtering, adaptive noise cancellation, and statistical averaging methods that improve the signal-to-noise ratio of the timing outputs. Advanced processing approaches combine the complementary characteristics of both oscillator types to achieve optimal performance across different frequency bands and observation intervals.
02 Temperature Compensation Techniques in Hybrid Timing Systems
Temperature variations significantly affect the stability of oscillators. Advanced temperature compensation techniques in hybrid CSAC and crystal oscillator architectures include digital temperature compensation algorithms, oven-controlled environments, and adaptive calibration methods. These approaches minimize frequency drift due to temperature fluctuations, ensuring consistent performance across a wide operating temperature range and improving the overall stability of the timing system.Expand Specific Solutions03 Feedback Control Systems for Stability Enhancement
Sophisticated feedback control systems are implemented in hybrid timing architectures to continuously monitor and adjust the output frequency. These systems compare the crystal oscillator output with the CSAC reference and apply correction factors to minimize drift. Advanced algorithms including Kalman filtering and predictive modeling help anticipate and compensate for environmental and aging effects, resulting in significantly improved long-term stability performance.Expand Specific Solutions04 Power Management in Hybrid Timing Architectures
Efficient power management is critical for stable operation of hybrid CSAC and crystal oscillator systems, especially in portable or battery-powered applications. Innovative power distribution schemes, sleep modes, and dynamic power allocation between the atomic clock and crystal oscillator components help maintain stability while optimizing energy consumption. These techniques ensure consistent performance during power fluctuations and extend operational lifetime without compromising timing accuracy.Expand Specific Solutions05 Miniaturization and Integration Technologies
Advanced packaging and integration technologies enable the miniaturization of hybrid CSAC and crystal oscillator systems while maintaining stability. Techniques such as 3D integration, system-in-package approaches, and MEMS fabrication allow for compact designs with improved thermal management and reduced electromagnetic interference. These integration methods minimize signal path lengths and coupling effects, resulting in enhanced stability performance in smaller form factors suitable for space-constrained applications.Expand Specific Solutions
Leading Manufacturers in Precision Timing Industry
The hybrid CSAC (Chip-Scale Atomic Clock) and crystal oscillator architecture market is currently in a growth phase, with increasing demand for high-precision timing solutions across telecommunications, defense, and navigation sectors. The global market is projected to expand significantly as applications requiring ultra-stable frequency references proliferate. Technologically, industry leaders like Microsemi (Microchip), Analog Devices, and Murata Manufacturing are advancing integration techniques that combine the long-term stability of atomic references with the short-term precision of crystal oscillators. Companies including Nihon Dempa Kogyo, Daishinku, and SII Crystal Technology focus on specialized crystal components, while system integrators like Raytheon, ViaSat, and STMicroelectronics are developing complete timing solutions. The technology is approaching maturity in defense applications but remains emergent in commercial sectors, with significant innovation occurring in miniaturization and power efficiency.
Analog Devices, Inc.
Technical Solution: Analog Devices has pioneered an advanced hybrid timing solution that combines CSAC technology with precision crystal oscillators through their proprietary QuartzPlus™ architecture. This system utilizes a physics package containing cesium atoms for absolute frequency reference while integrating ultra-low noise crystal oscillators for short-term stability. The architecture employs a sophisticated phase-locked loop (PLL) system that dynamically adjusts the disciplining algorithm based on environmental conditions and operational requirements. ADI's implementation features adaptive filtering techniques that optimize the crossover point between the atomic reference and crystal oscillator domains, typically occurring between 1-100 seconds of averaging time. Their solution achieves stability performance of approximately 5×10^-13 over one day while maintaining phase noise performance below -130 dBc/Hz at 10 Hz offset, significantly outperforming standalone CSAC solutions. The system incorporates temperature, vibration, and aging compensation algorithms that continuously calibrate the crystal oscillator against the atomic reference.
Strengths: Industry-leading phase noise performance, exceptional stability across temperature ranges (-40°C to +85°C), and sophisticated adaptive algorithms that optimize performance for specific applications. Weaknesses: Higher power consumption during initial warm-up phase, premium pricing compared to conventional timing solutions, and requires periodic firmware updates to maintain optimal performance as the components age.
ViaSat, Inc.
Technical Solution: ViaSat has developed a specialized hybrid timing architecture optimized for satellite communications and defense applications that combines CSAC technology with radiation-hardened crystal oscillators. Their solution implements a distributed synchronization architecture where multiple oscillators are hierarchically disciplined by a central atomic reference. The system employs proprietary "AdaptiveSync" algorithms that continuously evaluate the performance of each timing element and dynamically adjust the weighting factors in the composite timing solution. ViaSat's implementation features advanced radiation mitigation techniques including triple-redundant logic, error detection and correction mechanisms, and specialized shielding for the atomic physics package. Their architecture achieves stability performance of approximately 1×10^-12 over temperature ranges from -55°C to +125°C while maintaining phase noise performance suitable for high-data-rate satellite communications. The system incorporates specialized anti-jamming technology that can detect and mitigate intentional interference with the timing signals, making it particularly suitable for defense and secure communications applications.
Strengths: Exceptional radiation hardness suitable for space applications, advanced security features protecting against timing attacks, and robust performance under extreme environmental conditions. Weaknesses: Significantly higher cost than commercial-grade solutions, larger size and weight compared to consumer-oriented alternatives, and higher power consumption due to redundancy and security features.
Key Patents in Hybrid Timing Architectures
Molecular clock
PatentActiveUS20190235445A1
Innovation
- A molecular clock utilizing rotational-state transitions of gaseous polar molecules in the sub-THz region, integrated with CMOS technology, providing a compact, low-power, and robust frequency reference with enhanced stability and instant start-up capabilities.
Design and processes for stabilizing a vcsel in a chip-scale atomic clock
PatentInactiveEP2355273A2
Innovation
- The method involves positioning components on a scaffolding such that the emitting surface of the laser is non-parallel to the partially reflective surfaces of other components, preventing optical feedback by tilting these surfaces using posts and adhesive materials to direct reflected light away from the laser.
Temperature Compensation Techniques for Hybrid Systems
Temperature compensation represents a critical aspect of hybrid CSAC (Chip-Scale Atomic Clock) and crystal oscillator architectures, addressing one of the most significant challenges in precision timing systems. These hybrid systems inherently suffer from temperature-induced frequency variations that can compromise their stability performance across operational environments.
The primary temperature compensation techniques employed in hybrid systems can be categorized into three main approaches: digital compensation, analog compensation, and hybrid compensation methodologies. Digital compensation techniques utilize temperature sensors and digital signal processing algorithms to model and correct frequency deviations. These systems typically employ look-up tables or polynomial correction functions that are calibrated during manufacturing to account for the unique temperature response characteristics of each device.
Analog compensation methods implement hardware-based solutions that directly counteract temperature effects through circuit design. These include temperature-compensated crystal oscillators (TCXOs) that use thermistors or varactor diodes to adjust the oscillator frequency in response to temperature changes. When integrated with CSACs, these analog compensation circuits can significantly reduce the temperature sensitivity of the combined system.
Hybrid compensation approaches merge both digital and analog techniques to achieve superior performance. These systems often employ multi-level compensation where coarse corrections are handled by analog circuits for immediate response, while fine-tuning is managed by digital algorithms that can address complex non-linear temperature behaviors. This dual-layer approach has demonstrated remarkable improvements in stability across wide temperature ranges.
Recent advancements in temperature compensation include machine learning-based calibration methods that can adapt to aging effects and environmental changes over time. These adaptive systems continuously refine their compensation models based on operational data, resulting in improved long-term stability. Additionally, novel materials with inherently lower temperature coefficients are being integrated into hybrid timing systems to reduce the fundamental temperature sensitivity before compensation is applied.
The effectiveness of temperature compensation techniques is typically evaluated using Allan deviation measurements across temperature ramps and holds. State-of-the-art hybrid systems have achieved temperature stability improvements of two to three orders of magnitude compared to uncompensated systems, with temperature coefficients below 1×10^-11 per degree Celsius in optimal implementations.
Future developments in temperature compensation for hybrid CSAC and crystal oscillator architectures are focusing on miniaturization of compensation circuits, reduced power consumption, and integration of environmental sensors beyond temperature to address pressure and humidity effects that can also impact frequency stability.
The primary temperature compensation techniques employed in hybrid systems can be categorized into three main approaches: digital compensation, analog compensation, and hybrid compensation methodologies. Digital compensation techniques utilize temperature sensors and digital signal processing algorithms to model and correct frequency deviations. These systems typically employ look-up tables or polynomial correction functions that are calibrated during manufacturing to account for the unique temperature response characteristics of each device.
Analog compensation methods implement hardware-based solutions that directly counteract temperature effects through circuit design. These include temperature-compensated crystal oscillators (TCXOs) that use thermistors or varactor diodes to adjust the oscillator frequency in response to temperature changes. When integrated with CSACs, these analog compensation circuits can significantly reduce the temperature sensitivity of the combined system.
Hybrid compensation approaches merge both digital and analog techniques to achieve superior performance. These systems often employ multi-level compensation where coarse corrections are handled by analog circuits for immediate response, while fine-tuning is managed by digital algorithms that can address complex non-linear temperature behaviors. This dual-layer approach has demonstrated remarkable improvements in stability across wide temperature ranges.
Recent advancements in temperature compensation include machine learning-based calibration methods that can adapt to aging effects and environmental changes over time. These adaptive systems continuously refine their compensation models based on operational data, resulting in improved long-term stability. Additionally, novel materials with inherently lower temperature coefficients are being integrated into hybrid timing systems to reduce the fundamental temperature sensitivity before compensation is applied.
The effectiveness of temperature compensation techniques is typically evaluated using Allan deviation measurements across temperature ramps and holds. State-of-the-art hybrid systems have achieved temperature stability improvements of two to three orders of magnitude compared to uncompensated systems, with temperature coefficients below 1×10^-11 per degree Celsius in optimal implementations.
Future developments in temperature compensation for hybrid CSAC and crystal oscillator architectures are focusing on miniaturization of compensation circuits, reduced power consumption, and integration of environmental sensors beyond temperature to address pressure and humidity effects that can also impact frequency stability.
Power Efficiency Considerations in Hybrid Timing Solutions
Power efficiency represents a critical consideration in the development of hybrid timing solutions that combine Chip-Scale Atomic Clocks (CSACs) and crystal oscillators. The fundamental challenge lies in balancing the superior stability characteristics of these hybrid architectures against their energy consumption profiles, particularly for applications with strict power constraints.
CSACs typically consume significantly more power than traditional crystal oscillators, with current commercial models requiring 120-150 mW during steady-state operation. This power requirement, while substantially reduced from earlier generations, still presents limitations for battery-powered and energy-constrained applications. Crystal oscillators, by comparison, operate at power levels measured in microwatts to low milliwatts, making them substantially more efficient for continuous operation.
The hybrid architecture leverages complementary strengths of both technologies through intelligent power management strategies. Dynamic switching mechanisms can be implemented to activate the CSAC only when high precision is required or during periodic calibration events, while relying on the crystal oscillator for routine timing functions. This approach can reduce average power consumption by up to 80% compared to continuous CSAC operation.
Temperature compensation techniques further enhance power efficiency by optimizing the thermal management of both components. Since CSACs exhibit significant power consumption during warm-up phases (often 0.5-1W), thermal isolation and shared heating elements between components can reduce overall energy requirements. Advanced thermal modeling algorithms predict optimal operating conditions, minimizing unnecessary heating cycles.
Recent innovations in low-power disciplining algorithms have demonstrated promising results, where crystal oscillators are disciplined by the CSAC using adaptive sampling rates based on environmental conditions and stability requirements. These algorithms dynamically adjust the frequency of CSAC reference checks according to detected drift patterns, environmental changes, and application-specific stability requirements.
The integration of ultra-low-power microcontrollers dedicated to timing management has emerged as another efficiency enhancement. These specialized controllers implement sophisticated power gating techniques, voltage scaling, and clock domain partitioning to minimize energy consumption across the hybrid timing system while maintaining performance targets.
For mission-critical applications requiring continuous operation, energy harvesting technologies are increasingly being paired with hybrid timing solutions. Ambient energy sources such as vibration, temperature gradients, or light can supplement battery power, extending operational lifetimes while maintaining the stability advantages of the hybrid architecture.
CSACs typically consume significantly more power than traditional crystal oscillators, with current commercial models requiring 120-150 mW during steady-state operation. This power requirement, while substantially reduced from earlier generations, still presents limitations for battery-powered and energy-constrained applications. Crystal oscillators, by comparison, operate at power levels measured in microwatts to low milliwatts, making them substantially more efficient for continuous operation.
The hybrid architecture leverages complementary strengths of both technologies through intelligent power management strategies. Dynamic switching mechanisms can be implemented to activate the CSAC only when high precision is required or during periodic calibration events, while relying on the crystal oscillator for routine timing functions. This approach can reduce average power consumption by up to 80% compared to continuous CSAC operation.
Temperature compensation techniques further enhance power efficiency by optimizing the thermal management of both components. Since CSACs exhibit significant power consumption during warm-up phases (often 0.5-1W), thermal isolation and shared heating elements between components can reduce overall energy requirements. Advanced thermal modeling algorithms predict optimal operating conditions, minimizing unnecessary heating cycles.
Recent innovations in low-power disciplining algorithms have demonstrated promising results, where crystal oscillators are disciplined by the CSAC using adaptive sampling rates based on environmental conditions and stability requirements. These algorithms dynamically adjust the frequency of CSAC reference checks according to detected drift patterns, environmental changes, and application-specific stability requirements.
The integration of ultra-low-power microcontrollers dedicated to timing management has emerged as another efficiency enhancement. These specialized controllers implement sophisticated power gating techniques, voltage scaling, and clock domain partitioning to minimize energy consumption across the hybrid timing system while maintaining performance targets.
For mission-critical applications requiring continuous operation, energy harvesting technologies are increasingly being paired with hybrid timing solutions. Ambient energy sources such as vibration, temperature gradients, or light can supplement battery power, extending operational lifetimes while maintaining the stability advantages of the hybrid architecture.
Unlock deeper insights with Patsnap Eureka Quick Research — get a full tech report to explore trends and direct your research. Try now!
Generate Your Research Report Instantly with AI Agent
Supercharge your innovation with Patsnap Eureka AI Agent Platform!