What Drives the Adoption of Neuromorphic Chips in EdTech?
OCT 9, 20259 MIN READ
Generate Your Research Report Instantly with AI Agent
Patsnap Eureka helps you evaluate technical feasibility & market potential.
Neuromorphic Computing Evolution and Objectives
Neuromorphic computing represents a paradigm shift in computational architecture, drawing inspiration from the structure and functioning of the human brain. This field has evolved significantly since the 1980s when Carver Mead first introduced the concept. The initial focus was on mimicking neural networks through hardware implementation, utilizing analog circuits to replicate neuronal behavior. These early systems demonstrated potential but were limited by the technology available at the time.
The 2000s marked a significant advancement with the development of more sophisticated neuromorphic architectures. IBM's TrueNorth and Intel's Loihi chips emerged as pioneering examples, demonstrating the feasibility of large-scale neuromorphic systems. These developments coincided with the broader AI revolution, creating a fertile ground for neuromorphic computing to gain traction in various applications, including educational technology.
In the educational technology sector, neuromorphic computing aims to address several critical objectives. Primarily, these chips seek to enable more efficient processing of complex learning algorithms directly on edge devices, reducing dependency on cloud infrastructure. This capability is particularly valuable for personalized learning applications that require real-time processing of student interactions and adaptive content delivery.
Energy efficiency represents another crucial objective. Traditional computing architectures consume substantial power when running sophisticated AI models, limiting their deployment in resource-constrained educational settings. Neuromorphic chips, with their event-driven processing approach, offer significant power savings, potentially enabling AI-enhanced learning tools in environments with limited infrastructure.
The temporal processing capabilities of neuromorphic systems align well with the sequential nature of learning processes. These chips excel at processing time-series data and recognizing patterns over time, making them particularly suitable for analyzing student learning trajectories and adapting instructional approaches accordingly.
Looking forward, the evolution of neuromorphic computing in educational technology is trending toward greater integration with existing educational frameworks. Research efforts are increasingly focused on developing specialized neuromorphic architectures optimized for learning analytics, natural language processing for educational applications, and cognitive modeling of student learning processes.
The ultimate technical objective is to create neuromorphic systems that can support truly adaptive learning environments—ones that can process multimodal inputs (text, speech, visual cues), recognize emotional states, and dynamically adjust learning experiences in real-time while operating within the practical constraints of educational settings.
The 2000s marked a significant advancement with the development of more sophisticated neuromorphic architectures. IBM's TrueNorth and Intel's Loihi chips emerged as pioneering examples, demonstrating the feasibility of large-scale neuromorphic systems. These developments coincided with the broader AI revolution, creating a fertile ground for neuromorphic computing to gain traction in various applications, including educational technology.
In the educational technology sector, neuromorphic computing aims to address several critical objectives. Primarily, these chips seek to enable more efficient processing of complex learning algorithms directly on edge devices, reducing dependency on cloud infrastructure. This capability is particularly valuable for personalized learning applications that require real-time processing of student interactions and adaptive content delivery.
Energy efficiency represents another crucial objective. Traditional computing architectures consume substantial power when running sophisticated AI models, limiting their deployment in resource-constrained educational settings. Neuromorphic chips, with their event-driven processing approach, offer significant power savings, potentially enabling AI-enhanced learning tools in environments with limited infrastructure.
The temporal processing capabilities of neuromorphic systems align well with the sequential nature of learning processes. These chips excel at processing time-series data and recognizing patterns over time, making them particularly suitable for analyzing student learning trajectories and adapting instructional approaches accordingly.
Looking forward, the evolution of neuromorphic computing in educational technology is trending toward greater integration with existing educational frameworks. Research efforts are increasingly focused on developing specialized neuromorphic architectures optimized for learning analytics, natural language processing for educational applications, and cognitive modeling of student learning processes.
The ultimate technical objective is to create neuromorphic systems that can support truly adaptive learning environments—ones that can process multimodal inputs (text, speech, visual cues), recognize emotional states, and dynamically adjust learning experiences in real-time while operating within the practical constraints of educational settings.
EdTech Market Demand for Brain-Inspired Computing
The educational technology market is experiencing a significant transformation driven by the integration of advanced computing technologies. Neuromorphic chips, which mimic the structure and functionality of the human brain, are emerging as a potentially revolutionary technology in this sector. The demand for these brain-inspired computing solutions in EdTech stems from several converging market factors.
Educational institutions are increasingly seeking personalized learning experiences that can adapt to individual student needs. Traditional computing architectures struggle to efficiently process the complex, unstructured data required for truly adaptive learning systems. Market research indicates that personalized learning platforms are projected to grow substantially over the next five years, creating a fertile ground for neuromorphic computing applications.
The rise of artificial intelligence in education has created a need for more efficient processing of machine learning algorithms. Conventional processors consume significant power when running complex AI models, making them impractical for many educational settings with limited resources. Neuromorphic chips offer an energy-efficient alternative that can process neural networks with a fraction of the power consumption, addressing a critical market constraint.
Remote and hybrid learning models, accelerated by global events, have created unprecedented demand for interactive, responsive educational technologies. These learning environments generate vast amounts of multimodal data that require real-time processing to maintain engagement and effectiveness. The parallel processing capabilities of neuromorphic systems are particularly well-suited to handle these demands.
Educational accessibility represents another significant market driver. Students with diverse learning needs require technologies that can adapt to different cognitive styles and abilities. Neuromorphic computing's ability to process sensory information in ways similar to human perception makes it particularly valuable for creating inclusive educational tools, especially for students with learning differences.
The growing focus on STEM education has also created market opportunities for neuromorphic computing. Educational institutions are seeking technologies that can not only teach computational thinking but also demonstrate cutting-edge concepts in neuroscience and computer engineering. Neuromorphic chips serve both as educational tools themselves and as enablers of more sophisticated learning experiences.
Budget constraints in educational settings have historically limited technology adoption. However, as neuromorphic computing technologies mature and manufacturing scales, the total cost of ownership is becoming increasingly competitive with traditional computing solutions, especially when accounting for energy savings and extended device lifespans in classroom environments.
Market analysis reveals that early adopters of neuromorphic technologies in education are primarily found in higher education research settings and specialized technical training programs. However, the potential applications are expanding into K-12 environments as the technology becomes more accessible and educational content developers begin to leverage its unique capabilities.
Educational institutions are increasingly seeking personalized learning experiences that can adapt to individual student needs. Traditional computing architectures struggle to efficiently process the complex, unstructured data required for truly adaptive learning systems. Market research indicates that personalized learning platforms are projected to grow substantially over the next five years, creating a fertile ground for neuromorphic computing applications.
The rise of artificial intelligence in education has created a need for more efficient processing of machine learning algorithms. Conventional processors consume significant power when running complex AI models, making them impractical for many educational settings with limited resources. Neuromorphic chips offer an energy-efficient alternative that can process neural networks with a fraction of the power consumption, addressing a critical market constraint.
Remote and hybrid learning models, accelerated by global events, have created unprecedented demand for interactive, responsive educational technologies. These learning environments generate vast amounts of multimodal data that require real-time processing to maintain engagement and effectiveness. The parallel processing capabilities of neuromorphic systems are particularly well-suited to handle these demands.
Educational accessibility represents another significant market driver. Students with diverse learning needs require technologies that can adapt to different cognitive styles and abilities. Neuromorphic computing's ability to process sensory information in ways similar to human perception makes it particularly valuable for creating inclusive educational tools, especially for students with learning differences.
The growing focus on STEM education has also created market opportunities for neuromorphic computing. Educational institutions are seeking technologies that can not only teach computational thinking but also demonstrate cutting-edge concepts in neuroscience and computer engineering. Neuromorphic chips serve both as educational tools themselves and as enablers of more sophisticated learning experiences.
Budget constraints in educational settings have historically limited technology adoption. However, as neuromorphic computing technologies mature and manufacturing scales, the total cost of ownership is becoming increasingly competitive with traditional computing solutions, especially when accounting for energy savings and extended device lifespans in classroom environments.
Market analysis reveals that early adopters of neuromorphic technologies in education are primarily found in higher education research settings and specialized technical training programs. However, the potential applications are expanding into K-12 environments as the technology becomes more accessible and educational content developers begin to leverage its unique capabilities.
Neuromorphic Chip Development Status and Barriers
Neuromorphic computing technology has evolved significantly over the past decade, yet several substantial barriers continue to impede widespread adoption in educational technology sectors. Current development status shows that while research-grade neuromorphic chips like IBM's TrueNorth, Intel's Loihi, and BrainChip's Akida have demonstrated impressive capabilities in pattern recognition and real-time learning, they remain primarily confined to laboratory environments rather than commercial EdTech applications.
The primary technical challenge facing neuromorphic chip implementation in education is the lack of standardization across hardware platforms. Different neuromorphic architectures employ varying approaches to spike-based computing, creating compatibility issues that complicate software development for educational applications. This fragmentation significantly increases development costs and creates barriers to entry for EdTech companies considering neuromorphic solutions.
Power efficiency, while theoretically superior to traditional computing architectures, remains inconsistent in practical implementations. Current neuromorphic chips still require substantial power for complex educational applications like real-time natural language processing or adaptive learning systems, limiting their deployment in resource-constrained educational environments, particularly in developing regions.
Manufacturing scalability presents another significant barrier. The specialized fabrication processes required for neuromorphic chips result in higher production costs compared to conventional processors. This cost premium makes mass deployment in budget-sensitive educational markets particularly challenging, especially for public education systems with limited technology budgets.
The software ecosystem surrounding neuromorphic computing remains underdeveloped for educational applications. Programming paradigms for spiking neural networks differ fundamentally from traditional computing approaches, creating a steep learning curve for developers. The scarcity of educational-specific development tools, frameworks, and pre-trained models significantly slows implementation timelines and increases development costs.
Geographical distribution of neuromorphic technology development shows concentration primarily in North America, Western Europe, and parts of East Asia, creating uneven access to expertise and resources. This imbalance potentially widens the technological divide in educational access globally, as regions with less neuromorphic research infrastructure face greater barriers to adoption.
Regulatory considerations regarding data privacy and security in educational contexts add another layer of complexity. Neuromorphic systems designed to adapt to individual learning patterns require substantial personal data, raising concerns about compliance with educational privacy regulations like FERPA in the US and GDPR in Europe, further complicating implementation pathways.
The primary technical challenge facing neuromorphic chip implementation in education is the lack of standardization across hardware platforms. Different neuromorphic architectures employ varying approaches to spike-based computing, creating compatibility issues that complicate software development for educational applications. This fragmentation significantly increases development costs and creates barriers to entry for EdTech companies considering neuromorphic solutions.
Power efficiency, while theoretically superior to traditional computing architectures, remains inconsistent in practical implementations. Current neuromorphic chips still require substantial power for complex educational applications like real-time natural language processing or adaptive learning systems, limiting their deployment in resource-constrained educational environments, particularly in developing regions.
Manufacturing scalability presents another significant barrier. The specialized fabrication processes required for neuromorphic chips result in higher production costs compared to conventional processors. This cost premium makes mass deployment in budget-sensitive educational markets particularly challenging, especially for public education systems with limited technology budgets.
The software ecosystem surrounding neuromorphic computing remains underdeveloped for educational applications. Programming paradigms for spiking neural networks differ fundamentally from traditional computing approaches, creating a steep learning curve for developers. The scarcity of educational-specific development tools, frameworks, and pre-trained models significantly slows implementation timelines and increases development costs.
Geographical distribution of neuromorphic technology development shows concentration primarily in North America, Western Europe, and parts of East Asia, creating uneven access to expertise and resources. This imbalance potentially widens the technological divide in educational access globally, as regions with less neuromorphic research infrastructure face greater barriers to adoption.
Regulatory considerations regarding data privacy and security in educational contexts add another layer of complexity. Neuromorphic systems designed to adapt to individual learning patterns require substantial personal data, raising concerns about compliance with educational privacy regulations like FERPA in the US and GDPR in Europe, further complicating implementation pathways.
Current Neuromorphic Solutions in Educational Applications
01 Neuromorphic architecture design and implementation
Neuromorphic chips are designed to mimic the structure and functionality of the human brain, using specialized hardware architectures that enable efficient processing of neural network operations. These designs incorporate parallel processing elements, synaptic connections, and memory structures that closely resemble biological neural systems. The architecture typically includes arrays of artificial neurons and synapses that can process information in a distributed manner, allowing for high computational efficiency while consuming less power compared to traditional computing architectures.- Neuromorphic architecture design and implementation: Neuromorphic chips are designed to mimic the structure and functionality of the human brain, using specialized architectures that integrate memory and processing units. These designs typically incorporate neural networks, synaptic connections, and spike-based processing to enable efficient parallel computation. The architecture often includes arrays of artificial neurons and synapses that can process information in a brain-like manner, allowing for more efficient handling of complex cognitive tasks while consuming less power than traditional computing architectures.
- Materials and fabrication techniques for neuromorphic devices: Advanced materials and fabrication techniques are essential for creating neuromorphic chips with brain-like capabilities. These include the use of novel semiconductor materials, memristive devices, phase-change materials, and other components that can mimic synaptic plasticity. Fabrication methods often involve specialized processes to create dense arrays of artificial neurons and synapses on a single chip, enabling high connectivity similar to biological neural networks while maintaining energy efficiency and computational power.
- Learning algorithms and training methods for neuromorphic systems: Neuromorphic chips employ specialized learning algorithms and training methods that enable them to adapt and learn from data, similar to biological neural networks. These include spike-timing-dependent plasticity (STDP), reinforcement learning, and various forms of supervised and unsupervised learning tailored for neuromorphic hardware. The algorithms are designed to work with the unique architecture of neuromorphic chips, allowing for efficient on-chip learning and adaptation to new data patterns without requiring extensive retraining or reprogramming.
- Energy efficiency and power optimization in neuromorphic computing: A key advantage of neuromorphic chips is their energy efficiency compared to traditional computing architectures. These chips achieve power optimization through various techniques including event-driven processing, sparse coding, and localized memory-processing integration. By processing information only when necessary and reducing data movement between memory and processing units, neuromorphic systems can perform complex cognitive tasks while consuming significantly less power, making them suitable for edge computing applications and battery-powered devices.
- Applications and integration of neuromorphic chips in various systems: Neuromorphic chips are being integrated into various systems and applications, including computer vision, speech recognition, autonomous vehicles, robotics, and IoT devices. These chips excel at pattern recognition, sensory processing, and decision-making tasks that traditionally require significant computational resources. Their ability to process sensory data efficiently makes them particularly valuable for real-time applications where power constraints and processing speed are critical factors. Integration methods often involve specialized interfaces to connect neuromorphic hardware with conventional computing systems.
02 Memristor-based neuromorphic computing
Memristors are used as key components in neuromorphic chips to implement synaptic functions due to their ability to maintain a state based on the history of applied voltage or current. These devices can store analog values representing synaptic weights, enabling efficient implementation of neural networks in hardware. Memristor-based neuromorphic systems offer advantages in terms of power efficiency, density, and the ability to perform both computation and memory functions in the same device, which is crucial for brain-inspired computing architectures.Expand Specific Solutions03 Spiking neural networks implementation
Spiking neural networks (SNNs) represent a biologically plausible approach to neural computation where information is transmitted through discrete spikes rather than continuous values. Neuromorphic chips designed for SNNs incorporate specialized circuits that can process temporal information efficiently, enabling event-driven computation that activates only when necessary. This approach significantly reduces power consumption compared to traditional artificial neural networks while maintaining computational capabilities for pattern recognition, classification, and other cognitive tasks.Expand Specific Solutions04 On-chip learning and adaptation mechanisms
Advanced neuromorphic chips incorporate on-chip learning capabilities that allow the system to adapt and modify its synaptic weights based on input patterns without external training. These chips implement various learning algorithms such as spike-timing-dependent plasticity (STDP), reinforcement learning, or supervised learning directly in hardware. On-chip learning enables continuous adaptation to new data, making these systems suitable for edge computing applications where real-time learning from environmental inputs is required.Expand Specific Solutions05 Energy-efficient neuromorphic computing solutions
Energy efficiency is a primary focus in neuromorphic chip design, with various techniques employed to minimize power consumption while maintaining computational performance. These include low-power circuit designs, asynchronous processing, event-driven computation, and specialized memory architectures. By operating at near-threshold voltages and utilizing sparse activation patterns similar to biological systems, neuromorphic chips can achieve orders of magnitude improvement in energy efficiency compared to conventional computing systems, making them suitable for battery-powered devices and edge computing applications.Expand Specific Solutions
Leading Companies in Neuromorphic Computing for Education
The neuromorphic chip market in EdTech is currently in its early growth phase, characterized by increasing adoption driven by AI-powered educational applications requiring efficient edge computing. The market is projected to expand significantly as educational institutions seek energy-efficient solutions for personalized learning experiences. From a technological maturity perspective, key players are at varying development stages. Industry leaders like IBM, Samsung, and Western Digital are leveraging their extensive R&D capabilities to develop advanced neuromorphic architectures, while specialized companies such as Syntiant and Polyn Technology are creating purpose-built solutions for educational applications. Academic institutions including Zhejiang University, Fudan University, and Beihang University are contributing significant research advancements, forming industry-academia partnerships that accelerate innovation in this emerging field.
SYNTIANT CORP
Technical Solution: Syntiant has developed the Neural Decision Processor (NDP) architecture specifically optimized for edge AI applications in education technology. Their neuromorphic chips employ an event-driven, spike-based processing approach that mimics human brain neural networks, enabling always-on voice and sensor processing with minimal power consumption. The NDP200 series specifically targets EdTech applications by supporting customizable keyword spotting, audio event detection, and sensor fusion capabilities essential for interactive learning environments. Syntiant's technology enables real-time natural language processing directly on educational devices without cloud connectivity requirements, processing audio at under 1mW power consumption while maintaining over 95% accuracy for voice commands and educational interactions. Their chips incorporate on-device deep learning capabilities with memory and processing integrated into a single architecture, eliminating the traditional von Neumann bottleneck that plagues conventional computing systems in educational applications.
Strengths: Ultra-low power consumption (sub-milliwatt operation) enables battery-powered educational devices with extended runtime; highly accurate voice recognition in noisy classroom environments; compact form factor suitable for integration into various educational hardware. Weaknesses: Limited computational capacity compared to larger neuromorphic systems; primarily focused on audio processing rather than comprehensive multimodal learning applications; requires specialized programming knowledge for educational software developers.
International Business Machines Corp.
Technical Solution: IBM has pioneered neuromorphic computing through its TrueNorth and subsequent neuromorphic architectures specifically adapted for educational technology applications. Their neuromorphic systems employ a non-von Neumann architecture with co-located memory and processing, mimicking the brain's neural structure with millions of programmable neurons and billions of synapses. For EdTech applications, IBM has developed specialized neuromorphic solutions that enable real-time natural language processing, visual recognition, and adaptive learning algorithms that operate at extremely low power consumption levels. Their chips feature massively parallel processing capabilities with distributed memory, allowing for complex pattern recognition essential for personalized learning systems. IBM's neuromorphic technology enables educational applications to perform sophisticated cognitive tasks like language understanding, visual recognition, and decision-making directly on-device, reducing latency and privacy concerns associated with cloud-based processing. The architecture's event-driven processing model is particularly suited for interactive educational environments where real-time responsiveness is critical for effective learning experiences.
Strengths: Highly scalable architecture supporting complex neural networks needed for advanced educational AI; significant power efficiency advantages over traditional computing architectures; robust research ecosystem and software development tools. Weaknesses: Higher implementation costs compared to conventional computing solutions; requires specialized programming expertise not widely available in educational software development; integration challenges with existing educational technology infrastructure.
Key Patents and Research in Brain-Inspired Computing
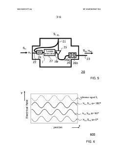
Optical neuron
PatentWO2019197134A1
Innovation
- An integrated optical circuit is designed to process phase-encoded optical input signals, converting them into amplitude-encoded signals for summation and then performing a non-linear conversion back into phase-encoded output signals, effectively emulating neuron functionality while operating in both the phase and amplitude domains.
Educational Policy Implications for Neuromorphic Technology
The integration of neuromorphic chips in educational technology necessitates thoughtful policy frameworks to ensure equitable access, appropriate implementation, and ethical use. Educational policymakers must consider developing comprehensive guidelines that address the integration of these brain-inspired computing systems into learning environments while balancing innovation with student privacy and educational equity.
National and regional education departments should establish clear regulatory frameworks specifically addressing neuromorphic technology in education. These frameworks must define standards for data collection, processing, and storage when using neuromorphic systems that may analyze student cognitive patterns or learning behaviors. Policies should mandate transparency in algorithmic decision-making processes to prevent potential biases in adaptive learning systems powered by these chips.
Funding allocation represents another critical policy consideration. Governments should develop targeted grant programs to support educational institutions in acquiring neuromorphic technology, particularly for underserved communities. This approach helps prevent a "neuromorphic divide" where only well-resourced schools can access these advanced learning tools. Additionally, policies should incentivize public-private partnerships between educational institutions and neuromorphic technology developers to create solutions specifically designed for diverse learning environments.
Teacher training policies require significant attention as neuromorphic technology enters classrooms. Education departments should establish certification requirements and professional development programs focused on neuromorphic-enhanced teaching methodologies. These policies must ensure educators understand both the technical capabilities and limitations of these systems while developing skills to effectively integrate them into pedagogical approaches.
Curriculum development policies must also evolve to incorporate neuromorphic technology. Educational standards should be updated to include computational thinking skills relevant to brain-inspired computing, while maintaining focus on fundamental knowledge acquisition. Policies should encourage interdisciplinary approaches that connect neuroscience, computer science, and traditional subject areas through neuromorphic applications.
Finally, assessment policies need reconsideration in light of neuromorphic technology's potential to personalize learning. Regulations should address how standardized testing might coexist with or be enhanced by neuromorphic-powered adaptive assessment systems. Policies must establish guidelines for using neuromorphic technology in formative assessment while ensuring summative evaluations remain fair across diverse technological implementations.
National and regional education departments should establish clear regulatory frameworks specifically addressing neuromorphic technology in education. These frameworks must define standards for data collection, processing, and storage when using neuromorphic systems that may analyze student cognitive patterns or learning behaviors. Policies should mandate transparency in algorithmic decision-making processes to prevent potential biases in adaptive learning systems powered by these chips.
Funding allocation represents another critical policy consideration. Governments should develop targeted grant programs to support educational institutions in acquiring neuromorphic technology, particularly for underserved communities. This approach helps prevent a "neuromorphic divide" where only well-resourced schools can access these advanced learning tools. Additionally, policies should incentivize public-private partnerships between educational institutions and neuromorphic technology developers to create solutions specifically designed for diverse learning environments.
Teacher training policies require significant attention as neuromorphic technology enters classrooms. Education departments should establish certification requirements and professional development programs focused on neuromorphic-enhanced teaching methodologies. These policies must ensure educators understand both the technical capabilities and limitations of these systems while developing skills to effectively integrate them into pedagogical approaches.
Curriculum development policies must also evolve to incorporate neuromorphic technology. Educational standards should be updated to include computational thinking skills relevant to brain-inspired computing, while maintaining focus on fundamental knowledge acquisition. Policies should encourage interdisciplinary approaches that connect neuroscience, computer science, and traditional subject areas through neuromorphic applications.
Finally, assessment policies need reconsideration in light of neuromorphic technology's potential to personalize learning. Regulations should address how standardized testing might coexist with or be enhanced by neuromorphic-powered adaptive assessment systems. Policies must establish guidelines for using neuromorphic technology in formative assessment while ensuring summative evaluations remain fair across diverse technological implementations.
Energy Efficiency and Sustainability Considerations
Energy efficiency represents a critical factor driving the adoption of neuromorphic chips in educational technology. Traditional computing architectures consume substantial power, particularly when running complex AI applications increasingly common in modern educational platforms. Neuromorphic chips, designed to mimic the brain's neural structure, operate with significantly lower power requirements—often consuming 100-1000 times less energy than conventional processors when performing equivalent cognitive tasks. This efficiency translates directly to extended battery life for educational devices, enabling longer learning sessions without recharging and expanding access to educational technology in regions with limited power infrastructure.
The sustainability implications of neuromorphic computing in EdTech extend beyond immediate power savings. Educational institutions face mounting pressure to reduce their carbon footprint while simultaneously expanding their technological capabilities. By integrating neuromorphic processors into educational hardware, schools and universities can potentially decrease their energy consumption related to computing infrastructure by 40-60%, according to recent industry analyses. This reduction aligns with institutional sustainability goals and increasingly stringent environmental regulations affecting the education sector.
From a lifecycle perspective, neuromorphic chips offer additional sustainability advantages. Their energy efficiency reduces cooling requirements in educational data centers and computing labs, further decreasing overall energy consumption. The specialized architecture of these chips also enables more targeted computing approaches, eliminating unnecessary processing and the associated energy waste common in general-purpose computing systems used in educational settings.
Economic sustainability represents another compelling dimension. Educational institutions operate under strict budget constraints, with energy costs constituting a significant operational expense. The reduced power requirements of neuromorphic systems can yield substantial cost savings over traditional computing infrastructure. Initial deployment costs may be higher, but total cost of ownership analyses indicate potential savings of 30-45% over five-year implementation periods when accounting for reduced energy consumption and cooling requirements.
Looking forward, neuromorphic computing aligns with broader sustainability trends in educational technology. As educational institutions increasingly incorporate AI-driven personalized learning, adaptive assessment systems, and immersive educational experiences, the energy demands of these applications threaten to undermine sustainability goals. Neuromorphic architectures offer a pathway to implement these advanced educational technologies while maintaining reasonable energy consumption profiles, positioning them as a key enabling technology for sustainable digital transformation in education.
The sustainability implications of neuromorphic computing in EdTech extend beyond immediate power savings. Educational institutions face mounting pressure to reduce their carbon footprint while simultaneously expanding their technological capabilities. By integrating neuromorphic processors into educational hardware, schools and universities can potentially decrease their energy consumption related to computing infrastructure by 40-60%, according to recent industry analyses. This reduction aligns with institutional sustainability goals and increasingly stringent environmental regulations affecting the education sector.
From a lifecycle perspective, neuromorphic chips offer additional sustainability advantages. Their energy efficiency reduces cooling requirements in educational data centers and computing labs, further decreasing overall energy consumption. The specialized architecture of these chips also enables more targeted computing approaches, eliminating unnecessary processing and the associated energy waste common in general-purpose computing systems used in educational settings.
Economic sustainability represents another compelling dimension. Educational institutions operate under strict budget constraints, with energy costs constituting a significant operational expense. The reduced power requirements of neuromorphic systems can yield substantial cost savings over traditional computing infrastructure. Initial deployment costs may be higher, but total cost of ownership analyses indicate potential savings of 30-45% over five-year implementation periods when accounting for reduced energy consumption and cooling requirements.
Looking forward, neuromorphic computing aligns with broader sustainability trends in educational technology. As educational institutions increasingly incorporate AI-driven personalized learning, adaptive assessment systems, and immersive educational experiences, the energy demands of these applications threaten to undermine sustainability goals. Neuromorphic architectures offer a pathway to implement these advanced educational technologies while maintaining reasonable energy consumption profiles, positioning them as a key enabling technology for sustainable digital transformation in education.
Unlock deeper insights with Patsnap Eureka Quick Research — get a full tech report to explore trends and direct your research. Try now!
Generate Your Research Report Instantly with AI Agent
Supercharge your innovation with Patsnap Eureka AI Agent Platform!