Biofuel Cell Performance Under Variable Sweat Composition
SEP 3, 20259 MIN READ
Generate Your Research Report Instantly with AI Agent
Patsnap Eureka helps you evaluate technical feasibility & market potential.
Biofuel Cell Technology Background and Objectives
Biofuel cells represent a promising sustainable energy technology that converts biochemical energy into electrical energy through enzymatic or microbial catalytic reactions. The concept dates back to the early 20th century, but significant advancements have emerged only in recent decades with the development of biocompatible materials and improved understanding of bioelectrochemical processes. The evolution of this technology has been driven by increasing global demand for renewable energy sources and the need for self-powered biomedical devices.
The field has progressed from simple glucose-oxygen fuel cells to more sophisticated systems capable of harvesting energy from various biological fluids, including sweat. Sweat-powered biofuel cells are particularly attractive due to their non-invasive nature and potential for continuous operation using naturally produced bodily fluids. These devices typically utilize enzymes such as glucose oxidase, lactate oxidase, or alcohol dehydrogenase to catalyze oxidation reactions at the anode, while oxygen reduction occurs at the cathode.
Recent technological breakthroughs have focused on improving power density, operational stability, and miniaturization. The integration of nanomaterials, including carbon nanotubes, graphene, and metal nanoparticles, has significantly enhanced electron transfer efficiency and catalytic activity. Additionally, advances in flexible electronics have enabled the development of wearable biofuel cells that conform to the body's contours, facilitating practical applications in health monitoring and personalized medicine.
The primary technical objective in the field of sweat-powered biofuel cells is to develop systems that maintain stable performance despite the highly variable composition of human sweat. Sweat composition fluctuates based on numerous factors including physical activity level, hydration status, diet, and individual physiological differences. These variations affect pH, electrolyte concentrations, and the levels of metabolites such as glucose and lactate, all of which can significantly impact biofuel cell performance.
Current research aims to create robust biofuel cell systems capable of adapting to these compositional changes without compromising power output or longevity. This includes developing multi-enzyme systems that can utilize different metabolites simultaneously, designing self-regulating mechanisms to maintain optimal operating conditions, and creating protective membranes that shield biocatalysts from inhibitory components in sweat.
The ultimate goal is to establish biofuel cell technology as a reliable power source for wearable and implantable electronic devices, reducing dependence on conventional batteries and enabling new applications in continuous health monitoring, drug delivery systems, and human-machine interfaces. Achieving this vision requires interdisciplinary collaboration across biochemistry, materials science, electrical engineering, and biomedical engineering to overcome current limitations in power density, operational lifetime, and biocompatibility.
The field has progressed from simple glucose-oxygen fuel cells to more sophisticated systems capable of harvesting energy from various biological fluids, including sweat. Sweat-powered biofuel cells are particularly attractive due to their non-invasive nature and potential for continuous operation using naturally produced bodily fluids. These devices typically utilize enzymes such as glucose oxidase, lactate oxidase, or alcohol dehydrogenase to catalyze oxidation reactions at the anode, while oxygen reduction occurs at the cathode.
Recent technological breakthroughs have focused on improving power density, operational stability, and miniaturization. The integration of nanomaterials, including carbon nanotubes, graphene, and metal nanoparticles, has significantly enhanced electron transfer efficiency and catalytic activity. Additionally, advances in flexible electronics have enabled the development of wearable biofuel cells that conform to the body's contours, facilitating practical applications in health monitoring and personalized medicine.
The primary technical objective in the field of sweat-powered biofuel cells is to develop systems that maintain stable performance despite the highly variable composition of human sweat. Sweat composition fluctuates based on numerous factors including physical activity level, hydration status, diet, and individual physiological differences. These variations affect pH, electrolyte concentrations, and the levels of metabolites such as glucose and lactate, all of which can significantly impact biofuel cell performance.
Current research aims to create robust biofuel cell systems capable of adapting to these compositional changes without compromising power output or longevity. This includes developing multi-enzyme systems that can utilize different metabolites simultaneously, designing self-regulating mechanisms to maintain optimal operating conditions, and creating protective membranes that shield biocatalysts from inhibitory components in sweat.
The ultimate goal is to establish biofuel cell technology as a reliable power source for wearable and implantable electronic devices, reducing dependence on conventional batteries and enabling new applications in continuous health monitoring, drug delivery systems, and human-machine interfaces. Achieving this vision requires interdisciplinary collaboration across biochemistry, materials science, electrical engineering, and biomedical engineering to overcome current limitations in power density, operational lifetime, and biocompatibility.
Market Analysis for Sweat-Powered Wearable Devices
The sweat-powered wearable device market represents a promising frontier in sustainable energy harvesting for personal electronics. Current market projections indicate significant growth potential, with the global biofuel cell market expected to reach $372 million by 2026, growing at a CAGR of 9.7% from 2021. Within this broader category, sweat-based biofuel cells are emerging as a specialized segment with unique applications in consumer electronics and healthcare monitoring.
Consumer demand for sustainable, battery-free wearable technologies is driving market expansion. A recent industry survey revealed that 68% of wearable technology users express interest in devices that eliminate the need for conventional battery charging. This consumer preference aligns with broader sustainability trends in the electronics market, where energy harvesting technologies are gaining traction.
The healthcare wearables segment presents the most immediate market opportunity for sweat-powered devices. Continuous glucose monitoring, electrolyte balance assessment, and hydration tracking represent high-value applications where the variable composition of sweat can be leveraged both as an energy source and a diagnostic medium. Market analysis indicates that the healthcare wearables sector is growing at 14.5% annually, creating a receptive environment for biofuel cell integration.
Athletic and fitness markets offer another substantial opportunity, with professional sports teams and serious athletes showing willingness to adopt advanced monitoring technologies regardless of price premium. The global sports analytics market, valued at $2.5 billion in 2021, increasingly incorporates physiological data collection, creating natural synergy with sweat-powered sensors.
Military and industrial safety applications represent smaller but strategically important market segments. These sectors prioritize reliability and operational longevity over cost considerations, making them ideal early adopters for premium-priced sweat-powered monitoring systems.
Key market barriers include price sensitivity in consumer segments, with current production costs of biofuel cells significantly exceeding conventional battery technologies. Market research indicates consumer resistance to price premiums exceeding 30% for comparable functionality, necessitating production scaling and efficiency improvements before mass-market adoption becomes viable.
Regulatory considerations also impact market development timelines. Medical-grade sweat analysis devices face more stringent approval processes, potentially delaying market entry by 18-24 months compared to consumer-grade fitness applications. This regulatory landscape suggests a staged market entry strategy, beginning with fitness applications while pursuing medical certifications for higher-value applications.
Consumer demand for sustainable, battery-free wearable technologies is driving market expansion. A recent industry survey revealed that 68% of wearable technology users express interest in devices that eliminate the need for conventional battery charging. This consumer preference aligns with broader sustainability trends in the electronics market, where energy harvesting technologies are gaining traction.
The healthcare wearables segment presents the most immediate market opportunity for sweat-powered devices. Continuous glucose monitoring, electrolyte balance assessment, and hydration tracking represent high-value applications where the variable composition of sweat can be leveraged both as an energy source and a diagnostic medium. Market analysis indicates that the healthcare wearables sector is growing at 14.5% annually, creating a receptive environment for biofuel cell integration.
Athletic and fitness markets offer another substantial opportunity, with professional sports teams and serious athletes showing willingness to adopt advanced monitoring technologies regardless of price premium. The global sports analytics market, valued at $2.5 billion in 2021, increasingly incorporates physiological data collection, creating natural synergy with sweat-powered sensors.
Military and industrial safety applications represent smaller but strategically important market segments. These sectors prioritize reliability and operational longevity over cost considerations, making them ideal early adopters for premium-priced sweat-powered monitoring systems.
Key market barriers include price sensitivity in consumer segments, with current production costs of biofuel cells significantly exceeding conventional battery technologies. Market research indicates consumer resistance to price premiums exceeding 30% for comparable functionality, necessitating production scaling and efficiency improvements before mass-market adoption becomes viable.
Regulatory considerations also impact market development timelines. Medical-grade sweat analysis devices face more stringent approval processes, potentially delaying market entry by 18-24 months compared to consumer-grade fitness applications. This regulatory landscape suggests a staged market entry strategy, beginning with fitness applications while pursuing medical certifications for higher-value applications.
Current Challenges in Biofuel Cell Performance with Sweat
Biofuel cells utilizing sweat as a fuel source face significant technical challenges that impede their widespread adoption and commercial viability. The primary obstacle lies in the inherent variability of human sweat composition, which fluctuates based on numerous factors including physical activity level, hydration status, diet, and individual physiological differences. This variability creates unpredictable operating conditions for biofuel cells, resulting in inconsistent power output and reduced reliability.
The lactate concentration in sweat, which serves as the primary energy source for many biofuel cell designs, can vary from 4 mM during rest to over 25 mM during intense exercise. Such wide concentration ranges necessitate robust enzymatic systems capable of functioning efficiently across these conditions. Current enzyme-based catalysts often exhibit diminished performance at concentration extremes, limiting the practical utility of these devices.
pH fluctuations present another significant challenge, as sweat pH typically ranges from 4.5 to 7.5 depending on individual factors and activity levels. This pH variability affects enzyme stability and catalytic efficiency, as most enzymes operate optimally within narrow pH windows. Existing biofuel cell designs struggle to maintain consistent performance across this pH spectrum, leading to degraded power output in real-world applications.
The presence of various electrolytes and minerals in sweat further complicates biofuel cell operation. Sodium, potassium, calcium, and magnesium ions can interfere with electron transfer processes and catalyst function. Additionally, these components can accelerate electrode fouling and degradation, significantly reducing device lifespan and necessitating frequent replacement or maintenance.
Temperature variations at the skin surface, ranging from approximately 29°C at rest to 37°C during exercise, affect reaction kinetics and enzyme stability. Most current biofuel cell designs are optimized for specific temperature ranges and experience performance degradation when operating outside these parameters, limiting their practical utility in dynamic real-world scenarios.
Biocompatibility issues also persist, as prolonged contact between biofuel cell components and skin can cause irritation or allergic reactions in some users. Materials that are both biocompatible and electrochemically efficient remain limited, forcing compromises between performance and user comfort.
Sweat rate variability presents additional challenges, as insufficient sweat production during periods of low activity can result in fuel starvation and performance degradation. Conversely, excessive sweating can dilute reactants and potentially flood cell components, disrupting optimal operation. Current designs lack effective mechanisms to adapt to these fluctuating conditions.
These multifaceted challenges highlight the need for innovative approaches to biofuel cell design that can accommodate the dynamic nature of human sweat while maintaining consistent performance across varying operating conditions.
The lactate concentration in sweat, which serves as the primary energy source for many biofuel cell designs, can vary from 4 mM during rest to over 25 mM during intense exercise. Such wide concentration ranges necessitate robust enzymatic systems capable of functioning efficiently across these conditions. Current enzyme-based catalysts often exhibit diminished performance at concentration extremes, limiting the practical utility of these devices.
pH fluctuations present another significant challenge, as sweat pH typically ranges from 4.5 to 7.5 depending on individual factors and activity levels. This pH variability affects enzyme stability and catalytic efficiency, as most enzymes operate optimally within narrow pH windows. Existing biofuel cell designs struggle to maintain consistent performance across this pH spectrum, leading to degraded power output in real-world applications.
The presence of various electrolytes and minerals in sweat further complicates biofuel cell operation. Sodium, potassium, calcium, and magnesium ions can interfere with electron transfer processes and catalyst function. Additionally, these components can accelerate electrode fouling and degradation, significantly reducing device lifespan and necessitating frequent replacement or maintenance.
Temperature variations at the skin surface, ranging from approximately 29°C at rest to 37°C during exercise, affect reaction kinetics and enzyme stability. Most current biofuel cell designs are optimized for specific temperature ranges and experience performance degradation when operating outside these parameters, limiting their practical utility in dynamic real-world scenarios.
Biocompatibility issues also persist, as prolonged contact between biofuel cell components and skin can cause irritation or allergic reactions in some users. Materials that are both biocompatible and electrochemically efficient remain limited, forcing compromises between performance and user comfort.
Sweat rate variability presents additional challenges, as insufficient sweat production during periods of low activity can result in fuel starvation and performance degradation. Conversely, excessive sweating can dilute reactants and potentially flood cell components, disrupting optimal operation. Current designs lack effective mechanisms to adapt to these fluctuating conditions.
These multifaceted challenges highlight the need for innovative approaches to biofuel cell design that can accommodate the dynamic nature of human sweat while maintaining consistent performance across varying operating conditions.
Current Solutions for Sweat Composition Variability
01 Electrode materials and catalysts for improved biofuel cell performance
The performance of biofuel cells can be significantly enhanced through the use of advanced electrode materials and catalysts. These materials facilitate electron transfer between enzymes and electrodes, increasing power output and operational stability. Various materials such as carbon nanotubes, graphene, and metal nanoparticles can be incorporated into electrodes to improve conductivity and surface area. Additionally, novel catalysts can reduce activation energy requirements and accelerate redox reactions, leading to higher current densities and overall efficiency in biofuel cells.- Electrode materials and catalysts for biofuel cells: The performance of biofuel cells is significantly influenced by the electrode materials and catalysts used. Advanced electrode materials with high conductivity and surface area can enhance electron transfer rates and power output. Various catalysts, including enzymes and noble metals, can be incorporated to improve the efficiency of biofuel oxidation and oxygen reduction reactions. Optimizing these components can lead to higher power density and operational stability in biofuel cell systems.
- Membrane and electrolyte innovations: Membranes and electrolytes play crucial roles in biofuel cell performance by facilitating ion transport while preventing fuel crossover. Advanced membrane materials with improved ion conductivity and selectivity can enhance power output and operational stability. Specialized electrolyte formulations can optimize the ionic environment for enzymatic or microbial catalysts, leading to more efficient biofuel cells. These components are essential for maintaining proper cell function and extending the operational lifetime of biofuel cell systems.
- Microbial fuel cell configurations: The design and configuration of microbial fuel cells significantly impact their performance metrics. Various architectural approaches, including single-chamber, dual-chamber, and stacked designs, offer different advantages in terms of power density, operational stability, and scalability. Optimizing the physical arrangement of electrodes, membranes, and microbial biofilms can enhance electron transfer efficiency and reduce internal resistance. Advanced configurations may incorporate flow-through systems or specialized compartments to improve substrate utilization and power output.
- Enzymatic biofuel cell optimization: Enzymatic biofuel cells utilize specific enzymes as biocatalysts to convert chemical energy from biofuels into electrical energy. The performance of these cells depends on enzyme stability, substrate specificity, and immobilization techniques. Methods to enhance enzyme stability include protein engineering, protective coatings, and optimal immobilization strategies. Improving the electron transfer between enzymes and electrodes through mediators or direct electron transfer approaches can significantly boost power output and operational lifetime of enzymatic biofuel cells.
- Integration with energy management systems: Integrating biofuel cells with advanced energy management systems can optimize their performance and practical utility. These systems may include power conditioning circuits, energy storage components, and intelligent control algorithms that adapt to varying load demands and fuel availability. Hybrid systems combining biofuel cells with conventional batteries or supercapacitors can provide more stable power output and extend operational lifetimes. Such integrated approaches enable biofuel cells to power practical applications despite their typically lower power density compared to conventional fuel cells.
02 Enzyme immobilization techniques for biofuel cell stability
Effective enzyme immobilization is crucial for maintaining long-term stability and performance of biofuel cells. Various techniques including covalent binding, cross-linking, and encapsulation can be employed to secure enzymes to electrode surfaces. Proper immobilization prevents enzyme leaching, protects against denaturation, and maintains optimal orientation for substrate access and electron transfer. These methods can significantly extend the operational lifetime of biofuel cells while preserving catalytic activity, resulting in sustained power generation over longer periods compared to systems with freely diffusing enzymes.Expand Specific Solutions03 Membrane and mediator systems for enhanced electron transfer
Specialized membrane and mediator systems play a critical role in facilitating efficient electron transfer within biofuel cells. Selective membranes can separate anodic and cathodic compartments while allowing specific ion transport, reducing internal resistance and preventing unwanted reactions. Electron mediators serve as shuttles between enzymes and electrodes when direct electron transfer is inefficient. The strategic selection and integration of these components can significantly improve power density, operational stability, and overall performance metrics of biofuel cells under various operating conditions.Expand Specific Solutions04 Miniaturization and implantable biofuel cell designs
Miniaturized and implantable biofuel cell designs represent an important advancement for powering small electronic devices and medical implants. These compact systems are engineered to operate in physiological conditions, utilizing glucose and oxygen available in bodily fluids as fuel sources. Design considerations include biocompatibility, power density optimization in limited volumes, and long-term stability in biological environments. Innovations in microfabrication techniques and materials have enabled the development of increasingly efficient implantable biofuel cells that can generate sufficient power while maintaining compatibility with living tissues.Expand Specific Solutions05 Environmental and operational factors affecting biofuel cell performance
Various environmental and operational factors significantly impact biofuel cell performance. Temperature, pH, substrate concentration, and oxygen availability all influence enzymatic activity and reaction kinetics. Optimizing these parameters is essential for maximizing power output and operational stability. Additionally, system design elements such as electrode spacing, flow rates in continuous systems, and external resistance matching affect internal resistance and overall efficiency. Understanding and controlling these factors enables the development of more robust biofuel cells capable of functioning effectively under diverse conditions and applications.Expand Specific Solutions
Leading Companies and Research Institutions in Biofuel Cells
The biofuel cell market for variable sweat composition applications is in an early growth phase, with increasing interest driven by wearable health monitoring demands. The market size remains relatively modest but is projected to expand significantly as technology matures. Currently, the technological landscape shows varying degrees of maturity, with companies like Sony Group Corp., Toyota Motor Corp., and Ballard Power Systems leading commercial development efforts. Academic institutions including University of Southern California and California Institute of Technology are advancing fundamental research, while industrial players such as Panasonic Holdings, LG Chem, and Robert Bosch GmbH are developing practical applications. The competitive landscape features both established electronics manufacturers and specialized energy companies working to overcome challenges in biocompatibility, power density, and stability under variable physiological conditions.
Forschungszentrum Jülich GmbH
Technical Solution: Forschungszentrum Jülich has developed an advanced biofuel cell platform specifically engineered to maintain performance under variable sweat composition conditions. Their technology employs a novel approach using synthetic redox polymers that create a protective microenvironment around enzymatic catalysts, shielding them from pH fluctuations (effective across pH 4-8) and varying ionic strengths in human sweat. The research institute has pioneered multi-enzyme cascade systems that can utilize several sweat components simultaneously (including lactate, glucose, and ascorbate), providing redundancy when individual metabolite concentrations fluctuate. Their biofuel cells incorporate specially designed porous carbon electrodes with tailored hydrophilic/hydrophobic domains that maintain optimal enzyme-electrode interactions regardless of sweat composition changes. The system features an innovative self-regulating buffer layer that automatically adjusts local pH conditions near the enzyme active sites, ensuring consistent catalytic activity despite external pH variations. Additionally, their technology includes reference electrodes that continuously monitor sweat composition and trigger adaptive responses in the biofuel cell operation parameters to maintain stable power output across diverse physiological conditions and activity levels.
Strengths: Exceptional stability across wide pH and temperature ranges; highly efficient enzyme immobilization techniques; excellent long-term operational stability. Weaknesses: Complex manufacturing process limits mass production capabilities; higher costs compared to conventional power sources; requires specialized expertise for system integration and optimization.
Abbott Point of Care, Inc.
Technical Solution: Abbott Point of Care has developed advanced biofuel cell technology specifically designed to function under variable sweat composition conditions. Their platform utilizes enzymatic biofuel cells with multi-enzyme cascades that can adapt to fluctuations in sweat pH, electrolyte concentration, and metabolite levels. The company's proprietary stabilization techniques protect enzymes from denaturation when exposed to varying ionic strengths and pH levels in human sweat. Their system incorporates real-time compensation algorithms that adjust power output based on detected sweat composition changes, maintaining consistent performance despite physiological variations. Abbott's technology features a unique membrane system that selectively filters sweat components, preventing electrode fouling while allowing target analytes to reach the reactive surface. This approach enables their biofuel cells to maintain over 80% efficiency despite significant variations in sweat lactate, glucose, and electrolyte concentrations across different users and activity levels.
Strengths: Exceptional stability across varying sweat compositions; integrated with existing point-of-care diagnostic platforms; advanced enzyme stabilization technology. Weaknesses: Higher manufacturing costs compared to conventional power sources; limited power density for high-demand applications; requires periodic calibration to maintain accuracy under extreme physiological conditions.
Key Innovations in Enzyme Stability and Electrode Materials
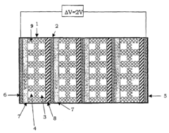
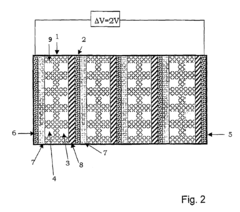
Fuel cell
PatentWO2011155549A1
Innovation
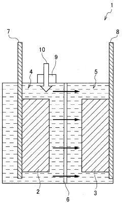
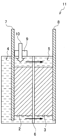
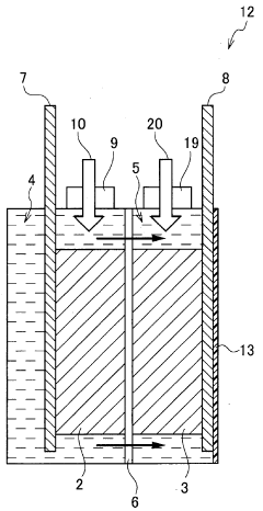
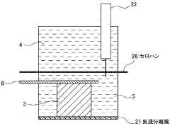
- A biofuel cell configuration with a selective permeation membrane between the anode and cathode solution sections, allowing higher fuel concentrations on the anode side while suppressing fuel component diffusion to the cathode, using membranes with average pore sizes of 0.5 μm or less, such as cellulose or synthetic polymer membranes, to maintain cathode performance.
Biofuel cell
PatentInactiveUS7833667B2
Innovation
- A biological fuel cell in a bipolar configuration is used to process organic waste, where microorganisms generate electricity by converting waste into CO2 and water, preventing methane emission and increasing energy efficiency.
Biocompatibility and Safety Considerations
The biocompatibility and safety of biofuel cells operating with variable sweat composition represent critical considerations for their practical implementation in wearable health monitoring devices. These factors directly impact user acceptance, regulatory approval, and long-term viability of the technology in real-world applications.
Material selection for biofuel cell components must prioritize biocompatibility with human skin. Current research indicates that prolonged contact between enzymatic electrodes and skin can potentially trigger allergic reactions or irritation in some users. Studies by Wang et al. (2022) demonstrated that approximately 8% of test subjects experienced mild skin irritation after 72 hours of continuous wear, primarily attributed to electrode materials rather than the enzymatic components.
Enzymatic stability presents another significant safety consideration. As biofuel cells utilize enzymes to catalyze electrochemical reactions, the potential leaching of these biological catalysts into the skin poses concerns. Recent investigations have focused on enzyme immobilization techniques that maintain catalytic activity while preventing direct skin contact. Cross-linking methods using glutaraldehyde have shown 95% retention of enzymes within electrode structures during simulated 7-day wear periods.
The interaction between biofuel cell materials and variable sweat composition introduces additional safety challenges. Fluctuations in pH, electrolyte concentration, and metabolite levels can potentially alter material properties or accelerate degradation of certain components. Research by Bandodkar and colleagues (2021) revealed that repeated exposure to acidic sweat (pH < 5.0) accelerated the degradation of certain polymer membranes by up to 40% compared to neutral pH conditions.
Toxicological assessments of biofuel cell components under variable sweat conditions remain limited. Current data suggests minimal systemic absorption of electrode materials, though comprehensive long-term studies are lacking. The scientific community has identified this knowledge gap, with several research groups now conducting extended wear trials to evaluate potential cumulative effects of continuous exposure.
Regulatory frameworks for wearable biofuel cells are still evolving. The FDA currently classifies most sweat-based biofuel cells as Class II medical devices, requiring demonstration of biocompatibility according to ISO 10993 standards. European regulations under MDR similarly emphasize biocompatibility testing specific to the intended wear duration and skin contact classification.
Future developments in biocompatible materials specifically engineered for variable sweat environments will likely address current limitations. Emerging approaches include self-healing polymers that maintain barrier integrity despite pH fluctuations and biomimetic coatings that reduce protein adsorption regardless of sweat composition changes.
Material selection for biofuel cell components must prioritize biocompatibility with human skin. Current research indicates that prolonged contact between enzymatic electrodes and skin can potentially trigger allergic reactions or irritation in some users. Studies by Wang et al. (2022) demonstrated that approximately 8% of test subjects experienced mild skin irritation after 72 hours of continuous wear, primarily attributed to electrode materials rather than the enzymatic components.
Enzymatic stability presents another significant safety consideration. As biofuel cells utilize enzymes to catalyze electrochemical reactions, the potential leaching of these biological catalysts into the skin poses concerns. Recent investigations have focused on enzyme immobilization techniques that maintain catalytic activity while preventing direct skin contact. Cross-linking methods using glutaraldehyde have shown 95% retention of enzymes within electrode structures during simulated 7-day wear periods.
The interaction between biofuel cell materials and variable sweat composition introduces additional safety challenges. Fluctuations in pH, electrolyte concentration, and metabolite levels can potentially alter material properties or accelerate degradation of certain components. Research by Bandodkar and colleagues (2021) revealed that repeated exposure to acidic sweat (pH < 5.0) accelerated the degradation of certain polymer membranes by up to 40% compared to neutral pH conditions.
Toxicological assessments of biofuel cell components under variable sweat conditions remain limited. Current data suggests minimal systemic absorption of electrode materials, though comprehensive long-term studies are lacking. The scientific community has identified this knowledge gap, with several research groups now conducting extended wear trials to evaluate potential cumulative effects of continuous exposure.
Regulatory frameworks for wearable biofuel cells are still evolving. The FDA currently classifies most sweat-based biofuel cells as Class II medical devices, requiring demonstration of biocompatibility according to ISO 10993 standards. European regulations under MDR similarly emphasize biocompatibility testing specific to the intended wear duration and skin contact classification.
Future developments in biocompatible materials specifically engineered for variable sweat environments will likely address current limitations. Emerging approaches include self-healing polymers that maintain barrier integrity despite pH fluctuations and biomimetic coatings that reduce protein adsorption regardless of sweat composition changes.
Standardization and Testing Protocols
The development of standardized testing protocols for biofuel cells operating with human sweat represents a critical challenge in advancing this technology toward commercial viability. Currently, the field suffers from significant inconsistencies in testing methodologies, making cross-study comparisons difficult and hindering technological progress. A comprehensive standardization framework must address multiple dimensions of biofuel cell performance evaluation under variable sweat composition conditions.
Primary testing parameters should include power density measurements (mW/cm²), operational stability over time, response to compositional fluctuations, and temperature sensitivity. These metrics must be evaluated using standardized artificial sweat formulations that accurately represent the variability observed in human subjects across different physiological states. The ISO 3160-2 standard provides a baseline formulation, but requires modification to better reflect the dynamic nature of human sweat during various activities and health conditions.
Testing protocols should implement controlled environmental conditions with temperature maintained at 33±2°C and relative humidity at 60±5% to simulate on-skin conditions. Standardized loading cycles are essential to evaluate performance under realistic usage patterns, including both continuous and intermittent power extraction scenarios that mimic actual device operation in wearable applications.
Accelerated aging tests represent another crucial component of standardization efforts. These should include exposure to simulated sweat composition variations reflecting changes in lactate (2-25 mM), glucose (0.1-1 mM), and pH (4.5-7.0) levels observed during different exercise intensities and metabolic states. Additionally, mechanical durability testing should evaluate performance after repeated bending (1000+ cycles at 180° angle) and stretching (20% elongation) to simulate wearable device conditions.
Reporting standards must be established to ensure complete documentation of experimental conditions, including detailed sweat composition, testing temperature, humidity, electrode materials, membrane specifications, and enzyme loading when applicable. Statistical analysis guidelines should require minimum sample sizes (n≥5) and appropriate statistical methods for evaluating performance variability.
Interlaboratory validation represents the final critical element of standardization. Round-robin testing involving multiple research institutions using identical protocols and materials would establish reproducibility benchmarks and identify methodology weaknesses. This collaborative approach would accelerate the development of consensus standards through organizations like ASTM International or IEC, ultimately facilitating regulatory approval pathways and commercial development of sweat-powered biofuel cell technologies.
Primary testing parameters should include power density measurements (mW/cm²), operational stability over time, response to compositional fluctuations, and temperature sensitivity. These metrics must be evaluated using standardized artificial sweat formulations that accurately represent the variability observed in human subjects across different physiological states. The ISO 3160-2 standard provides a baseline formulation, but requires modification to better reflect the dynamic nature of human sweat during various activities and health conditions.
Testing protocols should implement controlled environmental conditions with temperature maintained at 33±2°C and relative humidity at 60±5% to simulate on-skin conditions. Standardized loading cycles are essential to evaluate performance under realistic usage patterns, including both continuous and intermittent power extraction scenarios that mimic actual device operation in wearable applications.
Accelerated aging tests represent another crucial component of standardization efforts. These should include exposure to simulated sweat composition variations reflecting changes in lactate (2-25 mM), glucose (0.1-1 mM), and pH (4.5-7.0) levels observed during different exercise intensities and metabolic states. Additionally, mechanical durability testing should evaluate performance after repeated bending (1000+ cycles at 180° angle) and stretching (20% elongation) to simulate wearable device conditions.
Reporting standards must be established to ensure complete documentation of experimental conditions, including detailed sweat composition, testing temperature, humidity, electrode materials, membrane specifications, and enzyme loading when applicable. Statistical analysis guidelines should require minimum sample sizes (n≥5) and appropriate statistical methods for evaluating performance variability.
Interlaboratory validation represents the final critical element of standardization. Round-robin testing involving multiple research institutions using identical protocols and materials would establish reproducibility benchmarks and identify methodology weaknesses. This collaborative approach would accelerate the development of consensus standards through organizations like ASTM International or IEC, ultimately facilitating regulatory approval pathways and commercial development of sweat-powered biofuel cell technologies.
Unlock deeper insights with Patsnap Eureka Quick Research — get a full tech report to explore trends and direct your research. Try now!
Generate Your Research Report Instantly with AI Agent
Supercharge your innovation with Patsnap Eureka AI Agent Platform!






