Cross-Platform Simulation Environments For Photonic Neural Hardware
AUG 29, 202510 MIN READ
 Generate Your Research Report Instantly with AI Agent 
 Patsnap Eureka helps you evaluate technical feasibility & market potential. 
Photonic Neural Hardware Simulation Background and Objectives
Photonic neural networks represent a paradigm shift in computing architecture, leveraging light rather than electrons to perform neural network computations. This emerging technology has evolved from the convergence of integrated photonics and neuromorphic computing over the past decade. The field traces its origins to early optical computing concepts from the 1980s but has gained significant momentum in recent years due to advancements in nanophotonics, silicon photonics, and the increasing limitations of traditional electronic computing architectures in meeting the computational demands of modern AI systems.
The evolution of photonic neural hardware has been characterized by progressive improvements in photonic integrated circuits (PICs), coherent light sources, photodetectors, and optical modulators. These components collectively enable the implementation of matrix-vector multiplications and nonlinear activation functions—fundamental operations in neural networks—using optical phenomena such as interference, diffraction, and nonlinear optical effects.
Current research trajectories indicate a growing interest in developing hybrid electro-optical systems that leverage the complementary strengths of both domains. These systems aim to overcome the von Neumann bottleneck by performing computations directly in the optical domain while maintaining compatibility with existing electronic infrastructure.
The primary objective of cross-platform simulation environments for photonic neural hardware is to establish comprehensive frameworks that accurately model the behavior of photonic neural networks across different implementation platforms. These simulation environments must bridge the gap between theoretical photonic neural network designs and their practical implementation by accounting for real-world physical constraints, manufacturing variations, and system-level integration challenges.
Additionally, these simulation environments aim to facilitate the exploration of novel photonic neural network architectures, optimization techniques, and training algorithms specifically tailored to the unique characteristics of optical computing. By providing accurate models of optical propagation, nonlinear effects, noise sources, and coupling efficiencies, these environments enable researchers and engineers to predict the performance of photonic neural networks before physical implementation.
Another critical objective is to establish standardized benchmarking methodologies for comparing different photonic neural network implementations across various hardware platforms. This standardization is essential for evaluating the relative merits of competing approaches and guiding future research and development efforts in the field.
The development of these simulation environments also seeks to accelerate the technology transfer from academic research to commercial applications by reducing development cycles and enabling rapid prototyping of photonic neural network designs. This acceleration is crucial for the timely deployment of photonic neural networks in data centers, edge computing devices, and specialized AI accelerators where their potential advantages in speed, energy efficiency, and parallelism can be fully realized.
The evolution of photonic neural hardware has been characterized by progressive improvements in photonic integrated circuits (PICs), coherent light sources, photodetectors, and optical modulators. These components collectively enable the implementation of matrix-vector multiplications and nonlinear activation functions—fundamental operations in neural networks—using optical phenomena such as interference, diffraction, and nonlinear optical effects.
Current research trajectories indicate a growing interest in developing hybrid electro-optical systems that leverage the complementary strengths of both domains. These systems aim to overcome the von Neumann bottleneck by performing computations directly in the optical domain while maintaining compatibility with existing electronic infrastructure.
The primary objective of cross-platform simulation environments for photonic neural hardware is to establish comprehensive frameworks that accurately model the behavior of photonic neural networks across different implementation platforms. These simulation environments must bridge the gap between theoretical photonic neural network designs and their practical implementation by accounting for real-world physical constraints, manufacturing variations, and system-level integration challenges.
Additionally, these simulation environments aim to facilitate the exploration of novel photonic neural network architectures, optimization techniques, and training algorithms specifically tailored to the unique characteristics of optical computing. By providing accurate models of optical propagation, nonlinear effects, noise sources, and coupling efficiencies, these environments enable researchers and engineers to predict the performance of photonic neural networks before physical implementation.
Another critical objective is to establish standardized benchmarking methodologies for comparing different photonic neural network implementations across various hardware platforms. This standardization is essential for evaluating the relative merits of competing approaches and guiding future research and development efforts in the field.
The development of these simulation environments also seeks to accelerate the technology transfer from academic research to commercial applications by reducing development cycles and enabling rapid prototyping of photonic neural network designs. This acceleration is crucial for the timely deployment of photonic neural networks in data centers, edge computing devices, and specialized AI accelerators where their potential advantages in speed, energy efficiency, and parallelism can be fully realized.
Market Analysis for Cross-Platform Photonic Neural Simulators
The global market for cross-platform photonic neural simulators is experiencing significant growth, driven by increasing demand for energy-efficient computing solutions and advancements in artificial intelligence applications. Current market valuations indicate that the photonic computing sector is projected to grow at a compound annual growth rate of 30% through 2028, with simulation environments representing a crucial segment of this expanding market.
The primary market segments for photonic neural simulators include academic research institutions, semiconductor manufacturers, telecommunications companies, and AI-focused technology firms. Research institutions currently constitute approximately 40% of the market share, as they lead fundamental research in neuromorphic computing and photonic integration. Commercial entities are rapidly increasing their investments, particularly those focused on developing next-generation AI hardware accelerators.
Geographically, North America dominates the market with significant research clusters in Silicon Valley, Boston, and Austin driving innovation. The European market follows closely, with strong academic-industrial partnerships in countries like Germany, the Netherlands, and the UK. The Asia-Pacific region, particularly China, Japan, and Singapore, is demonstrating the fastest growth rate, supported by substantial government investments in photonic technologies.
Key market drivers include the increasing limitations of electronic computing in meeting AI computational demands, growing concerns about energy consumption in data centers, and the push toward edge computing solutions that require more efficient processing architectures. The simulation environment segment specifically benefits from the high cost and complexity of building physical photonic neural networks, making accurate simulation tools essential for research and development.
Customer needs analysis reveals that users require simulation environments that can accurately model various photonic components, support multiple programming frameworks, and provide seamless integration with existing electronic neural network tools. Interoperability between different hardware platforms emerges as a critical market requirement, with users expressing strong preference for solutions that bridge the gap between theoretical models and practical implementation.
Market barriers include the high technical expertise required for effective utilization of these tools, limited standardization across the industry, and competition from established electronic neural network simulation platforms. Additionally, the relatively early stage of photonic neural hardware development creates uncertainty regarding which architectural approaches will ultimately dominate the market.
Pricing models in this sector typically follow either subscription-based services for cloud-hosted simulation environments or enterprise licensing for organizations requiring dedicated resources. The average annual expenditure for research institutions ranges from $50,000 to $200,000 depending on simulation scale and complexity requirements.
The primary market segments for photonic neural simulators include academic research institutions, semiconductor manufacturers, telecommunications companies, and AI-focused technology firms. Research institutions currently constitute approximately 40% of the market share, as they lead fundamental research in neuromorphic computing and photonic integration. Commercial entities are rapidly increasing their investments, particularly those focused on developing next-generation AI hardware accelerators.
Geographically, North America dominates the market with significant research clusters in Silicon Valley, Boston, and Austin driving innovation. The European market follows closely, with strong academic-industrial partnerships in countries like Germany, the Netherlands, and the UK. The Asia-Pacific region, particularly China, Japan, and Singapore, is demonstrating the fastest growth rate, supported by substantial government investments in photonic technologies.
Key market drivers include the increasing limitations of electronic computing in meeting AI computational demands, growing concerns about energy consumption in data centers, and the push toward edge computing solutions that require more efficient processing architectures. The simulation environment segment specifically benefits from the high cost and complexity of building physical photonic neural networks, making accurate simulation tools essential for research and development.
Customer needs analysis reveals that users require simulation environments that can accurately model various photonic components, support multiple programming frameworks, and provide seamless integration with existing electronic neural network tools. Interoperability between different hardware platforms emerges as a critical market requirement, with users expressing strong preference for solutions that bridge the gap between theoretical models and practical implementation.
Market barriers include the high technical expertise required for effective utilization of these tools, limited standardization across the industry, and competition from established electronic neural network simulation platforms. Additionally, the relatively early stage of photonic neural hardware development creates uncertainty regarding which architectural approaches will ultimately dominate the market.
Pricing models in this sector typically follow either subscription-based services for cloud-hosted simulation environments or enterprise licensing for organizations requiring dedicated resources. The average annual expenditure for research institutions ranges from $50,000 to $200,000 depending on simulation scale and complexity requirements.
Current Challenges in Photonic Neural Hardware Simulation
Despite significant advancements in photonic neural hardware, the simulation landscape faces substantial challenges that impede research progress and commercial deployment. Current simulation tools exhibit limited cross-platform compatibility, creating fragmented ecosystems where simulations developed for one hardware platform cannot be easily transferred to others. This incompatibility significantly increases development costs and extends time-to-market for photonic neural network solutions.
The fidelity gap between simulations and physical implementations represents another critical challenge. Existing simulation environments often fail to accurately model crucial physical phenomena such as thermal effects, manufacturing variations, and noise characteristics that substantially impact real-world photonic neural hardware performance. This discrepancy leads to optimistic simulation results that do not translate to physical implementations.
Computational resource requirements pose a significant barrier, particularly for large-scale photonic neural networks. Current simulation tools demand extensive computational power and memory, making comprehensive system-level simulations prohibitively expensive or time-consuming. This limitation restricts researchers' ability to explore complex architectures and training methodologies at scale.
The interdisciplinary nature of photonic neural hardware creates additional simulation challenges. Effective simulation environments must integrate optical physics, electronic engineering, and machine learning paradigms—a combination rarely found in existing tools. Most simulation platforms excel in one domain but lack capabilities in others, forcing researchers to employ multiple disconnected tools and manually transfer data between them.
Standardization issues further complicate the simulation landscape. The absence of universally accepted benchmarks, metrics, and simulation protocols makes it difficult to compare results across different research groups and hardware platforms. This lack of standardization hinders collaborative progress and slows industry-wide adoption of promising approaches.
Real-time simulation capabilities remain underdeveloped, limiting interactive design exploration and rapid prototyping. Unlike electronic neural hardware simulation, which has evolved sophisticated real-time tools, photonic simulation environments typically require lengthy computation cycles that impede iterative design processes.
Finally, accessibility barriers restrict broader community participation. Many advanced simulation tools require specialized expertise across multiple disciplines or are prohibitively expensive for smaller research groups and startups. This limitation concentrates innovation within a small number of well-resourced organizations, potentially slowing the overall pace of advancement in the field.
The fidelity gap between simulations and physical implementations represents another critical challenge. Existing simulation environments often fail to accurately model crucial physical phenomena such as thermal effects, manufacturing variations, and noise characteristics that substantially impact real-world photonic neural hardware performance. This discrepancy leads to optimistic simulation results that do not translate to physical implementations.
Computational resource requirements pose a significant barrier, particularly for large-scale photonic neural networks. Current simulation tools demand extensive computational power and memory, making comprehensive system-level simulations prohibitively expensive or time-consuming. This limitation restricts researchers' ability to explore complex architectures and training methodologies at scale.
The interdisciplinary nature of photonic neural hardware creates additional simulation challenges. Effective simulation environments must integrate optical physics, electronic engineering, and machine learning paradigms—a combination rarely found in existing tools. Most simulation platforms excel in one domain but lack capabilities in others, forcing researchers to employ multiple disconnected tools and manually transfer data between them.
Standardization issues further complicate the simulation landscape. The absence of universally accepted benchmarks, metrics, and simulation protocols makes it difficult to compare results across different research groups and hardware platforms. This lack of standardization hinders collaborative progress and slows industry-wide adoption of promising approaches.
Real-time simulation capabilities remain underdeveloped, limiting interactive design exploration and rapid prototyping. Unlike electronic neural hardware simulation, which has evolved sophisticated real-time tools, photonic simulation environments typically require lengthy computation cycles that impede iterative design processes.
Finally, accessibility barriers restrict broader community participation. Many advanced simulation tools require specialized expertise across multiple disciplines or are prohibitively expensive for smaller research groups and startups. This limitation concentrates innovation within a small number of well-resourced organizations, potentially slowing the overall pace of advancement in the field.
Existing Cross-Platform Simulation Solutions
01 Cross-platform simulation frameworks
These frameworks enable simulation environments to run across different operating systems and hardware platforms. They provide a unified interface for developing simulations that can be executed on various platforms without significant code modifications. Such frameworks typically include abstraction layers that handle platform-specific differences, allowing developers to focus on simulation logic rather than platform compatibility issues.- Cross-platform simulation frameworks: Cross-platform simulation frameworks enable the development of simulation environments that can run on multiple operating systems and hardware configurations. These frameworks provide a unified interface for creating, executing, and analyzing simulations across different platforms, reducing development time and ensuring consistent results regardless of the underlying system. They typically include standardized APIs, platform-independent data models, and abstraction layers that handle platform-specific differences.
 - Virtual environment integration for multi-platform simulations: Virtual environments provide a standardized layer for simulations to operate across different platforms. These environments create abstracted representations of hardware and software components, allowing simulation code to run consistently regardless of the underlying system. By incorporating virtualization technologies, developers can create simulation environments that maintain fidelity across diverse computing architectures while enabling real-time collaboration and distributed simulation capabilities.
 - Cloud-based simulation platforms: Cloud-based simulation platforms enable access to simulation environments from any device with internet connectivity, regardless of its operating system or hardware specifications. These platforms leverage distributed computing resources to run complex simulations that might be beyond the capabilities of local machines. They facilitate collaboration among geographically dispersed teams by providing shared access to simulation tools, models, and results, while ensuring consistent performance across different client platforms.
 - Hardware-software co-simulation techniques: Hardware-software co-simulation techniques enable the simultaneous simulation of hardware and software components across different platforms. These techniques bridge the gap between hardware and software development environments, allowing developers to test how software will interact with hardware before physical prototypes are available. By supporting multiple hardware architectures and software frameworks, these co-simulation approaches facilitate cross-platform verification and validation while reducing development cycles and costs.
 - Standardized data exchange for cross-platform compatibility: Standardized data exchange protocols and formats ensure that simulation data can be seamlessly transferred between different platforms and simulation environments. These standards define common representations for simulation inputs, outputs, and state information, enabling interoperability between diverse simulation tools and frameworks. By implementing platform-independent data models and exchange mechanisms, simulation environments can communicate effectively across heterogeneous systems while maintaining data integrity and semantic consistency.
 
02 Virtual environment integration for multi-platform simulations
Virtual environments provide a standardized layer for running simulations across different platforms. These solutions create virtualized hardware and software environments that ensure consistent simulation behavior regardless of the underlying physical infrastructure. Technologies such as containerization and virtual machines are employed to encapsulate simulation environments, making them portable across diverse computing platforms.Expand Specific Solutions03 Cloud-based simulation platforms
Cloud-based platforms offer scalable and accessible simulation environments that can be accessed from various devices and operating systems. These solutions leverage distributed computing resources to run complex simulations while providing consistent interfaces across different client platforms. Users can access and control simulations through web browsers or specialized clients, eliminating the need for platform-specific simulation software.Expand Specific Solutions04 Hardware-in-the-loop simulation across platforms
Hardware-in-the-loop simulation techniques allow for integration of physical hardware components with software simulations across different platforms. These systems provide interfaces and protocols for connecting real hardware to simulation environments regardless of the platform running the simulation software. This approach is particularly valuable for testing embedded systems and IoT devices in cross-platform scenarios.Expand Specific Solutions05 Cross-platform data exchange and interoperability standards
Standardized data formats and communication protocols enable simulations running on different platforms to exchange information and interact with each other. These standards ensure that simulation components can communicate regardless of the underlying platform, facilitating distributed simulations across heterogeneous environments. Common data models and APIs allow for seamless integration of simulation modules developed for different platforms.Expand Specific Solutions
Leading Organizations in Photonic Neural Simulation
The cross-platform simulation environment for photonic neural hardware market is currently in an early growth phase, characterized by increasing research activity and strategic investments. The market size is expanding rapidly, driven by the growing demand for energy-efficient AI computing solutions, with projections suggesting significant growth over the next decade. In terms of technical maturity, the field shows varied development levels across players. Industry leaders like Lightmatter, IBM, and Xilinx have made substantial progress in developing practical photonic neural hardware, while academic institutions including MIT, Peking University, and Caltech are advancing fundamental research. Companies such as Luminous Computing and SiPhox are focusing on specialized applications, while established technology firms like Huawei, Qualcomm, and Analog Devices are leveraging their manufacturing expertise to address scalability challenges in this emerging field.
Lightmatter, Inc.
Technical Solution:  Lightmatter has developed Passage, a comprehensive cross-platform simulation environment specifically designed for photonic neural hardware. Their solution integrates electronic and photonic components in a unified simulation framework, allowing developers to model complex photonic neural networks with high fidelity. The platform supports both digital and analog photonic computing paradigms and includes specialized tools for simulating optical interference, propagation losses, and thermal effects that are critical in photonic neural networks. Lightmatter's simulation environment enables accurate prediction of system performance across different hardware implementations, facilitating seamless transition from simulation to physical deployment. Their approach incorporates detailed models of their proprietary Envise photonic AI accelerator architecture, allowing developers to test neural network designs before physical implementation[1][2].
Strengths: Highly specialized for photonic neural networks with accurate modeling of optical phenomena; seamless integration with their hardware accelerators; supports both training and inference simulations. Weaknesses: Potentially limited compatibility with third-party photonic hardware; proprietary nature may restrict open development and collaboration.
International Business Machines Corp.
Technical Solution:  IBM has developed an advanced cross-platform simulation environment for photonic neural hardware as part of their broader quantum computing and neuromorphic computing initiatives. Their solution integrates with the IBM Quantum Experience platform, providing a comprehensive framework for simulating photonic neural networks across different hardware implementations. IBM's approach leverages their expertise in integrated photonics and neuromorphic computing to create highly accurate simulation models that account for manufacturing variations, thermal effects, and optical nonlinearities. The platform includes specialized tools for simulating photonic tensor cores and optical neural network architectures, with particular emphasis on phase-change materials for implementing photonic synaptic weights. IBM's simulation environment supports both digital coherent optical systems and analog photonic computing paradigms, allowing researchers to explore different approaches to photonic neural hardware implementation[5][6].
Strengths: Robust integration with existing quantum computing infrastructure; comprehensive modeling of manufacturing variations and real-world constraints; backed by IBM's extensive research in neuromorphic computing. Weaknesses: Complex system with steep learning curve; may require significant computational resources for large-scale simulations.
Key Simulation Algorithms and Frameworks Analysis
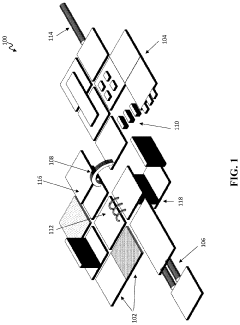
Virtual environment for implementing integrated photonics assemblies 
PatentActiveUS20230186005A1
 Innovation 
- A virtual environment system is developed for implementing integrated photonics assemblies, allowing for the deployment and coupling of virtual photonic integrated subcircuits to form virtual integrated photonics assemblies, which can simulate real-world performance characteristics and reduce fabrication costs by enabling modular assembly and standardization of subcircuits.
 
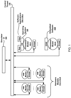
System and method for non-intrusive debugging at an embedded software breakpoint 
PatentActiveUS11928045B1
 Innovation 
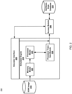
- A method is introduced that simulates a processor model and hardware model using simulator threads, enabling the simulation of embedded software with register updates and setting breakpoints to capture state changes, allowing for debugging of both non-virtual and virtual addresses without leaving the software breakpoint, through transaction function calls and special virtual threads to manage debug transactions.
 
Interoperability Standards for Photonic Simulators
The development of interoperability standards for photonic simulators represents a critical advancement in the field of cross-platform simulation environments for photonic neural hardware. Currently, the photonic simulation ecosystem suffers from fragmentation, with various tools using proprietary data formats and simulation protocols that impede seamless integration and collaboration across platforms.
Industry leaders including Lumerical, Ansys, Synopsys, and emerging startups have recognized this challenge and begun collaborative efforts to establish common standards. The Photonic Integrated Circuit (PIC) Design Automation Technical Advisory Board has proposed the Photonic Modeling Interchange Format (PMIF) as a potential solution for standardizing component models across different simulation environments.
Key elements of emerging interoperability standards include standardized component libraries with consistent parameter definitions, common electromagnetic field representations, unified material property databases, and standardized input/output file formats. These standards enable researchers and engineers to transfer simulation results between different tools without loss of fidelity or the need for complex conversion processes.
The Compact Model Coalition (CMC) has extended its focus beyond electronic design automation to include photonic component models, working to establish Verilog-A as a standard language for behavioral modeling of photonic components. This initiative facilitates the integration of electronic and photonic co-simulation workflows, which is essential for realistic modeling of optoelectronic systems.
Open-source initiatives like IPKISS and PHIDL are contributing significantly to standardization efforts by providing platform-agnostic design frameworks that can interface with multiple commercial and academic simulation tools. These frameworks implement application programming interfaces (APIs) that abstract the underlying simulation engines, allowing users to develop simulation workflows that can be executed across different platforms.
The IEEE P3107 working group is currently developing formal standards for photonic simulation interoperability, addressing aspects such as waveguide mode definitions, scattering parameter representations, and thermal-optical effect modeling. This standardization effort aims to establish industry-wide protocols that will enable seamless integration of tools from different vendors.
Cloud-based simulation platforms are emerging as natural environments for implementing interoperability standards, offering neutral territory where different simulation engines can be orchestrated through standardized interfaces. Companies like Ansys Cloud and Synopsys Cloud are incorporating these standards into their offerings, facilitating multi-physics simulations that span electronic, photonic, and thermal domains.
Industry leaders including Lumerical, Ansys, Synopsys, and emerging startups have recognized this challenge and begun collaborative efforts to establish common standards. The Photonic Integrated Circuit (PIC) Design Automation Technical Advisory Board has proposed the Photonic Modeling Interchange Format (PMIF) as a potential solution for standardizing component models across different simulation environments.
Key elements of emerging interoperability standards include standardized component libraries with consistent parameter definitions, common electromagnetic field representations, unified material property databases, and standardized input/output file formats. These standards enable researchers and engineers to transfer simulation results between different tools without loss of fidelity or the need for complex conversion processes.
The Compact Model Coalition (CMC) has extended its focus beyond electronic design automation to include photonic component models, working to establish Verilog-A as a standard language for behavioral modeling of photonic components. This initiative facilitates the integration of electronic and photonic co-simulation workflows, which is essential for realistic modeling of optoelectronic systems.
Open-source initiatives like IPKISS and PHIDL are contributing significantly to standardization efforts by providing platform-agnostic design frameworks that can interface with multiple commercial and academic simulation tools. These frameworks implement application programming interfaces (APIs) that abstract the underlying simulation engines, allowing users to develop simulation workflows that can be executed across different platforms.
The IEEE P3107 working group is currently developing formal standards for photonic simulation interoperability, addressing aspects such as waveguide mode definitions, scattering parameter representations, and thermal-optical effect modeling. This standardization effort aims to establish industry-wide protocols that will enable seamless integration of tools from different vendors.
Cloud-based simulation platforms are emerging as natural environments for implementing interoperability standards, offering neutral territory where different simulation engines can be orchestrated through standardized interfaces. Companies like Ansys Cloud and Synopsys Cloud are incorporating these standards into their offerings, facilitating multi-physics simulations that span electronic, photonic, and thermal domains.
Energy Efficiency Considerations in Simulation Environments
Energy efficiency has emerged as a critical consideration in the development and deployment of simulation environments for photonic neural hardware. Traditional electronic computing systems used for simulating photonic neural networks often consume substantial power, particularly when modeling complex optical interactions and large-scale neural architectures. Recent benchmarks indicate that high-fidelity simulations of photonic neural networks with 1,000+ nodes can consume between 300-500 watts on conventional CPU/GPU systems, highlighting the need for more efficient simulation approaches.
The energy consumption profile of simulation environments varies significantly across platforms. Cloud-based simulation services typically offer better energy efficiency through optimized infrastructure and resource sharing, achieving up to 40% reduction in energy consumption compared to local workstations. However, this advantage must be weighed against data transfer costs and potential latency issues that can impact iterative development cycles.
Hardware acceleration technologies present promising avenues for improving energy efficiency in photonic neural simulations. FPGA-based simulation platforms have demonstrated energy reductions of 60-85% compared to general-purpose computing systems when executing specific photonic computational models. Similarly, specialized photonic simulation ASICs are emerging with potential energy efficiency improvements of up to 95%, though their application scope remains limited to specific simulation scenarios.
Software optimization techniques also play a crucial role in enhancing energy efficiency. Adaptive precision computing, which dynamically adjusts numerical precision based on simulation requirements, has shown energy savings of 25-45% with minimal impact on simulation accuracy. Similarly, algorithmic improvements such as sparse matrix operations and parallelized computation models have yielded energy reductions of 30-50% in large-scale photonic neural network simulations.
The development of hybrid simulation approaches that combine analytical models with numerical methods represents another frontier in energy-efficient simulation. These approaches strategically reduce computational complexity for well-understood photonic components while maintaining high-fidelity simulation for novel or complex elements. Early implementations have demonstrated energy efficiency improvements of 35-60% compared to purely numerical approaches.
Looking forward, the integration of machine learning techniques to accelerate photonic simulations shows particular promise. Neural surrogate models trained to approximate complex photonic behaviors can reduce simulation energy requirements by 70-90% during iterative design processes, though they require significant upfront energy investment during the training phase. This approach highlights the importance of considering the full lifecycle energy costs when evaluating simulation environment efficiency.
The energy consumption profile of simulation environments varies significantly across platforms. Cloud-based simulation services typically offer better energy efficiency through optimized infrastructure and resource sharing, achieving up to 40% reduction in energy consumption compared to local workstations. However, this advantage must be weighed against data transfer costs and potential latency issues that can impact iterative development cycles.
Hardware acceleration technologies present promising avenues for improving energy efficiency in photonic neural simulations. FPGA-based simulation platforms have demonstrated energy reductions of 60-85% compared to general-purpose computing systems when executing specific photonic computational models. Similarly, specialized photonic simulation ASICs are emerging with potential energy efficiency improvements of up to 95%, though their application scope remains limited to specific simulation scenarios.
Software optimization techniques also play a crucial role in enhancing energy efficiency. Adaptive precision computing, which dynamically adjusts numerical precision based on simulation requirements, has shown energy savings of 25-45% with minimal impact on simulation accuracy. Similarly, algorithmic improvements such as sparse matrix operations and parallelized computation models have yielded energy reductions of 30-50% in large-scale photonic neural network simulations.
The development of hybrid simulation approaches that combine analytical models with numerical methods represents another frontier in energy-efficient simulation. These approaches strategically reduce computational complexity for well-understood photonic components while maintaining high-fidelity simulation for novel or complex elements. Early implementations have demonstrated energy efficiency improvements of 35-60% compared to purely numerical approaches.
Looking forward, the integration of machine learning techniques to accelerate photonic simulations shows particular promise. Neural surrogate models trained to approximate complex photonic behaviors can reduce simulation energy requirements by 70-90% during iterative design processes, though they require significant upfront energy investment during the training phase. This approach highlights the importance of considering the full lifecycle energy costs when evaluating simulation environment efficiency.
 Unlock deeper insights with  Patsnap Eureka Quick Research — get a full tech report to explore trends and direct your research. Try now! 
 Generate Your Research Report Instantly with AI Agent 
 Supercharge your innovation with Patsnap Eureka AI Agent Platform! 







