Differences in HPLC and NMR: Structural Elucidation Relevance
SEP 19, 20259 MIN READ
Generate Your Research Report Instantly with AI Agent
Patsnap Eureka helps you evaluate technical feasibility & market potential.
HPLC and NMR Technology Evolution and Objectives
High-performance liquid chromatography (HPLC) and nuclear magnetic resonance (NMR) spectroscopy represent two cornerstone analytical techniques that have revolutionized structural elucidation in chemistry, biochemistry, and pharmaceutical sciences. The evolution of these technologies spans several decades, with each following distinct yet occasionally intersecting developmental trajectories.
HPLC emerged in the late 1960s as an advancement of traditional column chromatography, offering improved resolution and quantification capabilities. The technology evolved from basic isocratic systems to sophisticated gradient systems in the 1970s, followed by the introduction of reversed-phase HPLC in the 1980s which dramatically expanded its application scope. The 1990s witnessed the development of ultra-high-performance liquid chromatography (UHPLC), enabling faster analysis with enhanced sensitivity and resolution.
Concurrently, NMR technology progressed from the first commercial spectrometers operating at 60 MHz in the 1960s to today's superconducting magnets exceeding 1 GHz. Key milestones include the introduction of Fourier transform NMR in the 1970s, two-dimensional NMR techniques in the 1980s, and cryoprobe technology in the 1990s, each substantially improving sensitivity and information content.
The technological objectives for both techniques have consistently centered around enhancing sensitivity, resolution, and information yield while reducing analysis time and sample requirements. For HPLC, this has manifested in the development of more efficient stationary phases, improved detector technologies, and miniaturization efforts leading to nano-HPLC systems. NMR development has focused on increasing magnetic field strengths, improving probe designs, and developing sophisticated pulse sequences for extracting specific structural information.
Recent technological convergence has led to hyphenated techniques such as HPLC-NMR, which combines the separation power of HPLC with the structural elucidation capabilities of NMR. This integration represents a significant advancement in addressing complex analytical challenges, particularly in natural product research, metabolomics, and pharmaceutical development.
Looking forward, the technological trajectory points toward further miniaturization, automation, and integration with other analytical platforms. For HPLC, trends include the development of chip-based systems and novel detection methods. NMR technology is advancing toward more accessible benchtop instruments, enhanced sensitivity through dynamic nuclear polarization, and expanded capabilities in protein structure determination and metabolomics.
The complementary nature of these technologies continues to drive innovation, with each providing unique insights into molecular structure that, when combined, offer comprehensive structural elucidation capabilities unattainable by either technique alone.
HPLC emerged in the late 1960s as an advancement of traditional column chromatography, offering improved resolution and quantification capabilities. The technology evolved from basic isocratic systems to sophisticated gradient systems in the 1970s, followed by the introduction of reversed-phase HPLC in the 1980s which dramatically expanded its application scope. The 1990s witnessed the development of ultra-high-performance liquid chromatography (UHPLC), enabling faster analysis with enhanced sensitivity and resolution.
Concurrently, NMR technology progressed from the first commercial spectrometers operating at 60 MHz in the 1960s to today's superconducting magnets exceeding 1 GHz. Key milestones include the introduction of Fourier transform NMR in the 1970s, two-dimensional NMR techniques in the 1980s, and cryoprobe technology in the 1990s, each substantially improving sensitivity and information content.
The technological objectives for both techniques have consistently centered around enhancing sensitivity, resolution, and information yield while reducing analysis time and sample requirements. For HPLC, this has manifested in the development of more efficient stationary phases, improved detector technologies, and miniaturization efforts leading to nano-HPLC systems. NMR development has focused on increasing magnetic field strengths, improving probe designs, and developing sophisticated pulse sequences for extracting specific structural information.
Recent technological convergence has led to hyphenated techniques such as HPLC-NMR, which combines the separation power of HPLC with the structural elucidation capabilities of NMR. This integration represents a significant advancement in addressing complex analytical challenges, particularly in natural product research, metabolomics, and pharmaceutical development.
Looking forward, the technological trajectory points toward further miniaturization, automation, and integration with other analytical platforms. For HPLC, trends include the development of chip-based systems and novel detection methods. NMR technology is advancing toward more accessible benchtop instruments, enhanced sensitivity through dynamic nuclear polarization, and expanded capabilities in protein structure determination and metabolomics.
The complementary nature of these technologies continues to drive innovation, with each providing unique insights into molecular structure that, when combined, offer comprehensive structural elucidation capabilities unattainable by either technique alone.
Market Applications and Demand Analysis for Structural Elucidation
The structural elucidation market has experienced significant growth over the past decade, driven primarily by pharmaceutical research and development, forensic analysis, and environmental monitoring. The global market for structural analysis technologies was valued at approximately $5.3 billion in 2022 and is projected to reach $7.8 billion by 2027, growing at a CAGR of 8.1%. Within this market, HPLC and NMR technologies collectively account for nearly 40% of the total market share.
Pharmaceutical and biotechnology sectors represent the largest application segments for structural elucidation technologies, comprising roughly 65% of the total market demand. This dominance stems from the critical need for accurate molecular characterization during drug discovery and development processes. The increasing complexity of drug candidates, particularly biologics and peptide-based therapeutics, has intensified the demand for complementary analytical techniques like HPLC and NMR.
Academic research institutions constitute the second-largest market segment, accounting for approximately 18% of the demand. These institutions primarily utilize structural elucidation technologies for fundamental research in chemistry, biochemistry, and materials science. Government funding for research infrastructure has significantly influenced the adoption rates of advanced analytical instruments in this sector.
The food and beverage industry has emerged as a rapidly growing application area, currently representing about 8% of the market. This growth is attributed to increasing regulatory requirements for food safety and authenticity testing. HPLC, in particular, has found extensive applications in nutritional analysis and contaminant detection in food products.
Environmental monitoring applications account for approximately 6% of the market, with growing emphasis on detecting and characterizing emerging contaminants in water systems. Both HPLC and NMR play crucial roles in identifying complex environmental pollutants and their degradation products.
Regional analysis reveals that North America dominates the structural elucidation market with a 38% share, followed by Europe (31%) and Asia-Pacific (24%). The Asia-Pacific region, particularly China and India, is experiencing the fastest growth rate due to expanding pharmaceutical manufacturing capabilities and increasing research investments.
Market surveys indicate that end-users increasingly prefer integrated analytical platforms that combine multiple techniques. This trend has driven the development of hyphenated techniques such as LC-NMR systems, which offer enhanced analytical capabilities by leveraging the complementary strengths of both methods. Industry reports suggest that approximately 72% of large pharmaceutical companies now employ multiple complementary techniques for comprehensive structural elucidation.
Pharmaceutical and biotechnology sectors represent the largest application segments for structural elucidation technologies, comprising roughly 65% of the total market demand. This dominance stems from the critical need for accurate molecular characterization during drug discovery and development processes. The increasing complexity of drug candidates, particularly biologics and peptide-based therapeutics, has intensified the demand for complementary analytical techniques like HPLC and NMR.
Academic research institutions constitute the second-largest market segment, accounting for approximately 18% of the demand. These institutions primarily utilize structural elucidation technologies for fundamental research in chemistry, biochemistry, and materials science. Government funding for research infrastructure has significantly influenced the adoption rates of advanced analytical instruments in this sector.
The food and beverage industry has emerged as a rapidly growing application area, currently representing about 8% of the market. This growth is attributed to increasing regulatory requirements for food safety and authenticity testing. HPLC, in particular, has found extensive applications in nutritional analysis and contaminant detection in food products.
Environmental monitoring applications account for approximately 6% of the market, with growing emphasis on detecting and characterizing emerging contaminants in water systems. Both HPLC and NMR play crucial roles in identifying complex environmental pollutants and their degradation products.
Regional analysis reveals that North America dominates the structural elucidation market with a 38% share, followed by Europe (31%) and Asia-Pacific (24%). The Asia-Pacific region, particularly China and India, is experiencing the fastest growth rate due to expanding pharmaceutical manufacturing capabilities and increasing research investments.
Market surveys indicate that end-users increasingly prefer integrated analytical platforms that combine multiple techniques. This trend has driven the development of hyphenated techniques such as LC-NMR systems, which offer enhanced analytical capabilities by leveraging the complementary strengths of both methods. Industry reports suggest that approximately 72% of large pharmaceutical companies now employ multiple complementary techniques for comprehensive structural elucidation.
Current Capabilities and Limitations of HPLC vs NMR
High-Performance Liquid Chromatography (HPLC) and Nuclear Magnetic Resonance (NMR) represent two fundamental analytical techniques with distinct capabilities and limitations for structural elucidation. HPLC excels in separation efficiency, allowing for the isolation of individual components from complex mixtures with high resolution. Modern HPLC systems can detect compounds at concentrations as low as picogram levels, making them exceptionally sensitive for trace analysis. However, HPLC primarily provides retention time data, which alone is insufficient for definitive structural identification.
NMR spectroscopy offers unparalleled capabilities for structural determination, providing detailed information about molecular connectivity, stereochemistry, and conformation. It can elucidate complete structures non-destructively and quantitatively without requiring reference standards. The technique delivers atom-specific information through chemical shifts, coupling constants, and relaxation times. However, NMR suffers from relatively low sensitivity, typically requiring microgram to milligram quantities of sample, which presents challenges when analyzing trace components.
Resolution represents another significant difference between these techniques. While HPLC can separate compounds with similar structures, it cannot distinguish between structural isomers with identical physicochemical properties. Conversely, NMR can readily differentiate between structural isomers, providing unique spectral fingerprints for each molecular arrangement, though it cannot physically separate mixtures.
Sample preparation requirements also differ substantially. HPLC often requires extensive sample preparation, including extraction, filtration, and sometimes derivatization. NMR typically needs minimal sample preparation beyond dissolution in an appropriate deuterated solvent, though concentration steps may be necessary for dilute samples.
Time considerations vary between the techniques. HPLC analyses typically complete within minutes to hours, allowing for high-throughput screening. NMR experiments range from minutes for simple 1D spectra to days for complex 2D or 3D experiments on dilute samples or when studying complex biomolecules.
Cost factors present another distinction. HPLC systems are generally more affordable and have lower operational costs than NMR spectrometers, which require expensive cryogens and specialized maintenance. This cost differential impacts accessibility, with HPLC being more widely available in standard analytical laboratories.
Data interpretation complexity differs significantly. HPLC chromatograms are relatively straightforward to interpret for identification and quantification when standards are available. NMR spectra interpretation requires specialized expertise and can be challenging for complex molecules, though the structural information obtained is far more comprehensive.
These complementary techniques are increasingly used in tandem, with HPLC providing separation and NMR offering structural confirmation. Hyphenated techniques like LC-NMR combine the strengths of both methods, though such systems remain expensive and technically demanding.
NMR spectroscopy offers unparalleled capabilities for structural determination, providing detailed information about molecular connectivity, stereochemistry, and conformation. It can elucidate complete structures non-destructively and quantitatively without requiring reference standards. The technique delivers atom-specific information through chemical shifts, coupling constants, and relaxation times. However, NMR suffers from relatively low sensitivity, typically requiring microgram to milligram quantities of sample, which presents challenges when analyzing trace components.
Resolution represents another significant difference between these techniques. While HPLC can separate compounds with similar structures, it cannot distinguish between structural isomers with identical physicochemical properties. Conversely, NMR can readily differentiate between structural isomers, providing unique spectral fingerprints for each molecular arrangement, though it cannot physically separate mixtures.
Sample preparation requirements also differ substantially. HPLC often requires extensive sample preparation, including extraction, filtration, and sometimes derivatization. NMR typically needs minimal sample preparation beyond dissolution in an appropriate deuterated solvent, though concentration steps may be necessary for dilute samples.
Time considerations vary between the techniques. HPLC analyses typically complete within minutes to hours, allowing for high-throughput screening. NMR experiments range from minutes for simple 1D spectra to days for complex 2D or 3D experiments on dilute samples or when studying complex biomolecules.
Cost factors present another distinction. HPLC systems are generally more affordable and have lower operational costs than NMR spectrometers, which require expensive cryogens and specialized maintenance. This cost differential impacts accessibility, with HPLC being more widely available in standard analytical laboratories.
Data interpretation complexity differs significantly. HPLC chromatograms are relatively straightforward to interpret for identification and quantification when standards are available. NMR spectra interpretation requires specialized expertise and can be challenging for complex molecules, though the structural information obtained is far more comprehensive.
These complementary techniques are increasingly used in tandem, with HPLC providing separation and NMR offering structural confirmation. Hyphenated techniques like LC-NMR combine the strengths of both methods, though such systems remain expensive and technically demanding.
Comparative Analysis of Current Methodologies
01 NMR spectroscopy for structural elucidation
Nuclear Magnetic Resonance (NMR) spectroscopy is a powerful analytical technique used for determining the molecular structure of compounds. It provides detailed information about the chemical environment of atoms, particularly hydrogen and carbon, allowing researchers to identify functional groups, connectivity, and three-dimensional arrangement of atoms within molecules. Advanced NMR techniques such as 2D NMR further enhance structural elucidation capabilities by showing correlations between different nuclei.- NMR spectroscopy for structural elucidation: Nuclear Magnetic Resonance (NMR) spectroscopy is a powerful analytical technique used for structural elucidation of organic compounds. It provides detailed information about the molecular structure, including the connectivity of atoms, stereochemistry, and conformational analysis. NMR techniques such as 1D and 2D experiments (like COSY, NOESY, HSQC, and HMBC) allow for comprehensive characterization of complex molecules by analyzing chemical shifts, coupling constants, and spin-spin interactions.
- HPLC methods for compound isolation and purification: High-Performance Liquid Chromatography (HPLC) is extensively used for the isolation, purification, and analysis of compounds prior to structural elucidation. Various HPLC techniques including reverse-phase, normal-phase, and size-exclusion chromatography enable the separation of complex mixtures based on different molecular properties. The purified compounds obtained through HPLC can then be subjected to spectroscopic analysis for structural determination, ensuring accurate results by eliminating interference from impurities.
- Combined HPLC-NMR techniques for integrated analysis: The integration of HPLC with NMR spectroscopy (HPLC-NMR) provides a powerful hyphenated technique for structural elucidation. This approach allows for direct analysis of separated compounds from complex mixtures without the need for isolation and purification steps. On-line or off-line coupling of these techniques enables rapid identification and characterization of unknown compounds, particularly useful for natural products, pharmaceuticals, and metabolites where sample quantities may be limited.
- Advanced NMR pulse sequences and data processing: Advanced NMR pulse sequences and sophisticated data processing methods enhance the capabilities of structural elucidation. Techniques such as multidimensional NMR, selective excitation, and relaxation-edited experiments provide increased resolution and sensitivity for complex structure determination. Modern computational approaches for NMR data analysis, including automated assignment algorithms and quantum mechanical calculations of chemical shifts, facilitate the interpretation of complex spectra and accelerate the structure elucidation process.
- Structural verification using complementary analytical techniques: Comprehensive structural elucidation often requires the combination of HPLC and NMR with complementary analytical techniques. Mass spectrometry, infrared spectroscopy, UV-visible spectroscopy, and X-ray crystallography provide additional structural information that complements NMR data. This multi-technique approach is particularly valuable for confirming proposed structures, determining absolute configuration, and resolving structural ambiguities that cannot be addressed by a single analytical method.
02 HPLC methods for compound separation and purification
High-Performance Liquid Chromatography (HPLC) is extensively used for the separation, identification, and quantification of components in mixtures. In structural elucidation workflows, HPLC serves as a crucial preparative step to isolate pure compounds before further analysis. Various detection methods can be coupled with HPLC, including UV-Vis, mass spectrometry, and even NMR, creating powerful hyphenated techniques that provide both separation and structural information simultaneously.Expand Specific Solutions03 Combined HPLC-NMR techniques for enhanced structural analysis
The integration of HPLC with NMR spectroscopy creates a powerful hyphenated technique for structural elucidation. This combination allows for the separation of complex mixtures by HPLC followed by immediate NMR analysis of the separated components, often without the need for isolation and purification steps. This approach is particularly valuable for analyzing complex natural products, pharmaceutical compounds, and metabolites, providing both chromatographic separation data and detailed structural information in a single analytical workflow.Expand Specific Solutions04 Advanced pulse sequences and data processing in NMR
Advanced pulse sequences and sophisticated data processing methods have significantly enhanced the capabilities of NMR for structural elucidation. These techniques include various 2D experiments such as COSY, HSQC, HMBC, and NOESY that provide information about connectivity and spatial relationships between atoms. Modern computational methods for data processing, including Fourier transformation algorithms and automated structure verification software, have made NMR analysis more efficient and accessible for complex structural determinations.Expand Specific Solutions05 Sample preparation and handling for HPLC and NMR analysis
Proper sample preparation and handling are critical for successful structural elucidation using HPLC and NMR techniques. This includes methods for extraction, concentration, derivatization, and dissolution in appropriate solvents. Specialized techniques have been developed for handling small sample quantities, unstable compounds, and complex matrices. The choice of appropriate deuterated solvents for NMR and mobile phases for HPLC significantly impacts the quality of data obtained and the success of structural elucidation efforts.Expand Specific Solutions
Leading Manufacturers and Research Institutions
The HPLC and NMR structural elucidation market is in a mature growth phase, with an estimated global market size exceeding $5 billion. The technology landscape features established analytical instrumentation leaders like Waters Technology Corp. and JEOL Ltd., who dominate the hardware segment with advanced chromatography and spectroscopy solutions. Pharmaceutical companies including Bristol Myers Squibb, Vertex Pharmaceuticals, and Merck & Co. represent major end-users driving innovation through application-specific requirements. The technology maturity varies between platforms - HPLC has reached commercial standardization while NMR continues evolving with specialized applications from companies like Bruker Switzerland and Daedalus Innovations focusing on high-field magnets and pressure-resistant probes. Academic institutions including University of Bristol and IIT Bombay contribute significantly to method development, creating a collaborative ecosystem between industry and research sectors.
Waters Technology Corp.
Technical Solution: Waters Technology has pioneered advanced HPLC technologies including UPLC (Ultra Performance Liquid Chromatography) systems that deliver superior resolution and sensitivity compared to traditional HPLC. Their ACQUITY UPLC systems operate at higher pressures (up to 15,000 psi) with sub-2-micron particle columns, enabling faster analysis times and improved peak capacity. Waters has integrated their HPLC systems with mass spectrometry for enhanced structural elucidation capabilities through their ACQUITY UPLC-MS platforms. Their systems incorporate sophisticated software algorithms for peak deconvolution and automated structural assignment, particularly valuable for complex biological samples and pharmaceutical compounds. Waters' technology enables separation of closely related compounds with minimal sample preparation, making it particularly valuable for metabolomics and proteomics research where structural differences may be subtle.
Strengths: Superior chromatographic resolution allowing detection of closely related structures; excellent reproducibility and quantitative capabilities; high-throughput capabilities with reduced analysis times. Weaknesses: Limited structural information compared to NMR; requires reference standards for definitive identification; column degradation can affect reproducibility over time.
JEOL Ltd.
Technical Solution: JEOL has developed cutting-edge NMR spectrometers with field strengths up to 1 GHz, providing unprecedented resolution for structural elucidation. Their ECZ series incorporates advanced digital signal processing technology that significantly improves signal-to-noise ratios, enabling detection of low-abundance metabolites and complex molecular structures. JEOL's Delta software platform features automated structure verification algorithms that compare experimental spectra with predicted patterns based on proposed structures, accelerating the elucidation process. Their systems employ multi-dimensional NMR techniques (HSQC, HMBC, NOESY) that establish connectivity between different nuclei, revealing detailed structural information about molecular frameworks. JEOL has pioneered solid-state NMR technologies that extend structural analysis capabilities to insoluble compounds, polymers, and materials that cannot be analyzed by solution NMR or HPLC methods. Their recent innovations include cryoprobe technology that enhances sensitivity by cooling the detection coils to near-liquid helium temperatures, reducing thermal noise and improving signal detection by up to 4-fold.
Strengths: Provides comprehensive structural information including stereochemistry and conformational details; non-destructive analysis allowing sample recovery; capable of analyzing complex mixtures without prior separation. Weaknesses: Higher cost and maintenance requirements than HPLC systems; lower sensitivity requiring larger sample amounts; more complex data interpretation requiring specialized expertise.
Key Technical Innovations in Structural Elucidation
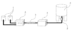
Liquid chromatograph-nuclear magnetic resonance analysis system
PatentInactiveJP2012215554A
Innovation
- A mixing device capable of continuous online operation, such as a static mixer, is installed on the flow path connecting the LC analyzer and the NMR spectrometer to homogenize sample fractions before NMR analysis, ensuring a uniform magnetic field for high-quality spectra.
Method of preparing amino carboxylic acids
PatentInactiveUS6759549B2
Innovation
- A carboxymethylation process involving a reaction mixture with a base pair derived from a carbamoyl compound and a carboxymethylation catalyst precursor, using carbon monoxide and hydrogen, which avoids the generation of sodium chloride as a by-product and operates under more favorable conditions.
Data Integration Strategies for Complementary Methods
Effective integration of HPLC and NMR data represents a critical advancement in structural elucidation methodologies. The complementary nature of these techniques necessitates sophisticated data integration strategies to maximize analytical outcomes. Current approaches focus on correlative analysis frameworks that align chromatographic separation data with spectroscopic structural information.
Multi-dimensional data fusion techniques have emerged as particularly valuable, allowing researchers to create comprehensive analytical profiles. These methods typically involve statistical correlation of retention times from HPLC with chemical shift patterns from NMR, creating integrated fingerprints that provide more definitive structural characterization than either method alone. Advanced algorithms now facilitate automated pattern recognition across both data types, significantly reducing analysis time while enhancing accuracy.
Cloud-based integration platforms represent the latest development in this field, enabling real-time cross-referencing between HPLC and NMR datasets. These systems incorporate machine learning capabilities that continuously improve correlation accuracy through iterative analysis of known compounds, building increasingly robust prediction models for novel structures.
Workflow optimization strategies have proven essential for effective integration. Sequential analysis protocols typically begin with HPLC separation and fraction collection, followed by targeted NMR analysis of specific fractions of interest. This approach maximizes efficiency by focusing intensive NMR resources on the most relevant samples identified through preliminary HPLC screening.
Database integration represents another crucial strategy, with several commercial and open-source platforms now offering unified repositories that link chromatographic and spectroscopic data. These integrated databases enable rapid cross-referencing of unknown compounds against established profiles, dramatically accelerating the identification process for common structural elements.
Standardization efforts across the analytical chemistry community have further enhanced integration capabilities. The development of universal data formats and transfer protocols has simplified the previously challenging task of moving data between HPLC and NMR systems from different manufacturers. Organizations such as the Metabolomics Standards Initiative have been instrumental in establishing these cross-platform compatibility frameworks.
Future integration strategies are increasingly focused on real-time correlation capabilities, with emerging technologies enabling simultaneous HPLC-NMR analysis through hyphenated instrumentation. These systems promise to eliminate the current workflow discontinuities between techniques, offering seamless structural elucidation pathways particularly valuable for complex natural product and pharmaceutical analyses.
Multi-dimensional data fusion techniques have emerged as particularly valuable, allowing researchers to create comprehensive analytical profiles. These methods typically involve statistical correlation of retention times from HPLC with chemical shift patterns from NMR, creating integrated fingerprints that provide more definitive structural characterization than either method alone. Advanced algorithms now facilitate automated pattern recognition across both data types, significantly reducing analysis time while enhancing accuracy.
Cloud-based integration platforms represent the latest development in this field, enabling real-time cross-referencing between HPLC and NMR datasets. These systems incorporate machine learning capabilities that continuously improve correlation accuracy through iterative analysis of known compounds, building increasingly robust prediction models for novel structures.
Workflow optimization strategies have proven essential for effective integration. Sequential analysis protocols typically begin with HPLC separation and fraction collection, followed by targeted NMR analysis of specific fractions of interest. This approach maximizes efficiency by focusing intensive NMR resources on the most relevant samples identified through preliminary HPLC screening.
Database integration represents another crucial strategy, with several commercial and open-source platforms now offering unified repositories that link chromatographic and spectroscopic data. These integrated databases enable rapid cross-referencing of unknown compounds against established profiles, dramatically accelerating the identification process for common structural elements.
Standardization efforts across the analytical chemistry community have further enhanced integration capabilities. The development of universal data formats and transfer protocols has simplified the previously challenging task of moving data between HPLC and NMR systems from different manufacturers. Organizations such as the Metabolomics Standards Initiative have been instrumental in establishing these cross-platform compatibility frameworks.
Future integration strategies are increasingly focused on real-time correlation capabilities, with emerging technologies enabling simultaneous HPLC-NMR analysis through hyphenated instrumentation. These systems promise to eliminate the current workflow discontinuities between techniques, offering seamless structural elucidation pathways particularly valuable for complex natural product and pharmaceutical analyses.
Validation Standards and Quality Control Considerations
Validation standards and quality control considerations are paramount when comparing HPLC and NMR techniques for structural elucidation. Both methodologies require rigorous validation protocols to ensure reliable and reproducible results, though their specific requirements differ significantly due to their underlying principles.
For HPLC validation, system suitability tests must be performed regularly to verify chromatographic parameters such as resolution, tailing factor, and theoretical plate count. Method validation follows ICH Q2(R1) guidelines, encompassing specificity, linearity, accuracy, precision, detection limit, quantitation limit, and robustness. Quality control samples at low, medium, and high concentrations should be analyzed alongside unknowns to continuously monitor system performance.
NMR validation focuses on different parameters, including chemical shift accuracy, signal-to-noise ratio, and spectral resolution. Regular calibration using standard reference materials like tetramethylsilane (TMS) is essential. Quality control for NMR involves periodic checks of magnetic field homogeneity, probe tuning, and temperature stability. Unlike HPLC, NMR requires less frequent calibration but demands more sophisticated environmental controls to maintain magnetic field stability.
Interlaboratory comparisons represent a critical aspect of validation for both techniques. These comparisons help establish method transferability and identify potential sources of variability. For structural elucidation purposes, orthogonal validation—confirming results through complementary techniques—is particularly valuable, often involving the use of both HPLC and NMR to cross-validate findings.
Documentation requirements differ between the techniques. HPLC methods typically require more extensive documentation of system suitability parameters and calibration curves, while NMR validation emphasizes spectral processing parameters and reference standard characterization. Both techniques benefit from the implementation of electronic laboratory notebooks to ensure data integrity and traceability.
Quality by Design (QbD) principles are increasingly applied to both HPLC and NMR method development. This approach involves defining the analytical target profile, identifying critical method attributes, and establishing a design space within which method parameters can be adjusted without compromising result quality. For structural elucidation, this means understanding how variations in method parameters might affect the ability to correctly identify molecular structures.
Automated system checks are more advanced in modern HPLC systems, which often include built-in diagnostics for leak detection, pressure monitoring, and detector performance. NMR systems typically require more specialized knowledge for quality control implementation, with emphasis on shimming procedures and probe performance verification.
For HPLC validation, system suitability tests must be performed regularly to verify chromatographic parameters such as resolution, tailing factor, and theoretical plate count. Method validation follows ICH Q2(R1) guidelines, encompassing specificity, linearity, accuracy, precision, detection limit, quantitation limit, and robustness. Quality control samples at low, medium, and high concentrations should be analyzed alongside unknowns to continuously monitor system performance.
NMR validation focuses on different parameters, including chemical shift accuracy, signal-to-noise ratio, and spectral resolution. Regular calibration using standard reference materials like tetramethylsilane (TMS) is essential. Quality control for NMR involves periodic checks of magnetic field homogeneity, probe tuning, and temperature stability. Unlike HPLC, NMR requires less frequent calibration but demands more sophisticated environmental controls to maintain magnetic field stability.
Interlaboratory comparisons represent a critical aspect of validation for both techniques. These comparisons help establish method transferability and identify potential sources of variability. For structural elucidation purposes, orthogonal validation—confirming results through complementary techniques—is particularly valuable, often involving the use of both HPLC and NMR to cross-validate findings.
Documentation requirements differ between the techniques. HPLC methods typically require more extensive documentation of system suitability parameters and calibration curves, while NMR validation emphasizes spectral processing parameters and reference standard characterization. Both techniques benefit from the implementation of electronic laboratory notebooks to ensure data integrity and traceability.
Quality by Design (QbD) principles are increasingly applied to both HPLC and NMR method development. This approach involves defining the analytical target profile, identifying critical method attributes, and establishing a design space within which method parameters can be adjusted without compromising result quality. For structural elucidation, this means understanding how variations in method parameters might affect the ability to correctly identify molecular structures.
Automated system checks are more advanced in modern HPLC systems, which often include built-in diagnostics for leak detection, pressure monitoring, and detector performance. NMR systems typically require more specialized knowledge for quality control implementation, with emphasis on shimming procedures and probe performance verification.
Unlock deeper insights with Patsnap Eureka Quick Research — get a full tech report to explore trends and direct your research. Try now!
Generate Your Research Report Instantly with AI Agent
Supercharge your innovation with Patsnap Eureka AI Agent Platform!







