How to Improve OLED Contrast Ratio for Enhanced Viewing
SEP 12, 20259 MIN READ
Generate Your Research Report Instantly with AI Agent
Patsnap Eureka helps you evaluate technical feasibility & market potential.
OLED Contrast Technology Evolution and Objectives
Organic Light-Emitting Diode (OLED) technology has revolutionized display systems since its commercial introduction in the late 1990s. The evolution of OLED contrast capabilities represents a critical trajectory in display technology advancement, moving from early implementations with modest contrast ratios of 1,000:1 to contemporary solutions achieving theoretical infinite contrast through perfect black levels. This remarkable progression stems from OLED's fundamental ability to completely deactivate individual pixels, eliminating light leakage that plagues traditional LCD technology.
The historical development of OLED contrast enhancement has followed several distinct phases. Initial commercial OLED displays (1997-2007) focused primarily on establishing basic functionality, with contrast as a secondary consideration. The middle development period (2008-2015) saw significant improvements in manufacturing processes, particularly in reducing pixel crosstalk and improving light management within the panel structure, resulting in contrast ratios exceeding 100,000:1 in premium displays.
Current generation OLED technology (2016-present) has shifted focus toward addressing remaining contrast limitations, particularly in high ambient light conditions where reflected light significantly diminishes perceived contrast. This has led to innovations in anti-reflection coatings, polarization layers, and pixel structure modifications designed specifically to maintain contrast performance across diverse viewing environments.
The primary technical objective in OLED contrast enhancement centers on maximizing the ratio between the brightest whites and darkest blacks the display can produce, while maintaining this performance across varying ambient conditions. This encompasses several sub-objectives: increasing peak brightness without compromising black levels, minimizing light reflection from external sources, reducing pixel crosstalk that can elevate black levels, and optimizing power efficiency to enable sustained high contrast operation.
Industry projections indicate that next-generation OLED contrast technology will likely pursue several parallel paths, including advanced quantum dot integration for enhanced brightness without black level compromise, micro-lens array implementations for improved light extraction efficiency, and novel pixel architectures that further reduce electrical and optical interference between adjacent pixels.
The ultimate goal remains achieving display performance that approximates the human visual system's capabilities, with contrast ratios exceeding 1,000,000:1 under typical viewing conditions, while simultaneously addressing related challenges in color accuracy, viewing angle performance, and power consumption. This represents not merely an incremental improvement but a fundamental shift toward display systems that can reproduce visual information with unprecedented fidelity.
The historical development of OLED contrast enhancement has followed several distinct phases. Initial commercial OLED displays (1997-2007) focused primarily on establishing basic functionality, with contrast as a secondary consideration. The middle development period (2008-2015) saw significant improvements in manufacturing processes, particularly in reducing pixel crosstalk and improving light management within the panel structure, resulting in contrast ratios exceeding 100,000:1 in premium displays.
Current generation OLED technology (2016-present) has shifted focus toward addressing remaining contrast limitations, particularly in high ambient light conditions where reflected light significantly diminishes perceived contrast. This has led to innovations in anti-reflection coatings, polarization layers, and pixel structure modifications designed specifically to maintain contrast performance across diverse viewing environments.
The primary technical objective in OLED contrast enhancement centers on maximizing the ratio between the brightest whites and darkest blacks the display can produce, while maintaining this performance across varying ambient conditions. This encompasses several sub-objectives: increasing peak brightness without compromising black levels, minimizing light reflection from external sources, reducing pixel crosstalk that can elevate black levels, and optimizing power efficiency to enable sustained high contrast operation.
Industry projections indicate that next-generation OLED contrast technology will likely pursue several parallel paths, including advanced quantum dot integration for enhanced brightness without black level compromise, micro-lens array implementations for improved light extraction efficiency, and novel pixel architectures that further reduce electrical and optical interference between adjacent pixels.
The ultimate goal remains achieving display performance that approximates the human visual system's capabilities, with contrast ratios exceeding 1,000,000:1 under typical viewing conditions, while simultaneously addressing related challenges in color accuracy, viewing angle performance, and power consumption. This represents not merely an incremental improvement but a fundamental shift toward display systems that can reproduce visual information with unprecedented fidelity.
Market Demand Analysis for High-Contrast Display Solutions
The global display market is witnessing a significant shift towards high-contrast display technologies, with OLED (Organic Light-Emitting Diode) displays leading this transformation. Market research indicates that the premium display segment, where contrast ratio is a critical differentiator, is growing at twice the rate of the overall display market. This acceleration is primarily driven by consumer electronics, particularly smartphones and high-end televisions, where visual quality directly influences purchasing decisions.
Consumer demand for superior viewing experiences has intensified, especially as content consumption on mobile devices continues to rise. Studies show that users spend an average of 4.2 hours daily on mobile devices, with video content representing over 60% of internet traffic. This consumption pattern has elevated contrast ratio from a technical specification to a key selling point, as consumers increasingly recognize its impact on image quality, particularly when viewing HDR (High Dynamic Range) content.
The professional market segment presents another substantial demand driver. Creative professionals in fields such as graphic design, video editing, and digital photography require displays with exceptional contrast ratios to ensure color accuracy and detail preservation. This professional segment, though smaller in volume than the consumer market, commands premium pricing and influences technological development directions.
Automotive displays represent an emerging high-growth sector for high-contrast display solutions. As vehicles incorporate more sophisticated infotainment systems and digital dashboards, the need for displays that remain readable in varying lighting conditions—from direct sunlight to night driving—has become critical. Industry projections suggest that the automotive display market will grow by 12% annually through 2027, with contrast ratio improvements being a key technical requirement.
The healthcare sector also demonstrates increasing demand for high-contrast displays in diagnostic imaging equipment. Radiologists and other medical professionals require displays that can accurately render subtle differences in tissue density, making contrast ratio a literal life-or-death specification in certain applications.
From a geographical perspective, demand for high-contrast displays shows regional variations. Asian markets, particularly South Korea, Japan, and China, demonstrate the highest consumer awareness of display specifications, including contrast ratio. North American and European markets show stronger demand in professional and specialty applications, while emerging markets are increasingly adopting high-contrast displays as premium smartphone penetration increases.
Market forecasts indicate that the premium display segment, where contrast ratio is a key differentiator, will continue to outpace the broader display market growth, with an estimated market value exceeding $25 billion by 2025. This growth trajectory underscores the strategic importance of contrast ratio improvements for display manufacturers seeking to capture value in an increasingly competitive market.
Consumer demand for superior viewing experiences has intensified, especially as content consumption on mobile devices continues to rise. Studies show that users spend an average of 4.2 hours daily on mobile devices, with video content representing over 60% of internet traffic. This consumption pattern has elevated contrast ratio from a technical specification to a key selling point, as consumers increasingly recognize its impact on image quality, particularly when viewing HDR (High Dynamic Range) content.
The professional market segment presents another substantial demand driver. Creative professionals in fields such as graphic design, video editing, and digital photography require displays with exceptional contrast ratios to ensure color accuracy and detail preservation. This professional segment, though smaller in volume than the consumer market, commands premium pricing and influences technological development directions.
Automotive displays represent an emerging high-growth sector for high-contrast display solutions. As vehicles incorporate more sophisticated infotainment systems and digital dashboards, the need for displays that remain readable in varying lighting conditions—from direct sunlight to night driving—has become critical. Industry projections suggest that the automotive display market will grow by 12% annually through 2027, with contrast ratio improvements being a key technical requirement.
The healthcare sector also demonstrates increasing demand for high-contrast displays in diagnostic imaging equipment. Radiologists and other medical professionals require displays that can accurately render subtle differences in tissue density, making contrast ratio a literal life-or-death specification in certain applications.
From a geographical perspective, demand for high-contrast displays shows regional variations. Asian markets, particularly South Korea, Japan, and China, demonstrate the highest consumer awareness of display specifications, including contrast ratio. North American and European markets show stronger demand in professional and specialty applications, while emerging markets are increasingly adopting high-contrast displays as premium smartphone penetration increases.
Market forecasts indicate that the premium display segment, where contrast ratio is a key differentiator, will continue to outpace the broader display market growth, with an estimated market value exceeding $25 billion by 2025. This growth trajectory underscores the strategic importance of contrast ratio improvements for display manufacturers seeking to capture value in an increasingly competitive market.
Current OLED Contrast Limitations and Technical Barriers
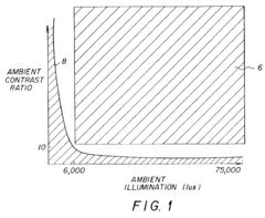
Despite significant advancements in OLED technology, several technical limitations continue to impede optimal contrast ratio performance. The primary challenge lies in the black level performance, where even when pixels are turned off, some light leakage occurs due to ambient light reflection from various display layers. This reflection significantly reduces the perceived contrast ratio, particularly in bright viewing environments, negating one of OLED's inherent advantages over competing technologies.
Another critical barrier is the degradation of organic materials over time. The blue OLED compounds, in particular, deteriorate faster than red and green counterparts, leading to uneven aging across different color elements. This differential degradation creates color shifts and reduces contrast performance as the display ages, affecting the long-term viewing experience and perceived image quality.
Power consumption limitations also impact contrast capabilities. While OLEDs can theoretically achieve perfect blacks by turning pixels completely off, maximizing brightness for peak luminance requires substantial power. Mobile and portable devices face strict power constraints, forcing manufacturers to limit peak brightness, which directly affects the achievable contrast ratio in real-world applications.
Manufacturing consistency presents another significant challenge. Current production processes struggle to maintain uniform pixel performance across large panels, resulting in variations in brightness and color accuracy. These inconsistencies become particularly noticeable in dark scenes, where even minor variations can significantly impact perceived contrast quality.
External light management remains problematic for OLED displays. Unlike some LCD technologies that incorporate advanced anti-reflective coatings and optical films, OLED panels typically have more reflective surfaces. This characteristic makes them particularly vulnerable to contrast degradation in environments with strong ambient lighting, limiting their performance in outdoor or brightly lit indoor settings.
Heat dissipation issues further complicate contrast optimization. When OLED displays operate at high brightness levels, they generate considerable heat that can accelerate material degradation and affect pixel performance. Without effective thermal management solutions, manufacturers must limit brightness to prevent overheating, directly impacting the maximum achievable contrast ratio.
Software and signal processing limitations also contribute to contrast challenges. Current image processing algorithms struggle to optimize content for the full dynamic range capabilities of OLED displays, particularly when handling HDR content with extreme brightness variations. This processing gap prevents users from experiencing the theoretical contrast capabilities of the underlying hardware.
Another critical barrier is the degradation of organic materials over time. The blue OLED compounds, in particular, deteriorate faster than red and green counterparts, leading to uneven aging across different color elements. This differential degradation creates color shifts and reduces contrast performance as the display ages, affecting the long-term viewing experience and perceived image quality.
Power consumption limitations also impact contrast capabilities. While OLEDs can theoretically achieve perfect blacks by turning pixels completely off, maximizing brightness for peak luminance requires substantial power. Mobile and portable devices face strict power constraints, forcing manufacturers to limit peak brightness, which directly affects the achievable contrast ratio in real-world applications.
Manufacturing consistency presents another significant challenge. Current production processes struggle to maintain uniform pixel performance across large panels, resulting in variations in brightness and color accuracy. These inconsistencies become particularly noticeable in dark scenes, where even minor variations can significantly impact perceived contrast quality.
External light management remains problematic for OLED displays. Unlike some LCD technologies that incorporate advanced anti-reflective coatings and optical films, OLED panels typically have more reflective surfaces. This characteristic makes them particularly vulnerable to contrast degradation in environments with strong ambient lighting, limiting their performance in outdoor or brightly lit indoor settings.
Heat dissipation issues further complicate contrast optimization. When OLED displays operate at high brightness levels, they generate considerable heat that can accelerate material degradation and affect pixel performance. Without effective thermal management solutions, manufacturers must limit brightness to prevent overheating, directly impacting the maximum achievable contrast ratio.
Software and signal processing limitations also contribute to contrast challenges. Current image processing algorithms struggle to optimize content for the full dynamic range capabilities of OLED displays, particularly when handling HDR content with extreme brightness variations. This processing gap prevents users from experiencing the theoretical contrast capabilities of the underlying hardware.
Existing Contrast Ratio Improvement Techniques and Implementations
01 Pixel structure and driving methods for improved contrast ratio
Various pixel structures and driving methods can be implemented to enhance the contrast ratio of OLED displays. These include optimized pixel circuit designs, specialized driving schemes that control voltage or current to individual pixels, and techniques that reduce light leakage in off-state pixels. These approaches help achieve deeper blacks and brighter whites, resulting in significantly improved contrast ratios for OLED displays.- Pixel structure and driving methods for improved contrast ratio: Various pixel structures and driving methods can be implemented in OLED displays to enhance contrast ratio. These include optimized pixel arrangements, specialized driving circuits, and voltage control techniques that allow for better black levels and brighter whites. Advanced driving schemes can reduce light leakage in off-states while maximizing luminance in on-states, resulting in higher contrast ratios across different viewing conditions.
- Black level enhancement technologies: Technologies specifically focused on improving black levels in OLED displays contribute significantly to higher contrast ratios. These include specialized black insertion techniques, pixel compensation circuits, and optical designs that minimize ambient light reflection. By achieving deeper blacks, these technologies create a more pronounced difference between the darkest and brightest parts of the display, enhancing the perceived contrast ratio and image quality.
- Contrast enhancement through panel structure and materials: The physical structure and materials used in OLED panels directly impact contrast ratio performance. Innovations in this area include specialized electrode materials, improved organic layer compositions, and optimized panel layering techniques. Advanced light-blocking layers, anti-reflection coatings, and novel substrate materials can reduce light interference and reflection, resulting in higher contrast ratios especially in bright ambient conditions.
- Image processing algorithms for contrast enhancement: Sophisticated image processing algorithms play a crucial role in optimizing OLED contrast ratios. These include dynamic contrast adjustment, local dimming control, and content-adaptive brightness scaling. By analyzing image content in real-time and selectively adjusting pixel luminance values, these algorithms can expand the perceived contrast ratio beyond the physical limitations of the display hardware, resulting in more visually striking images with greater depth.
- Display system integration for optimized contrast performance: The integration of OLED displays into complete display systems offers additional opportunities for contrast ratio enhancement. This includes coordinated control of display parameters with ambient light sensors, viewing angle compensation, and user preference settings. System-level approaches can dynamically adjust contrast performance based on environmental conditions and content types, ensuring optimal visual quality across diverse usage scenarios.
02 Black level enhancement techniques
Various methods can be employed to improve the black levels in OLED displays, which directly enhances the contrast ratio. These techniques include specialized black frame insertion algorithms, dynamic pixel compensation, and optical treatments that reduce ambient light reflection. By achieving deeper blacks, these methods significantly improve the perceived contrast ratio of OLED displays, especially in varying lighting conditions.Expand Specific Solutions03 Material composition and layer structure optimization
The contrast ratio of OLED displays can be significantly improved through optimization of material compositions and layer structures. This includes developing specialized organic materials with better light emission properties, implementing multi-layer structures that enhance light output while reducing reflection, and incorporating novel electrode materials. These material innovations help achieve higher brightness levels while maintaining deep blacks, resulting in superior contrast ratios.Expand Specific Solutions04 Image processing algorithms for contrast enhancement
Advanced image processing algorithms can be implemented to enhance the contrast ratio of OLED displays. These include dynamic contrast adjustment, local dimming techniques, and content-adaptive brightness control. By analyzing and optimizing image data before display, these algorithms can maximize the perceived contrast ratio by selectively enhancing bright areas while preserving detail in dark regions.Expand Specific Solutions05 Display panel structure and optical enhancements
The physical structure of OLED display panels can be optimized to improve contrast ratio. This includes implementing specialized light management films, anti-reflection coatings, and polarizer configurations. Additionally, novel encapsulation methods and panel structures can reduce internal reflections and light scattering. These structural enhancements help maintain image quality and contrast ratio under various viewing conditions.Expand Specific Solutions
Leading Manufacturers and Research Institutions in OLED Technology
The OLED contrast ratio enhancement market is currently in a growth phase, with increasing demand for superior display quality across consumer electronics. The market size is expanding rapidly, driven by the proliferation of high-end smartphones, TVs, and wearables requiring enhanced viewing experiences. Technologically, industry leaders like Samsung Display, BOE Technology, and TCL China Star Optoelectronics are advancing OLED contrast capabilities through innovations in pixel architecture, material science, and driving algorithms. Companies including Visionox, Sharp, and Eastman Kodak are developing complementary technologies focusing on black level enhancement and color management. The competitive landscape features established Asian manufacturers dominating production capacity, while specialized material suppliers like Ningbo Lumilan New Material contribute to the ecosystem with advanced OLED compounds that directly impact contrast performance.
TCL China Star Optoelectronics Technology Co., Ltd.
Technical Solution: TCL CSOT has developed H-OLED (Hybrid OLED) technology that combines the benefits of RGB OLED with white OLED architectures to achieve superior contrast ratios. Their approach uses a specialized pixel structure where different sub-pixels employ different OLED materials optimized for specific color reproduction, allowing for more precise control of light output across the luminance range. TCL has also implemented advanced thin film transistor (TFT) backplanes using Low-Temperature Polycrystalline Oxide (LTPO) technology, which enables more precise current control to each pixel, resulting in better black levels and improved contrast. Their displays incorporate a proprietary optical stack design that minimizes internal reflections and includes specialized polarizers that reduce ambient light reflection by up to 40% compared to standard OLED displays. TCL CSOT has also developed an intelligent contrast enhancement algorithm that dynamically adjusts OLED pixel driving based on ambient light conditions detected by integrated sensors.
Strengths: Excellent balance between manufacturing cost and contrast performance; hybrid pixel architecture that optimizes each color channel independently; superior ambient light rejection that maintains contrast in varied lighting conditions. Weaknesses: Slightly less uniform black levels compared to premium competitors; color accuracy can drift more quickly over time; limited implementation in ultra-premium display products where contrast is most critical.
BOE Technology Group Co., Ltd.
Technical Solution: BOE has developed several innovative approaches to enhance OLED contrast ratios. Their Advanced OLED (AMOLED) technology utilizes a proprietary pixel structure that minimizes current leakage in the off-state, resulting in deeper blacks. BOE has implemented a dual-layer OLED architecture in some of their premium displays, where two OLED panels are stacked with precise alignment to effectively double the contrast ratio while maintaining color accuracy. Their latest innovation includes a micro-lens array integrated into the OLED panel that reduces internal reflections and light scattering, significantly improving contrast in bright ambient conditions. BOE has also developed advanced thin film encapsulation (TFE) technology that reduces the number of layers in the display stack, minimizing internal reflections that can degrade contrast. Additionally, their displays incorporate dynamic tone mapping algorithms that analyze content frame-by-frame to optimize contrast based on scene characteristics.
Strengths: Cost-effective manufacturing processes that make high-contrast OLED more accessible; innovative dual-layer technology provides exceptional contrast without sacrificing brightness; advanced encapsulation techniques that improve panel longevity while enhancing optical performance. Weaknesses: Some inconsistency in quality control across different manufacturing facilities; slightly higher power consumption in their dual-layer implementations; contrast performance can degrade more quickly over time compared to some competitors.
Critical Patents and Research on OLED Black Level Enhancement
OLED device having improved contrast
PatentActiveUS7402951B2
Innovation
- An OLED device structure incorporating a contrast enhancement element with a patterned reflective layer and a light-absorbing layer, where the reflective layer is between the light-absorbing layer and the transparent electrode, featuring transparent openings to allow emitted light to pass through, thereby improving ambient contrast.
Organic light emitting diode display
PatentInactiveEP1383180A3
Innovation
- The implementation of a periodic grating structure in the insulating layer and metal electrodes to induce surface plasmon cross-coupling, enhancing light output and reducing absorption, combined with a circular polarizer or light-absorbing layer to achieve higher ambient contrast ratios while maintaining low power usage.
Power Efficiency vs. Contrast Performance Trade-offs
The fundamental challenge in OLED display technology lies in the inherent trade-off between power efficiency and contrast ratio performance. Higher contrast ratios typically require increased luminance levels for bright areas, which consequently demands greater power consumption. This relationship creates a significant engineering dilemma for display manufacturers seeking to optimize both parameters simultaneously.
When OLED pixels generate brighter whites, they consume exponentially more power, following a non-linear power curve. For instance, increasing brightness from 500 nits to 1000 nits typically requires more than double the power input. This power scaling issue becomes particularly problematic in HDR content display, where peak brightness requirements can reach 1000-4000 nits while maintaining deep blacks for maximum contrast.
Several technical approaches have emerged to address this trade-off. Pixel compensation circuits represent one solution, dynamically adjusting power allocation based on image content. These circuits can reduce power consumption by up to 30% while maintaining contrast performance by selectively boosting only the pixels that require high luminance.
Advanced OLED materials development has also yielded promising results. Phosphorescent and TADF (Thermally Activated Delayed Fluorescence) emitters demonstrate significantly higher efficiency than traditional fluorescent materials, achieving internal quantum efficiencies approaching 100%. This efficiency improvement allows for higher brightness without proportional power increases, effectively improving the contrast-to-power ratio.
Optical enhancement techniques provide another avenue for optimization. Micro-lens arrays and specialized light extraction films can increase light output efficiency by 20-40% without additional power requirements. Similarly, anti-reflection coatings reduce ambient light reflection, enhancing perceived contrast in bright environments without necessitating higher power consumption.
Dynamic power management algorithms represent perhaps the most sophisticated approach to this challenge. These systems analyze content in real-time, selectively allocating power resources to high-contrast areas while conserving energy in less critical regions. Machine learning-enhanced algorithms have demonstrated the ability to maintain 90% of perceived contrast quality while reducing overall power consumption by up to 45% compared to static brightness settings.
The industry continues to explore novel solutions such as hybrid pixel architectures that combine different OLED materials optimized for either efficiency or brightness, allowing displays to dynamically switch between modes based on content requirements and power availability.
When OLED pixels generate brighter whites, they consume exponentially more power, following a non-linear power curve. For instance, increasing brightness from 500 nits to 1000 nits typically requires more than double the power input. This power scaling issue becomes particularly problematic in HDR content display, where peak brightness requirements can reach 1000-4000 nits while maintaining deep blacks for maximum contrast.
Several technical approaches have emerged to address this trade-off. Pixel compensation circuits represent one solution, dynamically adjusting power allocation based on image content. These circuits can reduce power consumption by up to 30% while maintaining contrast performance by selectively boosting only the pixels that require high luminance.
Advanced OLED materials development has also yielded promising results. Phosphorescent and TADF (Thermally Activated Delayed Fluorescence) emitters demonstrate significantly higher efficiency than traditional fluorescent materials, achieving internal quantum efficiencies approaching 100%. This efficiency improvement allows for higher brightness without proportional power increases, effectively improving the contrast-to-power ratio.
Optical enhancement techniques provide another avenue for optimization. Micro-lens arrays and specialized light extraction films can increase light output efficiency by 20-40% without additional power requirements. Similarly, anti-reflection coatings reduce ambient light reflection, enhancing perceived contrast in bright environments without necessitating higher power consumption.
Dynamic power management algorithms represent perhaps the most sophisticated approach to this challenge. These systems analyze content in real-time, selectively allocating power resources to high-contrast areas while conserving energy in less critical regions. Machine learning-enhanced algorithms have demonstrated the ability to maintain 90% of perceived contrast quality while reducing overall power consumption by up to 45% compared to static brightness settings.
The industry continues to explore novel solutions such as hybrid pixel architectures that combine different OLED materials optimized for either efficiency or brightness, allowing displays to dynamically switch between modes based on content requirements and power availability.
Environmental Impact of Advanced OLED Manufacturing Processes
The manufacturing processes for advanced OLED displays with enhanced contrast ratios present significant environmental considerations that must be addressed by industry stakeholders. Traditional OLED production involves numerous hazardous materials, including heavy metals and organic solvents that pose environmental risks when improperly managed. The push for higher contrast ratios often requires more sophisticated manufacturing techniques, potentially increasing the environmental footprint of production facilities.
Water consumption represents a critical environmental concern in OLED manufacturing. The production of high-contrast OLED panels typically requires ultra-pure water for cleaning processes, with estimates suggesting that manufacturing a single square meter of display material may consume between 500-1000 liters of water. Advanced contrast-enhancing techniques often involve additional cleaning steps, further increasing water usage and generating contaminated wastewater containing trace amounts of metals and organic compounds.
Energy consumption during manufacturing constitutes another substantial environmental impact. Vacuum deposition processes used for creating precise OLED structures with improved contrast properties require significant energy inputs, with some facilities reporting energy consumption of 150-200 kWh per square meter of display produced. The specialized clean room environments necessary for manufacturing high-performance OLEDs also demand continuous energy for air filtration and precise climate control.
Chemical waste management presents ongoing challenges. The production of high-contrast OLEDs involves numerous specialized chemicals, including photoresists, developers, and etching solutions. Industry data indicates that for every square meter of OLED display manufactured, approximately 5-8 kg of chemical waste may be generated. Advanced contrast-enhancing processes often introduce additional chemical steps, potentially increasing this waste stream.
Recent innovations have begun addressing these environmental concerns. Several manufacturers have implemented closed-loop water recycling systems that can reduce freshwater consumption by up to 60%. Energy-efficient manufacturing equipment specifically designed for OLED production has demonstrated potential energy savings of 25-30% compared to previous generations. Additionally, green chemistry approaches are being explored to replace traditional solvents with more environmentally benign alternatives, potentially reducing hazardous waste by 40-50%.
Carbon footprint considerations have also gained prominence in OLED manufacturing assessments. Life cycle analyses indicate that the production phase accounts for approximately 70-80% of the total carbon emissions associated with OLED displays. Manufacturers focused on high-contrast technologies are increasingly implementing carbon reduction strategies, including renewable energy integration and process optimization, with industry leaders targeting 30-40% carbon footprint reductions by 2030.
Water consumption represents a critical environmental concern in OLED manufacturing. The production of high-contrast OLED panels typically requires ultra-pure water for cleaning processes, with estimates suggesting that manufacturing a single square meter of display material may consume between 500-1000 liters of water. Advanced contrast-enhancing techniques often involve additional cleaning steps, further increasing water usage and generating contaminated wastewater containing trace amounts of metals and organic compounds.
Energy consumption during manufacturing constitutes another substantial environmental impact. Vacuum deposition processes used for creating precise OLED structures with improved contrast properties require significant energy inputs, with some facilities reporting energy consumption of 150-200 kWh per square meter of display produced. The specialized clean room environments necessary for manufacturing high-performance OLEDs also demand continuous energy for air filtration and precise climate control.
Chemical waste management presents ongoing challenges. The production of high-contrast OLEDs involves numerous specialized chemicals, including photoresists, developers, and etching solutions. Industry data indicates that for every square meter of OLED display manufactured, approximately 5-8 kg of chemical waste may be generated. Advanced contrast-enhancing processes often introduce additional chemical steps, potentially increasing this waste stream.
Recent innovations have begun addressing these environmental concerns. Several manufacturers have implemented closed-loop water recycling systems that can reduce freshwater consumption by up to 60%. Energy-efficient manufacturing equipment specifically designed for OLED production has demonstrated potential energy savings of 25-30% compared to previous generations. Additionally, green chemistry approaches are being explored to replace traditional solvents with more environmentally benign alternatives, potentially reducing hazardous waste by 40-50%.
Carbon footprint considerations have also gained prominence in OLED manufacturing assessments. Life cycle analyses indicate that the production phase accounts for approximately 70-80% of the total carbon emissions associated with OLED displays. Manufacturers focused on high-contrast technologies are increasingly implementing carbon reduction strategies, including renewable energy integration and process optimization, with industry leaders targeting 30-40% carbon footprint reductions by 2030.
Unlock deeper insights with Patsnap Eureka Quick Research — get a full tech report to explore trends and direct your research. Try now!
Generate Your Research Report Instantly with AI Agent
Supercharge your innovation with Patsnap Eureka AI Agent Platform!