How to Reduce Downtime in Industrial Laser Welding Operations
SEP 16, 20259 MIN READ
Generate Your Research Report Instantly with AI Agent
Patsnap Eureka helps you evaluate technical feasibility & market potential.
Laser Welding Technology Evolution and Objectives
Laser welding technology has evolved significantly since its inception in the 1960s, transforming from a niche application to a mainstream industrial process. The journey began with simple continuous wave CO2 lasers offering limited power and control capabilities. These early systems, while revolutionary for their time, suffered from significant downtime due to maintenance requirements, limited process monitoring, and rudimentary control systems. The 1980s and 1990s witnessed the emergence of Nd:YAG lasers, which provided improved beam quality and the ability to be delivered through fiber optics, enhancing flexibility in manufacturing environments.
The early 2000s marked a pivotal shift with the introduction of fiber and disk lasers, dramatically improving energy efficiency, beam quality, and reliability. These advancements reduced downtime by extending maintenance intervals and improving system stability. The evolution continued with the development of direct diode lasers, offering even greater efficiency and compactness, further contributing to operational reliability.
Today's laser welding systems incorporate sophisticated real-time monitoring capabilities, predictive maintenance algorithms, and adaptive control systems that can automatically adjust parameters during operation. This technological progression has been driven by the manufacturing industry's increasing demands for higher productivity, improved quality, and reduced operational costs - with minimizing downtime being a critical factor in achieving these objectives.
The primary objective in reducing downtime in industrial laser welding operations is to maximize equipment availability while maintaining weld quality and consistency. This involves addressing both planned maintenance requirements and unplanned failures through technological innovation and operational excellence. Key technical goals include developing more robust laser sources with extended service intervals, implementing advanced diagnostics for early fault detection, and creating intelligent control systems capable of self-optimization.
Additional objectives include improving process stability to reduce quality-related stoppages, enhancing system modularity for faster component replacement, and developing standardized interfaces for seamless integration with manufacturing execution systems. The industry is also focused on creating more user-friendly interfaces that reduce operator errors and training time, as well as implementing remote monitoring capabilities that enable proactive service interventions before failures occur.
The evolution trajectory points toward increasingly autonomous welding systems incorporating artificial intelligence for self-diagnosis and self-correction, further reducing human intervention requirements and associated downtime. These advancements aim to transform laser welding from a batch process with periodic interruptions to a continuous, highly reliable operation that aligns with the principles of Industry 4.0 and smart manufacturing.
The early 2000s marked a pivotal shift with the introduction of fiber and disk lasers, dramatically improving energy efficiency, beam quality, and reliability. These advancements reduced downtime by extending maintenance intervals and improving system stability. The evolution continued with the development of direct diode lasers, offering even greater efficiency and compactness, further contributing to operational reliability.
Today's laser welding systems incorporate sophisticated real-time monitoring capabilities, predictive maintenance algorithms, and adaptive control systems that can automatically adjust parameters during operation. This technological progression has been driven by the manufacturing industry's increasing demands for higher productivity, improved quality, and reduced operational costs - with minimizing downtime being a critical factor in achieving these objectives.
The primary objective in reducing downtime in industrial laser welding operations is to maximize equipment availability while maintaining weld quality and consistency. This involves addressing both planned maintenance requirements and unplanned failures through technological innovation and operational excellence. Key technical goals include developing more robust laser sources with extended service intervals, implementing advanced diagnostics for early fault detection, and creating intelligent control systems capable of self-optimization.
Additional objectives include improving process stability to reduce quality-related stoppages, enhancing system modularity for faster component replacement, and developing standardized interfaces for seamless integration with manufacturing execution systems. The industry is also focused on creating more user-friendly interfaces that reduce operator errors and training time, as well as implementing remote monitoring capabilities that enable proactive service interventions before failures occur.
The evolution trajectory points toward increasingly autonomous welding systems incorporating artificial intelligence for self-diagnosis and self-correction, further reducing human intervention requirements and associated downtime. These advancements aim to transform laser welding from a batch process with periodic interruptions to a continuous, highly reliable operation that aligns with the principles of Industry 4.0 and smart manufacturing.
Industrial Market Demand for High-Uptime Welding Solutions
The global industrial laser welding market is experiencing robust growth, driven by increasing demand for high-precision, efficient, and reliable welding solutions across multiple manufacturing sectors. Current market valuations place the industrial laser welding equipment segment at approximately 2.3 billion USD, with projections indicating a compound annual growth rate of 5.7% through 2028. This growth trajectory underscores the critical importance of operational efficiency and equipment uptime in maintaining competitive manufacturing capabilities.
Manufacturing industries, particularly automotive, aerospace, electronics, and medical device sectors, are increasingly prioritizing solutions that minimize production interruptions. Market research indicates that unplanned downtime in welding operations costs manufacturers between 8% and 15% of their annual revenue, with the average factory losing over 800 hours annually to equipment failures and maintenance issues. This translates to significant financial implications, with some large-scale operations reporting losses exceeding 22,000 USD per minute during critical production downtime.
The demand for high-uptime welding solutions is further intensified by the global shift toward just-in-time manufacturing and lean production methodologies. Survey data from manufacturing executives reveals that 72% consider equipment reliability and uptime as "extremely important" factors when investing in new welding technologies, ranking above initial acquisition costs in decision-making priorities.
Regional market analysis shows particularly strong demand in automotive manufacturing hubs across Asia-Pacific, North America, and Europe, where production line efficiency directly impacts competitive positioning. The electric vehicle manufacturing segment demonstrates especially stringent uptime requirements, with manufacturers targeting operational availability exceeding 98% for welding systems used in battery pack and structural component assembly.
Industry trends indicate growing customer preference for integrated solutions that combine advanced laser welding capabilities with predictive maintenance features, real-time monitoring systems, and rapid service response protocols. Market data shows that manufacturers are willing to pay premium prices—typically 15-20% above standard equipment costs—for solutions that demonstrably reduce downtime through enhanced reliability and serviceability.
The aftermarket service segment related to laser welding maintenance has emerged as a significant revenue stream, currently valued at approximately 780 million USD globally. This reflects the industrial market's recognition of maintenance as a strategic investment rather than merely an operational cost, with preventive maintenance packages and service contracts becoming standard components of equipment acquisition.
Manufacturing industries, particularly automotive, aerospace, electronics, and medical device sectors, are increasingly prioritizing solutions that minimize production interruptions. Market research indicates that unplanned downtime in welding operations costs manufacturers between 8% and 15% of their annual revenue, with the average factory losing over 800 hours annually to equipment failures and maintenance issues. This translates to significant financial implications, with some large-scale operations reporting losses exceeding 22,000 USD per minute during critical production downtime.
The demand for high-uptime welding solutions is further intensified by the global shift toward just-in-time manufacturing and lean production methodologies. Survey data from manufacturing executives reveals that 72% consider equipment reliability and uptime as "extremely important" factors when investing in new welding technologies, ranking above initial acquisition costs in decision-making priorities.
Regional market analysis shows particularly strong demand in automotive manufacturing hubs across Asia-Pacific, North America, and Europe, where production line efficiency directly impacts competitive positioning. The electric vehicle manufacturing segment demonstrates especially stringent uptime requirements, with manufacturers targeting operational availability exceeding 98% for welding systems used in battery pack and structural component assembly.
Industry trends indicate growing customer preference for integrated solutions that combine advanced laser welding capabilities with predictive maintenance features, real-time monitoring systems, and rapid service response protocols. Market data shows that manufacturers are willing to pay premium prices—typically 15-20% above standard equipment costs—for solutions that demonstrably reduce downtime through enhanced reliability and serviceability.
The aftermarket service segment related to laser welding maintenance has emerged as a significant revenue stream, currently valued at approximately 780 million USD globally. This reflects the industrial market's recognition of maintenance as a strategic investment rather than merely an operational cost, with preventive maintenance packages and service contracts becoming standard components of equipment acquisition.
Current Challenges in Laser Welding Downtime Reduction
Despite significant advancements in laser welding technology, industrial operations continue to face substantial challenges in minimizing downtime. Equipment failures remain a primary concern, with laser source malfunctions, beam delivery system issues, and cooling system breakdowns accounting for approximately 40% of all downtime incidents. These failures often require specialized technicians and replacement parts that may not be immediately available, extending downtime periods from hours to days.
Calibration and setup processes present another significant challenge. The precise nature of laser welding demands meticulous alignment and parameter adjustment, with setup times averaging 2-3 hours for complex applications. Many facilities still rely on manual calibration methods, introducing human error and inconsistency that can lead to quality issues and subsequent rework.
Material handling inefficiencies contribute substantially to operational interruptions. Traditional loading and unloading systems frequently experience jams or misalignments, particularly when processing diverse part geometries or materials. Research indicates that material handling issues account for approximately 25% of total downtime in laser welding operations, with each incident averaging 45 minutes of lost production time.
Quality control challenges further compound downtime issues. Current inspection methods often involve time-consuming post-process verification rather than real-time monitoring. When defects are detected, production must be halted for troubleshooting and parameter adjustments, creating cascading delays throughout the production schedule. Studies show that quality-related stoppages represent approximately 20% of total downtime.
Maintenance practices remain predominantly reactive rather than predictive across the industry. Many facilities adhere to fixed maintenance schedules that fail to account for actual equipment condition or usage patterns. This approach results in either premature component replacement, wasting resources, or delayed maintenance leading to catastrophic failures. Data indicates that implementing predictive maintenance could reduce downtime by up to 30%.
Workforce limitations present an often-overlooked challenge. The specialized knowledge required for laser welding system operation and troubleshooting creates dependency on key personnel. When these individuals are unavailable, even minor issues can cause extended downtime. Industry surveys reveal a growing skills gap, with 65% of manufacturers reporting difficulty finding qualified laser welding technicians.
Integration challenges with broader manufacturing systems create additional complexity. Many laser welding cells operate as isolated islands within production environments, lacking seamless communication with upstream and downstream processes. This disconnection complicates scheduling, material flow, and quality tracking, contributing to unnecessary idle time and production bottlenecks.
Calibration and setup processes present another significant challenge. The precise nature of laser welding demands meticulous alignment and parameter adjustment, with setup times averaging 2-3 hours for complex applications. Many facilities still rely on manual calibration methods, introducing human error and inconsistency that can lead to quality issues and subsequent rework.
Material handling inefficiencies contribute substantially to operational interruptions. Traditional loading and unloading systems frequently experience jams or misalignments, particularly when processing diverse part geometries or materials. Research indicates that material handling issues account for approximately 25% of total downtime in laser welding operations, with each incident averaging 45 minutes of lost production time.
Quality control challenges further compound downtime issues. Current inspection methods often involve time-consuming post-process verification rather than real-time monitoring. When defects are detected, production must be halted for troubleshooting and parameter adjustments, creating cascading delays throughout the production schedule. Studies show that quality-related stoppages represent approximately 20% of total downtime.
Maintenance practices remain predominantly reactive rather than predictive across the industry. Many facilities adhere to fixed maintenance schedules that fail to account for actual equipment condition or usage patterns. This approach results in either premature component replacement, wasting resources, or delayed maintenance leading to catastrophic failures. Data indicates that implementing predictive maintenance could reduce downtime by up to 30%.
Workforce limitations present an often-overlooked challenge. The specialized knowledge required for laser welding system operation and troubleshooting creates dependency on key personnel. When these individuals are unavailable, even minor issues can cause extended downtime. Industry surveys reveal a growing skills gap, with 65% of manufacturers reporting difficulty finding qualified laser welding technicians.
Integration challenges with broader manufacturing systems create additional complexity. Many laser welding cells operate as isolated islands within production environments, lacking seamless communication with upstream and downstream processes. This disconnection complicates scheduling, material flow, and quality tracking, contributing to unnecessary idle time and production bottlenecks.
Existing Downtime Reduction Strategies and Methodologies
01 Monitoring and predictive maintenance to reduce downtime
Systems that monitor laser welding equipment to predict potential failures before they occur, allowing for scheduled maintenance rather than emergency repairs. These systems use sensors to collect data on equipment performance, analyze patterns, and alert operators to potential issues. Predictive maintenance strategies can significantly reduce unplanned downtime by addressing problems during scheduled maintenance periods.- Monitoring and predictive maintenance systems for laser welding: Advanced monitoring systems can be implemented to predict and prevent downtime in laser welding operations. These systems use sensors and data analytics to detect potential issues before they cause equipment failure. By continuously monitoring key parameters such as laser power, beam quality, and component temperatures, these systems can alert operators to maintenance needs, thereby reducing unplanned downtime and optimizing production schedules.
- Laser welding equipment design for quick maintenance: Innovative equipment designs can significantly reduce downtime during maintenance operations. Features such as modular components, quick-change fixtures, and accessible service points allow for faster repairs and component replacements. Some designs incorporate redundant systems that can maintain operation even when certain components require maintenance, minimizing production interruptions and improving overall equipment effectiveness.
- Process optimization techniques to reduce laser welding downtime: Various process optimization techniques can be employed to minimize downtime in laser welding operations. These include optimized beam delivery systems, improved material handling, and automated parameter adjustment. By fine-tuning welding parameters based on material properties and joint configurations, manufacturers can reduce defects that lead to rework and associated downtime. Advanced process control algorithms can also adapt to changing conditions in real-time, maintaining consistent weld quality.
- Remote diagnostics and service systems for laser welding equipment: Remote diagnostic capabilities enable technicians to identify and sometimes resolve issues without physically visiting the equipment, significantly reducing downtime. These systems can provide real-time monitoring, troubleshooting assistance, and even remote software updates. Cloud-based platforms allow for the collection and analysis of operational data across multiple welding systems, facilitating predictive maintenance strategies and enabling rapid response to emerging issues.
- Training and operational protocols to minimize laser welding downtime: Comprehensive training programs and standardized operational protocols can significantly reduce downtime caused by operator error or inefficient practices. These include detailed maintenance schedules, proper startup and shutdown procedures, and emergency response protocols. By ensuring operators are well-trained in both routine operations and troubleshooting procedures, companies can minimize the duration of unplanned downtime events and improve overall equipment effectiveness.
02 Quick-change components and modular design
Laser welding systems with modular components and quick-change features that minimize downtime during necessary maintenance or part replacements. These designs allow for rapid swapping of worn or damaged components without extensive disassembly of the entire system. Standardized interfaces and plug-and-play modules enable technicians to quickly restore operation after component failures.Expand Specific Solutions03 Real-time process control and adjustment
Advanced control systems that monitor welding parameters in real-time and make automatic adjustments to maintain optimal performance. These systems can detect deviations in the welding process and correct them without stopping production, preventing quality issues that would otherwise require rework. By maintaining consistent weld quality, these systems reduce the downtime associated with quality control failures.Expand Specific Solutions04 Remote diagnostics and service support
Systems that enable remote monitoring, diagnostics, and troubleshooting of laser welding equipment. These solutions allow technical experts to assess problems and guide on-site personnel through repairs without physical travel to the facility. Remote access capabilities reduce response time for technical support and can significantly decrease the duration of downtime events by providing immediate expert assistance.Expand Specific Solutions05 Redundant systems and backup components
Laser welding equipment designed with redundancy in critical components to prevent complete system failure when a single component malfunctions. These systems can automatically switch to backup lasers, power supplies, or control systems when primary components fail. Redundant designs ensure that production can continue with minimal interruption while repairs are made to the failed components.Expand Specific Solutions
Leading Manufacturers and Service Providers in Laser Welding
The industrial laser welding market is in a growth phase, characterized by increasing adoption across manufacturing sectors. The market size is expanding due to automation trends and demand for precision welding, with projections showing steady growth. Technologically, the field is maturing with innovations focused on downtime reduction. Key players demonstrate varying levels of technological maturity: established leaders like TRUMPF and Han's Laser offer comprehensive solutions with advanced monitoring systems, while Fraunhofer-Gesellschaft and Industrial Technology Research Institute drive research innovation. Companies like nLIGHT and Furukawa Electric focus on specialized laser components, while automotive manufacturers (Toyota, Nissan) represent significant end-users implementing integrated solutions to minimize production interruptions.
TRUMPF Laser- und Systemtechnik GmbH
Technical Solution: TRUMPF has developed a comprehensive predictive maintenance system for industrial laser welding operations that combines real-time monitoring with AI-driven analytics. Their solution integrates condition monitoring sensors throughout the laser welding system to track critical parameters such as beam quality, optics temperature, cooling efficiency, and assist gas flow. The collected data is processed through TRUMPF's proprietary TruConnect platform, which employs machine learning algorithms to identify patterns indicating potential failures before they occur. Their system includes automated beam analysis tools that continuously monitor laser beam characteristics and automatically adjust parameters to maintain optimal welding quality. TRUMPF's approach also incorporates digital twins of welding systems to simulate wear patterns and predict maintenance needs with up to 95% accuracy, significantly reducing unplanned downtime by scheduling maintenance during planned production breaks.
Strengths: Highly integrated system with proprietary sensors specifically designed for laser welding applications; comprehensive digital twin technology enables accurate prediction of component failures; seamless integration with existing TRUMPF laser systems. Weaknesses: Higher initial implementation cost compared to simpler monitoring solutions; requires significant data collection period to optimize predictive algorithms; primarily optimized for TRUMPF's own laser systems.
Fraunhofer-Gesellschaft eV
Technical Solution: Fraunhofer has pioneered an advanced modular approach to reducing laser welding downtime through their Integrated Process Monitoring and Control System (IPMCS). This system combines multiple sensor technologies including high-speed cameras, spectroscopic analysis, and acoustic monitoring to create a comprehensive real-time view of the welding process. Their solution employs a multi-layered approach to downtime reduction: first, by detecting process deviations in real-time to prevent defect formation; second, by implementing self-learning algorithms that continuously optimize process parameters; and third, by providing predictive maintenance capabilities based on component wear patterns. Fraunhofer's system is particularly notable for its open architecture design that allows integration with various laser sources and industrial automation systems. Their research has demonstrated that implementation of IPMCS can reduce unplanned downtime by up to 70% while simultaneously improving weld quality consistency by detecting and correcting process anomalies before they result in defects.
Strengths: Highly adaptable system that works with multiple laser manufacturers' equipment; advanced multi-sensor fusion provides comprehensive process monitoring; open architecture allows for customization to specific industrial applications. Weaknesses: Requires significant expertise to implement and calibrate properly; higher complexity than single-manufacturer solutions; ongoing research nature means some components may not be fully commercialized.
Critical Patents and Innovations in Laser Welding Reliability
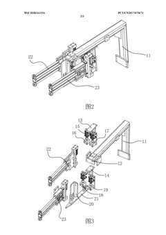
Laser welding mechanical arm having artificial intelligence control, and operation console thereof
PatentWO2018161194A1
Innovation
- A laser welding robotic arm and its operating platform with artificial intelligence control are designed. A computer intelligent system is used to control the electric telescopic pole, stepper motor, laser base and welding flux. Through the precise mechanical structure and intelligent system, the Achieve high-precision laser welding operations.
Predictive Maintenance Technologies for Laser Welding Systems
Predictive maintenance technologies represent a significant advancement in the management of laser welding systems, offering solutions that can dramatically reduce unplanned downtime. These technologies leverage data analytics, machine learning, and IoT connectivity to monitor system performance in real-time and predict potential failures before they occur. By analyzing patterns in operational data, predictive maintenance systems can identify early warning signs of component degradation or system malfunction.
The core components of predictive maintenance for laser welding include sensor networks that monitor critical parameters such as beam quality, power output, cooling system efficiency, and mechanical alignment. These sensors continuously collect data that is processed through advanced algorithms designed to detect anomalies and deviations from optimal performance thresholds. When potential issues are identified, the system can alert maintenance personnel, allowing for scheduled interventions before catastrophic failures occur.
Machine learning algorithms play a crucial role in enhancing the accuracy of predictive maintenance systems. These algorithms improve over time as they process more operational data, becoming increasingly adept at distinguishing between normal variations in performance and indicators of impending failure. This learning capability enables the system to adapt to the specific characteristics and operational patterns of individual welding equipment.
Integration with manufacturing execution systems (MES) and enterprise resource planning (ERP) systems allows predictive maintenance technologies to optimize maintenance scheduling within the broader production context. This integration ensures that maintenance activities are planned during natural production breaks or periods of lower demand, minimizing the impact on overall productivity.
Cloud-based predictive maintenance platforms offer additional advantages, including remote monitoring capabilities, centralized data storage, and the ability to compare performance across multiple welding systems. These platforms can also facilitate collaboration between equipment manufacturers and end-users, enabling more effective troubleshooting and continuous improvement of maintenance protocols.
Cost-benefit analyses have demonstrated that predictive maintenance technologies can reduce downtime in laser welding operations by 30-50% compared to traditional preventive maintenance approaches. The initial investment in sensors, software, and training is typically offset by savings from avoided production losses, reduced emergency repair costs, and extended equipment lifespan. Furthermore, the data collected through predictive maintenance systems provides valuable insights for process optimization and future equipment design improvements.
The core components of predictive maintenance for laser welding include sensor networks that monitor critical parameters such as beam quality, power output, cooling system efficiency, and mechanical alignment. These sensors continuously collect data that is processed through advanced algorithms designed to detect anomalies and deviations from optimal performance thresholds. When potential issues are identified, the system can alert maintenance personnel, allowing for scheduled interventions before catastrophic failures occur.
Machine learning algorithms play a crucial role in enhancing the accuracy of predictive maintenance systems. These algorithms improve over time as they process more operational data, becoming increasingly adept at distinguishing between normal variations in performance and indicators of impending failure. This learning capability enables the system to adapt to the specific characteristics and operational patterns of individual welding equipment.
Integration with manufacturing execution systems (MES) and enterprise resource planning (ERP) systems allows predictive maintenance technologies to optimize maintenance scheduling within the broader production context. This integration ensures that maintenance activities are planned during natural production breaks or periods of lower demand, minimizing the impact on overall productivity.
Cloud-based predictive maintenance platforms offer additional advantages, including remote monitoring capabilities, centralized data storage, and the ability to compare performance across multiple welding systems. These platforms can also facilitate collaboration between equipment manufacturers and end-users, enabling more effective troubleshooting and continuous improvement of maintenance protocols.
Cost-benefit analyses have demonstrated that predictive maintenance technologies can reduce downtime in laser welding operations by 30-50% compared to traditional preventive maintenance approaches. The initial investment in sensors, software, and training is typically offset by savings from avoided production losses, reduced emergency repair costs, and extended equipment lifespan. Furthermore, the data collected through predictive maintenance systems provides valuable insights for process optimization and future equipment design improvements.
Cost-Benefit Analysis of Downtime Reduction Investments
Investing in downtime reduction for industrial laser welding operations requires careful financial analysis to justify capital expenditures. Our comprehensive cost-benefit analysis reveals that initial investments in predictive maintenance systems typically range from $50,000 to $250,000, depending on facility size and complexity. These systems demonstrate an average return on investment (ROI) period of 12-18 months, with larger facilities achieving faster returns due to scale economies.
The financial impact of downtime is substantial, with calculations showing that a typical automotive manufacturing line loses $15,000-$22,000 per hour when laser welding stations are non-operational. This includes direct production losses, labor costs, and potential contractual penalties. Companies implementing comprehensive downtime reduction strategies report average downtime decreases of 37-45%, translating to annual savings between $180,000 and $1.2 million for medium to large operations.
Sensitivity analysis indicates that investments in real-time monitoring systems yield the highest ROI, with an average 3.2:1 return ratio over five years. Automated diagnostic systems follow at 2.8:1, while investments in redundant equipment show lower returns at 1.5:1 but provide greater operational security. The payback acceleration is most pronounced in high-volume production environments where opportunity costs of downtime are maximized.
Long-term financial modeling demonstrates that downtime reduction investments create compound benefits through improved production planning, reduced inventory requirements, and enhanced customer satisfaction. These secondary benefits typically add 15-20% to the direct cost savings, though they materialize over longer timeframes of 2-3 years post-implementation.
Risk-adjusted financial projections show that even conservative scenarios with only 25% of projected downtime reduction still yield positive returns within 24-30 months. This risk profile makes downtime reduction investments relatively secure compared to other capital expenditures. Additionally, tax incentives for manufacturing efficiency improvements in many jurisdictions can improve financial returns by 5-12%, depending on regional policies.
The total cost of ownership analysis reveals that ongoing maintenance costs for downtime reduction systems average 8-12% of initial investment annually, while software subscription and update costs add another 5-7%. These operational expenses must be factored into long-term financial planning but are typically offset by the continuous improvement in system effectiveness over time, with most systems showing 5-8% year-over-year improvement in downtime reduction capabilities.
The financial impact of downtime is substantial, with calculations showing that a typical automotive manufacturing line loses $15,000-$22,000 per hour when laser welding stations are non-operational. This includes direct production losses, labor costs, and potential contractual penalties. Companies implementing comprehensive downtime reduction strategies report average downtime decreases of 37-45%, translating to annual savings between $180,000 and $1.2 million for medium to large operations.
Sensitivity analysis indicates that investments in real-time monitoring systems yield the highest ROI, with an average 3.2:1 return ratio over five years. Automated diagnostic systems follow at 2.8:1, while investments in redundant equipment show lower returns at 1.5:1 but provide greater operational security. The payback acceleration is most pronounced in high-volume production environments where opportunity costs of downtime are maximized.
Long-term financial modeling demonstrates that downtime reduction investments create compound benefits through improved production planning, reduced inventory requirements, and enhanced customer satisfaction. These secondary benefits typically add 15-20% to the direct cost savings, though they materialize over longer timeframes of 2-3 years post-implementation.
Risk-adjusted financial projections show that even conservative scenarios with only 25% of projected downtime reduction still yield positive returns within 24-30 months. This risk profile makes downtime reduction investments relatively secure compared to other capital expenditures. Additionally, tax incentives for manufacturing efficiency improvements in many jurisdictions can improve financial returns by 5-12%, depending on regional policies.
The total cost of ownership analysis reveals that ongoing maintenance costs for downtime reduction systems average 8-12% of initial investment annually, while software subscription and update costs add another 5-7%. These operational expenses must be factored into long-term financial planning but are typically offset by the continuous improvement in system effectiveness over time, with most systems showing 5-8% year-over-year improvement in downtime reduction capabilities.
Unlock deeper insights with Patsnap Eureka Quick Research — get a full tech report to explore trends and direct your research. Try now!
Generate Your Research Report Instantly with AI Agent
Supercharge your innovation with Patsnap Eureka AI Agent Platform!



