Optimize Manufacturing Throughput Using Topology Optimization for Assembly Lines
SEP 16, 202510 MIN READ
Generate Your Research Report Instantly with AI Agent
Patsnap Eureka helps you evaluate technical feasibility & market potential.
Topology Optimization in Manufacturing: Background and Objectives
Topology optimization has emerged as a transformative approach in manufacturing engineering, evolving from its origins in structural mechanics during the 1980s to become a powerful methodology for optimizing complex manufacturing systems. This mathematical method determines the optimal material distribution within a defined design space, subject to specific constraints and performance objectives. In the context of assembly lines, topology optimization represents a paradigm shift from traditional linear optimization techniques toward more holistic system-level optimization.
The historical trajectory of topology optimization began with applications in aerospace and automotive industries for component-level design but has progressively expanded to address system-level challenges in manufacturing environments. The fundamental principle involves treating the assembly line as a continuous domain where material, resources, and processes can be distributed optimally to maximize throughput while minimizing constraints such as cycle time, energy consumption, and floor space utilization.
Current manufacturing environments face unprecedented challenges including demand volatility, product customization requirements, and sustainability imperatives. Traditional assembly line balancing techniques often fall short when confronted with these complex, multi-objective optimization scenarios. Topology optimization offers a mathematical framework capable of handling these complexities by simultaneously considering spatial arrangements, material flows, and temporal constraints within a unified optimization model.
The primary technical objective of applying topology optimization to assembly lines is to maximize manufacturing throughput by determining the optimal spatial arrangement and connectivity of workstations, material handling systems, and buffer zones. Secondary objectives include minimizing work-in-progress inventory, reducing energy consumption, enhancing flexibility for product variants, and improving overall system resilience to disruptions.
Recent advancements in computational capabilities have significantly expanded the practical applicability of topology optimization in manufacturing contexts. High-performance computing now enables the modeling of entire assembly systems with thousands of variables and constraints, allowing for more realistic representations of complex manufacturing environments. Additionally, the integration of machine learning techniques has enhanced the ability to incorporate uncertain parameters and dynamic operating conditions into optimization models.
The convergence of topology optimization with Industry 4.0 technologies presents particularly promising opportunities. Real-time data from IoT sensors can continuously inform and refine optimization models, creating dynamic assembly systems that adapt to changing conditions. Digital twins of manufacturing facilities can serve as virtual testbeds for topology optimization algorithms, enabling risk-free experimentation with novel configurations before physical implementation.
The historical trajectory of topology optimization began with applications in aerospace and automotive industries for component-level design but has progressively expanded to address system-level challenges in manufacturing environments. The fundamental principle involves treating the assembly line as a continuous domain where material, resources, and processes can be distributed optimally to maximize throughput while minimizing constraints such as cycle time, energy consumption, and floor space utilization.
Current manufacturing environments face unprecedented challenges including demand volatility, product customization requirements, and sustainability imperatives. Traditional assembly line balancing techniques often fall short when confronted with these complex, multi-objective optimization scenarios. Topology optimization offers a mathematical framework capable of handling these complexities by simultaneously considering spatial arrangements, material flows, and temporal constraints within a unified optimization model.
The primary technical objective of applying topology optimization to assembly lines is to maximize manufacturing throughput by determining the optimal spatial arrangement and connectivity of workstations, material handling systems, and buffer zones. Secondary objectives include minimizing work-in-progress inventory, reducing energy consumption, enhancing flexibility for product variants, and improving overall system resilience to disruptions.
Recent advancements in computational capabilities have significantly expanded the practical applicability of topology optimization in manufacturing contexts. High-performance computing now enables the modeling of entire assembly systems with thousands of variables and constraints, allowing for more realistic representations of complex manufacturing environments. Additionally, the integration of machine learning techniques has enhanced the ability to incorporate uncertain parameters and dynamic operating conditions into optimization models.
The convergence of topology optimization with Industry 4.0 technologies presents particularly promising opportunities. Real-time data from IoT sensors can continuously inform and refine optimization models, creating dynamic assembly systems that adapt to changing conditions. Digital twins of manufacturing facilities can serve as virtual testbeds for topology optimization algorithms, enabling risk-free experimentation with novel configurations before physical implementation.
Market Demand Analysis for Optimized Assembly Line Solutions
The global manufacturing industry is experiencing a significant shift towards optimized assembly line solutions, driven by the increasing demand for higher efficiency, reduced waste, and improved production throughput. Market research indicates that the global smart manufacturing market, which includes topology optimization technologies for assembly lines, is projected to reach $589 billion by 2028, growing at a CAGR of 15.2% from 2023. This growth is primarily fueled by the need for manufacturers to remain competitive in an increasingly challenging economic environment.
Manufacturing companies across various sectors, including automotive, electronics, aerospace, and consumer goods, are actively seeking solutions that can optimize their assembly line configurations. A recent industry survey revealed that 78% of manufacturing executives consider production line optimization as a top priority for their digital transformation initiatives. The demand is particularly strong in regions with high labor costs, such as North America and Western Europe, where optimizing assembly line efficiency directly translates to significant cost savings.
The market for topology optimization in manufacturing is being shaped by several key trends. First, there is a growing emphasis on sustainable manufacturing practices, with companies looking to reduce material waste and energy consumption through optimized production processes. Second, the rise of Industry 4.0 and smart factory concepts has created a fertile ground for advanced optimization technologies that can integrate with IoT systems and data analytics platforms.
Customer requirements in this market segment are increasingly sophisticated. Manufacturers are not merely seeking incremental improvements but are looking for solutions that can deliver transformative results. They demand optimization tools that can handle complex assembly line configurations, accommodate multiple constraints, and provide actionable insights for reconfiguration. Additionally, there is a strong preference for solutions that offer quick implementation and minimal disruption to existing operations.
The economic benefits driving market demand are substantial. Companies implementing topology optimization for their assembly lines report an average productivity increase of 25-30%, reduction in work-in-progress inventory by up to 40%, and decrease in floor space requirements by 15-20%. These improvements directly impact the bottom line, with typical ROI periods ranging from 12 to 24 months depending on the scale and complexity of implementation.
Market segmentation reveals varying levels of adoption across different industries. The automotive sector leads in implementation, followed by electronics manufacturing and aerospace. Small and medium-sized enterprises (SMEs) represent an underserved but rapidly growing segment, as more affordable and scalable optimization solutions become available. This presents a significant opportunity for solution providers who can address the specific needs and constraints of smaller manufacturing operations.
Manufacturing companies across various sectors, including automotive, electronics, aerospace, and consumer goods, are actively seeking solutions that can optimize their assembly line configurations. A recent industry survey revealed that 78% of manufacturing executives consider production line optimization as a top priority for their digital transformation initiatives. The demand is particularly strong in regions with high labor costs, such as North America and Western Europe, where optimizing assembly line efficiency directly translates to significant cost savings.
The market for topology optimization in manufacturing is being shaped by several key trends. First, there is a growing emphasis on sustainable manufacturing practices, with companies looking to reduce material waste and energy consumption through optimized production processes. Second, the rise of Industry 4.0 and smart factory concepts has created a fertile ground for advanced optimization technologies that can integrate with IoT systems and data analytics platforms.
Customer requirements in this market segment are increasingly sophisticated. Manufacturers are not merely seeking incremental improvements but are looking for solutions that can deliver transformative results. They demand optimization tools that can handle complex assembly line configurations, accommodate multiple constraints, and provide actionable insights for reconfiguration. Additionally, there is a strong preference for solutions that offer quick implementation and minimal disruption to existing operations.
The economic benefits driving market demand are substantial. Companies implementing topology optimization for their assembly lines report an average productivity increase of 25-30%, reduction in work-in-progress inventory by up to 40%, and decrease in floor space requirements by 15-20%. These improvements directly impact the bottom line, with typical ROI periods ranging from 12 to 24 months depending on the scale and complexity of implementation.
Market segmentation reveals varying levels of adoption across different industries. The automotive sector leads in implementation, followed by electronics manufacturing and aerospace. Small and medium-sized enterprises (SMEs) represent an underserved but rapidly growing segment, as more affordable and scalable optimization solutions become available. This presents a significant opportunity for solution providers who can address the specific needs and constraints of smaller manufacturing operations.
Current State and Challenges in Assembly Line Topology Optimization
Topology optimization in assembly line design represents a significant advancement in manufacturing efficiency, yet its current implementation faces numerous challenges. The global manufacturing sector has embraced this approach to varying degrees, with advanced economies like Germany, Japan, and the United States leading adoption rates. However, implementation remains inconsistent across different regions and industries, creating a fragmented landscape of technological maturity.
The fundamental challenge lies in the mathematical complexity of topology optimization algorithms when applied to dynamic assembly environments. While these algorithms excel in static structural design problems, they struggle with the temporal and sequential dependencies inherent in assembly line operations. Current computational models often fail to adequately capture the stochastic nature of manufacturing processes, including machine breakdowns, variable processing times, and human operator interactions.
Data integration presents another significant hurdle. Assembly lines generate vast amounts of heterogeneous data across different systems, sensors, and timeframes. The lack of standardized data collection protocols and interoperability between legacy systems and modern IoT devices creates information silos that impede comprehensive optimization efforts. Many manufacturers report that up to 70% of collected data remains unused due to integration challenges.
Technical limitations in real-time computation also constrain practical implementation. Most topology optimization algorithms require substantial processing power and time to converge on optimal solutions, making them unsuitable for dynamic production environments that require rapid reconfiguration. The computational complexity increases exponentially with the number of workstations, creating scalability issues for large assembly operations.
Industry expertise gaps further complicate adoption. The interdisciplinary nature of assembly line topology optimization requires collaboration between manufacturing engineers, data scientists, and operations researchers—a combination of skills rarely found within a single organization. This knowledge deficit has led to simplified implementations that capture only a fraction of potential efficiency gains.
Regulatory and standardization issues also present barriers, particularly in highly regulated industries like automotive and aerospace manufacturing. The absence of established standards for validating topology-optimized assembly configurations against safety and quality requirements creates uncertainty and risk aversion among potential adopters.
Financial constraints represent the final major challenge. The initial investment required for implementing topology optimization systems—including software, hardware, training, and process redesign—creates a significant barrier to entry, especially for small and medium-sized manufacturers. The uncertain ROI timeline, typically estimated at 18-36 months, further discourages adoption in industries with tight profit margins.
The fundamental challenge lies in the mathematical complexity of topology optimization algorithms when applied to dynamic assembly environments. While these algorithms excel in static structural design problems, they struggle with the temporal and sequential dependencies inherent in assembly line operations. Current computational models often fail to adequately capture the stochastic nature of manufacturing processes, including machine breakdowns, variable processing times, and human operator interactions.
Data integration presents another significant hurdle. Assembly lines generate vast amounts of heterogeneous data across different systems, sensors, and timeframes. The lack of standardized data collection protocols and interoperability between legacy systems and modern IoT devices creates information silos that impede comprehensive optimization efforts. Many manufacturers report that up to 70% of collected data remains unused due to integration challenges.
Technical limitations in real-time computation also constrain practical implementation. Most topology optimization algorithms require substantial processing power and time to converge on optimal solutions, making them unsuitable for dynamic production environments that require rapid reconfiguration. The computational complexity increases exponentially with the number of workstations, creating scalability issues for large assembly operations.
Industry expertise gaps further complicate adoption. The interdisciplinary nature of assembly line topology optimization requires collaboration between manufacturing engineers, data scientists, and operations researchers—a combination of skills rarely found within a single organization. This knowledge deficit has led to simplified implementations that capture only a fraction of potential efficiency gains.
Regulatory and standardization issues also present barriers, particularly in highly regulated industries like automotive and aerospace manufacturing. The absence of established standards for validating topology-optimized assembly configurations against safety and quality requirements creates uncertainty and risk aversion among potential adopters.
Financial constraints represent the final major challenge. The initial investment required for implementing topology optimization systems—including software, hardware, training, and process redesign—creates a significant barrier to entry, especially for small and medium-sized manufacturers. The uncertain ROI timeline, typically estimated at 18-36 months, further discourages adoption in industries with tight profit margins.
Current Methodologies for Assembly Line Throughput Enhancement
01 Topology optimization for additive manufacturing efficiency
Topology optimization techniques specifically designed for additive manufacturing processes can significantly improve manufacturing throughput. These methods consider build orientation, support structure minimization, and material distribution to reduce print time and post-processing requirements. By optimizing the design for the specific constraints of additive manufacturing technologies, manufacturers can achieve faster production cycles while maintaining structural integrity and performance requirements.- Topology optimization for additive manufacturing: Topology optimization techniques specifically designed for additive manufacturing processes can significantly improve manufacturing throughput. These methods consider the unique capabilities and constraints of additive manufacturing technologies to create optimized designs that can be produced more efficiently. By incorporating manufacturing constraints directly into the optimization algorithm, the resulting designs require less post-processing and can be manufactured more quickly, thereby increasing overall throughput.
- Integration of topology optimization with production planning: Integrating topology optimization with production planning systems allows for simultaneous optimization of part design and manufacturing processes. This approach considers factors such as machine availability, production schedules, and resource allocation alongside design optimization. By coordinating design and production planning, manufacturers can achieve higher throughput by minimizing setup times, optimizing batch sizes, and reducing production bottlenecks.
- Machine learning approaches for topology optimization: Machine learning algorithms can enhance topology optimization processes to improve manufacturing throughput. These approaches use historical production data to predict optimal design parameters and manufacturing settings. By leveraging artificial intelligence to accelerate the optimization process and predict performance outcomes, manufacturers can reduce design iteration cycles and achieve faster time-to-production, thereby increasing overall manufacturing throughput.
- Multi-objective optimization for balanced manufacturing efficiency: Multi-objective topology optimization techniques balance various manufacturing considerations including throughput, material usage, and structural performance. These methods simultaneously optimize for multiple competing objectives to find designs that offer the best compromise between manufacturing speed and other important factors. By considering manufacturing time alongside other objectives during the design phase, the resulting components can be produced more efficiently without sacrificing quality or performance.
- Real-time monitoring and adaptive optimization systems: Real-time monitoring systems combined with adaptive topology optimization enable dynamic adjustments to manufacturing processes. These systems collect data during production and use it to continuously refine and optimize both designs and manufacturing parameters. By implementing feedback loops between production metrics and design optimization, manufacturers can identify and address throughput bottlenecks quickly, leading to continuous improvement in manufacturing efficiency and output rates.
02 Integrated simulation and optimization frameworks
Advanced frameworks that integrate simulation and optimization algorithms enable real-time analysis of manufacturing processes. These systems can predict bottlenecks, optimize machine parameters, and suggest design modifications to enhance throughput. By combining finite element analysis, computational fluid dynamics, and machine learning techniques, these frameworks provide comprehensive solutions for optimizing both product topology and manufacturing workflow simultaneously.Expand Specific Solutions03 Multi-objective optimization for production efficiency
Multi-objective optimization approaches balance manufacturing throughput with other critical factors such as structural performance, material usage, and cost. These methods employ algorithms that can simultaneously consider multiple competing objectives to find optimal compromises. By incorporating manufacturing constraints directly into the topology optimization process, designers can create components that not only perform well but can also be manufactured efficiently with minimal resource utilization.Expand Specific Solutions04 Network-based optimization for distributed manufacturing
Network-based optimization systems coordinate distributed manufacturing resources to maximize overall throughput. These platforms analyze production requirements, available equipment capabilities, and scheduling constraints to optimize workflow across multiple manufacturing cells or facilities. By implementing intelligent load balancing and resource allocation algorithms, manufacturers can reduce idle time, minimize bottlenecks, and increase the efficiency of the entire production ecosystem.Expand Specific Solutions05 AI-driven topology optimization for manufacturing
Artificial intelligence and machine learning techniques are revolutionizing topology optimization for manufacturing throughput. These approaches use neural networks and deep learning to predict manufacturing outcomes, identify optimal design parameters, and continuously improve production efficiency through iterative learning. By analyzing vast amounts of historical manufacturing data, AI systems can discover non-intuitive design solutions that significantly enhance throughput while meeting all functional requirements.Expand Specific Solutions
Key Industry Players in Manufacturing Optimization Technologies
The topology optimization for manufacturing assembly lines is currently in a growth phase, with the market expanding due to increasing demand for production efficiency. The global market size is estimated to reach significant scale as industries seek to maximize throughput while minimizing resource usage. Technologically, this field is approaching maturity with leading companies developing sophisticated solutions. Siemens AG and Dassault Systèmes are pioneering integrated digital twin approaches, while Autodesk and ANSYS offer robust simulation platforms. Academic institutions like Georgia Tech and University of Waterloo are advancing theoretical frameworks. Manufacturing specialists including Rolls-Royce and RTX Corp are implementing practical applications, creating a competitive landscape where software providers and industrial implementers are forming strategic partnerships to deliver comprehensive optimization solutions.
Siemens AG
Technical Solution: Siemens has developed comprehensive topology optimization solutions for manufacturing assembly lines through their Digital Industries division. Their approach integrates digital twin technology with advanced simulation tools to optimize assembly line layouts and material flow. Siemens' Plant Simulation software enables manufacturers to create virtual models of production systems and analyze throughput optimization scenarios before physical implementation. Their topology optimization algorithms consider multiple constraints including space limitations, ergonomics, cycle times, and resource utilization. The solution incorporates machine learning to continuously improve layout recommendations based on real-time production data. Siemens' technology can reduce assembly line footprint by up to 25% while increasing throughput by 15-20% through optimized component placement and workflow sequencing. Their system also supports dynamic reconfiguration capabilities to adapt to changing production requirements.
Strengths: Comprehensive integration with existing industrial automation systems; robust digital twin capabilities; extensive manufacturing domain expertise. Weaknesses: Solutions often require significant investment in Siemens ecosystem; implementation complexity can be high for smaller manufacturers; customization may require specialized expertise.
Dassault Systèmes SE
Technical Solution: Dassault Systèmes has pioneered advanced topology optimization for manufacturing assembly lines through their 3DEXPERIENCE platform. Their DELMIA digital manufacturing solutions incorporate sophisticated algorithms that optimize assembly line configurations based on multi-objective criteria. The technology utilizes discrete event simulation combined with generative design principles to create optimal assembly line topologies. Dassault's approach integrates product lifecycle management (PLM) data with manufacturing execution systems to ensure optimized layouts reflect actual production constraints. Their solution employs physics-based modeling to simulate material flow, worker movements, and equipment utilization, enabling manufacturers to identify bottlenecks and optimize throughput. The system can generate multiple layout alternatives with performance metrics for each scenario, allowing engineers to select configurations that balance throughput, cost, and space utilization. Recent implementations have demonstrated throughput improvements of 18-30% while reducing assembly line footprint by up to 35%.
Strengths: Exceptional integration with product design data; powerful visualization capabilities; comprehensive simulation tools. Weaknesses: Steep learning curve; significant computational resources required; higher implementation costs compared to standalone solutions.
Critical Patents and Research in Manufacturing Topology Optimization
Topology optimization-based design method and apparatus of high-performance motors considering manufacturability and structural safety
PatentPendingKR1020230100895A
Innovation
- A computer-based method and apparatus for motor design using phase optimization to derive optimized shape information for webs and bridges without predefined structural information, employing topology optimization and individual filtering and penalty application methods.
Generating smooth optimized parts
PatentActiveUS20180247462A1
Innovation
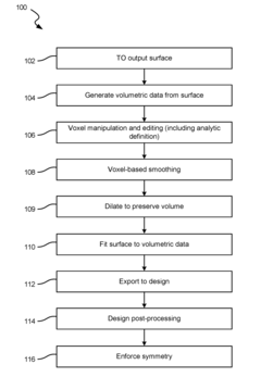
- Converting TO output surfaces into voxel-based volumetric data, applying three-dimensional smoothing filters, and fitting a surface to the resulting design to smooth and remove artifacts, allowing for easier manual or automated correction.
Implementation Costs and ROI Analysis for Topology Optimization
Implementing topology optimization in manufacturing assembly lines requires significant initial investment but offers substantial long-term returns. The implementation costs typically fall into four main categories: software acquisition, hardware upgrades, personnel training, and production downtime during implementation. Software costs range from $50,000 to $250,000 depending on the complexity and scale of operations, with enterprise-level solutions commanding premium prices. Hardware requirements often necessitate high-performance computing infrastructure, potentially adding $20,000 to $100,000 to the implementation budget.
Personnel training represents another substantial investment, as topology optimization requires specialized knowledge in computational modeling, manufacturing constraints, and optimization algorithms. Companies typically allocate $5,000 to $15,000 per technical staff member for comprehensive training programs. Additionally, the implementation phase may require production downtime, resulting in temporary productivity losses estimated at 5-15% of normal output during the transition period.
Despite these upfront costs, ROI analysis demonstrates compelling financial benefits. Manufacturing facilities implementing topology optimization report throughput improvements of 15-30% within the first year of deployment. This translates to production capacity increases without additional capital equipment investments. The optimization of assembly line configurations also reduces material handling costs by 10-25% and decreases work-in-process inventory by 15-20% on average.
Energy consumption reductions of 8-12% further contribute to operational cost savings, while improved space utilization can defer facility expansion needs. Most implementations achieve break-even within 12-18 months, with larger operations experiencing faster returns due to economies of scale. A comprehensive five-year ROI analysis typically shows returns of 200-350% on the initial investment.
Case studies from automotive and electronics manufacturing sectors demonstrate particularly strong financial outcomes. An automotive components manufacturer reported a 22% throughput increase and 18% reduction in operational costs, achieving full ROI in just 11 months. Similarly, an electronics assembly operation documented a 27% improvement in production capacity and 15% decrease in quality-related costs, with complete investment recovery in 14 months.
For optimal financial outcomes, companies should adopt a phased implementation approach, beginning with pilot projects in critical production areas before expanding to full-scale deployment. This strategy minimizes initial capital requirements while allowing for validation of expected returns before committing to enterprise-wide implementation.
Personnel training represents another substantial investment, as topology optimization requires specialized knowledge in computational modeling, manufacturing constraints, and optimization algorithms. Companies typically allocate $5,000 to $15,000 per technical staff member for comprehensive training programs. Additionally, the implementation phase may require production downtime, resulting in temporary productivity losses estimated at 5-15% of normal output during the transition period.
Despite these upfront costs, ROI analysis demonstrates compelling financial benefits. Manufacturing facilities implementing topology optimization report throughput improvements of 15-30% within the first year of deployment. This translates to production capacity increases without additional capital equipment investments. The optimization of assembly line configurations also reduces material handling costs by 10-25% and decreases work-in-process inventory by 15-20% on average.
Energy consumption reductions of 8-12% further contribute to operational cost savings, while improved space utilization can defer facility expansion needs. Most implementations achieve break-even within 12-18 months, with larger operations experiencing faster returns due to economies of scale. A comprehensive five-year ROI analysis typically shows returns of 200-350% on the initial investment.
Case studies from automotive and electronics manufacturing sectors demonstrate particularly strong financial outcomes. An automotive components manufacturer reported a 22% throughput increase and 18% reduction in operational costs, achieving full ROI in just 11 months. Similarly, an electronics assembly operation documented a 27% improvement in production capacity and 15% decrease in quality-related costs, with complete investment recovery in 14 months.
For optimal financial outcomes, companies should adopt a phased implementation approach, beginning with pilot projects in critical production areas before expanding to full-scale deployment. This strategy minimizes initial capital requirements while allowing for validation of expected returns before committing to enterprise-wide implementation.
Sustainability Impact of Optimized Manufacturing Processes
The implementation of topology optimization in manufacturing assembly lines offers significant sustainability benefits that extend beyond operational efficiency. By optimizing material distribution and process flows, manufacturers can achieve substantial reductions in resource consumption. Studies indicate that optimized assembly configurations can reduce material waste by 15-30% compared to traditional layouts, directly decreasing the environmental footprint of manufacturing operations.
Energy efficiency represents another critical sustainability advantage of topology-optimized assembly lines. The strategic placement of workstations and equipment minimizes unnecessary movement and energy-intensive processes, potentially reducing overall energy consumption by 10-25%. This reduction translates to lower greenhouse gas emissions and contributes meaningfully to corporate carbon reduction targets.
The lifecycle impact of optimized manufacturing processes extends to product durability and maintenance requirements. Assembly lines designed through topology optimization principles typically produce more consistent quality outputs with fewer defects, reducing the need for replacements and warranty services. This improvement in product longevity creates a cascading sustainability effect throughout the value chain.
Water conservation emerges as an additional benefit in certain manufacturing sectors. Optimized process flows can reduce water requirements for cooling, cleaning, and other auxiliary functions by implementing more efficient routing and recycling systems. In industries like automotive and electronics manufacturing, water usage reductions of 8-20% have been documented following topology optimization implementations.
From a circular economy perspective, topology-optimized assembly lines facilitate easier disassembly and component recovery at end-of-life. The systematic arrangement of assembly processes can be mirrored for disassembly, improving the recoverability of valuable materials and components. This design consideration enhances product recyclability rates by approximately 15-40%, depending on the industry.
Worker well-being also represents an often-overlooked sustainability dimension. Optimized assembly lines typically reduce ergonomic strain through improved workflow design, leading to fewer workplace injuries and lower absenteeism. This human sustainability factor contributes to social responsibility goals while simultaneously reducing healthcare costs and productivity losses.
The cumulative sustainability impact of topology-optimized manufacturing processes creates compelling business cases that align environmental benefits with economic advantages. Companies implementing these approaches report an average 12-18% reduction in their overall environmental impact while simultaneously improving production throughput and quality metrics.
Energy efficiency represents another critical sustainability advantage of topology-optimized assembly lines. The strategic placement of workstations and equipment minimizes unnecessary movement and energy-intensive processes, potentially reducing overall energy consumption by 10-25%. This reduction translates to lower greenhouse gas emissions and contributes meaningfully to corporate carbon reduction targets.
The lifecycle impact of optimized manufacturing processes extends to product durability and maintenance requirements. Assembly lines designed through topology optimization principles typically produce more consistent quality outputs with fewer defects, reducing the need for replacements and warranty services. This improvement in product longevity creates a cascading sustainability effect throughout the value chain.
Water conservation emerges as an additional benefit in certain manufacturing sectors. Optimized process flows can reduce water requirements for cooling, cleaning, and other auxiliary functions by implementing more efficient routing and recycling systems. In industries like automotive and electronics manufacturing, water usage reductions of 8-20% have been documented following topology optimization implementations.
From a circular economy perspective, topology-optimized assembly lines facilitate easier disassembly and component recovery at end-of-life. The systematic arrangement of assembly processes can be mirrored for disassembly, improving the recoverability of valuable materials and components. This design consideration enhances product recyclability rates by approximately 15-40%, depending on the industry.
Worker well-being also represents an often-overlooked sustainability dimension. Optimized assembly lines typically reduce ergonomic strain through improved workflow design, leading to fewer workplace injuries and lower absenteeism. This human sustainability factor contributes to social responsibility goals while simultaneously reducing healthcare costs and productivity losses.
The cumulative sustainability impact of topology-optimized manufacturing processes creates compelling business cases that align environmental benefits with economic advantages. Companies implementing these approaches report an average 12-18% reduction in their overall environmental impact while simultaneously improving production throughput and quality metrics.
Unlock deeper insights with Patsnap Eureka Quick Research — get a full tech report to explore trends and direct your research. Try now!
Generate Your Research Report Instantly with AI Agent
Supercharge your innovation with Patsnap Eureka AI Agent Platform!








