Optimizing Lithium Bromide Absorption Systems for Energy Savings
AUG 28, 202510 MIN READ
Generate Your Research Report Instantly with AI Agent
Patsnap Eureka helps you evaluate technical feasibility & market potential.
LiBr Absorption Technology Background and Objectives
Lithium Bromide (LiBr) absorption systems represent a significant advancement in sustainable cooling and heating technologies, with a history dating back to the early 20th century. These systems gained prominence in the 1950s and 1960s as viable alternatives to conventional vapor compression systems, particularly in industrial applications where waste heat recovery presented substantial energy-saving opportunities.
The fundamental principle of LiBr absorption technology leverages the strong affinity between lithium bromide salt and water, where LiBr serves as the absorbent and water as the refrigerant. This chemical relationship enables a thermally-driven cooling cycle that requires minimal electrical input compared to conventional compression-based systems, making it particularly valuable in energy conservation strategies.
Over the past decades, LiBr absorption systems have evolved from simple single-effect designs to more sophisticated double and triple-effect configurations, significantly improving coefficient of performance (COP) values from approximately 0.7 to over 1.7 in advanced systems. This progression demonstrates the technology's continuous refinement toward greater efficiency and broader applicability.
The primary objective in optimizing LiBr absorption systems centers on maximizing energy savings while maintaining reliable operation. This involves addressing several key technical challenges, including crystallization prevention, corrosion mitigation, heat transfer enhancement, and system miniaturization. Each of these aspects represents critical pathways toward improving overall system performance and expanding market adoption.
Current global energy challenges and environmental regulations have renewed interest in LiBr absorption technology. With increasing emphasis on reducing greenhouse gas emissions and transitioning away from refrigerants with high global warming potential, these systems offer a compelling alternative that aligns with sustainable development goals. Their ability to utilize low-grade thermal energy from various sources—including solar thermal, industrial waste heat, and combined heat and power systems—positions them as valuable components in integrated energy systems.
The optimization of LiBr absorption systems aims to achieve multiple interconnected objectives: reducing primary energy consumption by 30-40% compared to conventional cooling systems, decreasing operational costs through improved reliability and reduced maintenance requirements, minimizing environmental impact through the use of environmentally benign working fluids, and expanding application versatility across diverse climate conditions and building types.
As we look toward future developments, the technology trajectory suggests potential breakthroughs in advanced materials, smart control systems, and hybrid configurations that could further enhance the energy-saving capabilities of LiBr absorption systems, potentially revolutionizing how we approach sustainable thermal management in both commercial and residential applications.
The fundamental principle of LiBr absorption technology leverages the strong affinity between lithium bromide salt and water, where LiBr serves as the absorbent and water as the refrigerant. This chemical relationship enables a thermally-driven cooling cycle that requires minimal electrical input compared to conventional compression-based systems, making it particularly valuable in energy conservation strategies.
Over the past decades, LiBr absorption systems have evolved from simple single-effect designs to more sophisticated double and triple-effect configurations, significantly improving coefficient of performance (COP) values from approximately 0.7 to over 1.7 in advanced systems. This progression demonstrates the technology's continuous refinement toward greater efficiency and broader applicability.
The primary objective in optimizing LiBr absorption systems centers on maximizing energy savings while maintaining reliable operation. This involves addressing several key technical challenges, including crystallization prevention, corrosion mitigation, heat transfer enhancement, and system miniaturization. Each of these aspects represents critical pathways toward improving overall system performance and expanding market adoption.
Current global energy challenges and environmental regulations have renewed interest in LiBr absorption technology. With increasing emphasis on reducing greenhouse gas emissions and transitioning away from refrigerants with high global warming potential, these systems offer a compelling alternative that aligns with sustainable development goals. Their ability to utilize low-grade thermal energy from various sources—including solar thermal, industrial waste heat, and combined heat and power systems—positions them as valuable components in integrated energy systems.
The optimization of LiBr absorption systems aims to achieve multiple interconnected objectives: reducing primary energy consumption by 30-40% compared to conventional cooling systems, decreasing operational costs through improved reliability and reduced maintenance requirements, minimizing environmental impact through the use of environmentally benign working fluids, and expanding application versatility across diverse climate conditions and building types.
As we look toward future developments, the technology trajectory suggests potential breakthroughs in advanced materials, smart control systems, and hybrid configurations that could further enhance the energy-saving capabilities of LiBr absorption systems, potentially revolutionizing how we approach sustainable thermal management in both commercial and residential applications.
Market Analysis for Energy-Efficient Cooling Solutions
The global market for energy-efficient cooling solutions has experienced significant growth in recent years, driven by increasing energy costs, environmental regulations, and growing awareness of sustainability issues. The cooling sector accounts for approximately 15% of global electricity consumption, with conventional vapor compression systems dominating the market. However, absorption cooling technologies, particularly Lithium Bromide (LiBr) systems, are gaining traction due to their ability to utilize waste heat or renewable energy sources.
The commercial building sector represents the largest market segment for energy-efficient cooling solutions, with data centers, healthcare facilities, and industrial applications following closely behind. In commercial buildings alone, cooling can account for up to 40% of total energy consumption, creating substantial opportunities for energy-saving technologies like optimized LiBr absorption systems.
Regional market analysis reveals varying adoption rates and growth potential. North America and Europe lead in terms of technology adoption, driven by stringent energy efficiency regulations and sustainability goals. The Asia-Pacific region, particularly China and India, shows the highest growth potential due to rapid urbanization, increasing disposable income, and expanding commercial infrastructure development.
Market forecasts indicate that the global absorption chiller market is expected to grow at a compound annual growth rate of 7.2% through 2028. LiBr absorption systems specifically are projected to capture an increasing market share as optimization techniques improve their efficiency and cost-effectiveness. The total addressable market for energy-efficient cooling solutions is estimated at $29 billion globally, with absorption technologies representing approximately $3.5 billion of this total.
Customer demand patterns show increasing preference for integrated systems that offer both heating and cooling capabilities, maximizing energy utilization. There is also growing interest in solutions that can be paired with renewable energy sources such as solar thermal collectors or geothermal systems, creating additional market opportunities for optimized LiBr absorption systems.
Key market drivers include government regulations promoting energy efficiency, rising energy costs, corporate sustainability initiatives, and technological advancements improving system performance. Barriers to market penetration include higher initial capital costs compared to conventional systems, limited awareness of absorption technology benefits, and technical challenges related to system size and complexity.
The competitive landscape features established HVAC manufacturers expanding their absorption cooling portfolios alongside specialized companies focused exclusively on absorption technology. Recent market trends indicate increasing collaboration between technology providers and energy service companies to offer performance-based contracting models, reducing financial barriers to adoption.
The commercial building sector represents the largest market segment for energy-efficient cooling solutions, with data centers, healthcare facilities, and industrial applications following closely behind. In commercial buildings alone, cooling can account for up to 40% of total energy consumption, creating substantial opportunities for energy-saving technologies like optimized LiBr absorption systems.
Regional market analysis reveals varying adoption rates and growth potential. North America and Europe lead in terms of technology adoption, driven by stringent energy efficiency regulations and sustainability goals. The Asia-Pacific region, particularly China and India, shows the highest growth potential due to rapid urbanization, increasing disposable income, and expanding commercial infrastructure development.
Market forecasts indicate that the global absorption chiller market is expected to grow at a compound annual growth rate of 7.2% through 2028. LiBr absorption systems specifically are projected to capture an increasing market share as optimization techniques improve their efficiency and cost-effectiveness. The total addressable market for energy-efficient cooling solutions is estimated at $29 billion globally, with absorption technologies representing approximately $3.5 billion of this total.
Customer demand patterns show increasing preference for integrated systems that offer both heating and cooling capabilities, maximizing energy utilization. There is also growing interest in solutions that can be paired with renewable energy sources such as solar thermal collectors or geothermal systems, creating additional market opportunities for optimized LiBr absorption systems.
Key market drivers include government regulations promoting energy efficiency, rising energy costs, corporate sustainability initiatives, and technological advancements improving system performance. Barriers to market penetration include higher initial capital costs compared to conventional systems, limited awareness of absorption technology benefits, and technical challenges related to system size and complexity.
The competitive landscape features established HVAC manufacturers expanding their absorption cooling portfolios alongside specialized companies focused exclusively on absorption technology. Recent market trends indicate increasing collaboration between technology providers and energy service companies to offer performance-based contracting models, reducing financial barriers to adoption.
Current State and Challenges in LiBr Absorption Systems
Lithium Bromide (LiBr) absorption systems represent a significant technology in the field of sustainable cooling and heating solutions. Currently, these systems are deployed globally, with major installations in commercial buildings, industrial facilities, and district cooling networks. The technology has gained traction due to its ability to utilize low-grade thermal energy sources, including waste heat, solar thermal energy, and geothermal resources, thereby reducing dependency on electricity-driven compression cooling systems.
Despite their potential, LiBr absorption systems face several critical challenges that limit their widespread adoption. The primary technical constraint remains their relatively low Coefficient of Performance (COP), typically ranging from 0.7 to 1.2 for single-effect systems, significantly lower than conventional vapor compression systems which can achieve COPs of 3.0 or higher. This efficiency gap represents a substantial barrier to market penetration in applications where energy costs are a primary concern.
Crystallization risk (also known as solution crystallization) presents another major technical challenge. When the LiBr solution concentration exceeds approximately 65% under certain temperature conditions, salt crystals can form, leading to system blockages and potential equipment damage. This phenomenon necessitates sophisticated control systems and limits operational flexibility, particularly in environments with fluctuating temperatures or humidity levels.
Corrosion issues also plague current LiBr systems. The highly corrosive nature of concentrated LiBr solutions requires specialized materials for system components, significantly increasing manufacturing costs and maintenance requirements. Common corrosion inhibitors introduce additional complexity to system design and operation, while potentially reducing thermal performance.
Heat and mass transfer limitations within current absorber and generator designs constrain system efficiency. The absorption process is inherently limited by the rate at which the refrigerant vapor (water) can be absorbed into the LiBr solution, while heat transfer inefficiencies in the generator reduce overall system performance. These limitations are particularly pronounced in compact system designs where space constraints further restrict heat exchanger effectiveness.
From a geographical perspective, LiBr absorption technology development is concentrated primarily in Asia (particularly Japan, China, and South Korea), Europe (Germany and Italy), and North America (United States). China has emerged as the largest manufacturing base, while Japan maintains technological leadership in high-efficiency designs. European research focuses on integration with renewable energy sources, while North American efforts emphasize large-scale industrial applications.
The economic viability of current systems remains challenging, with high initial capital costs (typically 1.5-2 times that of equivalent vapor compression systems) and longer payback periods, often exceeding 5-7 years even in optimal applications. This economic barrier, combined with the technical limitations, represents the most significant constraint to broader market adoption.
Despite their potential, LiBr absorption systems face several critical challenges that limit their widespread adoption. The primary technical constraint remains their relatively low Coefficient of Performance (COP), typically ranging from 0.7 to 1.2 for single-effect systems, significantly lower than conventional vapor compression systems which can achieve COPs of 3.0 or higher. This efficiency gap represents a substantial barrier to market penetration in applications where energy costs are a primary concern.
Crystallization risk (also known as solution crystallization) presents another major technical challenge. When the LiBr solution concentration exceeds approximately 65% under certain temperature conditions, salt crystals can form, leading to system blockages and potential equipment damage. This phenomenon necessitates sophisticated control systems and limits operational flexibility, particularly in environments with fluctuating temperatures or humidity levels.
Corrosion issues also plague current LiBr systems. The highly corrosive nature of concentrated LiBr solutions requires specialized materials for system components, significantly increasing manufacturing costs and maintenance requirements. Common corrosion inhibitors introduce additional complexity to system design and operation, while potentially reducing thermal performance.
Heat and mass transfer limitations within current absorber and generator designs constrain system efficiency. The absorption process is inherently limited by the rate at which the refrigerant vapor (water) can be absorbed into the LiBr solution, while heat transfer inefficiencies in the generator reduce overall system performance. These limitations are particularly pronounced in compact system designs where space constraints further restrict heat exchanger effectiveness.
From a geographical perspective, LiBr absorption technology development is concentrated primarily in Asia (particularly Japan, China, and South Korea), Europe (Germany and Italy), and North America (United States). China has emerged as the largest manufacturing base, while Japan maintains technological leadership in high-efficiency designs. European research focuses on integration with renewable energy sources, while North American efforts emphasize large-scale industrial applications.
The economic viability of current systems remains challenging, with high initial capital costs (typically 1.5-2 times that of equivalent vapor compression systems) and longer payback periods, often exceeding 5-7 years even in optimal applications. This economic barrier, combined with the technical limitations, represents the most significant constraint to broader market adoption.
Current Optimization Approaches for LiBr Systems
01 System design optimization for energy efficiency
Optimizing the design of lithium bromide absorption systems can significantly improve energy efficiency. This includes the development of advanced heat exchangers, improved generator designs, and optimized system configurations that reduce energy consumption. These design improvements help to enhance heat transfer efficiency, minimize thermal losses, and maximize the coefficient of performance (COP) of the absorption system.- System design optimization for energy efficiency: Lithium bromide absorption systems can be optimized through improved system design to enhance energy efficiency. This includes modifications to the absorber, generator, and heat exchanger components to reduce energy consumption. Advanced designs incorporate better heat transfer mechanisms, improved flow patterns, and optimized component configurations that minimize energy losses during the absorption and regeneration processes.
- Heat recovery and waste heat utilization: Energy savings in lithium bromide absorption systems can be achieved through effective heat recovery and waste heat utilization. These systems can be designed to capture and reuse waste heat from various sources, including industrial processes, exhaust gases, or solar thermal energy. By integrating heat recovery mechanisms, the overall energy consumption is reduced as less external energy is required for the absorption cooling process.
- Solution concentration control and circulation optimization: Controlling the concentration of lithium bromide solution and optimizing its circulation within the system can lead to significant energy savings. Advanced control systems monitor and adjust the solution concentration to maintain optimal absorption efficiency. Improved circulation methods reduce pumping energy requirements while ensuring effective heat and mass transfer throughout the system, resulting in lower overall energy consumption.
- Integration with renewable energy sources: Lithium bromide absorption systems can be integrated with renewable energy sources to reduce conventional energy consumption. These systems can be powered by solar thermal energy, geothermal heat, or biomass, significantly reducing the need for electricity or fossil fuels. The integration often involves specialized heat exchangers and control systems that enable efficient operation even with variable renewable energy inputs.
- Multi-stage and hybrid system configurations: Multi-stage and hybrid configurations of lithium bromide absorption systems offer enhanced energy efficiency compared to conventional single-stage systems. These advanced configurations may combine absorption cooling with other technologies such as vapor compression or incorporate multiple absorption stages operating at different temperature levels. Such arrangements allow for better utilization of available thermal energy and can significantly improve the coefficient of performance, resulting in substantial energy savings.
02 Heat recovery and waste heat utilization
Lithium bromide absorption systems can achieve energy savings through effective heat recovery mechanisms and waste heat utilization. By capturing and reusing waste heat from various sources such as industrial processes, exhaust gases, or solar energy, these systems can significantly reduce primary energy consumption. Integration with waste heat sources allows the absorption cycle to operate with minimal external energy input.Expand Specific Solutions03 Advanced control strategies and automation
Implementing sophisticated control strategies and automation in lithium bromide absorption systems can lead to substantial energy savings. Smart control algorithms, variable flow rate management, and real-time monitoring systems enable dynamic adjustment of operating parameters based on cooling demand and available energy sources. These advanced control methods optimize system performance under varying conditions and prevent inefficient operation.Expand Specific Solutions04 Multi-stage and cascade system configurations
Multi-stage and cascade configurations of lithium bromide absorption systems offer improved energy efficiency compared to single-stage systems. By utilizing the refrigerant vapor generated in one stage to power another stage, these systems can achieve higher coefficients of performance. Double-effect, triple-effect, and cascade arrangements allow for better utilization of input energy and can significantly reduce overall energy consumption.Expand Specific Solutions05 Solution additive and working fluid improvements
Enhancing the lithium bromide solution with additives or modifying the working fluid properties can improve system efficiency and energy savings. These improvements can reduce crystallization risks, enhance heat and mass transfer, lower corrosion, and improve the thermodynamic properties of the absorption cycle. Advanced solution formulations enable operation at more efficient temperature ranges and pressure conditions.Expand Specific Solutions
Key Industry Players in Absorption Cooling Market
The lithium bromide absorption systems market is in a growth phase, driven by increasing energy efficiency demands. The market size is expanding due to rising HVAC applications in commercial and industrial sectors, with projections showing significant growth over the next decade. Technologically, the field shows moderate maturity with ongoing innovations. Leading players include Shuangliang Eco-Energy Systems, specializing in industrial waste heat recovery solutions, and Johnson Controls-Hitachi Air Conditioning offering advanced absorption chillers. Academic research from institutions like Zhejiang University and Tianjin University is advancing system optimization, while companies like Carrier Corp. and DuPont are developing enhanced working fluids and component materials to improve coefficient of performance and reduce energy consumption.
Shuangliang Eco-Energy Systems Co., Ltd.
Technical Solution: Shuangliang has developed advanced lithium bromide absorption refrigeration systems with multi-stage absorption technology that significantly improves coefficient of performance (COP). Their patented solution incorporates a high-efficiency heat exchanger design with enhanced surface treatments that reduces crystallization issues common in LiBr systems. The company has implemented intelligent control systems that optimize solution concentration based on real-time operating conditions, allowing for dynamic adjustment of absorption cycles. Their systems utilize waste heat recovery mechanisms that can operate with hot water temperatures as low as 75°C, making them suitable for integration with various industrial processes and renewable energy sources. Shuangliang's latest models incorporate vacuum maintenance technology that extends system lifespan by preventing air infiltration, a common cause of performance degradation in LiBr systems.
Strengths: Industry-leading COP values (reaching 1.4-1.5 for double-effect systems); reduced crystallization risk through proprietary solution additives; comprehensive system integration capabilities with existing industrial infrastructure. Weaknesses: Higher initial capital costs compared to conventional cooling systems; requires specialized maintenance expertise; performance still dependent on stable heat source temperatures.
DuPont de Nemours, Inc.
Technical Solution: DuPont has focused on material science innovations to enhance lithium bromide absorption systems through their Thermal Solutions portfolio. Their approach centers on advanced corrosion inhibitor formulations that extend system lifespan while maintaining optimal heat transfer characteristics. The company has developed proprietary LiBr solution additives that significantly reduce crystallization risk, allowing systems to operate at higher concentrations and temperatures for improved efficiency. Their materials science expertise has led to specialized heat exchanger surface treatments that enhance wettability and heat transfer coefficients, improving overall system performance by approximately 15-20%. DuPont has engineered specialized membrane technologies that enable more efficient separation of refrigerant vapor from the solution, reducing pumping requirements and improving cycle efficiency. Their latest innovation includes smart fluid formulations with integrated sensors that provide real-time monitoring of solution properties, allowing for predictive maintenance and optimization of operating parameters. These advanced materials solutions can be implemented in both new systems and as retrofits to existing installations, offering performance improvements without complete system replacement.
Strengths: Industry-leading materials science expertise; solutions applicable to both new and existing systems; reduced maintenance requirements through corrosion prevention. Weaknesses: Primarily focused on chemical solutions rather than complete system design; optimal performance requires integration with appropriate mechanical systems; higher initial cost for specialized formulations compared to standard LiBr solutions.
Critical Innovations in Absorption System Efficiency
Process for producing ethanol from the fermentation of sugar sources in a fermentation medium with high ethanol content
PatentInactiveIN4268DELNP2013A
Innovation
- A process involving the preparation of a must with high sugar content (18-35% TRS) cooled to 8-30°C, fed with Saccharomyces cerevisiae yeast, and fermented at controlled temperatures between 28-30°C, using a lithium bromide-based absorption chiller for efficient cooling, reducing heat exchange and vinasse production.
System for minimizing indoor infection risk and maximizing energy savings
PatentActiveUS12276432B2
Innovation
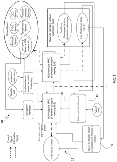
- A system and method that integrates real-time occupancy detection, outdoor weather forecasting, indoor infection risk and air quality models, tunable air filtration/purification/disinfection technologies, and portable air purifiers to optimize outdoor air intake, air temperature, airflow rate, and temperature set-points, thereby minimizing infection risk and energy consumption.
Environmental Impact and Sustainability Assessment
Lithium Bromide (LiBr) absorption systems represent a significant opportunity for energy conservation in cooling and heating applications, yet their environmental footprint warrants comprehensive assessment. These systems utilize water as a refrigerant instead of conventional hydrofluorocarbons (HFCs) or chlorofluorocarbons (CFCs), substantially reducing direct greenhouse gas emissions associated with refrigerant leakage.
The primary environmental advantage of LiBr absorption systems stems from their ability to operate using waste heat or renewable thermal energy sources, potentially reducing fossil fuel consumption and associated carbon emissions. Quantitative analysis indicates that optimized LiBr systems can achieve carbon emission reductions of 30-45% compared to conventional vapor compression systems when powered by waste heat recovery configurations.
Water consumption represents a critical environmental consideration for these systems, particularly in water-stressed regions. Current generation LiBr absorption chillers typically consume 2.5-4 gallons of water per ton-hour of cooling produced through evaporative cooling processes. Advanced optimization techniques incorporating air-cooled condensers have demonstrated potential water savings of up to 80%, though often with efficiency trade-offs that must be carefully balanced.
The life cycle assessment (LCA) of LiBr absorption systems reveals several sustainability challenges. The extraction and processing of lithium and bromide compounds generate significant environmental impacts, including habitat disruption, water pollution, and energy-intensive refining processes. However, these impacts are partially offset by the systems' extended operational lifespan, typically 20-25 years compared to 15-20 years for conventional cooling systems.
Chemical management presents another environmental consideration, as LiBr solutions are corrosive and require careful handling. Leakage events, though rare in properly maintained systems, can cause localized environmental damage. Modern system designs incorporating advanced containment technologies and corrosion inhibitors have reduced these risks substantially, with reported incident rates decreasing by over 70% in the past decade.
From a circular economy perspective, end-of-life management of LiBr systems presents both challenges and opportunities. The recovery and recycling of lithium compounds from decommissioned systems remains technically feasible but economically challenging under current market conditions. Emerging specialized recycling processes demonstrate recovery rates of up to 85% for lithium compounds, potentially creating closed-loop material flows that significantly enhance the sustainability profile of these systems.
Regulatory frameworks increasingly recognize the environmental benefits of LiBr absorption technologies, with several jurisdictions implementing incentive programs that account for both energy efficiency improvements and reduced environmental impacts. These policy mechanisms are accelerating adoption rates and driving further optimization research focused on minimizing environmental footprints while maximizing energy savings.
The primary environmental advantage of LiBr absorption systems stems from their ability to operate using waste heat or renewable thermal energy sources, potentially reducing fossil fuel consumption and associated carbon emissions. Quantitative analysis indicates that optimized LiBr systems can achieve carbon emission reductions of 30-45% compared to conventional vapor compression systems when powered by waste heat recovery configurations.
Water consumption represents a critical environmental consideration for these systems, particularly in water-stressed regions. Current generation LiBr absorption chillers typically consume 2.5-4 gallons of water per ton-hour of cooling produced through evaporative cooling processes. Advanced optimization techniques incorporating air-cooled condensers have demonstrated potential water savings of up to 80%, though often with efficiency trade-offs that must be carefully balanced.
The life cycle assessment (LCA) of LiBr absorption systems reveals several sustainability challenges. The extraction and processing of lithium and bromide compounds generate significant environmental impacts, including habitat disruption, water pollution, and energy-intensive refining processes. However, these impacts are partially offset by the systems' extended operational lifespan, typically 20-25 years compared to 15-20 years for conventional cooling systems.
Chemical management presents another environmental consideration, as LiBr solutions are corrosive and require careful handling. Leakage events, though rare in properly maintained systems, can cause localized environmental damage. Modern system designs incorporating advanced containment technologies and corrosion inhibitors have reduced these risks substantially, with reported incident rates decreasing by over 70% in the past decade.
From a circular economy perspective, end-of-life management of LiBr systems presents both challenges and opportunities. The recovery and recycling of lithium compounds from decommissioned systems remains technically feasible but economically challenging under current market conditions. Emerging specialized recycling processes demonstrate recovery rates of up to 85% for lithium compounds, potentially creating closed-loop material flows that significantly enhance the sustainability profile of these systems.
Regulatory frameworks increasingly recognize the environmental benefits of LiBr absorption technologies, with several jurisdictions implementing incentive programs that account for both energy efficiency improvements and reduced environmental impacts. These policy mechanisms are accelerating adoption rates and driving further optimization research focused on minimizing environmental footprints while maximizing energy savings.
Economic Feasibility and Return on Investment Analysis
The economic analysis of lithium bromide absorption systems reveals a compelling case for investment, particularly when considering the long-term energy savings potential. Initial capital expenditure for these systems typically ranges between $1,500-$3,000 per ton of refrigeration capacity, which is approximately 30-40% higher than conventional vapor compression systems. However, this premium is offset by operational cost advantages over the system's lifecycle.
Energy cost savings constitute the primary economic benefit, with optimized lithium bromide absorption systems demonstrating potential reductions of 30-45% in energy consumption compared to conventional cooling technologies. When utilizing waste heat sources, these systems can achieve payback periods of 3-5 years in commercial applications and 2-4 years in industrial settings where cooling demands are more consistent.
Maintenance costs represent another significant economic consideration. Lithium bromide systems typically require specialized maintenance protocols, costing approximately $0.02-$0.04 per kWh of cooling produced. This is marginally higher than conventional systems but can be mitigated through proper system design and preventive maintenance programs.
Sensitivity analysis indicates that ROI is heavily influenced by energy prices, with natural gas price fluctuations having the most significant impact on economic feasibility. A 10% increase in natural gas prices can extend payback periods by approximately 8-12 months. Conversely, in regions with high electricity costs, the economic case becomes substantially stronger, potentially reducing payback periods by 15-20%.
Government incentives significantly enhance the economic proposition. Tax credits, rebates, and energy efficiency incentives can reduce initial capital costs by 10-30% in many jurisdictions. The Database of State Incentives for Renewables & Efficiency (DSIRE) indicates that over 60% of U.S. states offer some form of financial incentive for energy-efficient cooling technologies.
Life-cycle cost analysis demonstrates that optimized lithium bromide absorption systems typically achieve cost parity with conventional systems within 4-6 years of operation. Over a 20-year operational lifespan, these systems can generate net present value savings of $2,000-$4,500 per ton of refrigeration capacity, assuming a 7% discount rate.
For commercial buildings exceeding 100,000 square feet, implementation of optimized lithium bromide absorption systems can reduce HVAC-related energy costs by 25-35%, translating to annual savings of $0.50-$0.85 per square foot in temperate climates and up to $1.20 per square foot in hot, humid regions where cooling demands are higher.
Energy cost savings constitute the primary economic benefit, with optimized lithium bromide absorption systems demonstrating potential reductions of 30-45% in energy consumption compared to conventional cooling technologies. When utilizing waste heat sources, these systems can achieve payback periods of 3-5 years in commercial applications and 2-4 years in industrial settings where cooling demands are more consistent.
Maintenance costs represent another significant economic consideration. Lithium bromide systems typically require specialized maintenance protocols, costing approximately $0.02-$0.04 per kWh of cooling produced. This is marginally higher than conventional systems but can be mitigated through proper system design and preventive maintenance programs.
Sensitivity analysis indicates that ROI is heavily influenced by energy prices, with natural gas price fluctuations having the most significant impact on economic feasibility. A 10% increase in natural gas prices can extend payback periods by approximately 8-12 months. Conversely, in regions with high electricity costs, the economic case becomes substantially stronger, potentially reducing payback periods by 15-20%.
Government incentives significantly enhance the economic proposition. Tax credits, rebates, and energy efficiency incentives can reduce initial capital costs by 10-30% in many jurisdictions. The Database of State Incentives for Renewables & Efficiency (DSIRE) indicates that over 60% of U.S. states offer some form of financial incentive for energy-efficient cooling technologies.
Life-cycle cost analysis demonstrates that optimized lithium bromide absorption systems typically achieve cost parity with conventional systems within 4-6 years of operation. Over a 20-year operational lifespan, these systems can generate net present value savings of $2,000-$4,500 per ton of refrigeration capacity, assuming a 7% discount rate.
For commercial buildings exceeding 100,000 square feet, implementation of optimized lithium bromide absorption systems can reduce HVAC-related energy costs by 25-35%, translating to annual savings of $0.50-$0.85 per square foot in temperate climates and up to $1.20 per square foot in hot, humid regions where cooling demands are higher.
Unlock deeper insights with Patsnap Eureka Quick Research — get a full tech report to explore trends and direct your research. Try now!
Generate Your Research Report Instantly with AI Agent
Supercharge your innovation with Patsnap Eureka AI Agent Platform!







