Tautomerization Mediated by External Electric Fields
JUL 29, 20259 MIN READ
Generate Your Research Report Instantly with AI Agent
Patsnap Eureka helps you evaluate technical feasibility & market potential.
Tautomerization and Electric Field Interactions
Tautomerization is a fundamental process in chemistry involving the rapid interconversion between structural isomers. This phenomenon plays a crucial role in various chemical and biological systems, influencing molecular properties, reactivity, and function. The interaction between tautomerization and external electric fields represents an exciting frontier in chemical research, offering new possibilities for controlling and manipulating molecular structures.
External electric fields can significantly influence the tautomerization process by altering the energy landscape of the molecular system. These fields can stabilize or destabilize different tautomeric forms, potentially shifting equilibrium distributions or even enabling access to otherwise inaccessible tautomers. The ability to control tautomerization through electric fields opens up new avenues for molecular design and functional materials.
One of the key mechanisms by which electric fields affect tautomerization is through the modulation of electron density distributions within molecules. By applying an external field, the electronic structure of a molecule can be perturbed, leading to changes in bond strengths and relative energies of different tautomeric forms. This effect is particularly pronounced in molecules with polar functional groups or those exhibiting significant charge separation between tautomers.
Recent studies have demonstrated the potential of electric field-mediated tautomerization in various applications. For instance, researchers have explored the use of electric fields to control proton transfer reactions, which are closely related to tautomerization processes. This approach has shown promise in the development of molecular switches and sensors, where the reversible interconversion between tautomers can be harnessed for signal transduction or information storage.
The interaction between tautomerization and electric fields also has implications for understanding and manipulating chemical reactivity. By selectively stabilizing specific tautomeric forms, it may be possible to direct reaction pathways or enhance the selectivity of chemical transformations. This concept has potential applications in catalysis, where electric field effects could be used to optimize reaction conditions or access novel reaction mechanisms.
Furthermore, the study of tautomerization under electric fields contributes to our fundamental understanding of non-covalent interactions and their role in molecular recognition processes. The ability to fine-tune tautomeric equilibria through external stimuli provides valuable insights into the factors governing molecular assembly and supramolecular chemistry.
As research in this field progresses, new experimental techniques and theoretical models are being developed to probe and predict the behavior of tautomeric systems under electric fields. Advanced spectroscopic methods, coupled with high-level computational simulations, are enabling researchers to elucidate the intricate details of field-induced tautomerization at the molecular level.
External electric fields can significantly influence the tautomerization process by altering the energy landscape of the molecular system. These fields can stabilize or destabilize different tautomeric forms, potentially shifting equilibrium distributions or even enabling access to otherwise inaccessible tautomers. The ability to control tautomerization through electric fields opens up new avenues for molecular design and functional materials.
One of the key mechanisms by which electric fields affect tautomerization is through the modulation of electron density distributions within molecules. By applying an external field, the electronic structure of a molecule can be perturbed, leading to changes in bond strengths and relative energies of different tautomeric forms. This effect is particularly pronounced in molecules with polar functional groups or those exhibiting significant charge separation between tautomers.
Recent studies have demonstrated the potential of electric field-mediated tautomerization in various applications. For instance, researchers have explored the use of electric fields to control proton transfer reactions, which are closely related to tautomerization processes. This approach has shown promise in the development of molecular switches and sensors, where the reversible interconversion between tautomers can be harnessed for signal transduction or information storage.
The interaction between tautomerization and electric fields also has implications for understanding and manipulating chemical reactivity. By selectively stabilizing specific tautomeric forms, it may be possible to direct reaction pathways or enhance the selectivity of chemical transformations. This concept has potential applications in catalysis, where electric field effects could be used to optimize reaction conditions or access novel reaction mechanisms.
Furthermore, the study of tautomerization under electric fields contributes to our fundamental understanding of non-covalent interactions and their role in molecular recognition processes. The ability to fine-tune tautomeric equilibria through external stimuli provides valuable insights into the factors governing molecular assembly and supramolecular chemistry.
As research in this field progresses, new experimental techniques and theoretical models are being developed to probe and predict the behavior of tautomeric systems under electric fields. Advanced spectroscopic methods, coupled with high-level computational simulations, are enabling researchers to elucidate the intricate details of field-induced tautomerization at the molecular level.
Market Applications of Controlled Tautomerization
The controlled tautomerization mediated by external electric fields presents significant potential for various market applications across multiple industries. In the pharmaceutical sector, this technology could revolutionize drug design and development by enabling precise control over molecular structures. This capability could lead to the creation of more effective and targeted medications, potentially reducing side effects and improving patient outcomes. The ability to switch between tautomeric forms on demand could also enhance drug delivery systems, allowing for controlled release mechanisms that respond to specific physiological conditions.
In the field of materials science, controlled tautomerization offers exciting possibilities for developing smart materials with switchable properties. These materials could find applications in adaptive optics, where the refractive index can be dynamically altered in response to external stimuli. Such technology could lead to advancements in display technologies, optical computing, and adaptive camouflage systems for military applications. Additionally, the development of responsive coatings and surfaces that change their chemical and physical properties based on environmental conditions could revolutionize sectors such as construction and automotive industries.
The electronics industry stands to benefit significantly from this technology, particularly in the realm of molecular electronics and quantum computing. Controlled tautomerization could enable the creation of molecular switches and logic gates, paving the way for ultra-small and highly efficient computing devices. This could lead to breakthroughs in data storage density and processing speed, addressing the growing demands of big data and artificial intelligence applications.
In the energy sector, controlled tautomerization could contribute to the development of more efficient energy storage and conversion systems. For instance, it could be applied to improve the performance of photovoltaic cells by allowing for dynamic adjustment of light-absorbing properties. Similarly, in the field of catalysis, the ability to switch between different tautomeric forms could lead to the design of more efficient and selective catalysts for various industrial processes, potentially reducing energy consumption and waste production.
The environmental monitoring and remediation sector could also leverage this technology for developing advanced sensors and filtration systems. Tautomeric molecules that respond to specific pollutants or environmental conditions could be used to create highly sensitive and selective detection systems. Furthermore, materials with switchable properties could be employed in smart filtration systems that adapt to different contaminants, improving water and air purification processes.
In the field of materials science, controlled tautomerization offers exciting possibilities for developing smart materials with switchable properties. These materials could find applications in adaptive optics, where the refractive index can be dynamically altered in response to external stimuli. Such technology could lead to advancements in display technologies, optical computing, and adaptive camouflage systems for military applications. Additionally, the development of responsive coatings and surfaces that change their chemical and physical properties based on environmental conditions could revolutionize sectors such as construction and automotive industries.
The electronics industry stands to benefit significantly from this technology, particularly in the realm of molecular electronics and quantum computing. Controlled tautomerization could enable the creation of molecular switches and logic gates, paving the way for ultra-small and highly efficient computing devices. This could lead to breakthroughs in data storage density and processing speed, addressing the growing demands of big data and artificial intelligence applications.
In the energy sector, controlled tautomerization could contribute to the development of more efficient energy storage and conversion systems. For instance, it could be applied to improve the performance of photovoltaic cells by allowing for dynamic adjustment of light-absorbing properties. Similarly, in the field of catalysis, the ability to switch between different tautomeric forms could lead to the design of more efficient and selective catalysts for various industrial processes, potentially reducing energy consumption and waste production.
The environmental monitoring and remediation sector could also leverage this technology for developing advanced sensors and filtration systems. Tautomeric molecules that respond to specific pollutants or environmental conditions could be used to create highly sensitive and selective detection systems. Furthermore, materials with switchable properties could be employed in smart filtration systems that adapt to different contaminants, improving water and air purification processes.
Current Challenges in Electric Field-Induced Tautomerization
Despite significant advancements in the field of electric field-induced tautomerization, several challenges persist that hinder its widespread application and full understanding. One of the primary obstacles is the precise control and manipulation of electric fields at the molecular level. Achieving the required field strength and directionality to induce specific tautomeric transitions remains a formidable task, especially in complex chemical environments.
The sensitivity of tautomerization processes to external factors poses another significant challenge. Factors such as temperature, pressure, and solvent effects can greatly influence the outcome of electric field-induced tautomerization, making it difficult to isolate and study the direct impact of the electric field alone. This complexity necessitates the development of more sophisticated experimental setups and theoretical models to account for these variables.
Furthermore, the transient nature of tautomeric species presents difficulties in their detection and characterization. Many tautomeric transitions occur on ultrafast timescales, requiring advanced spectroscopic techniques with high temporal resolution to capture these fleeting intermediates. The development and refinement of such techniques remain an ongoing challenge in the field.
Another critical issue is the scalability of electric field-induced tautomerization. While promising results have been achieved at the molecular and nanoscale levels, translating these findings to macroscopic systems for practical applications presents significant engineering challenges. This includes developing methods for generating and maintaining uniform electric fields over larger volumes and ensuring the stability of the induced tautomeric states.
The theoretical understanding of the mechanisms underlying electric field-induced tautomerization is still evolving. Current computational models often struggle to accurately predict the behavior of complex molecular systems under the influence of external electric fields, particularly when considering quantum effects and non-linear responses. Bridging the gap between theoretical predictions and experimental observations remains a key challenge in advancing the field.
Lastly, the potential side effects and unintended consequences of applying strong electric fields to molecular systems are not fully understood. Concerns about unwanted chemical reactions, structural changes, or alterations in molecular properties beyond the desired tautomerization need to be thoroughly investigated to ensure the safety and reliability of this technique in various applications.
The sensitivity of tautomerization processes to external factors poses another significant challenge. Factors such as temperature, pressure, and solvent effects can greatly influence the outcome of electric field-induced tautomerization, making it difficult to isolate and study the direct impact of the electric field alone. This complexity necessitates the development of more sophisticated experimental setups and theoretical models to account for these variables.
Furthermore, the transient nature of tautomeric species presents difficulties in their detection and characterization. Many tautomeric transitions occur on ultrafast timescales, requiring advanced spectroscopic techniques with high temporal resolution to capture these fleeting intermediates. The development and refinement of such techniques remain an ongoing challenge in the field.
Another critical issue is the scalability of electric field-induced tautomerization. While promising results have been achieved at the molecular and nanoscale levels, translating these findings to macroscopic systems for practical applications presents significant engineering challenges. This includes developing methods for generating and maintaining uniform electric fields over larger volumes and ensuring the stability of the induced tautomeric states.
The theoretical understanding of the mechanisms underlying electric field-induced tautomerization is still evolving. Current computational models often struggle to accurately predict the behavior of complex molecular systems under the influence of external electric fields, particularly when considering quantum effects and non-linear responses. Bridging the gap between theoretical predictions and experimental observations remains a key challenge in advancing the field.
Lastly, the potential side effects and unintended consequences of applying strong electric fields to molecular systems are not fully understood. Concerns about unwanted chemical reactions, structural changes, or alterations in molecular properties beyond the desired tautomerization need to be thoroughly investigated to ensure the safety and reliability of this technique in various applications.
Existing Approaches to Electric Field-Mediated Tautomerization
01 Tautomerization in polymer synthesis
Tautomerization plays a role in polymer synthesis, affecting the properties and characteristics of the resulting materials. The rate of tautomerization can influence the polymerization process and the final polymer structure. Understanding and controlling tautomerization rates is crucial for developing polymers with desired properties.- Tautomerization in polymer synthesis: Tautomerization plays a role in polymer synthesis, affecting the properties and structure of the resulting polymers. The rate of tautomerization can influence the polymerization process and the final product characteristics. Understanding and controlling tautomerization rates is crucial for optimizing polymer production and achieving desired material properties.
- Tautomerization in pharmaceutical compounds: Tautomerization is significant in pharmaceutical compounds, affecting their bioavailability, stability, and efficacy. The rate of tautomerization can impact drug absorption, metabolism, and overall therapeutic performance. Studying tautomerization rates helps in drug design, formulation, and predicting drug behavior in biological systems.
- Tautomerization in chemical sensors and detectors: Tautomerization phenomena are utilized in the development of chemical sensors and detectors. The rate of tautomerization can be influenced by specific analytes, allowing for selective detection and measurement. Understanding tautomerization rates is crucial for designing sensitive and accurate sensing devices for various applications.
- Tautomerization in data processing and communication systems: Tautomerization concepts are applied in data processing and communication systems, particularly in encoding and decoding processes. The rate of tautomerization can be used as a parameter in algorithms for data compression, error correction, or secure communication. Optimizing tautomerization rates in these systems can improve efficiency and reliability.
- Tautomerization in optical and electronic devices: Tautomerization processes are relevant in the development of optical and electronic devices. The rate of tautomerization can affect the performance of materials used in displays, photovoltaic cells, and other optoelectronic applications. Controlling tautomerization rates is essential for optimizing device efficiency and longevity.
02 Tautomerization in pharmaceutical compounds
Tautomerization is significant in pharmaceutical compounds, affecting their bioavailability, stability, and efficacy. The rate of tautomerization can impact drug absorption, metabolism, and interaction with target molecules. Controlling tautomerization rates is essential for optimizing drug formulations and improving therapeutic outcomes.Expand Specific Solutions03 Measurement and analysis of tautomerization rates
Various techniques and methods are employed to measure and analyze tautomerization rates. These may include spectroscopic methods, computational modeling, and advanced analytical instruments. Accurate measurement of tautomerization rates is crucial for understanding reaction mechanisms and optimizing chemical processes.Expand Specific Solutions04 Tautomerization in electronic and optical devices
Tautomerization phenomena are relevant in the development of electronic and optical devices. The rate of tautomerization can affect the performance and efficiency of these devices. Understanding and controlling tautomerization rates is important for designing advanced materials for applications in electronics and optics.Expand Specific Solutions05 Environmental factors affecting tautomerization rates
Various environmental factors can influence tautomerization rates, including temperature, pH, solvent effects, and pressure. Understanding the impact of these factors on tautomerization rates is crucial for optimizing reaction conditions and controlling chemical processes in different applications.Expand Specific Solutions
Key Research Groups and Industry Players
The research on tautomerization mediated by external electric fields is in an early developmental stage, with the market still emerging. The technology's potential applications span various industries, including pharmaceuticals, materials science, and chemical engineering. Key players like Murata Manufacturing, Magnomatics, and NovoCure are exploring this field, leveraging their expertise in electronic devices and electromagnetic systems. Academic institutions such as Zhejiang University and Hefei University of Technology are contributing significant research efforts. The technology's maturity is still low, with most work focused on fundamental research and proof-of-concept studies. As the field progresses, collaborations between industry and academia are likely to accelerate development and commercialization of tautomerization-based applications.
The Regents of the University of California
Technical Solution: The University of California has been at the forefront of research on tautomerization mediated by external electric fields. Their approach involves using advanced computational methods to model the effects of electric fields on tautomeric equilibria. They have developed a novel quantum mechanical/molecular mechanical (QM/MM) method that allows for accurate simulation of electric field effects on molecular systems in solution[1]. This method has been applied to study various tautomeric systems, including those relevant to biological processes and drug design. The university's research also extends to experimental validation using spectroscopic techniques such as NMR and IR in the presence of controlled electric fields[2].
Strengths: Strong computational capabilities and interdisciplinary approach combining theory and experiment. Weaknesses: May face challenges in scaling up to industrial applications.
Penn State Research Foundation
Technical Solution: Penn State's research on tautomerization in electric fields focuses on the development of novel materials for energy applications. They have pioneered the use of in situ electric field-induced tautomerization to create switchable organic semiconductors[3]. Their approach involves designing molecules that can undergo reversible tautomerization when subjected to an external electric field, leading to significant changes in electronic properties. This research has potential applications in organic electronics, including field-effect transistors and photovoltaic devices. Penn State researchers have also explored the use of electric field-mediated tautomerization for molecular switches and memory devices[4].
Strengths: Innovative approach to materials design with practical applications. Weaknesses: May be limited to specific classes of organic molecules.
Breakthrough Studies in External Electric Field Effects
UV and high energy visible absorbing ophthalmic lenses
PatentPendingEP4365644A2
Innovation
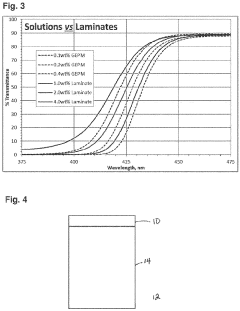
- Incorporating a light absorbing layer with a specific weight percent of light absorbing compounds in ophthalmic articles, such as lenses, that achieves a transmittance of no more than 50% for wavelengths up to 443 nm, utilizing compounds like hydroxyphenyl benzotriazoles and diaryl cyanoacrylates, which absorb and dissipate energy through tautomerization or radical formation, integrated into various lens structures including monolithic films, laminates, and thermoplastic resins.
Computational Modeling of Electric Field-Tautomer Interactions
Computational modeling plays a crucial role in understanding the interactions between electric fields and tautomers. These models provide valuable insights into the mechanisms of tautomerization and the effects of external electric fields on molecular structures and properties.
One of the primary approaches in computational modeling of electric field-tautomer interactions is the use of density functional theory (DFT). DFT calculations allow researchers to investigate the electronic structure of tautomers and predict their relative stabilities under various electric field strengths and orientations. These simulations can reveal how external electric fields influence the energy barriers between different tautomeric forms and potentially catalyze tautomerization reactions.
Molecular dynamics (MD) simulations are another powerful tool in this field. By incorporating electric field effects into MD simulations, researchers can study the dynamic behavior of tautomers in response to external fields. This approach enables the exploration of conformational changes, transition states, and reaction pathways that may be induced or influenced by electric fields.
Ab initio molecular dynamics (AIMD) simulations combine the accuracy of quantum mechanical calculations with the dynamic nature of MD simulations. AIMD can provide detailed insights into the electronic rearrangements and bond-breaking/forming processes that occur during electric field-mediated tautomerization.
Time-dependent density functional theory (TD-DFT) is particularly useful for modeling the excited-state properties of tautomers in electric fields. This method allows researchers to investigate how electric fields affect the electronic transitions and spectroscopic properties of tautomeric systems, which is crucial for understanding their potential applications in optoelectronic devices.
Continuum solvation models, such as the polarizable continuum model (PCM), can be integrated into these computational approaches to account for solvent effects on tautomerization in the presence of electric fields. This is especially important for modeling reactions in solution or at interfaces where local electric fields may play a significant role.
Machine learning techniques are increasingly being applied to complement traditional computational methods. These approaches can help in predicting tautomerization tendencies, identifying key structural features that influence electric field responses, and accelerating the screening of potential tautomeric systems for specific applications.
The integration of these computational modeling techniques provides a comprehensive toolkit for investigating the complex interplay between electric fields and tautomers. By combining different methods and leveraging high-performance computing resources, researchers can gain deep insights into the fundamental principles governing electric field-mediated tautomerization and guide the development of novel applications in fields such as molecular electronics, catalysis, and drug design.
One of the primary approaches in computational modeling of electric field-tautomer interactions is the use of density functional theory (DFT). DFT calculations allow researchers to investigate the electronic structure of tautomers and predict their relative stabilities under various electric field strengths and orientations. These simulations can reveal how external electric fields influence the energy barriers between different tautomeric forms and potentially catalyze tautomerization reactions.
Molecular dynamics (MD) simulations are another powerful tool in this field. By incorporating electric field effects into MD simulations, researchers can study the dynamic behavior of tautomers in response to external fields. This approach enables the exploration of conformational changes, transition states, and reaction pathways that may be induced or influenced by electric fields.
Ab initio molecular dynamics (AIMD) simulations combine the accuracy of quantum mechanical calculations with the dynamic nature of MD simulations. AIMD can provide detailed insights into the electronic rearrangements and bond-breaking/forming processes that occur during electric field-mediated tautomerization.
Time-dependent density functional theory (TD-DFT) is particularly useful for modeling the excited-state properties of tautomers in electric fields. This method allows researchers to investigate how electric fields affect the electronic transitions and spectroscopic properties of tautomeric systems, which is crucial for understanding their potential applications in optoelectronic devices.
Continuum solvation models, such as the polarizable continuum model (PCM), can be integrated into these computational approaches to account for solvent effects on tautomerization in the presence of electric fields. This is especially important for modeling reactions in solution or at interfaces where local electric fields may play a significant role.
Machine learning techniques are increasingly being applied to complement traditional computational methods. These approaches can help in predicting tautomerization tendencies, identifying key structural features that influence electric field responses, and accelerating the screening of potential tautomeric systems for specific applications.
The integration of these computational modeling techniques provides a comprehensive toolkit for investigating the complex interplay between electric fields and tautomers. By combining different methods and leveraging high-performance computing resources, researchers can gain deep insights into the fundamental principles governing electric field-mediated tautomerization and guide the development of novel applications in fields such as molecular electronics, catalysis, and drug design.
Environmental Impact of Electric Field-Based Chemical Processes
The environmental impact of electric field-based chemical processes, particularly in the context of tautomerization research, is a crucial aspect to consider as these technologies advance. Electric field-mediated tautomerization offers potential benefits in terms of energy efficiency and selectivity compared to traditional chemical processes. However, it also presents unique environmental challenges that must be carefully evaluated.
One of the primary environmental advantages of electric field-based tautomerization is the potential reduction in energy consumption. Traditional chemical processes often require high temperatures or pressures, leading to significant energy expenditure and associated greenhouse gas emissions. In contrast, electric field-mediated reactions can potentially operate under milder conditions, reducing the overall energy footprint of chemical production.
The use of electric fields may also lead to improved selectivity in chemical reactions, potentially reducing the formation of unwanted by-products. This increased selectivity could result in less waste generation and a decrease in the environmental burden associated with chemical manufacturing. Additionally, the ability to control reaction pathways more precisely may lead to the development of cleaner, more sustainable chemical processes.
However, the implementation of electric field-based chemical processes also raises environmental concerns. The production and disposal of specialized equipment required for generating and controlling electric fields may have environmental implications. The materials used in these devices, such as rare earth elements or specialized polymers, could pose challenges in terms of resource depletion and end-of-life management.
Another consideration is the potential for electromagnetic pollution. While the electric fields used in tautomerization research are typically localized, the widespread adoption of such technologies could contribute to the overall electromagnetic environment. The long-term effects of increased electromagnetic exposure on ecosystems and biodiversity require further study and monitoring.
The scalability of electric field-based processes also has environmental implications. As these technologies move from laboratory scale to industrial applications, the environmental impact of large-scale electric field generation and associated infrastructure must be carefully assessed. This includes considerations of power consumption, heat generation, and potential electromagnetic interference with surrounding ecosystems.
Water usage and contamination are additional factors to evaluate. While electric field-mediated processes may potentially reduce water consumption in some chemical reactions, the treatment and disposal of any water used in these processes must be carefully managed to prevent the release of potentially harmful chemicals or altered compounds into aquatic environments.
In conclusion, while electric field-based chemical processes, including those used in tautomerization research, offer promising environmental benefits, a comprehensive life cycle assessment is necessary to fully understand their environmental impact. As this technology evolves, ongoing research and monitoring will be crucial to ensure that the potential environmental advantages are realized while mitigating any unforeseen negative consequences.
One of the primary environmental advantages of electric field-based tautomerization is the potential reduction in energy consumption. Traditional chemical processes often require high temperatures or pressures, leading to significant energy expenditure and associated greenhouse gas emissions. In contrast, electric field-mediated reactions can potentially operate under milder conditions, reducing the overall energy footprint of chemical production.
The use of electric fields may also lead to improved selectivity in chemical reactions, potentially reducing the formation of unwanted by-products. This increased selectivity could result in less waste generation and a decrease in the environmental burden associated with chemical manufacturing. Additionally, the ability to control reaction pathways more precisely may lead to the development of cleaner, more sustainable chemical processes.
However, the implementation of electric field-based chemical processes also raises environmental concerns. The production and disposal of specialized equipment required for generating and controlling electric fields may have environmental implications. The materials used in these devices, such as rare earth elements or specialized polymers, could pose challenges in terms of resource depletion and end-of-life management.
Another consideration is the potential for electromagnetic pollution. While the electric fields used in tautomerization research are typically localized, the widespread adoption of such technologies could contribute to the overall electromagnetic environment. The long-term effects of increased electromagnetic exposure on ecosystems and biodiversity require further study and monitoring.
The scalability of electric field-based processes also has environmental implications. As these technologies move from laboratory scale to industrial applications, the environmental impact of large-scale electric field generation and associated infrastructure must be carefully assessed. This includes considerations of power consumption, heat generation, and potential electromagnetic interference with surrounding ecosystems.
Water usage and contamination are additional factors to evaluate. While electric field-mediated processes may potentially reduce water consumption in some chemical reactions, the treatment and disposal of any water used in these processes must be carefully managed to prevent the release of potentially harmful chemicals or altered compounds into aquatic environments.
In conclusion, while electric field-based chemical processes, including those used in tautomerization research, offer promising environmental benefits, a comprehensive life cycle assessment is necessary to fully understand their environmental impact. As this technology evolves, ongoing research and monitoring will be crucial to ensure that the potential environmental advantages are realized while mitigating any unforeseen negative consequences.
Unlock deeper insights with Patsnap Eureka Quick Research — get a full tech report to explore trends and direct your research. Try now!
Generate Your Research Report Instantly with AI Agent
Supercharge your innovation with Patsnap Eureka AI Agent Platform!




