Setting Standards for Heat Exchanger Lifespan Forecasting
SEP 16, 20259 MIN READ
Generate Your Research Report Instantly with AI Agent
Patsnap Eureka helps you evaluate technical feasibility & market potential.
Heat Exchanger Lifespan Forecasting Background and Objectives
Heat exchangers have been integral components in industrial systems for over a century, with their evolution closely tied to advancements in materials science, thermodynamics, and manufacturing processes. The technology has progressed from simple shell-and-tube designs to complex plate, spiral, and regenerative configurations that serve diverse applications across energy production, chemical processing, HVAC systems, and refrigeration industries. Recent technological trends indicate a shift toward more efficient, compact, and environmentally sustainable heat exchanger designs, driven by increasing energy costs and stricter environmental regulations.
The lifespan forecasting of heat exchangers has emerged as a critical area of focus due to its direct impact on operational reliability, maintenance planning, and capital expenditure optimization. Historically, lifespan estimation relied heavily on manufacturer specifications and reactive maintenance approaches, leading to either premature replacements or unexpected failures that resulted in costly downtime.
Current industry practices for heat exchanger lifespan prediction vary significantly across sectors, with inconsistent methodologies and standards creating challenges for operators and maintenance teams. The absence of standardized forecasting protocols has hindered the development of reliable predictive maintenance strategies and complicated asset management decision-making processes.
The primary objective of establishing standards for heat exchanger lifespan forecasting is to develop a comprehensive, universally applicable framework that integrates multiple predictive methodologies. This framework aims to enhance prediction accuracy by considering various degradation mechanisms including fouling, corrosion, erosion, and thermal fatigue under diverse operational conditions.
Additionally, the standardization effort seeks to incorporate advanced monitoring technologies such as IoT sensors, machine learning algorithms, and digital twin simulations to transition from traditional time-based maintenance to condition-based and predictive maintenance paradigms. This technological integration represents a significant evolution in heat exchanger management practices.
The development of these standards is expected to yield substantial benefits, including extended equipment service life, reduced maintenance costs, minimized unplanned downtime, and optimized energy efficiency. Furthermore, standardized forecasting methodologies will facilitate more accurate lifecycle cost analyses and support sustainable operational practices across industries.
As global industrial systems continue to demand higher efficiency and reliability, establishing robust standards for heat exchanger lifespan forecasting becomes increasingly crucial for maintaining competitive advantages and meeting stringent regulatory requirements in modern industrial operations.
The lifespan forecasting of heat exchangers has emerged as a critical area of focus due to its direct impact on operational reliability, maintenance planning, and capital expenditure optimization. Historically, lifespan estimation relied heavily on manufacturer specifications and reactive maintenance approaches, leading to either premature replacements or unexpected failures that resulted in costly downtime.
Current industry practices for heat exchanger lifespan prediction vary significantly across sectors, with inconsistent methodologies and standards creating challenges for operators and maintenance teams. The absence of standardized forecasting protocols has hindered the development of reliable predictive maintenance strategies and complicated asset management decision-making processes.
The primary objective of establishing standards for heat exchanger lifespan forecasting is to develop a comprehensive, universally applicable framework that integrates multiple predictive methodologies. This framework aims to enhance prediction accuracy by considering various degradation mechanisms including fouling, corrosion, erosion, and thermal fatigue under diverse operational conditions.
Additionally, the standardization effort seeks to incorporate advanced monitoring technologies such as IoT sensors, machine learning algorithms, and digital twin simulations to transition from traditional time-based maintenance to condition-based and predictive maintenance paradigms. This technological integration represents a significant evolution in heat exchanger management practices.
The development of these standards is expected to yield substantial benefits, including extended equipment service life, reduced maintenance costs, minimized unplanned downtime, and optimized energy efficiency. Furthermore, standardized forecasting methodologies will facilitate more accurate lifecycle cost analyses and support sustainable operational practices across industries.
As global industrial systems continue to demand higher efficiency and reliability, establishing robust standards for heat exchanger lifespan forecasting becomes increasingly crucial for maintaining competitive advantages and meeting stringent regulatory requirements in modern industrial operations.
Market Demand Analysis for Predictive Maintenance Solutions
The predictive maintenance market for heat exchangers is experiencing significant growth, driven by increasing industrial automation and the critical need to prevent costly equipment failures. Current market analysis indicates that the global predictive maintenance market is valued at approximately 4.0 billion USD, with projections showing growth to reach 12.3 billion USD by 2025, representing a compound annual growth rate of 25.2%. Within this broader market, heat exchanger maintenance solutions constitute a rapidly expanding segment due to their widespread use across multiple industries.
Industries such as oil and gas, chemical processing, power generation, and HVAC systems are demonstrating particularly strong demand for heat exchanger lifespan forecasting solutions. These sectors rely heavily on heat exchangers as critical equipment, where unexpected failures can result in production losses ranging from 20,000 to 100,000 USD per hour depending on the facility size and application. Market research indicates that companies implementing predictive maintenance solutions for heat exchangers typically achieve a 30-45% reduction in unplanned downtime and a 20-25% decrease in maintenance costs.
Customer demand patterns reveal a growing preference for integrated solutions that combine sensor technologies, data analytics, and machine learning algorithms specifically calibrated for heat exchanger performance monitoring. End-users are increasingly seeking standardized approaches to lifespan forecasting that can provide actionable insights rather than just raw data. A recent industry survey showed that 78% of maintenance professionals consider standardized prediction methodologies essential for effective decision-making.
The market is also witnessing a shift from reactive to proactive maintenance strategies, with 67% of industrial facilities planning to increase their investments in predictive maintenance technologies over the next three years. This transition is creating substantial opportunities for solution providers who can deliver reliable standards for heat exchanger lifespan forecasting.
Regional analysis shows that North America currently leads the market with a 35% share, followed by Europe at 28% and Asia-Pacific at 25%. However, the Asia-Pacific region is expected to demonstrate the highest growth rate at 29% annually, driven by rapid industrialization in countries like China and India, and increasing adoption of Industry 4.0 technologies.
Customer pain points identified through market research include difficulties in establishing reliable baseline performance metrics, challenges in interpreting complex data patterns, and the need for industry-specific calibration of predictive models. These challenges highlight the market opportunity for standardized approaches to heat exchanger lifespan forecasting that can address these specific needs while providing measurable return on investment.
Industries such as oil and gas, chemical processing, power generation, and HVAC systems are demonstrating particularly strong demand for heat exchanger lifespan forecasting solutions. These sectors rely heavily on heat exchangers as critical equipment, where unexpected failures can result in production losses ranging from 20,000 to 100,000 USD per hour depending on the facility size and application. Market research indicates that companies implementing predictive maintenance solutions for heat exchangers typically achieve a 30-45% reduction in unplanned downtime and a 20-25% decrease in maintenance costs.
Customer demand patterns reveal a growing preference for integrated solutions that combine sensor technologies, data analytics, and machine learning algorithms specifically calibrated for heat exchanger performance monitoring. End-users are increasingly seeking standardized approaches to lifespan forecasting that can provide actionable insights rather than just raw data. A recent industry survey showed that 78% of maintenance professionals consider standardized prediction methodologies essential for effective decision-making.
The market is also witnessing a shift from reactive to proactive maintenance strategies, with 67% of industrial facilities planning to increase their investments in predictive maintenance technologies over the next three years. This transition is creating substantial opportunities for solution providers who can deliver reliable standards for heat exchanger lifespan forecasting.
Regional analysis shows that North America currently leads the market with a 35% share, followed by Europe at 28% and Asia-Pacific at 25%. However, the Asia-Pacific region is expected to demonstrate the highest growth rate at 29% annually, driven by rapid industrialization in countries like China and India, and increasing adoption of Industry 4.0 technologies.
Customer pain points identified through market research include difficulties in establishing reliable baseline performance metrics, challenges in interpreting complex data patterns, and the need for industry-specific calibration of predictive models. These challenges highlight the market opportunity for standardized approaches to heat exchanger lifespan forecasting that can address these specific needs while providing measurable return on investment.
Current Challenges in Heat Exchanger Degradation Assessment
Heat exchanger degradation assessment currently faces significant challenges that impede accurate lifespan forecasting. The primary obstacle lies in the complexity of degradation mechanisms, which often occur simultaneously and interact with each other. Fouling, corrosion, erosion, and thermal fatigue all progress at different rates depending on operating conditions, making unified assessment methodologies difficult to establish.
Traditional inspection methods remain largely qualitative and subjective, relying heavily on visual examinations during scheduled maintenance periods. This approach fails to capture the progressive nature of degradation between inspections and cannot accurately quantify the remaining useful life of equipment. Furthermore, the industry lacks standardized metrics for quantifying degradation across different heat exchanger types and applications.
Data collection presents another substantial challenge. Many facilities operate with insufficient monitoring systems that capture only basic parameters like inlet/outlet temperatures and pressure drops. These limited datasets prove inadequate for sophisticated degradation modeling. Historical failure data is often poorly documented or inaccessible, creating significant gaps in the information needed to develop robust predictive models.
Environmental and operational variability further complicates assessment efforts. Heat exchangers operating in fluctuating conditions experience accelerated and unpredictable degradation patterns that current models struggle to account for. Cyclic operations, temperature excursions, and varying fluid compositions create complex stress patterns that are difficult to incorporate into standardized assessment frameworks.
The integration of theoretical models with practical field observations remains problematic. Academic research has produced sophisticated degradation models, but these often rely on idealized conditions and assumptions that don't translate well to industrial settings. Conversely, empirical approaches based solely on field observations lack theoretical foundations necessary for extrapolation to different operating scenarios.
Economic constraints also impact degradation assessment practices. Implementing comprehensive monitoring systems and advanced inspection technologies requires significant investment that many operators are reluctant to make without clear demonstration of return on investment. This creates a cycle where insufficient data leads to poor forecasting, which in turn fails to justify further investment in monitoring capabilities.
Regulatory frameworks add another layer of complexity, with different industries and regions operating under varying standards for equipment integrity management. This fragmentation hampers the development of universally applicable assessment methodologies and makes cross-industry knowledge sharing difficult.
Traditional inspection methods remain largely qualitative and subjective, relying heavily on visual examinations during scheduled maintenance periods. This approach fails to capture the progressive nature of degradation between inspections and cannot accurately quantify the remaining useful life of equipment. Furthermore, the industry lacks standardized metrics for quantifying degradation across different heat exchanger types and applications.
Data collection presents another substantial challenge. Many facilities operate with insufficient monitoring systems that capture only basic parameters like inlet/outlet temperatures and pressure drops. These limited datasets prove inadequate for sophisticated degradation modeling. Historical failure data is often poorly documented or inaccessible, creating significant gaps in the information needed to develop robust predictive models.
Environmental and operational variability further complicates assessment efforts. Heat exchangers operating in fluctuating conditions experience accelerated and unpredictable degradation patterns that current models struggle to account for. Cyclic operations, temperature excursions, and varying fluid compositions create complex stress patterns that are difficult to incorporate into standardized assessment frameworks.
The integration of theoretical models with practical field observations remains problematic. Academic research has produced sophisticated degradation models, but these often rely on idealized conditions and assumptions that don't translate well to industrial settings. Conversely, empirical approaches based solely on field observations lack theoretical foundations necessary for extrapolation to different operating scenarios.
Economic constraints also impact degradation assessment practices. Implementing comprehensive monitoring systems and advanced inspection technologies requires significant investment that many operators are reluctant to make without clear demonstration of return on investment. This creates a cycle where insufficient data leads to poor forecasting, which in turn fails to justify further investment in monitoring capabilities.
Regulatory frameworks add another layer of complexity, with different industries and regions operating under varying standards for equipment integrity management. This fragmentation hampers the development of universally applicable assessment methodologies and makes cross-industry knowledge sharing difficult.
Existing Forecasting Models and Standards
01 Materials and coatings for extending heat exchanger lifespan
Advanced materials and specialized coatings can significantly extend the operational life of heat exchangers by improving corrosion resistance and reducing fouling. These innovations include anti-corrosion treatments, specialized alloys, and surface modifications that protect against harsh operating environments. Such materials help maintain thermal efficiency over time and reduce the frequency of maintenance or replacement.- Material selection for extended heat exchanger lifespan: The choice of materials significantly impacts the longevity of heat exchangers. Corrosion-resistant alloys, specialized coatings, and composite materials can substantially extend operational life in harsh environments. These materials are engineered to withstand thermal cycling, chemical exposure, and mechanical stress while maintaining thermal efficiency. Advanced material science has enabled the development of heat exchangers that can operate reliably for extended periods even under extreme conditions.
- Design optimization for durability: Innovative design approaches can significantly enhance heat exchanger lifespan. Features such as stress-relieving geometries, optimized flow patterns, and reinforced connection points reduce wear and fatigue. Computational fluid dynamics and structural analysis tools enable engineers to identify potential failure points and implement preventive design modifications. These optimizations distribute thermal and mechanical stresses more evenly throughout the exchanger structure, minimizing localized damage and extending operational life.
- Maintenance and cleaning technologies: Regular maintenance and effective cleaning protocols significantly extend heat exchanger lifespan. Advanced cleaning technologies include automated systems that remove fouling without disassembly, chemical treatments that dissolve deposits without damaging surfaces, and monitoring systems that indicate when cleaning is necessary. Preventive maintenance schedules based on operational data rather than fixed intervals optimize the balance between maintenance costs and equipment longevity, ensuring maximum service life while minimizing downtime.
- Monitoring and predictive maintenance systems: Sophisticated monitoring systems can predict potential failures before they occur, allowing for timely interventions that extend heat exchanger lifespan. These systems utilize sensors to track parameters such as temperature differentials, pressure drops, and vibration patterns. Machine learning algorithms analyze this data to identify deterioration trends and predict remaining useful life. Early detection of issues such as fouling, corrosion, or mechanical wear enables targeted maintenance that prevents catastrophic failures and extends overall equipment life.
- Environmental and operational condition management: Controlling the operating environment significantly impacts heat exchanger longevity. This includes managing fluid quality, controlling temperature fluctuations, and regulating flow rates to minimize stress. Protective measures such as water treatment systems, anti-freeze additives, and pH regulators prevent corrosion and scaling. Operating heat exchangers within their designed parameters rather than at maximum capacity reduces thermal and mechanical stress, substantially extending service life while maintaining efficiency and performance over time.
02 Design optimizations for durability
Specific design features can be incorporated into heat exchangers to enhance their longevity. These include optimized flow patterns to reduce erosion, reinforced structural components to withstand thermal cycling, and modular designs that allow for easier maintenance and component replacement. Such design innovations distribute thermal stresses more evenly and minimize wear at critical points, extending the overall lifespan of the equipment.Expand Specific Solutions03 Maintenance techniques and monitoring systems
Regular maintenance procedures and advanced monitoring systems play a crucial role in extending heat exchanger lifespan. These include automated cleaning systems, predictive maintenance protocols based on performance data, and real-time condition monitoring. Early detection of potential issues allows for timely interventions before significant damage occurs, thereby extending the operational life of the equipment.Expand Specific Solutions04 Fouling prevention and cleaning methods
Fouling is a major factor affecting heat exchanger lifespan. Various methods have been developed to prevent or mitigate fouling, including chemical treatments, mechanical cleaning systems, and self-cleaning designs. These approaches maintain thermal efficiency by preventing the buildup of deposits that can accelerate corrosion and reduce heat transfer effectiveness, thereby extending the useful life of the equipment.Expand Specific Solutions05 Environmental adaptation and specialized applications
Heat exchangers designed for specific environmental conditions or specialized applications often incorporate features that extend their lifespan under challenging conditions. These include designs optimized for extreme temperatures, high-pressure operations, or exposure to corrosive media. Adaptations such as specialized sealing systems, reinforced tube sheets, and custom material selections help maintain performance and structural integrity in demanding environments.Expand Specific Solutions
Key Industry Players in Heat Exchanger Technology
The heat exchanger lifespan forecasting standards market is in a growth phase, driven by increasing demand for predictive maintenance solutions across energy, manufacturing, and HVAC sectors. The global market is expanding as industries seek to optimize equipment performance and reduce downtime. Technologically, the field is advancing from basic statistical models to sophisticated AI-driven approaches. Leading players include Siemens Gamesa Renewable Energy, which integrates lifespan forecasting into renewable energy systems; ABB Group, offering advanced monitoring solutions; State Grid Corp. of China, implementing large-scale predictive maintenance; and RTX Corp., developing aerospace-grade forecasting technologies. Research institutions like Xi'an Jiaotong University and Tsinghua University are contributing fundamental research to advance algorithmic approaches for more accurate lifespan predictions.
State Grid Corp. of China
Technical Solution: State Grid Corporation of China has established the Comprehensive Heat Exchanger Assessment and Lifespan Prediction (CHALP) framework, specifically designed for power generation and transmission applications. Their approach integrates continuous monitoring systems with advanced analytics to track critical parameters including thermal efficiency, pressure differentials, and material integrity across their extensive network of heat exchangers. State Grid's methodology incorporates environmental factors unique to different geographical regions, accounting for variations in water quality, ambient conditions, and operational demands. Their standards include a hierarchical assessment protocol that categorizes heat exchangers based on criticality to grid stability, with corresponding monitoring intensity and maintenance protocols. The system employs machine learning algorithms trained on their vast operational dataset to identify subtle degradation patterns before they manifest as performance issues. State Grid has developed standardized remaining useful life (RUL) calculation methods that incorporate both deterministic physics-based models and probabilistic failure distribution analysis.
Strengths: Unparalleled scale of implementation provides extensive data for pattern recognition and statistical validation. Their integration with broader power grid management systems enables holistic operational optimization. Weaknesses: Standards are primarily optimized for power sector applications and may require adaptation for other industries. Implementation requires significant infrastructure investment.
ABB Group
Technical Solution: ABB Group has developed an advanced Heat Exchanger Lifecycle Management (HELM) system that integrates real-time monitoring with predictive analytics for accurate lifespan forecasting. Their approach combines IoT sensors with machine learning algorithms to continuously monitor key parameters including temperature differentials, pressure drops, and flow rates. The system employs a dual-modeling approach: physics-based models capture fundamental thermodynamic principles while data-driven models identify subtle degradation patterns. ABB's solution incorporates digital twin technology that simulates heat exchanger performance under various operating conditions, allowing for virtual testing of different scenarios without risking actual equipment. Their standards include automated anomaly detection that triggers maintenance alerts before critical failures occur, and comprehensive historical performance tracking that establishes equipment-specific baseline metrics for more accurate forecasting.
Strengths: Extensive industrial automation expertise allows for seamless integration with existing control systems. Their global presence enables standardization across multinational operations. Weaknesses: Higher implementation costs compared to simpler monitoring solutions, and requires significant historical data for optimal predictive accuracy.
Critical Technologies for Accurate Lifespan Prediction
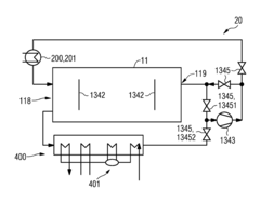
Instrumented heat exchanger and method for estimating a lifespan of said heat exchanger
PatentPendingUS20240027148A1
Innovation
- A heat exchanger equipped with temperature, pressure, and strain gauges, along with a communication device, continuously measures and processes data to recalculate the maintenance and replacement schedule in real-time, allowing for adaptive management of the heat exchanger's service life based on actual usage.
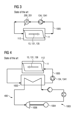
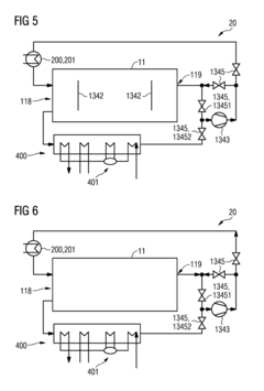
Heat exchange system with a joint active fluid motion device for the charging mode and for the discharging mode and method for exchanging heat by using the heat exchange system
PatentActiveUS20180230859A1
Innovation
- A heat exchange system with a single active fluid motion device for both charging and discharging modes, combined with passive fluid control devices like flaps and valves, reduces the need for separate systems and enhances thermal insulation to optimize heat transfer.
Regulatory Framework for Industrial Equipment Standards
The regulatory landscape governing heat exchanger lifespan forecasting is complex and multifaceted, spanning international, national, and industry-specific frameworks. Organizations such as the American Society of Mechanical Engineers (ASME) and the International Organization for Standardization (ISO) have established foundational standards that address pressure vessel design, inspection protocols, and maintenance requirements. ASME's Boiler and Pressure Vessel Code (BPVC) Section VIII specifically addresses the design and operational parameters for heat exchangers, while ISO 16812 provides international guidelines for shell-and-tube heat exchangers in petroleum and natural gas industries.
Regulatory compliance for heat exchanger lifespan prediction is further shaped by regional frameworks. The European Union's Pressure Equipment Directive (PED 2014/68/EU) mandates comprehensive risk assessment and establishes essential safety requirements for pressure equipment operating above 0.5 bar. In North America, both the U.S. and Canada enforce regulations through agencies like OSHA and Technical Standards and Safety Authority (TSSA), respectively, which incorporate industry standards into their compliance frameworks.
Industry-specific regulations add another layer of complexity, particularly in high-risk sectors. Nuclear power generation facilities must adhere to stringent requirements set by the Nuclear Regulatory Commission (NRC) in the U.S. or equivalent bodies internationally. Similarly, chemical processing facilities follow guidelines established by entities like the American Petroleum Institute (API), which provides detailed standards for inspection intervals and condition monitoring through documents such as API 510 and API 571.
Recent regulatory trends indicate a shift toward performance-based standards rather than prescriptive requirements. This evolution allows for greater flexibility in implementing lifespan forecasting methodologies while maintaining safety margins. Regulatory bodies increasingly recognize risk-based inspection (RBI) approaches, which optimize inspection frequencies based on equipment criticality and failure consequences, as codified in API RP 580 and API RP 581.
The integration of digital technologies into regulatory frameworks represents an emerging frontier. Standards organizations are beginning to address how data analytics, machine learning algorithms, and digital twin technologies can be incorporated into compliance protocols for equipment lifespan prediction. ISO/TC 108 committees are developing guidelines for condition monitoring that incorporate these advanced analytical methods.
Compliance challenges persist in the regulatory landscape, particularly regarding the validation of predictive models for heat exchanger lifespan. Current standards often lack specific protocols for verifying the accuracy of forecasting methodologies, creating uncertainty for manufacturers and operators. This gap presents an opportunity for standards development organizations to establish validation frameworks that ensure reliability while fostering innovation in predictive maintenance technologies.
Regulatory compliance for heat exchanger lifespan prediction is further shaped by regional frameworks. The European Union's Pressure Equipment Directive (PED 2014/68/EU) mandates comprehensive risk assessment and establishes essential safety requirements for pressure equipment operating above 0.5 bar. In North America, both the U.S. and Canada enforce regulations through agencies like OSHA and Technical Standards and Safety Authority (TSSA), respectively, which incorporate industry standards into their compliance frameworks.
Industry-specific regulations add another layer of complexity, particularly in high-risk sectors. Nuclear power generation facilities must adhere to stringent requirements set by the Nuclear Regulatory Commission (NRC) in the U.S. or equivalent bodies internationally. Similarly, chemical processing facilities follow guidelines established by entities like the American Petroleum Institute (API), which provides detailed standards for inspection intervals and condition monitoring through documents such as API 510 and API 571.
Recent regulatory trends indicate a shift toward performance-based standards rather than prescriptive requirements. This evolution allows for greater flexibility in implementing lifespan forecasting methodologies while maintaining safety margins. Regulatory bodies increasingly recognize risk-based inspection (RBI) approaches, which optimize inspection frequencies based on equipment criticality and failure consequences, as codified in API RP 580 and API RP 581.
The integration of digital technologies into regulatory frameworks represents an emerging frontier. Standards organizations are beginning to address how data analytics, machine learning algorithms, and digital twin technologies can be incorporated into compliance protocols for equipment lifespan prediction. ISO/TC 108 committees are developing guidelines for condition monitoring that incorporate these advanced analytical methods.
Compliance challenges persist in the regulatory landscape, particularly regarding the validation of predictive models for heat exchanger lifespan. Current standards often lack specific protocols for verifying the accuracy of forecasting methodologies, creating uncertainty for manufacturers and operators. This gap presents an opportunity for standards development organizations to establish validation frameworks that ensure reliability while fostering innovation in predictive maintenance technologies.
Economic Impact of Standardized Lifespan Forecasting
The standardization of heat exchanger lifespan forecasting methodologies presents significant economic implications across multiple industrial sectors. Industries heavily reliant on heat exchange technologies—including power generation, oil and gas, chemical processing, and HVAC systems—stand to realize substantial cost savings through improved asset management strategies enabled by reliable lifespan predictions.
Financial analyses indicate that unexpected heat exchanger failures typically result in production downtime costs ranging from $5,000 to $100,000 per hour, depending on industry and application scale. When factoring in emergency replacement costs, which often command 150-200% premium over planned maintenance, the economic burden becomes even more pronounced. Standardized forecasting methods could potentially reduce these unplanned failures by 30-45%, representing billions in annual savings across global industries.
From a capital expenditure perspective, accurate lifespan forecasting enables optimized replacement scheduling, allowing organizations to defer capital investments while maintaining operational reliability. Studies from the energy sector demonstrate that extending equipment life by just 10-15% through better predictive capabilities can yield 7-12% improvements in return on assets (ROA) metrics.
Insurance and risk management economics also benefit substantially from standardization. Currently, the variability in heat exchanger performance prediction creates significant uncertainty in risk models, resulting in higher premiums for operational coverage. Industry data suggests premium reductions of 8-15% could be achieved through adoption of standardized forecasting methodologies that provide actuarially sound performance data.
Supply chain economics show further benefits, as manufacturers and service providers can optimize inventory management based on more reliable demand forecasting. This optimization potentially reduces working capital requirements by 15-20% while improving service levels through better parts availability.
For regulatory compliance, standardized lifespan forecasting provides economic advantages by reducing the risk of non-compliance penalties and creating more predictable maintenance budgeting. In jurisdictions with strict environmental and safety regulations, these standards could reduce compliance-related expenditures by 10-25%.
The aggregate economic impact extends beyond direct cost savings to include competitive advantages for early adopters, who can leverage improved operational efficiency to enhance market positioning. As standardization matures, these economic benefits will likely accelerate industry-wide adoption, creating a virtuous cycle of continuous improvement in forecasting methodologies and economic returns.
Financial analyses indicate that unexpected heat exchanger failures typically result in production downtime costs ranging from $5,000 to $100,000 per hour, depending on industry and application scale. When factoring in emergency replacement costs, which often command 150-200% premium over planned maintenance, the economic burden becomes even more pronounced. Standardized forecasting methods could potentially reduce these unplanned failures by 30-45%, representing billions in annual savings across global industries.
From a capital expenditure perspective, accurate lifespan forecasting enables optimized replacement scheduling, allowing organizations to defer capital investments while maintaining operational reliability. Studies from the energy sector demonstrate that extending equipment life by just 10-15% through better predictive capabilities can yield 7-12% improvements in return on assets (ROA) metrics.
Insurance and risk management economics also benefit substantially from standardization. Currently, the variability in heat exchanger performance prediction creates significant uncertainty in risk models, resulting in higher premiums for operational coverage. Industry data suggests premium reductions of 8-15% could be achieved through adoption of standardized forecasting methodologies that provide actuarially sound performance data.
Supply chain economics show further benefits, as manufacturers and service providers can optimize inventory management based on more reliable demand forecasting. This optimization potentially reduces working capital requirements by 15-20% while improving service levels through better parts availability.
For regulatory compliance, standardized lifespan forecasting provides economic advantages by reducing the risk of non-compliance penalties and creating more predictable maintenance budgeting. In jurisdictions with strict environmental and safety regulations, these standards could reduce compliance-related expenditures by 10-25%.
The aggregate economic impact extends beyond direct cost savings to include competitive advantages for early adopters, who can leverage improved operational efficiency to enhance market positioning. As standardization matures, these economic benefits will likely accelerate industry-wide adoption, creating a virtuous cycle of continuous improvement in forecasting methodologies and economic returns.
Unlock deeper insights with Patsnap Eureka Quick Research — get a full tech report to explore trends and direct your research. Try now!
Generate Your Research Report Instantly with AI Agent
Supercharge your innovation with Patsnap Eureka AI Agent Platform!







