The Impact of ECU Tuning on 2JZ Engine Responsiveness
AUG 5, 20259 MIN READ
Generate Your Research Report Instantly with AI Agent
Patsnap Eureka helps you evaluate technical feasibility & market potential.
2JZ ECU Tuning Background and Objectives
The 2JZ engine, developed by Toyota in the early 1990s, has become an iconic powerplant in the automotive world, renowned for its robustness and tuning potential. Originally designed for the Toyota Supra, this inline-six engine has found its way into numerous high-performance applications and has become a favorite among enthusiasts and tuners alike. The advent of electronic engine control units (ECUs) has opened up new possibilities for enhancing the 2JZ's performance, particularly in terms of responsiveness.
ECU tuning for the 2JZ engine involves modifying the engine management system's parameters to optimize performance, fuel efficiency, and drivability. This process has evolved significantly since the engine's introduction, with advancements in both hardware and software allowing for increasingly sophisticated tuning strategies. The primary objective of ECU tuning in this context is to improve the engine's responsiveness, which refers to how quickly and smoothly the engine reacts to driver inputs.
Historically, the 2JZ engine's stock ECU was designed with conservative parameters to ensure reliability and emissions compliance across a wide range of operating conditions. While this approach resulted in a robust and dependable engine, it left considerable room for improvement in terms of performance and responsiveness. Early tuning efforts focused on simple modifications such as adjusting fuel maps and ignition timing, but as technology progressed, more complex strategies became possible.
The evolution of ECU tuning for the 2JZ has been driven by several factors, including the development of more powerful aftermarket ECUs, advancements in sensor technology, and the increasing sophistication of tuning software. These developments have allowed tuners to make more precise adjustments to engine parameters, resulting in significant improvements in responsiveness without compromising reliability.
Current objectives in 2JZ ECU tuning for enhanced responsiveness include optimizing throttle response, reducing turbo lag, and improving power delivery across the entire RPM range. Tuners aim to achieve these goals through a combination of strategies, such as refining fuel and ignition maps, adjusting boost control parameters, and implementing advanced features like launch control and flat-foot shifting.
Looking ahead, the future of 2JZ ECU tuning is likely to involve even more sophisticated approaches. Emerging technologies such as machine learning algorithms and real-time adaptive tuning systems hold the promise of further enhancing engine responsiveness by allowing the ECU to continuously optimize its parameters based on driving conditions and driver behavior.
In conclusion, the background of 2JZ ECU tuning reflects a continuous pursuit of improved engine performance, with a specific focus on enhancing responsiveness. As technology continues to advance, the objectives of ECU tuning for the 2JZ engine are expanding, offering exciting possibilities for further refinement and optimization of this legendary powerplant.
ECU tuning for the 2JZ engine involves modifying the engine management system's parameters to optimize performance, fuel efficiency, and drivability. This process has evolved significantly since the engine's introduction, with advancements in both hardware and software allowing for increasingly sophisticated tuning strategies. The primary objective of ECU tuning in this context is to improve the engine's responsiveness, which refers to how quickly and smoothly the engine reacts to driver inputs.
Historically, the 2JZ engine's stock ECU was designed with conservative parameters to ensure reliability and emissions compliance across a wide range of operating conditions. While this approach resulted in a robust and dependable engine, it left considerable room for improvement in terms of performance and responsiveness. Early tuning efforts focused on simple modifications such as adjusting fuel maps and ignition timing, but as technology progressed, more complex strategies became possible.
The evolution of ECU tuning for the 2JZ has been driven by several factors, including the development of more powerful aftermarket ECUs, advancements in sensor technology, and the increasing sophistication of tuning software. These developments have allowed tuners to make more precise adjustments to engine parameters, resulting in significant improvements in responsiveness without compromising reliability.
Current objectives in 2JZ ECU tuning for enhanced responsiveness include optimizing throttle response, reducing turbo lag, and improving power delivery across the entire RPM range. Tuners aim to achieve these goals through a combination of strategies, such as refining fuel and ignition maps, adjusting boost control parameters, and implementing advanced features like launch control and flat-foot shifting.
Looking ahead, the future of 2JZ ECU tuning is likely to involve even more sophisticated approaches. Emerging technologies such as machine learning algorithms and real-time adaptive tuning systems hold the promise of further enhancing engine responsiveness by allowing the ECU to continuously optimize its parameters based on driving conditions and driver behavior.
In conclusion, the background of 2JZ ECU tuning reflects a continuous pursuit of improved engine performance, with a specific focus on enhancing responsiveness. As technology continues to advance, the objectives of ECU tuning for the 2JZ engine are expanding, offering exciting possibilities for further refinement and optimization of this legendary powerplant.
Market Analysis for 2JZ Engine Modifications
The market for 2JZ engine modifications has experienced significant growth in recent years, driven by the enduring popularity of the Toyota Supra and other vehicles equipped with this legendary powerplant. The 2JZ engine, known for its robust design and high-performance potential, has become a favorite among automotive enthusiasts and tuners worldwide.
The demand for 2JZ engine modifications is primarily fueled by two distinct market segments. First, there's a strong nostalgia-driven market comprised of enthusiasts seeking to restore and enhance classic Toyota Supras and other 2JZ-powered vehicles. These customers often prioritize authenticity and period-correct modifications. Second, there's a growing market of modern performance enthusiasts who appreciate the 2JZ's capabilities and seek to integrate it into newer vehicle platforms through engine swaps.
The aftermarket industry supporting 2JZ modifications has expanded to meet this demand. Companies specializing in performance parts, ECU tuning solutions, and complete engine builds have proliferated. This has led to increased competition and innovation in the sector, resulting in a wide range of products catering to various performance levels and budgets.
One of the most significant trends in the 2JZ modification market is the increasing focus on ECU tuning. As electronic engine management becomes more sophisticated, the ability to fine-tune engine parameters has become a critical aspect of extracting maximum performance. This has led to a surge in demand for advanced ECU solutions and professional tuning services.
The market size for 2JZ engine modifications is substantial, with estimates suggesting it contributes significantly to the broader automotive aftermarket industry. While exact figures are challenging to pinpoint due to the fragmented nature of the market, industry reports indicate steady growth year over year.
Geographically, the market for 2JZ modifications is global, with strong demand in North America, Europe, and Asia. Japan, as the home of Toyota and the 2JZ engine, remains a key market and source of innovation. However, the United States has emerged as a major hub for 2JZ tuning and modification, with numerous specialized shops and online retailers catering to this niche.
Looking ahead, the market for 2JZ engine modifications is expected to continue its growth trajectory. Factors contributing to this include the increasing value of classic Toyota Supras, the ongoing popularity of engine swaps in custom builds, and the continuous development of new technologies that enhance the 2JZ's performance potential. However, challenges such as stricter emissions regulations and the shift towards electric vehicles may impact the long-term outlook of this market.
The demand for 2JZ engine modifications is primarily fueled by two distinct market segments. First, there's a strong nostalgia-driven market comprised of enthusiasts seeking to restore and enhance classic Toyota Supras and other 2JZ-powered vehicles. These customers often prioritize authenticity and period-correct modifications. Second, there's a growing market of modern performance enthusiasts who appreciate the 2JZ's capabilities and seek to integrate it into newer vehicle platforms through engine swaps.
The aftermarket industry supporting 2JZ modifications has expanded to meet this demand. Companies specializing in performance parts, ECU tuning solutions, and complete engine builds have proliferated. This has led to increased competition and innovation in the sector, resulting in a wide range of products catering to various performance levels and budgets.
One of the most significant trends in the 2JZ modification market is the increasing focus on ECU tuning. As electronic engine management becomes more sophisticated, the ability to fine-tune engine parameters has become a critical aspect of extracting maximum performance. This has led to a surge in demand for advanced ECU solutions and professional tuning services.
The market size for 2JZ engine modifications is substantial, with estimates suggesting it contributes significantly to the broader automotive aftermarket industry. While exact figures are challenging to pinpoint due to the fragmented nature of the market, industry reports indicate steady growth year over year.
Geographically, the market for 2JZ modifications is global, with strong demand in North America, Europe, and Asia. Japan, as the home of Toyota and the 2JZ engine, remains a key market and source of innovation. However, the United States has emerged as a major hub for 2JZ tuning and modification, with numerous specialized shops and online retailers catering to this niche.
Looking ahead, the market for 2JZ engine modifications is expected to continue its growth trajectory. Factors contributing to this include the increasing value of classic Toyota Supras, the ongoing popularity of engine swaps in custom builds, and the continuous development of new technologies that enhance the 2JZ's performance potential. However, challenges such as stricter emissions regulations and the shift towards electric vehicles may impact the long-term outlook of this market.
Current ECU Tuning Techniques and Challenges
ECU tuning for the 2JZ engine has evolved significantly over the years, with current techniques offering unprecedented levels of control and customization. Modern ECU tuning primarily focuses on optimizing fuel injection, ignition timing, and boost control to enhance engine responsiveness and overall performance. Advanced mapping techniques allow for precise adjustments across various engine parameters, enabling tuners to fine-tune the engine's behavior under different operating conditions.
One of the most prevalent techniques in current ECU tuning is multi-dimensional mapping. This approach allows for the creation of complex, three-dimensional fuel and ignition maps that account for multiple variables such as engine load, RPM, and throttle position. By utilizing these advanced maps, tuners can optimize engine performance across a wide range of driving conditions, significantly improving responsiveness and power delivery.
Another key aspect of modern ECU tuning is real-time data logging and analysis. This technique involves collecting vast amounts of data from various engine sensors during actual driving conditions. Tuners can then analyze this data to identify areas for improvement and make precise adjustments to the ECU parameters. This data-driven approach has greatly enhanced the accuracy and effectiveness of ECU tuning, particularly for high-performance engines like the 2JZ.
Despite these advancements, ECU tuning for the 2JZ engine still faces several challenges. One of the primary obstacles is the complexity of modern engine management systems. As ECUs become more sophisticated, tuners must continually update their knowledge and skills to effectively work with these systems. This often requires specialized training and expensive diagnostic equipment, creating a barrier to entry for many aspiring tuners.
Another significant challenge is the need to balance performance gains with reliability and emissions compliance. While it's possible to extract substantial power increases from the 2JZ engine through aggressive tuning, this can often come at the cost of engine longevity and increased emissions. Tuners must carefully navigate these trade-offs to deliver optimal performance without compromising the engine's reliability or violating emissions regulations.
Furthermore, the increasing prevalence of factory ECU encryption poses a significant hurdle for aftermarket tuning. Many modern ECUs employ sophisticated security measures to prevent unauthorized modifications, making it more difficult for tuners to access and modify the engine management software. This has led to the development of specialized tools and techniques to bypass these security measures, adding another layer of complexity to the tuning process.
Lastly, the rapid pace of technological advancement in the automotive industry presents an ongoing challenge for ECU tuners. As new technologies such as direct injection, variable valve timing, and hybrid powertrains become more common, tuners must constantly adapt their techniques and tools to effectively work with these advanced systems. This requires a significant investment in research and development to stay ahead of the curve and provide effective tuning solutions for the latest engine technologies.
One of the most prevalent techniques in current ECU tuning is multi-dimensional mapping. This approach allows for the creation of complex, three-dimensional fuel and ignition maps that account for multiple variables such as engine load, RPM, and throttle position. By utilizing these advanced maps, tuners can optimize engine performance across a wide range of driving conditions, significantly improving responsiveness and power delivery.
Another key aspect of modern ECU tuning is real-time data logging and analysis. This technique involves collecting vast amounts of data from various engine sensors during actual driving conditions. Tuners can then analyze this data to identify areas for improvement and make precise adjustments to the ECU parameters. This data-driven approach has greatly enhanced the accuracy and effectiveness of ECU tuning, particularly for high-performance engines like the 2JZ.
Despite these advancements, ECU tuning for the 2JZ engine still faces several challenges. One of the primary obstacles is the complexity of modern engine management systems. As ECUs become more sophisticated, tuners must continually update their knowledge and skills to effectively work with these systems. This often requires specialized training and expensive diagnostic equipment, creating a barrier to entry for many aspiring tuners.
Another significant challenge is the need to balance performance gains with reliability and emissions compliance. While it's possible to extract substantial power increases from the 2JZ engine through aggressive tuning, this can often come at the cost of engine longevity and increased emissions. Tuners must carefully navigate these trade-offs to deliver optimal performance without compromising the engine's reliability or violating emissions regulations.
Furthermore, the increasing prevalence of factory ECU encryption poses a significant hurdle for aftermarket tuning. Many modern ECUs employ sophisticated security measures to prevent unauthorized modifications, making it more difficult for tuners to access and modify the engine management software. This has led to the development of specialized tools and techniques to bypass these security measures, adding another layer of complexity to the tuning process.
Lastly, the rapid pace of technological advancement in the automotive industry presents an ongoing challenge for ECU tuners. As new technologies such as direct injection, variable valve timing, and hybrid powertrains become more common, tuners must constantly adapt their techniques and tools to effectively work with these advanced systems. This requires a significant investment in research and development to stay ahead of the curve and provide effective tuning solutions for the latest engine technologies.
Existing ECU Tuning Solutions for 2JZ
01 Engine control system optimization
Improving the responsiveness of the 2JZ engine through advanced control systems. This includes optimizing fuel injection timing, ignition timing, and valve timing to enhance throttle response and overall engine performance. These systems can be fine-tuned using electronic control units (ECUs) to achieve better responsiveness across various driving conditions.- Engine control system optimization: Improving the responsiveness of the 2JZ engine through advanced control systems. This includes optimizing fuel injection timing, ignition timing, and valve timing to enhance throttle response and overall engine performance. These systems can be fine-tuned to reduce lag and improve power delivery across the RPM range.
- Turbocharger enhancements: Modifications to the turbocharger system to reduce turbo lag and improve engine responsiveness. This may involve using variable geometry turbochargers, twin-turbo setups, or electronic wastegate control. These enhancements aim to provide quicker boost pressure build-up and better low-end torque.
- Intake and exhaust system modifications: Upgrading the intake and exhaust systems to improve airflow and reduce restrictions. This can include high-flow air filters, larger diameter piping, and performance exhaust manifolds. These modifications help the engine breathe more efficiently, leading to improved responsiveness and power output.
- Engine management software tuning: Customizing the engine control unit (ECU) software to optimize various parameters for improved responsiveness. This involves remapping fuel and ignition curves, adjusting boost control, and fine-tuning other engine parameters to enhance throttle response and overall engine performance.
- Lightweight components and reduced rotational mass: Incorporating lightweight engine components and reducing rotational mass to improve engine responsiveness. This can include lightweight flywheels, pulleys, and other rotating components. By decreasing the inertia of rotating parts, the engine can accelerate and decelerate more quickly, enhancing overall responsiveness.
02 Turbocharger enhancements
Implementing improvements to the turbocharger system to reduce lag and increase responsiveness. This may involve using variable geometry turbochargers, twin-turbo setups, or electric assist turbochargers. These enhancements aim to provide quicker boost pressure build-up and improved low-end torque, resulting in better engine responsiveness.Expand Specific Solutions03 Intake and exhaust system modifications
Optimizing the intake and exhaust systems to improve airflow and reduce restrictions. This can include installing high-flow air filters, larger diameter intake pipes, and performance exhaust systems. These modifications help to increase the engine's breathing capacity, leading to improved responsiveness and power delivery.Expand Specific Solutions04 Engine internals and lightweight components
Upgrading internal engine components with lightweight and high-performance parts. This may include forged pistons, connecting rods, and crankshafts, as well as lighter valvetrain components. These upgrades reduce reciprocating mass and inertia, allowing the engine to rev more quickly and respond faster to throttle inputs.Expand Specific Solutions05 Engine management software tuning
Fine-tuning the engine management software to optimize performance and responsiveness. This involves adjusting parameters such as fuel maps, ignition timing, and boost control to extract maximum performance from the 2JZ engine. Custom ECU programming can also incorporate features like launch control and anti-lag systems for improved responsiveness in specific scenarios.Expand Specific Solutions
Key Players in 2JZ ECU Tuning Industry
The ECU tuning market for 2JZ engines is in a mature stage, with a well-established competitive landscape. Major players like Toyota, Honda, and Subaru dominate the market, leveraging their extensive experience in engine management systems. The market size is substantial, driven by the enduring popularity of the 2JZ engine among performance enthusiasts. Technological maturity is high, with companies like Bosch and DENSO leading in advanced ECU solutions. Smaller specialized firms are also making significant contributions, offering niche tuning options for the 2JZ platform. The competitive environment is characterized by a mix of OEM expertise and aftermarket innovation, fostering continuous improvements in engine responsiveness and performance.
Toyota Motor Corp.
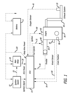
Technical Solution: Toyota, as the original manufacturer of the 2JZ engine, has developed advanced ECU tuning techniques specifically for this powerplant. Their approach focuses on optimizing fuel injection timing and duration, as well as ignition timing, to enhance engine responsiveness. Toyota's ECU tuning strategy for the 2JZ engine involves adaptive learning algorithms that continuously adjust parameters based on driving conditions and engine load[1]. This allows for real-time optimization of engine performance, particularly in terms of throttle response and low-end torque delivery. Toyota has also implemented a sophisticated knock control system that enables more aggressive ignition timing while maintaining engine reliability[3].
Strengths: Unparalleled knowledge of 2JZ engine characteristics, access to original design specifications, and extensive real-world data. Weaknesses: Potential conservatism in tuning to prioritize long-term reliability over maximum performance gains.
Robert Bosch GmbH
Technical Solution: Bosch has developed a comprehensive ECU tuning solution for the 2JZ engine, leveraging their expertise in engine management systems. Their approach utilizes high-precision fuel mapping and advanced boost control strategies to enhance engine responsiveness. Bosch's ECU tuning incorporates multi-dimensional mapping techniques that account for various engine parameters simultaneously, allowing for more precise control over fuel delivery and ignition timing[2]. They have also implemented a rapid-response boost control system that minimizes turbo lag and improves throttle response[4]. Bosch's tuning solution includes adaptive learning capabilities that optimize performance based on environmental conditions and driving habits.
Strengths: Extensive experience in engine management systems, advanced sensor technology, and global R&D resources. Weaknesses: May lack the intimate knowledge of 2JZ-specific characteristics compared to Toyota.
Core Innovations in 2JZ ECU Mapping
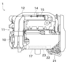
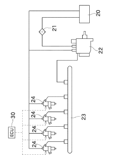
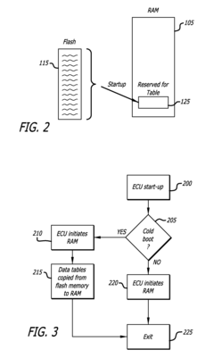
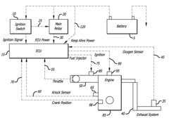
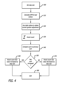
Active tuning system for engine control unit
PatentActiveUS9371792B2
Innovation
- A self-contained process that allows fuel tables and ignition tables to be updated in real time within the ECU without external hardware, using RAM for rapid updates and retaining settings across multiple driving cycles, enabling high-quality table generation without user input.
Engine control unit and engine
PatentInactiveJP2015229984A
Innovation
- An engine control device that includes a rotation speed-based reduction correction amount calculation unit, which adjusts the engine speed correction amount using a correction amount adjustment parameter and a table-based interpolation method to match regulation characteristics to specific applications and load conditions.
Legal and Emissions Considerations
ECU tuning for the 2JZ engine, while offering significant performance benefits, must be approached with careful consideration of legal and emissions regulations. In many jurisdictions, modifications that alter the engine's emissions output are strictly regulated or prohibited for road-legal vehicles. The 2JZ engine, originally designed to meet specific emissions standards, may no longer comply with these regulations after ECU tuning.
Emissions regulations vary widely across different countries and regions. In the United States, for instance, the Clean Air Act and EPA guidelines set strict limits on vehicle emissions. Modifications that disable or bypass emissions control devices are generally illegal for street use. Similarly, the European Union enforces Euro emissions standards, which have become increasingly stringent over the years.
ECU tuning can significantly impact the air-fuel ratio, ignition timing, and boost pressure of the 2JZ engine. While these changes can enhance performance, they often result in increased emissions of pollutants such as nitrogen oxides (NOx), carbon monoxide (CO), and particulate matter. This puts tuned vehicles at risk of failing emissions tests, which are mandatory in many areas for vehicle registration and road use.
Some jurisdictions offer provisions for modified vehicles, such as California's CARB (California Air Resources Board) certification process. However, obtaining such certifications can be complex and expensive, often requiring extensive testing and documentation. For many enthusiasts, this presents a significant barrier to legally implementing ECU tunes on their 2JZ-powered vehicles.
The legal landscape surrounding ECU tuning is further complicated by the distinction between off-road and on-road use. While modifications for racing or off-road applications may face fewer restrictions, using a tuned vehicle on public roads can lead to legal consequences, including fines and vehicle impoundment.
Manufacturers and tuning companies are increasingly developing ECU modifications that aim to balance performance gains with emissions compliance. These "emissions-friendly" tunes attempt to optimize engine performance within the bounds of legal emissions limits. However, achieving this balance often requires sophisticated engineering and may not yield the same level of performance improvement as more aggressive tunes.
As emissions regulations continue to evolve, particularly with the global shift towards electrification, the future of ECU tuning for engines like the 2JZ faces uncertainty. Enthusiasts and tuning companies must stay informed about changing regulations and adapt their approaches to ensure compliance while pursuing performance enhancements.
Emissions regulations vary widely across different countries and regions. In the United States, for instance, the Clean Air Act and EPA guidelines set strict limits on vehicle emissions. Modifications that disable or bypass emissions control devices are generally illegal for street use. Similarly, the European Union enforces Euro emissions standards, which have become increasingly stringent over the years.
ECU tuning can significantly impact the air-fuel ratio, ignition timing, and boost pressure of the 2JZ engine. While these changes can enhance performance, they often result in increased emissions of pollutants such as nitrogen oxides (NOx), carbon monoxide (CO), and particulate matter. This puts tuned vehicles at risk of failing emissions tests, which are mandatory in many areas for vehicle registration and road use.
Some jurisdictions offer provisions for modified vehicles, such as California's CARB (California Air Resources Board) certification process. However, obtaining such certifications can be complex and expensive, often requiring extensive testing and documentation. For many enthusiasts, this presents a significant barrier to legally implementing ECU tunes on their 2JZ-powered vehicles.
The legal landscape surrounding ECU tuning is further complicated by the distinction between off-road and on-road use. While modifications for racing or off-road applications may face fewer restrictions, using a tuned vehicle on public roads can lead to legal consequences, including fines and vehicle impoundment.
Manufacturers and tuning companies are increasingly developing ECU modifications that aim to balance performance gains with emissions compliance. These "emissions-friendly" tunes attempt to optimize engine performance within the bounds of legal emissions limits. However, achieving this balance often requires sophisticated engineering and may not yield the same level of performance improvement as more aggressive tunes.
As emissions regulations continue to evolve, particularly with the global shift towards electrification, the future of ECU tuning for engines like the 2JZ faces uncertainty. Enthusiasts and tuning companies must stay informed about changing regulations and adapt their approaches to ensure compliance while pursuing performance enhancements.
Performance Testing Methodologies
Performance testing methodologies for evaluating the impact of ECU tuning on 2JZ engine responsiveness require a comprehensive and systematic approach. These methods typically involve a combination of dynamometer testing, real-world driving assessments, and data logging to capture and analyze engine performance metrics.
Dynamometer testing forms the cornerstone of performance evaluation. It allows for controlled, repeatable measurements of engine output under various load conditions. For the 2JZ engine, both engine dynamometers and chassis dynamometers are employed. Engine dynos provide direct measurement of crankshaft power, while chassis dynos measure power at the wheels, accounting for drivetrain losses. Multiple runs are conducted to ensure consistency and to capture performance across the entire RPM range.
Real-world driving assessments complement dyno testing by evaluating engine responsiveness in practical scenarios. These tests often include acceleration runs, in-gear acceleration tests, and throttle response evaluations. Standardized routes that incorporate various driving conditions – such as highway cruising, city driving, and hill climbs – are utilized to assess the ECU tuning's impact on drivability and fuel efficiency.
Data logging is crucial for capturing detailed performance metrics. Advanced data acquisition systems are employed to record parameters such as air-fuel ratios, ignition timing, boost pressure, exhaust gas temperatures, and throttle position. This data is collected at high sampling rates to provide a granular view of the engine's behavior under different operating conditions.
Specialized testing procedures are developed to focus on specific aspects of engine responsiveness. These may include transient response tests, where sudden throttle inputs are applied to measure how quickly the engine reacts to demand changes. Load step tests evaluate the engine's ability to maintain performance under rapidly changing load conditions, which is particularly relevant for turbocharged engines like the 2JZ.
Comparative analysis forms a critical part of the methodology. Baseline performance data is established using the stock ECU settings. Subsequent tests with various ECU tunes are then compared against this baseline to quantify improvements or changes in responsiveness. This approach allows for objective evaluation of different tuning strategies and their effects on engine behavior.
Thermal management testing is also incorporated, given the 2JZ engine's high-performance nature. This involves monitoring engine temperatures during extended high-load operations to ensure that ECU tuning does not compromise the engine's thermal stability or longevity.
Finally, repeatability and validation procedures are implemented to ensure the reliability of test results. This includes multiple test runs under identical conditions, cross-verification between different testing methods, and long-term durability assessments to evaluate the sustained impact of ECU tuning on engine responsiveness and reliability.
Dynamometer testing forms the cornerstone of performance evaluation. It allows for controlled, repeatable measurements of engine output under various load conditions. For the 2JZ engine, both engine dynamometers and chassis dynamometers are employed. Engine dynos provide direct measurement of crankshaft power, while chassis dynos measure power at the wheels, accounting for drivetrain losses. Multiple runs are conducted to ensure consistency and to capture performance across the entire RPM range.
Real-world driving assessments complement dyno testing by evaluating engine responsiveness in practical scenarios. These tests often include acceleration runs, in-gear acceleration tests, and throttle response evaluations. Standardized routes that incorporate various driving conditions – such as highway cruising, city driving, and hill climbs – are utilized to assess the ECU tuning's impact on drivability and fuel efficiency.
Data logging is crucial for capturing detailed performance metrics. Advanced data acquisition systems are employed to record parameters such as air-fuel ratios, ignition timing, boost pressure, exhaust gas temperatures, and throttle position. This data is collected at high sampling rates to provide a granular view of the engine's behavior under different operating conditions.
Specialized testing procedures are developed to focus on specific aspects of engine responsiveness. These may include transient response tests, where sudden throttle inputs are applied to measure how quickly the engine reacts to demand changes. Load step tests evaluate the engine's ability to maintain performance under rapidly changing load conditions, which is particularly relevant for turbocharged engines like the 2JZ.
Comparative analysis forms a critical part of the methodology. Baseline performance data is established using the stock ECU settings. Subsequent tests with various ECU tunes are then compared against this baseline to quantify improvements or changes in responsiveness. This approach allows for objective evaluation of different tuning strategies and their effects on engine behavior.
Thermal management testing is also incorporated, given the 2JZ engine's high-performance nature. This involves monitoring engine temperatures during extended high-load operations to ensure that ECU tuning does not compromise the engine's thermal stability or longevity.
Finally, repeatability and validation procedures are implemented to ensure the reliability of test results. This includes multiple test runs under identical conditions, cross-verification between different testing methods, and long-term durability assessments to evaluate the sustained impact of ECU tuning on engine responsiveness and reliability.
Unlock deeper insights with Patsnap Eureka Quick Research — get a full tech report to explore trends and direct your research. Try now!
Generate Your Research Report Instantly with AI Agent
Supercharge your innovation with Patsnap Eureka AI Agent Platform!