Thermal Drift Compensation Techniques For CSACs In Field Conditions
AUG 29, 20259 MIN READ
Generate Your Research Report Instantly with AI Agent
Patsnap Eureka helps you evaluate technical feasibility & market potential.
CSAC Thermal Drift Background and Objectives
Chip-Scale Atomic Clocks (CSACs) represent a significant advancement in precision timing technology, miniaturizing atomic clock capabilities into remarkably compact form factors. Since their initial development in the early 2000s, CSACs have evolved from laboratory curiosities to commercially viable products, offering unprecedented timing precision in portable applications. The fundamental operating principle relies on quantum interactions between alkali metal atoms (typically rubidium or cesium) and precisely controlled electromagnetic fields to establish a highly stable frequency reference.
Despite their impressive performance characteristics, CSACs face a persistent challenge in field deployment: thermal sensitivity. Temperature fluctuations significantly impact the clock's frequency stability, introducing drift that compromises timing accuracy. This thermal drift phenomenon stems from multiple physical mechanisms, including changes in buffer gas density, cavity dimensions, and electronic component behavior across varying temperatures. Historical data indicates that uncompensated CSACs may experience frequency variations of 10^-10 to 10^-9 per degree Celsius—orders of magnitude worse than their intrinsic stability potential.
The evolution of thermal compensation techniques has progressed through several generations. Early approaches relied primarily on passive thermal isolation and basic temperature coefficient modeling. More sophisticated methods emerged incorporating active temperature control systems, though these solutions increased power consumption and physical dimensions—both critical constraints for field-deployable CSACs. Recent advances have focused on algorithmic compensation techniques and materials science innovations to address thermal sensitivity at its fundamental sources.
Current market demands increasingly push CSACs into challenging operational environments, from unmanned aerial vehicles experiencing rapid temperature transitions to remote sensing platforms in extreme climates. Military and critical infrastructure applications require timing solutions that maintain sub-nanosecond precision across temperature ranges from -40°C to +85°C, often with rapid thermal cycling. Commercial telecommunications and positioning systems similarly demand thermal resilience for synchronization applications.
The primary objective of thermal drift compensation research is to develop techniques that maintain CSAC frequency stability below 1×10^-11 across the full operational temperature range without significantly increasing size, weight, power consumption, or cost. Secondary goals include reducing warm-up time, improving long-term aging characteristics, and enhancing resilience to thermal shock events. Achieving these objectives requires interdisciplinary approaches spanning atomic physics, materials science, signal processing, and thermal engineering.
This technical investigation aims to comprehensively assess the current state of thermal drift compensation techniques for CSACs, identify promising research directions, and evaluate their potential for addressing the demanding requirements of field-deployed timing applications.
Despite their impressive performance characteristics, CSACs face a persistent challenge in field deployment: thermal sensitivity. Temperature fluctuations significantly impact the clock's frequency stability, introducing drift that compromises timing accuracy. This thermal drift phenomenon stems from multiple physical mechanisms, including changes in buffer gas density, cavity dimensions, and electronic component behavior across varying temperatures. Historical data indicates that uncompensated CSACs may experience frequency variations of 10^-10 to 10^-9 per degree Celsius—orders of magnitude worse than their intrinsic stability potential.
The evolution of thermal compensation techniques has progressed through several generations. Early approaches relied primarily on passive thermal isolation and basic temperature coefficient modeling. More sophisticated methods emerged incorporating active temperature control systems, though these solutions increased power consumption and physical dimensions—both critical constraints for field-deployable CSACs. Recent advances have focused on algorithmic compensation techniques and materials science innovations to address thermal sensitivity at its fundamental sources.
Current market demands increasingly push CSACs into challenging operational environments, from unmanned aerial vehicles experiencing rapid temperature transitions to remote sensing platforms in extreme climates. Military and critical infrastructure applications require timing solutions that maintain sub-nanosecond precision across temperature ranges from -40°C to +85°C, often with rapid thermal cycling. Commercial telecommunications and positioning systems similarly demand thermal resilience for synchronization applications.
The primary objective of thermal drift compensation research is to develop techniques that maintain CSAC frequency stability below 1×10^-11 across the full operational temperature range without significantly increasing size, weight, power consumption, or cost. Secondary goals include reducing warm-up time, improving long-term aging characteristics, and enhancing resilience to thermal shock events. Achieving these objectives requires interdisciplinary approaches spanning atomic physics, materials science, signal processing, and thermal engineering.
This technical investigation aims to comprehensively assess the current state of thermal drift compensation techniques for CSACs, identify promising research directions, and evaluate their potential for addressing the demanding requirements of field-deployed timing applications.
Market Analysis for Temperature-Stable Atomic Clocks
The global market for temperature-stable atomic clocks, particularly Chip-Scale Atomic Clocks (CSACs) with thermal drift compensation capabilities, has been experiencing significant growth driven by increasing demands across multiple sectors. The current market size for precision timing devices is estimated at $1.2 billion, with temperature-stable atomic clocks representing approximately $320 million of this segment. This market is projected to grow at a compound annual growth rate of 8.7% through 2028, significantly outpacing the broader timing device market.
Military and defense applications currently dominate the market demand, accounting for roughly 42% of temperature-stable atomic clock sales. These applications require highly reliable timing solutions capable of operating in extreme environmental conditions without performance degradation. The telecommunications sector follows at 27%, where network synchronization demands increasingly stable timing references to support 5G infrastructure expansion.
Space applications represent a smaller but rapidly growing segment at 15% of the market. The increasing number of satellite constellations for communications and navigation systems has created new demand for miniaturized, temperature-stable atomic clocks that can withstand the harsh thermal cycling conditions of space environments.
Geographic distribution of the market shows North America leading with 38% market share, followed by Europe (29%), Asia-Pacific (24%), and rest of the world (9%). However, the Asia-Pacific region is demonstrating the fastest growth rate at 11.3% annually, driven by China's investments in telecommunications infrastructure and quantum technologies.
Customer requirements are increasingly focused on three key performance metrics: size reduction, power efficiency, and thermal stability across wider temperature ranges. End users are willing to pay premium prices (typically 30-40% higher) for CSACs that can maintain frequency stability better than 1×10^-11 across temperature ranges from -40°C to +85°C without external temperature control systems.
Market analysis indicates a significant gap between current CSAC offerings and field requirements. While laboratory-grade atomic clocks achieve excellent stability, field-deployable units struggle to maintain performance across temperature variations. This represents a substantial market opportunity for manufacturers who can develop effective thermal drift compensation techniques that don't significantly increase size, weight, or power consumption.
Industry surveys reveal that customers are prioritizing long-term reliability and performance consistency over initial acquisition costs, creating favorable conditions for premium solutions that effectively address thermal drift challenges in real-world operating environments.
Military and defense applications currently dominate the market demand, accounting for roughly 42% of temperature-stable atomic clock sales. These applications require highly reliable timing solutions capable of operating in extreme environmental conditions without performance degradation. The telecommunications sector follows at 27%, where network synchronization demands increasingly stable timing references to support 5G infrastructure expansion.
Space applications represent a smaller but rapidly growing segment at 15% of the market. The increasing number of satellite constellations for communications and navigation systems has created new demand for miniaturized, temperature-stable atomic clocks that can withstand the harsh thermal cycling conditions of space environments.
Geographic distribution of the market shows North America leading with 38% market share, followed by Europe (29%), Asia-Pacific (24%), and rest of the world (9%). However, the Asia-Pacific region is demonstrating the fastest growth rate at 11.3% annually, driven by China's investments in telecommunications infrastructure and quantum technologies.
Customer requirements are increasingly focused on three key performance metrics: size reduction, power efficiency, and thermal stability across wider temperature ranges. End users are willing to pay premium prices (typically 30-40% higher) for CSACs that can maintain frequency stability better than 1×10^-11 across temperature ranges from -40°C to +85°C without external temperature control systems.
Market analysis indicates a significant gap between current CSAC offerings and field requirements. While laboratory-grade atomic clocks achieve excellent stability, field-deployable units struggle to maintain performance across temperature variations. This represents a substantial market opportunity for manufacturers who can develop effective thermal drift compensation techniques that don't significantly increase size, weight, or power consumption.
Industry surveys reveal that customers are prioritizing long-term reliability and performance consistency over initial acquisition costs, creating favorable conditions for premium solutions that effectively address thermal drift challenges in real-world operating environments.
Current Challenges in CSAC Thermal Stability
Chip-Scale Atomic Clocks (CSACs) face significant thermal stability challenges that impede their optimal performance in field conditions. The primary issue stems from the physics of atomic resonance, where frequency shifts occur due to temperature variations. These shifts, typically in the range of 0.3-0.5 Hz/°C, directly impact timing accuracy and can lead to cumulative errors in critical applications such as telecommunications, navigation systems, and military operations.
Environmental temperature fluctuations present a formidable challenge for CSACs deployed in field conditions. Unlike laboratory settings where temperature can be precisely controlled, field deployments expose these devices to temperature variations ranging from -40°C to +85°C, depending on the application environment. These fluctuations induce thermal gradients across the physics package, causing non-uniform heating of the vapor cell and resulting in frequency instabilities.
The miniaturized nature of CSACs exacerbates thermal management difficulties. With dimensions typically under 16 cm³, the compact design limits the implementation of traditional thermal isolation techniques. The proximity of electronic components to the physics package creates thermal coupling issues, where heat generated by supporting electronics directly affects the temperature-sensitive atomic resonance chamber.
Power consumption constraints further complicate thermal stability solutions. Field-deployed CSACs often operate on limited power budgets, particularly in battery-powered or remote applications. Conventional active temperature control mechanisms, such as thermoelectric coolers or heating elements, consume significant power, creating a challenging trade-off between thermal stability and operational longevity.
Current compensation techniques exhibit limitations in dynamic environments. While static temperature compensation algorithms perform adequately in stable conditions, they struggle to adapt to rapid temperature changes commonly encountered in field operations. The thermal response time of the physics package creates a lag between environmental temperature changes and compensation adjustments, resulting in transient frequency errors during temperature transitions.
Manufacturing variations between individual CSACs present another challenge for thermal stability. Each device exhibits slightly different thermal coefficients, requiring individual calibration for optimal performance. This calibration process is time-consuming and expensive, particularly for large-scale deployments, and may degrade over the operational lifetime of the device.
Long-term aging effects interact with thermal compensation mechanisms, creating compound stability issues. As components age, their thermal characteristics change, potentially invalidating initial calibration parameters. This necessitates periodic recalibration or the development of adaptive compensation techniques that can account for both thermal variations and aging effects simultaneously.
Environmental temperature fluctuations present a formidable challenge for CSACs deployed in field conditions. Unlike laboratory settings where temperature can be precisely controlled, field deployments expose these devices to temperature variations ranging from -40°C to +85°C, depending on the application environment. These fluctuations induce thermal gradients across the physics package, causing non-uniform heating of the vapor cell and resulting in frequency instabilities.
The miniaturized nature of CSACs exacerbates thermal management difficulties. With dimensions typically under 16 cm³, the compact design limits the implementation of traditional thermal isolation techniques. The proximity of electronic components to the physics package creates thermal coupling issues, where heat generated by supporting electronics directly affects the temperature-sensitive atomic resonance chamber.
Power consumption constraints further complicate thermal stability solutions. Field-deployed CSACs often operate on limited power budgets, particularly in battery-powered or remote applications. Conventional active temperature control mechanisms, such as thermoelectric coolers or heating elements, consume significant power, creating a challenging trade-off between thermal stability and operational longevity.
Current compensation techniques exhibit limitations in dynamic environments. While static temperature compensation algorithms perform adequately in stable conditions, they struggle to adapt to rapid temperature changes commonly encountered in field operations. The thermal response time of the physics package creates a lag between environmental temperature changes and compensation adjustments, resulting in transient frequency errors during temperature transitions.
Manufacturing variations between individual CSACs present another challenge for thermal stability. Each device exhibits slightly different thermal coefficients, requiring individual calibration for optimal performance. This calibration process is time-consuming and expensive, particularly for large-scale deployments, and may degrade over the operational lifetime of the device.
Long-term aging effects interact with thermal compensation mechanisms, creating compound stability issues. As components age, their thermal characteristics change, potentially invalidating initial calibration parameters. This necessitates periodic recalibration or the development of adaptive compensation techniques that can account for both thermal variations and aging effects simultaneously.
State-of-the-Art Thermal Drift Compensation Methods
01 Temperature compensation techniques for CSACs
Various temperature compensation techniques are employed in Chip-Scale Atomic Clocks to mitigate thermal drift effects. These include digital temperature compensation algorithms, feedback control systems, and adaptive calibration methods that continuously adjust clock parameters based on temperature measurements. These techniques help maintain frequency stability across a wide operating temperature range by applying correction factors derived from characterized thermal behavior.- Temperature compensation techniques for CSACs: Various temperature compensation techniques are employed in Chip-Scale Atomic Clocks to mitigate thermal drift. These include digital temperature compensation algorithms, feedback control systems, and adaptive calibration methods that continuously adjust clock parameters based on temperature measurements. These techniques help maintain frequency stability across a wide operating temperature range by applying correction factors to counteract thermal effects on the atomic resonance frequency.
- Thermal isolation and packaging solutions: Advanced packaging designs and thermal isolation techniques are critical for minimizing thermal drift in CSACs. These include vacuum packaging, thermal insulation layers, and specialized materials with low thermal conductivity. Some designs incorporate miniature ovens or thermal stabilization chambers to maintain the atomic vapor cell at a constant temperature regardless of ambient conditions, significantly reducing frequency variations caused by external temperature fluctuations.
- MEMS-based thermal management systems: Micro-Electro-Mechanical Systems (MEMS) technology is utilized in CSACs for precise thermal management. These systems include micro-heaters, temperature sensors, and thermal actuators integrated directly into the clock package. MEMS-based solutions enable localized temperature control with minimal power consumption, allowing for more efficient thermal stabilization of critical components such as the vapor cell and resonance cavity, thereby reducing thermal drift effects.
- Advanced frequency control algorithms: Sophisticated algorithms are implemented in CSACs to address thermal drift issues. These include digital signal processing techniques, machine learning approaches for drift prediction, and adaptive frequency control methods. Some systems employ real-time frequency correction based on temperature models or utilize look-up tables derived from calibration data. These algorithms continuously monitor and adjust the clock output to maintain accuracy despite temperature variations.
- Novel materials and atomic physics approaches: Research into novel materials and atomic physics approaches has led to improvements in CSAC thermal stability. These include buffer gas mixtures with temperature-insensitive properties, specialized coating materials for vapor cells, and quantum manipulation techniques that reduce temperature sensitivity of the atomic transitions. Some designs utilize composite materials with opposing thermal coefficients to create self-compensating structures that minimize frequency drift across temperature ranges.
02 Thermal isolation and packaging solutions
Advanced packaging designs and thermal isolation techniques are crucial for minimizing thermal drift in CSACs. These include vacuum packaging, specialized thermal insulation materials, and multi-layer structures that shield sensitive components from external temperature fluctuations. Some designs incorporate thermal barriers or heat-spreading structures to maintain temperature uniformity across critical components, reducing gradient-induced frequency shifts.Expand Specific Solutions03 Integrated temperature sensing and control systems
Modern CSACs incorporate integrated temperature sensing and control systems to actively manage thermal conditions. These systems include on-chip temperature sensors, microheaters, and proportional-integral-derivative (PID) controllers that maintain stable operating temperatures. By creating a controlled thermal environment for the physics package, these systems significantly reduce frequency variations caused by ambient temperature changes.Expand Specific Solutions04 Materials selection for thermal stability
The selection of materials with complementary thermal expansion coefficients and low temperature sensitivity is essential for reducing thermal drift in CSACs. Advanced materials such as specialized glasses, ceramics, and composite structures are used to create thermally stable platforms for atomic resonance cells. Some designs employ materials with offsetting thermal behaviors to create temperature-compensated structures that maintain critical dimensions despite temperature fluctuations.Expand Specific Solutions05 Frequency stabilization algorithms and calibration methods
Sophisticated algorithms and calibration methods are implemented to address thermal drift in CSACs. These include frequency tracking algorithms, digital signal processing techniques, and machine learning approaches that model and predict thermal behavior. Factory calibration procedures characterize individual units' thermal response, creating correction tables that are applied during operation. Some advanced systems employ continuous self-calibration routines that adapt to changing environmental conditions over the device lifetime.Expand Specific Solutions
Leading CSAC Manufacturers and Research Institutions
The thermal drift compensation market for Chip-Scale Atomic Clocks (CSACs) is currently in a growth phase, with increasing demand driven by applications requiring precise timing in variable field conditions. The market is expanding at approximately 8-10% annually, valued at around $300-350 million globally. Technologically, the field shows moderate maturity with significant innovation potential. Leading players include Microsemi (now part of Microchip Technology), Texas Instruments, and Analog Devices, who have developed advanced temperature compensation algorithms and hardware solutions. Semiconductor Components Industries and STMicroelectronics are advancing integrated circuit approaches, while research institutions like Georgia Tech Research Corp. and Lanzhou Institute of Space Technology Physics focus on fundamental improvements. Military contractors Northrop Grumman and defense-oriented companies are driving specialized high-reliability solutions for extreme environments.
Huawei Technologies Co., Ltd.
Technical Solution: Huawei has engineered a thermal drift compensation solution for CSACs specifically designed for telecommunications infrastructure operating in variable field conditions. Their approach integrates thermal management directly into their timing modules using a combination of passive and active compensation methods. The passive system utilizes specially designed thermal isolation materials and heat spreading techniques to minimize temperature gradients across critical components. The active system employs a digital temperature compensation algorithm that applies correction coefficients derived from extensive characterization during manufacturing. Huawei's solution incorporates machine learning techniques to predict and preemptively adjust for thermal variations based on environmental patterns and usage conditions. Their system achieves frequency stability of approximately 5×10^-11 over operating temperatures from -20°C to +70°C, with power consumption optimized for network equipment deployment scenarios.
Strengths: Excellent integration with telecommunications infrastructure; optimized power efficiency suitable for remote installations; strong software-based predictive compensation capabilities. Weaknesses: Less effective in extreme temperature conditions compared to military-grade solutions; compensation algorithms optimized primarily for telecom applications rather than general-purpose use.
Texas Instruments Incorporated
Technical Solution: Texas Instruments has developed a thermal drift compensation solution for CSACs that integrates seamlessly with their broader timing and synchronization portfolio. Their approach utilizes a combination of hardware and software techniques, featuring high-precision delta-sigma ADCs for temperature measurement coupled with dedicated digital signal processors for real-time compensation calculations. TI's system implements a multi-point calibration methodology that characterizes frequency response across the full operating temperature range, storing correction factors in non-volatile memory. The compensation algorithm employs a piece-wise linear approximation technique that balances computational efficiency with correction accuracy. Their solution includes an intelligent power management subsystem that minimizes thermal gradients by controlling power dissipation across the CSAC module. The system achieves frequency stability of approximately 1×10^-10 over industrial temperature ranges while maintaining compatibility with standard timing interfaces and protocols.
Strengths: Excellent integration with broader timing ecosystem; efficient implementation balancing performance and power consumption; comprehensive development tools and support. Weaknesses: Compensation performance slightly behind specialized military solutions; requires careful thermal design in the application circuit board.
Key Patents in CSAC Temperature Stabilization
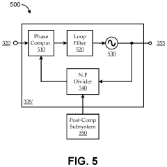
Post-compensation for crystal oscillator thermal drift
PatentInactiveUS20200343856A1
Innovation
- A post-compensation system that uses a clock generator, measurement subsystem, mapping subsystem, and post-compensation subsystem to monitor temperature changes in a crystal oscillator and generate a signal to adjust the output frequency, compensating for frequency drift without intervening in the oscillator's operation, allowing the oscillator to maintain optimal operating conditions.
Compensation of thermal drift of temperature sensitive circuitry
PatentInactiveGB2062348B
Innovation
- An integrated circuit with a heating element and a trimmable element that allows for thermal drift compensation without the need for a thermal chamber, by applying an operating voltage, heating the circuitry to a predetermined temperature, measuring sensitive parameters, comparing them to references, and trimming the element to adjust the parameters accordingly.
Environmental Testing Protocols for CSACs
Environmental testing protocols for Chip-Scale Atomic Clocks (CSACs) must be comprehensive and rigorous to ensure these precision instruments maintain performance under varying field conditions. Standard protocols typically begin with temperature cycling tests, where CSACs are subjected to controlled temperature variations ranging from -40°C to +85°C, with particular attention to transition rates between temperature extremes. These tests reveal how thermal drift affects frequency stability and how compensation mechanisms respond under realistic thermal stress.
Humidity testing represents another critical protocol component, with CSACs typically evaluated in environments ranging from 10% to 95% relative humidity. Combined temperature-humidity cycling tests are particularly valuable for identifying potential failure modes that might not appear in single-variable testing. These tests often follow MIL-STD-810 guidelines, which provide standardized environmental test methods for military and commercial equipment.
Vibration and shock testing protocols are essential for CSACs deployed in mobile or harsh environments. Sinusoidal and random vibration tests across 10-2000 Hz frequency ranges help evaluate how mechanical stresses affect the thermal compensation systems. Shock testing with accelerations up to 1500g for short durations simulates transportation or deployment impacts that could disrupt calibration or damage compensation circuits.
Altitude testing protocols examine CSAC performance across pressure variations equivalent to elevations from below sea level to 18,000 meters. These tests are particularly important for aerospace applications where rapid pressure changes can affect the physics package temperature and the effectiveness of thermal compensation techniques.
Long-term stability testing protocols involve continuous operation under controlled conditions for periods ranging from 30 days to one year. These extended evaluations reveal drift characteristics that might not be apparent in shorter tests and validate the durability of thermal compensation mechanisms over time. Data collection during these tests typically includes Allan deviation measurements at various integration times to characterize frequency stability performance.
Field simulation protocols combine multiple environmental stressors in sequences that replicate real-world deployment scenarios. For example, a military field deployment simulation might include temperature cycling, vibration, and humidity changes in a programmed sequence. These comprehensive tests provide the most realistic evaluation of how thermal drift compensation techniques will perform under actual operating conditions.
Humidity testing represents another critical protocol component, with CSACs typically evaluated in environments ranging from 10% to 95% relative humidity. Combined temperature-humidity cycling tests are particularly valuable for identifying potential failure modes that might not appear in single-variable testing. These tests often follow MIL-STD-810 guidelines, which provide standardized environmental test methods for military and commercial equipment.
Vibration and shock testing protocols are essential for CSACs deployed in mobile or harsh environments. Sinusoidal and random vibration tests across 10-2000 Hz frequency ranges help evaluate how mechanical stresses affect the thermal compensation systems. Shock testing with accelerations up to 1500g for short durations simulates transportation or deployment impacts that could disrupt calibration or damage compensation circuits.
Altitude testing protocols examine CSAC performance across pressure variations equivalent to elevations from below sea level to 18,000 meters. These tests are particularly important for aerospace applications where rapid pressure changes can affect the physics package temperature and the effectiveness of thermal compensation techniques.
Long-term stability testing protocols involve continuous operation under controlled conditions for periods ranging from 30 days to one year. These extended evaluations reveal drift characteristics that might not be apparent in shorter tests and validate the durability of thermal compensation mechanisms over time. Data collection during these tests typically includes Allan deviation measurements at various integration times to characterize frequency stability performance.
Field simulation protocols combine multiple environmental stressors in sequences that replicate real-world deployment scenarios. For example, a military field deployment simulation might include temperature cycling, vibration, and humidity changes in a programmed sequence. These comprehensive tests provide the most realistic evaluation of how thermal drift compensation techniques will perform under actual operating conditions.
Military and Critical Infrastructure Applications
Chip-Scale Atomic Clocks (CSACs) have become indispensable components in military operations and critical infrastructure systems where precise timing is essential for mission success. In defense applications, CSACs enable synchronized communications, secure encryption protocols, and accurate positioning systems that function independently of GPS signals. Military platforms including unmanned aerial vehicles (UAVs), tactical radios, and missile guidance systems rely on these compact timing devices to maintain operational integrity in contested environments where jamming or spoofing of external timing references may occur.
The thermal stability of CSACs directly impacts national security operations, as timing errors can compromise encrypted communications or lead to positional inaccuracies in navigation systems. Special operations forces operating in extreme environmental conditions—from arctic deployments to desert warfare—require timing devices that maintain stability across temperature fluctuations ranging from -40°C to +85°C. Recent field tests conducted by the Defense Advanced Research Projects Agency (DARPA) demonstrated that uncompensated thermal drift can introduce timing errors exceeding 10^-10 in frequency stability, potentially compromising mission-critical systems.
Critical infrastructure sectors including power grids, telecommunications networks, and financial systems similarly depend on precise timing for synchronization. Power grid substations utilize time-synchronized measurements to detect faults and prevent cascading failures, with timing requirements in the sub-microsecond range. The North American Electric Reliability Corporation (NERC) has established standards requiring timing resilience in power systems, making thermal compensation in timing devices a regulatory compliance issue.
Telecommunications infrastructure relies on CSACs for maintaining synchronization in 5G networks, where timing errors can lead to data transmission failures or reduced bandwidth efficiency. Base stations deployed in varying climatic conditions must maintain timing accuracy despite environmental challenges, with thermal compensation techniques becoming a key differentiator in equipment reliability ratings.
Financial trading systems represent another critical application where nanosecond-level timing accuracy directly translates to competitive advantage. High-frequency trading platforms utilize CSACs to timestamp transactions, with regulatory bodies including the Securities and Exchange Commission (SEC) mandating traceable timing accuracy for audit purposes. The deployment of trading systems in diverse geographic locations exposes timing equipment to varying thermal conditions, necessitating robust compensation techniques.
Transportation systems including air traffic control, railway signaling, and autonomous vehicle networks increasingly depend on distributed timing systems that must function reliably regardless of environmental conditions. The Federal Aviation Administration (FAA) has identified timing resilience as a key component in NextGen air traffic management systems, with thermal stability requirements specified in equipment certification standards.
The thermal stability of CSACs directly impacts national security operations, as timing errors can compromise encrypted communications or lead to positional inaccuracies in navigation systems. Special operations forces operating in extreme environmental conditions—from arctic deployments to desert warfare—require timing devices that maintain stability across temperature fluctuations ranging from -40°C to +85°C. Recent field tests conducted by the Defense Advanced Research Projects Agency (DARPA) demonstrated that uncompensated thermal drift can introduce timing errors exceeding 10^-10 in frequency stability, potentially compromising mission-critical systems.
Critical infrastructure sectors including power grids, telecommunications networks, and financial systems similarly depend on precise timing for synchronization. Power grid substations utilize time-synchronized measurements to detect faults and prevent cascading failures, with timing requirements in the sub-microsecond range. The North American Electric Reliability Corporation (NERC) has established standards requiring timing resilience in power systems, making thermal compensation in timing devices a regulatory compliance issue.
Telecommunications infrastructure relies on CSACs for maintaining synchronization in 5G networks, where timing errors can lead to data transmission failures or reduced bandwidth efficiency. Base stations deployed in varying climatic conditions must maintain timing accuracy despite environmental challenges, with thermal compensation techniques becoming a key differentiator in equipment reliability ratings.
Financial trading systems represent another critical application where nanosecond-level timing accuracy directly translates to competitive advantage. High-frequency trading platforms utilize CSACs to timestamp transactions, with regulatory bodies including the Securities and Exchange Commission (SEC) mandating traceable timing accuracy for audit purposes. The deployment of trading systems in diverse geographic locations exposes timing equipment to varying thermal conditions, necessitating robust compensation techniques.
Transportation systems including air traffic control, railway signaling, and autonomous vehicle networks increasingly depend on distributed timing systems that must function reliably regardless of environmental conditions. The Federal Aviation Administration (FAA) has identified timing resilience as a key component in NextGen air traffic management systems, with thermal stability requirements specified in equipment certification standards.
Unlock deeper insights with Patsnap Eureka Quick Research — get a full tech report to explore trends and direct your research. Try now!
Generate Your Research Report Instantly with AI Agent
Supercharge your innovation with Patsnap Eureka AI Agent Platform!