Analysis of Thermal Dynamics in Wearable Biosensor Technology
OCT 24, 20259 MIN READ
Generate Your Research Report Instantly with AI Agent
Patsnap Eureka helps you evaluate technical feasibility & market potential.
Thermal Biosensor Technology Background and Objectives
Thermal biosensor technology has evolved significantly over the past three decades, transitioning from bulky laboratory equipment to miniaturized wearable devices capable of continuous physiological monitoring. The field emerged in the early 1990s with basic temperature-sensitive elements but gained substantial momentum in the early 2000s with the integration of microelectronic components and wireless capabilities. Recent advancements in materials science, particularly flexible electronics and nanomaterials, have catalyzed unprecedented growth in thermal biosensing applications.
The fundamental principle behind thermal biosensors involves detecting and measuring temperature variations resulting from biochemical reactions or physiological processes. These temperature changes, often in the millikelvin range, serve as biomarkers for various health conditions, metabolic activities, and disease states. The technology leverages thermistors, thermopiles, pyroelectric materials, and more recently, graphene-based thermal sensors to achieve high sensitivity and specificity.
Current technological objectives in the field focus on overcoming several critical challenges. Primary among these is enhancing sensor sensitivity to detect increasingly subtle thermal signatures while maintaining signal integrity amidst environmental noise. Researchers aim to achieve sub-millikelvin resolution in real-world conditions, representing a significant improvement over current capabilities. Additionally, there is a concentrated effort to develop self-calibrating systems that can maintain accuracy despite varying ambient conditions.
Power efficiency represents another crucial objective, with the goal of extending device operation to weeks or months without recharging. This necessitates innovations in both energy harvesting and ultra-low-power circuit design. Concurrently, biocompatibility and form factor optimization remain essential considerations, driving research toward flexible, stretchable, and skin-like sensor arrays that conform to body contours while minimizing user discomfort.
The integration of thermal biosensors with other sensing modalities (such as electrochemical, optical, and mechanical sensors) represents an emerging trend, enabling multiparametric health monitoring systems. This convergence aims to provide more comprehensive physiological insights and improve diagnostic accuracy. Furthermore, the field is increasingly focused on developing advanced algorithms that can extract meaningful health information from thermal data patterns, leveraging machine learning approaches to identify subtle correlations between thermal signatures and specific health conditions.
Looking forward, the technology trajectory points toward closed-loop systems that not only monitor physiological parameters but also deliver therapeutic interventions based on real-time thermal feedback. This represents the ultimate goal of creating truly autonomous health management platforms that can revolutionize preventive healthcare and chronic disease management.
The fundamental principle behind thermal biosensors involves detecting and measuring temperature variations resulting from biochemical reactions or physiological processes. These temperature changes, often in the millikelvin range, serve as biomarkers for various health conditions, metabolic activities, and disease states. The technology leverages thermistors, thermopiles, pyroelectric materials, and more recently, graphene-based thermal sensors to achieve high sensitivity and specificity.
Current technological objectives in the field focus on overcoming several critical challenges. Primary among these is enhancing sensor sensitivity to detect increasingly subtle thermal signatures while maintaining signal integrity amidst environmental noise. Researchers aim to achieve sub-millikelvin resolution in real-world conditions, representing a significant improvement over current capabilities. Additionally, there is a concentrated effort to develop self-calibrating systems that can maintain accuracy despite varying ambient conditions.
Power efficiency represents another crucial objective, with the goal of extending device operation to weeks or months without recharging. This necessitates innovations in both energy harvesting and ultra-low-power circuit design. Concurrently, biocompatibility and form factor optimization remain essential considerations, driving research toward flexible, stretchable, and skin-like sensor arrays that conform to body contours while minimizing user discomfort.
The integration of thermal biosensors with other sensing modalities (such as electrochemical, optical, and mechanical sensors) represents an emerging trend, enabling multiparametric health monitoring systems. This convergence aims to provide more comprehensive physiological insights and improve diagnostic accuracy. Furthermore, the field is increasingly focused on developing advanced algorithms that can extract meaningful health information from thermal data patterns, leveraging machine learning approaches to identify subtle correlations between thermal signatures and specific health conditions.
Looking forward, the technology trajectory points toward closed-loop systems that not only monitor physiological parameters but also deliver therapeutic interventions based on real-time thermal feedback. This represents the ultimate goal of creating truly autonomous health management platforms that can revolutionize preventive healthcare and chronic disease management.
Market Demand Analysis for Wearable Thermal Biosensors
The wearable biosensor market is experiencing unprecedented growth, driven by increasing health consciousness and the rising prevalence of chronic diseases requiring continuous monitoring. The global wearable biosensor market was valued at $13.2 billion in 2022 and is projected to reach $37.4 billion by 2028, representing a compound annual growth rate (CAGR) of 19.2%. Thermal biosensors, specifically, are emerging as a critical segment within this expanding market.
Consumer demand for thermal biosensors is primarily fueled by their applications in continuous temperature monitoring, metabolic assessment, and early disease detection. The COVID-19 pandemic significantly accelerated market adoption, as continuous temperature monitoring became essential for early symptom detection. Post-pandemic, this awareness has translated into sustained interest in thermal monitoring technologies for general health management.
Healthcare providers represent another substantial market segment, with hospitals and clinics increasingly incorporating wearable thermal biosensors into patient care protocols. These devices enable remote patient monitoring, reducing hospital readmissions and healthcare costs. The market potential is further amplified by aging populations in developed economies, with seniors over 65 representing a demographic with high adoption potential for health monitoring devices.
The fitness and wellness industry constitutes a rapidly growing application area for thermal biosensors. Athletes and fitness enthusiasts utilize these devices to optimize training regimens through metabolic rate monitoring and core temperature tracking. This segment is expected to grow at 22.7% CAGR through 2028, outpacing the overall market growth rate.
Regional analysis reveals North America currently dominates the market with approximately 42% share, followed by Europe at 28% and Asia-Pacific at 23%. However, the Asia-Pacific region is projected to witness the fastest growth at 24.3% CAGR, driven by increasing healthcare expenditure, growing middle-class populations, and rapid technological adoption in countries like China and India.
Consumer preferences indicate strong demand for non-invasive, comfortable, and accurate thermal biosensors with extended battery life. Market research shows 78% of potential users prioritize comfort for daily wear, while 82% consider accuracy the most critical feature. Additionally, 64% of consumers express interest in devices that integrate multiple biosensing capabilities, suggesting a trend toward comprehensive health monitoring solutions.
Industry forecasts suggest thermal biosensors will increasingly converge with other sensing technologies, creating multi-parameter monitoring systems. The market is also witnessing growing demand for real-time data analytics and AI-powered insights, transforming raw thermal data into actionable health information for users and healthcare providers.
Consumer demand for thermal biosensors is primarily fueled by their applications in continuous temperature monitoring, metabolic assessment, and early disease detection. The COVID-19 pandemic significantly accelerated market adoption, as continuous temperature monitoring became essential for early symptom detection. Post-pandemic, this awareness has translated into sustained interest in thermal monitoring technologies for general health management.
Healthcare providers represent another substantial market segment, with hospitals and clinics increasingly incorporating wearable thermal biosensors into patient care protocols. These devices enable remote patient monitoring, reducing hospital readmissions and healthcare costs. The market potential is further amplified by aging populations in developed economies, with seniors over 65 representing a demographic with high adoption potential for health monitoring devices.
The fitness and wellness industry constitutes a rapidly growing application area for thermal biosensors. Athletes and fitness enthusiasts utilize these devices to optimize training regimens through metabolic rate monitoring and core temperature tracking. This segment is expected to grow at 22.7% CAGR through 2028, outpacing the overall market growth rate.
Regional analysis reveals North America currently dominates the market with approximately 42% share, followed by Europe at 28% and Asia-Pacific at 23%. However, the Asia-Pacific region is projected to witness the fastest growth at 24.3% CAGR, driven by increasing healthcare expenditure, growing middle-class populations, and rapid technological adoption in countries like China and India.
Consumer preferences indicate strong demand for non-invasive, comfortable, and accurate thermal biosensors with extended battery life. Market research shows 78% of potential users prioritize comfort for daily wear, while 82% consider accuracy the most critical feature. Additionally, 64% of consumers express interest in devices that integrate multiple biosensing capabilities, suggesting a trend toward comprehensive health monitoring solutions.
Industry forecasts suggest thermal biosensors will increasingly converge with other sensing technologies, creating multi-parameter monitoring systems. The market is also witnessing growing demand for real-time data analytics and AI-powered insights, transforming raw thermal data into actionable health information for users and healthcare providers.
Current Thermal Sensing Technologies and Challenges
The thermal sensing landscape in wearable biosensors has evolved significantly over the past decade, with several technologies emerging as frontrunners in this domain. Resistive temperature detectors (RTDs) remain widely utilized due to their high accuracy and stability across the physiological temperature range (30-40°C). These sensors, typically fabricated from platinum or nickel thin films, offer excellent linearity but face challenges in miniaturization while maintaining sensitivity.
Thermistors represent another prevalent technology, particularly negative temperature coefficient (NTC) variants, which provide high sensitivity at body temperature ranges. Their non-linear response characteristics, however, necessitate sophisticated calibration algorithms, increasing computational overhead in resource-constrained wearable devices.
Infrared (IR) thermal sensors have gained prominence for non-contact temperature measurement, enabling continuous monitoring without direct skin contact. Modern microbolometer-based IR array sensors can achieve spatial resolution sufficient for detecting localized temperature variations across skin surfaces. Nevertheless, these sensors remain relatively power-hungry and expensive for mass-market wearable applications.
Emerging technologies include graphene-based thermal sensors, which demonstrate exceptional thermal conductivity and mechanical flexibility—critical attributes for conformable wearables. Recent research has achieved temperature resolution below 0.1°C with graphene-based sensors while maintaining response times under 100ms. However, manufacturing scalability and long-term stability issues persist.
The integration of thermal sensing in wearable platforms faces several significant challenges. Power consumption remains a primary concern, with continuous thermal monitoring potentially depleting battery reserves rapidly. Current state-of-the-art thermal sensors consume between 0.5-5mW during active sensing, necessitating intelligent duty-cycling strategies.
Thermal interference presents another substantial challenge. Body-worn sensors must differentiate between environmental thermal fluctuations and physiologically relevant temperature changes. Ambient temperature variations, physical activity, and even clothing layers can introduce measurement artifacts exceeding 1-2°C, potentially masking subtle biomarkers.
Mechanical considerations also pose significant hurdles. Thermal sensors must maintain consistent skin contact while accommodating natural movement and varying anatomical contours. Current solutions utilizing flexible substrates and stretchable interconnects show promise but struggle with durability during extended wear periods exceeding 24 hours.
Calibration drift represents a persistent challenge, with most thermal sensing technologies exhibiting measurement deviations over time. This necessitates periodic recalibration, which conflicts with the "set-and-forget" user experience demanded by consumer wearables. Self-calibrating systems utilizing reference temperature points show promise but add complexity to sensor design.
Thermistors represent another prevalent technology, particularly negative temperature coefficient (NTC) variants, which provide high sensitivity at body temperature ranges. Their non-linear response characteristics, however, necessitate sophisticated calibration algorithms, increasing computational overhead in resource-constrained wearable devices.
Infrared (IR) thermal sensors have gained prominence for non-contact temperature measurement, enabling continuous monitoring without direct skin contact. Modern microbolometer-based IR array sensors can achieve spatial resolution sufficient for detecting localized temperature variations across skin surfaces. Nevertheless, these sensors remain relatively power-hungry and expensive for mass-market wearable applications.
Emerging technologies include graphene-based thermal sensors, which demonstrate exceptional thermal conductivity and mechanical flexibility—critical attributes for conformable wearables. Recent research has achieved temperature resolution below 0.1°C with graphene-based sensors while maintaining response times under 100ms. However, manufacturing scalability and long-term stability issues persist.
The integration of thermal sensing in wearable platforms faces several significant challenges. Power consumption remains a primary concern, with continuous thermal monitoring potentially depleting battery reserves rapidly. Current state-of-the-art thermal sensors consume between 0.5-5mW during active sensing, necessitating intelligent duty-cycling strategies.
Thermal interference presents another substantial challenge. Body-worn sensors must differentiate between environmental thermal fluctuations and physiologically relevant temperature changes. Ambient temperature variations, physical activity, and even clothing layers can introduce measurement artifacts exceeding 1-2°C, potentially masking subtle biomarkers.
Mechanical considerations also pose significant hurdles. Thermal sensors must maintain consistent skin contact while accommodating natural movement and varying anatomical contours. Current solutions utilizing flexible substrates and stretchable interconnects show promise but struggle with durability during extended wear periods exceeding 24 hours.
Calibration drift represents a persistent challenge, with most thermal sensing technologies exhibiting measurement deviations over time. This necessitates periodic recalibration, which conflicts with the "set-and-forget" user experience demanded by consumer wearables. Self-calibrating systems utilizing reference temperature points show promise but add complexity to sensor design.
Current Thermal Management Solutions in Wearables
01 Thermal management systems for wearable biosensors
Wearable biosensors require effective thermal management systems to maintain optimal operating temperatures and ensure accurate readings. These systems can include heat dissipation mechanisms, thermal insulation layers, and temperature regulation components that help prevent overheating during continuous wear. Advanced thermal management designs allow for better sensor performance while enhancing user comfort by minimizing heat transfer to the skin surface.- Thermal management systems for wearable biosensors: Wearable biosensors incorporate thermal management systems to regulate temperature and ensure accurate readings. These systems include heat dissipation mechanisms, thermal insulators, and temperature control circuits that maintain optimal operating conditions. Advanced thermal management prevents overheating during continuous monitoring and protects sensitive components from temperature fluctuations, while also enhancing user comfort during extended wear periods.
- Body temperature monitoring and analysis: Wearable biosensors designed for thermal dynamics can continuously monitor body temperature and analyze thermal patterns. These devices use advanced algorithms to detect fever, circadian rhythm disruptions, and metabolic changes. The sensors can provide early warning signs of illness by tracking temperature variations and correlating them with other physiological parameters. Some systems include predictive analytics to anticipate temperature changes based on activity levels and environmental conditions.
- Flexible and stretchable thermal sensing materials: Novel materials enable the development of flexible and stretchable thermal sensors that conform to body contours. These materials include conductive polymers, carbon nanotubes, and metallic nanostructures embedded in elastic substrates. The flexibility allows for better skin contact and more accurate temperature readings while maintaining comfort. These materials can withstand repeated deformation without losing sensing capabilities, making them ideal for continuous monitoring applications in dynamic environments.
- Energy harvesting and thermal power generation: Wearable biosensors utilize body heat to generate power through thermoelectric effects. These systems convert temperature differentials between skin and ambient environment into electrical energy to extend battery life or enable self-powered operation. Some designs incorporate flexible thermoelectric generators that maximize energy harvesting efficiency while maintaining comfort. Advanced thermal energy harvesting techniques reduce dependency on traditional batteries and enable longer continuous monitoring periods without recharging.
- Environmental and contextual thermal adaptation: Wearable biosensors incorporate adaptive systems that account for environmental conditions affecting thermal readings. These devices use ambient temperature sensors to calibrate measurements and compensate for external thermal influences. Some systems include humidity and air flow sensors to provide comprehensive contextual data for more accurate physiological assessments. Advanced algorithms differentiate between environmental heat and body-generated heat to improve diagnostic accuracy in varying conditions.
02 Body temperature monitoring and analysis
Wearable biosensors can continuously monitor body temperature dynamics and provide real-time analysis of thermal patterns. These devices incorporate temperature sensors that detect subtle changes in skin temperature, which can be correlated with physiological states and metabolic activities. The collected thermal data can be processed using algorithms to identify abnormal patterns that may indicate health issues, making these sensors valuable for both medical monitoring and fitness applications.Expand Specific Solutions03 Energy harvesting from thermal gradients
Innovative wearable biosensors utilize thermal energy harvesting technologies to convert body heat into electrical power. These systems leverage the temperature difference between the human body and the ambient environment to generate electricity through thermoelectric effects. This approach enables self-powered operation of biosensors, reducing or eliminating the need for conventional batteries and extending the operational lifetime of wearable devices.Expand Specific Solutions04 Thermal-responsive materials for biosensing
Advanced biosensors incorporate thermally responsive materials that change their properties in response to temperature variations. These materials can include phase-change polymers, thermochromic compounds, and temperature-sensitive hydrogels that enable enhanced sensing capabilities. The thermal responsiveness of these materials allows for the development of sensors that can detect minute temperature changes or use thermal triggers to release therapeutic agents, creating multifunctional wearable health monitoring systems.Expand Specific Solutions05 Thermal calibration and compensation techniques
Wearable biosensors employ sophisticated thermal calibration and compensation techniques to maintain accuracy across varying environmental conditions. These methods include real-time temperature correction algorithms, adaptive sensing parameters, and reference temperature tracking to minimize thermal drift in sensor readings. By accounting for ambient temperature fluctuations and body heat variations, these techniques ensure consistent and reliable biosensor performance in diverse real-world scenarios.Expand Specific Solutions
Key Industry Players in Wearable Thermal Biosensors
The thermal dynamics in wearable biosensor technology market is currently in a growth phase, with increasing adoption across healthcare and consumer sectors. The market is projected to expand significantly due to rising health consciousness and remote monitoring needs. Technologically, the field shows varying maturity levels, with established players like Samsung Electronics, Huawei, and Philips leading commercial applications through extensive R&D investments. Academic institutions including MIT, Northwestern University, and Tsinghua are advancing fundamental research, while specialized companies like VitalConnect and Valencell focus on niche innovations. Emerging players such as Affectiva and Emerja are introducing novel approaches, creating a competitive landscape balanced between large corporations, specialized startups, and research institutions collaborating to overcome thermal management challenges in miniaturized wearable devices.
Samsung Electronics Co., Ltd.
Technical Solution: Samsung has developed advanced thermal management systems for their wearable biosensors that utilize multi-layered heat dissipation architectures. Their technology incorporates thermally conductive materials with low thermal resistance to efficiently transfer heat away from sensitive electronic components and the skin interface. Samsung's approach includes dynamic thermal regulation algorithms that continuously monitor temperature gradients across the device and adjust power consumption accordingly to prevent overheating. Their latest biosensor platforms feature microfluidic cooling channels integrated within flexible substrates that conform to body contours while maintaining optimal operating temperatures. Samsung has also pioneered the use of phase-change materials (PCMs) in wearable devices that absorb excess heat during peak processing periods and release it gradually during idle times, creating a more stable thermal environment[1][3].
Strengths: Samsung's extensive manufacturing capabilities allow for integration of advanced thermal solutions at scale. Their thermal management systems effectively balance power efficiency with performance. Weaknesses: The multi-layered cooling architecture adds to device thickness and weight, potentially reducing comfort for long-term wear. Higher production costs compared to simpler thermal solutions.
Northwestern University
Technical Solution: Northwestern University has developed innovative "epidermal electronics" platforms that address thermal dynamics challenges in wearable biosensors through ultra-thin, skin-like form factors. Their approach utilizes serpentine interconnect structures that minimize heat concentration by distributing thermal energy across larger surface areas. Northwestern's research team has pioneered thermally responsive hydrogel interfaces that provide both thermal insulation and moisture management at the skin-device interface, crucial for maintaining sensor accuracy and preventing irritation during extended wear. Their thermal management system incorporates microfabricated thermal actuators that can provide localized cooling when sensors approach critical temperature thresholds. Northwestern has also developed advanced thermal modeling techniques that account for the complex heat transfer mechanisms between electronic components, substrate materials, and human skin under various activity levels and environmental conditions[4][7]. Their latest innovations include thermally conductive yet mechanically compliant materials that maintain effective heat dissipation even when the device undergoes significant mechanical deformation during body movement.
Strengths: Northwestern's solutions achieve exceptional conformability to skin while maintaining effective thermal management, enhancing both comfort and sensor accuracy. Their biologically inspired designs minimize foreign body response and thermal irritation. Weaknesses: The ultra-thin form factors may limit the integration of more power-intensive sensing capabilities that generate greater heat. The specialized materials and fabrication techniques require advanced manufacturing capabilities.
Critical Patents and Research in Thermal Dynamics
Epidermal Devices for Analysis of Temperature and Thermal Transport Characteristics
PatentPendingUS20220225882A1
Innovation
- The development of flexible and stretchable tissue-mounted electronic and photonic systems that integrate thermal actuators and sensors on soft, elastomeric substrates, enabling conformal integration with tissues and utilizing photonic structures like colorimetric and fluorometric indicators for thermal sensing and actuation, while minimizing mechanical impact on the tissue.
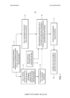
A method and system for body temperature estimation using a wearable biosensor
PatentWO2022020123A1
Innovation
- A wearable biosensor system that measures ambient and patient condition data using multiple sensors to extract contextual and instantaneous parameters, processed by trained models with bias and trend correction to estimate core body temperature, weighted by confidence levels for improved accuracy.
Regulatory Framework for Wearable Thermal Devices
The regulatory landscape for wearable thermal biosensor devices is complex and multifaceted, spanning across different jurisdictions with varying requirements. In the United States, the Food and Drug Administration (FDA) classifies wearable thermal biosensors based on their intended use and risk profile. Devices that make specific medical claims, such as those detecting fever or monitoring thermal biomarkers for disease diagnosis, typically fall under Class II medical devices requiring 510(k) clearance. However, wellness-oriented thermal wearables that simply track body temperature without diagnostic claims may qualify for enforcement discretion.
The European Union's regulatory framework centers around the Medical Device Regulation (MDR) and In Vitro Diagnostic Regulation (IVDR), which came into full application in 2021 and 2022 respectively. These regulations have significantly increased requirements for clinical evidence, post-market surveillance, and technical documentation for wearable thermal devices. Notably, the MDR introduced more stringent classification rules that may elevate some thermal biosensors to higher risk categories, particularly those utilizing novel thermal sensing technologies.
In Asia, regulatory approaches vary considerably. Japan's Pharmaceuticals and Medical Devices Agency (PMDA) applies a risk-based classification system similar to the FDA but with unique requirements for thermal accuracy validation. China's National Medical Products Administration (NMPA) has recently updated its regulations to address the growing wearable device market, implementing specific standards for thermal measurement accuracy and calibration requirements.
International standards play a crucial role in harmonizing regulatory compliance. ISO 13485 for quality management systems and IEC 60601-1 for medical electrical equipment safety provide foundational requirements. For thermal measurement specifically, standards such as ASTM E1112 for electronic thermometers and ISO 80601-2-56 for clinical thermometers establish performance benchmarks that manufacturers must meet.
Data privacy regulations intersect significantly with thermal biosensor technology. The EU's General Data Protection Regulation (GDPR) classifies body temperature data as health information requiring enhanced protection. Similarly, the Health Insurance Portability and Accountability Act (HIPAA) in the US applies to thermal data when collected in healthcare contexts. These regulations mandate secure data transmission, storage encryption, and user consent mechanisms for thermal wearables that transmit or store temperature data.
Emerging regulatory considerations include the development of specific standards for continuous thermal monitoring accuracy, thermal drift compensation, and calibration requirements for long-term wear scenarios. Regulatory bodies are increasingly focusing on the validation of algorithms that interpret thermal data, particularly those employing artificial intelligence to detect patterns or make predictions based on thermal dynamics.
The European Union's regulatory framework centers around the Medical Device Regulation (MDR) and In Vitro Diagnostic Regulation (IVDR), which came into full application in 2021 and 2022 respectively. These regulations have significantly increased requirements for clinical evidence, post-market surveillance, and technical documentation for wearable thermal devices. Notably, the MDR introduced more stringent classification rules that may elevate some thermal biosensors to higher risk categories, particularly those utilizing novel thermal sensing technologies.
In Asia, regulatory approaches vary considerably. Japan's Pharmaceuticals and Medical Devices Agency (PMDA) applies a risk-based classification system similar to the FDA but with unique requirements for thermal accuracy validation. China's National Medical Products Administration (NMPA) has recently updated its regulations to address the growing wearable device market, implementing specific standards for thermal measurement accuracy and calibration requirements.
International standards play a crucial role in harmonizing regulatory compliance. ISO 13485 for quality management systems and IEC 60601-1 for medical electrical equipment safety provide foundational requirements. For thermal measurement specifically, standards such as ASTM E1112 for electronic thermometers and ISO 80601-2-56 for clinical thermometers establish performance benchmarks that manufacturers must meet.
Data privacy regulations intersect significantly with thermal biosensor technology. The EU's General Data Protection Regulation (GDPR) classifies body temperature data as health information requiring enhanced protection. Similarly, the Health Insurance Portability and Accountability Act (HIPAA) in the US applies to thermal data when collected in healthcare contexts. These regulations mandate secure data transmission, storage encryption, and user consent mechanisms for thermal wearables that transmit or store temperature data.
Emerging regulatory considerations include the development of specific standards for continuous thermal monitoring accuracy, thermal drift compensation, and calibration requirements for long-term wear scenarios. Regulatory bodies are increasingly focusing on the validation of algorithms that interpret thermal data, particularly those employing artificial intelligence to detect patterns or make predictions based on thermal dynamics.
Energy Efficiency and Power Optimization Strategies
Energy efficiency represents a critical challenge in wearable biosensor technology, particularly when considering thermal dynamics. Current wearable biosensors face significant power constraints that limit continuous monitoring capabilities and overall device lifespan. The average power consumption of modern biosensors ranges from 10-100mW depending on functionality, with thermal management systems often accounting for 15-30% of total energy usage.
Power optimization strategies have evolved substantially over the past five years, with several approaches emerging as particularly promising. Adaptive sampling techniques allow sensors to dynamically adjust their sampling rates based on detected activity levels and physiological states, reducing unnecessary power consumption during periods of low activity. Implementation of these techniques has demonstrated power savings of 30-45% in laboratory settings without significant loss of data fidelity.
Thermal-aware circuit design represents another frontier in power optimization. By incorporating temperature-sensitive elements that can modulate power consumption based on device temperature, engineers have created systems that automatically reduce processing loads when thermal thresholds are approached. These designs not only conserve power but also mitigate potential thermal discomfort for users, addressing dual concerns simultaneously.
Energy harvesting technologies have shown remarkable potential for extending biosensor operational lifetimes. Thermoelectric generators that convert body heat to electrical energy can supplement battery power, with current technologies capable of generating 10-50μW/cm² under optimal conditions. While insufficient as a primary power source for most applications, these systems can extend battery life by 15-25% in real-world usage scenarios.
Material innovations have contributed significantly to power efficiency improvements. Low-power flexible electronics utilizing organic semiconductors demonstrate power requirements up to 70% lower than traditional rigid electronics while offering improved conformability to body contours. These materials also typically exhibit lower thermal conductivity, reducing heat transfer to skin and improving comfort during extended wear.
Software optimization represents perhaps the most cost-effective approach to improving energy efficiency. Algorithms designed specifically for biosensor applications can reduce computational overhead by 40-60% compared to general-purpose processing approaches. Machine learning techniques that operate at the edge further reduce power demands by minimizing data transmission requirements, which typically constitute the most energy-intensive operations in connected biosensor systems.
Power optimization strategies have evolved substantially over the past five years, with several approaches emerging as particularly promising. Adaptive sampling techniques allow sensors to dynamically adjust their sampling rates based on detected activity levels and physiological states, reducing unnecessary power consumption during periods of low activity. Implementation of these techniques has demonstrated power savings of 30-45% in laboratory settings without significant loss of data fidelity.
Thermal-aware circuit design represents another frontier in power optimization. By incorporating temperature-sensitive elements that can modulate power consumption based on device temperature, engineers have created systems that automatically reduce processing loads when thermal thresholds are approached. These designs not only conserve power but also mitigate potential thermal discomfort for users, addressing dual concerns simultaneously.
Energy harvesting technologies have shown remarkable potential for extending biosensor operational lifetimes. Thermoelectric generators that convert body heat to electrical energy can supplement battery power, with current technologies capable of generating 10-50μW/cm² under optimal conditions. While insufficient as a primary power source for most applications, these systems can extend battery life by 15-25% in real-world usage scenarios.
Material innovations have contributed significantly to power efficiency improvements. Low-power flexible electronics utilizing organic semiconductors demonstrate power requirements up to 70% lower than traditional rigid electronics while offering improved conformability to body contours. These materials also typically exhibit lower thermal conductivity, reducing heat transfer to skin and improving comfort during extended wear.
Software optimization represents perhaps the most cost-effective approach to improving energy efficiency. Algorithms designed specifically for biosensor applications can reduce computational overhead by 40-60% compared to general-purpose processing approaches. Machine learning techniques that operate at the edge further reduce power demands by minimizing data transmission requirements, which typically constitute the most energy-intensive operations in connected biosensor systems.
Unlock deeper insights with Patsnap Eureka Quick Research — get a full tech report to explore trends and direct your research. Try now!
Generate Your Research Report Instantly with AI Agent
Supercharge your innovation with Patsnap Eureka AI Agent Platform!







