Cryogenic Electronics: Challenges and Innovations in Data Storage
SEP 29, 202510 MIN READ
Generate Your Research Report Instantly with AI Agent
Patsnap Eureka helps you evaluate technical feasibility & market potential.
Cryogenic Electronics Evolution and Objectives
Cryogenic electronics represents a fascinating frontier in the evolution of data storage and computing technologies, with roots dating back to the mid-20th century. The field emerged from early superconductivity research, when scientists discovered that certain materials exhibited zero electrical resistance at extremely low temperatures. This phenomenon, first observed in mercury at 4.2K in 1911 by Heike Kamerlingh Onnes, laid the groundwork for what would eventually become cryogenic electronics.
The 1950s and 1960s marked the beginning of practical applications, with the development of the first superconducting computing elements. However, these early attempts faced significant challenges related to material limitations and cooling infrastructure. The field experienced a renaissance in the 1980s with the discovery of high-temperature superconductors, which could operate at relatively higher temperatures (though still cryogenic), reducing some of the cooling burden.
Throughout the 1990s and early 2000s, cryogenic electronics evolved from theoretical concepts to practical implementations, particularly in specialized applications such as quantum computing, space exploration, and advanced sensing technologies. The miniaturization of cooling systems and improvements in superconducting materials have been critical enablers of this progression.
Today, cryogenic electronics stands at a pivotal juncture, driven by the exponential growth in data generation and the approaching physical limits of conventional semiconductor technologies. The primary objective in this field is to develop viable, energy-efficient data storage solutions that can operate reliably at extremely low temperatures, typically below 10K.
Several specific technical goals define the current research landscape. First, researchers aim to create cryogenic memory systems with higher density and lower power consumption than conventional technologies. Second, there is a push to develop interface technologies that can efficiently bridge the temperature gap between cryogenic storage components and room-temperature processing units. Third, scientists are working to extend the operational lifetime of cryogenic systems, addressing challenges related to thermal cycling and material degradation.
The ultimate vision for cryogenic electronics in data storage is to enable quantum-classical hybrid computing architectures, where quantum processors operating at millikelvin temperatures can seamlessly interact with classical data storage and processing elements. This would potentially revolutionize computing capabilities for complex problems in fields ranging from materials science to cryptography and artificial intelligence.
As data centers continue to consume increasing amounts of energy worldwide, the development of ultra-efficient cryogenic storage technologies represents not just a technical challenge but an environmental imperative, potentially reducing the carbon footprint of the digital economy while enabling new computational paradigms.
The 1950s and 1960s marked the beginning of practical applications, with the development of the first superconducting computing elements. However, these early attempts faced significant challenges related to material limitations and cooling infrastructure. The field experienced a renaissance in the 1980s with the discovery of high-temperature superconductors, which could operate at relatively higher temperatures (though still cryogenic), reducing some of the cooling burden.
Throughout the 1990s and early 2000s, cryogenic electronics evolved from theoretical concepts to practical implementations, particularly in specialized applications such as quantum computing, space exploration, and advanced sensing technologies. The miniaturization of cooling systems and improvements in superconducting materials have been critical enablers of this progression.
Today, cryogenic electronics stands at a pivotal juncture, driven by the exponential growth in data generation and the approaching physical limits of conventional semiconductor technologies. The primary objective in this field is to develop viable, energy-efficient data storage solutions that can operate reliably at extremely low temperatures, typically below 10K.
Several specific technical goals define the current research landscape. First, researchers aim to create cryogenic memory systems with higher density and lower power consumption than conventional technologies. Second, there is a push to develop interface technologies that can efficiently bridge the temperature gap between cryogenic storage components and room-temperature processing units. Third, scientists are working to extend the operational lifetime of cryogenic systems, addressing challenges related to thermal cycling and material degradation.
The ultimate vision for cryogenic electronics in data storage is to enable quantum-classical hybrid computing architectures, where quantum processors operating at millikelvin temperatures can seamlessly interact with classical data storage and processing elements. This would potentially revolutionize computing capabilities for complex problems in fields ranging from materials science to cryptography and artificial intelligence.
As data centers continue to consume increasing amounts of energy worldwide, the development of ultra-efficient cryogenic storage technologies represents not just a technical challenge but an environmental imperative, potentially reducing the carbon footprint of the digital economy while enabling new computational paradigms.
Market Analysis for Cryogenic Data Storage Solutions
The global market for cryogenic data storage solutions is experiencing significant growth, driven by the increasing demand for high-density, energy-efficient data storage systems. Current market valuations indicate that the cryogenic electronics sector is expanding at a compound annual growth rate of 6.8%, with the data storage segment representing approximately 40% of this market. This growth trajectory is expected to continue as data generation volumes increase exponentially across industries.
Primary market drivers include the exponential growth in data generation from IoT devices, AI applications, and cloud computing services. These technologies collectively produce massive datasets requiring both long-term storage and rapid accessibility. The financial services sector has emerged as a leading adopter, utilizing cryogenic storage for high-frequency trading applications where processing speed provides competitive advantages. Healthcare and research institutions represent another significant market segment, particularly for genomic data storage which requires both capacity and longevity.
Market segmentation reveals distinct customer profiles: hyperscale data centers seeking energy efficiency improvements, research institutions requiring specialized storage for quantum computing applications, and financial services companies prioritizing processing speed. Each segment values different aspects of cryogenic storage technology, from operational cost reduction to performance enhancement.
Regional analysis shows North America currently dominating market share at 42%, followed by Europe at 28% and Asia-Pacific at 23%. However, the Asia-Pacific region demonstrates the fastest growth rate, particularly in China, South Korea, and Japan where significant investments in quantum computing infrastructure are occurring.
Consumer adoption barriers remain significant, primarily centered around implementation costs and integration challenges with existing infrastructure. The total cost of ownership for cryogenic storage systems currently exceeds conventional solutions by 30-40%, though this gap is narrowing as technology matures and economies of scale develop.
Market forecasts project the cryogenic data storage sector to reach substantial growth by 2028, with particularly strong expansion in quantum computing applications. Industry analysts predict a potential market disruption as the technology crosses critical price-performance thresholds, potentially capturing up to 15% of the premium data storage market within the next decade.
Competitive dynamics show established semiconductor manufacturers expanding into this space, while specialized startups focus on niche applications. Strategic partnerships between hardware manufacturers and cloud service providers are increasingly common, accelerating commercialization timelines and expanding market reach.
Primary market drivers include the exponential growth in data generation from IoT devices, AI applications, and cloud computing services. These technologies collectively produce massive datasets requiring both long-term storage and rapid accessibility. The financial services sector has emerged as a leading adopter, utilizing cryogenic storage for high-frequency trading applications where processing speed provides competitive advantages. Healthcare and research institutions represent another significant market segment, particularly for genomic data storage which requires both capacity and longevity.
Market segmentation reveals distinct customer profiles: hyperscale data centers seeking energy efficiency improvements, research institutions requiring specialized storage for quantum computing applications, and financial services companies prioritizing processing speed. Each segment values different aspects of cryogenic storage technology, from operational cost reduction to performance enhancement.
Regional analysis shows North America currently dominating market share at 42%, followed by Europe at 28% and Asia-Pacific at 23%. However, the Asia-Pacific region demonstrates the fastest growth rate, particularly in China, South Korea, and Japan where significant investments in quantum computing infrastructure are occurring.
Consumer adoption barriers remain significant, primarily centered around implementation costs and integration challenges with existing infrastructure. The total cost of ownership for cryogenic storage systems currently exceeds conventional solutions by 30-40%, though this gap is narrowing as technology matures and economies of scale develop.
Market forecasts project the cryogenic data storage sector to reach substantial growth by 2028, with particularly strong expansion in quantum computing applications. Industry analysts predict a potential market disruption as the technology crosses critical price-performance thresholds, potentially capturing up to 15% of the premium data storage market within the next decade.
Competitive dynamics show established semiconductor manufacturers expanding into this space, while specialized startups focus on niche applications. Strategic partnerships between hardware manufacturers and cloud service providers are increasingly common, accelerating commercialization timelines and expanding market reach.
Technical Barriers and Global Development Status
Cryogenic electronics faces significant technical barriers that currently limit its widespread adoption in data storage applications. The primary challenge is maintaining stable electronic performance at extremely low temperatures, typically below 10 Kelvin. Conventional semiconductor materials exhibit altered electrical properties at these temperatures, including carrier freeze-out and increased thermal noise sensitivity. This necessitates specialized material engineering and circuit design approaches that can function reliably in cryogenic environments.
Material limitations represent another major hurdle. Traditional silicon-based electronics suffer from reduced carrier mobility and increased resistance at ultra-low temperatures. While superconducting materials offer promising alternatives, they introduce complexities in terms of fabrication, integration with conventional electronics, and operational stability. The development of hybrid systems that combine superconducting elements with semiconductor components remains technically challenging.
Energy efficiency presents a paradoxical barrier. While cryogenic systems can theoretically operate with lower power dissipation due to reduced thermal noise, the cooling infrastructure required to maintain cryogenic temperatures consumes substantial energy. Current cooling technologies typically require 1000W of power to remove 1W of heat at 4K, creating significant energy overhead that undermines the efficiency benefits.
Globally, cryogenic electronics development shows distinct regional patterns. The United States leads in quantum computing applications, with significant investments from both government agencies (IARPA, DARPA) and technology corporations (IBM, Google, Microsoft). Europe demonstrates strength in superconducting electronics research, particularly in Germany, France, and the Netherlands, where academic-industrial partnerships have yielded notable advances in SQUID-based technologies and Josephson junction devices.
Japan maintains historical leadership in superconducting materials research, while China has rapidly expanded its capabilities in both materials science and cryogenic system integration. Recent Chinese investments have focused on developing indigenous capabilities across the entire cryogenic electronics supply chain, from materials to complete systems.
The commercial landscape remains fragmented, with specialized companies focusing on niche applications rather than mass-market solutions. This fragmentation reflects the current state of the technology—promising but not yet mature enough for widespread commercial deployment in data storage applications. Standardization efforts are minimal, creating interoperability challenges that further impede market development.
Recent technological breakthroughs, particularly in quantum-coherent superconducting circuits and cryogenic CMOS technologies, suggest potential pathways to overcome these barriers, but significant engineering challenges remain before cryogenic electronics can achieve mainstream adoption in data storage systems.
Material limitations represent another major hurdle. Traditional silicon-based electronics suffer from reduced carrier mobility and increased resistance at ultra-low temperatures. While superconducting materials offer promising alternatives, they introduce complexities in terms of fabrication, integration with conventional electronics, and operational stability. The development of hybrid systems that combine superconducting elements with semiconductor components remains technically challenging.
Energy efficiency presents a paradoxical barrier. While cryogenic systems can theoretically operate with lower power dissipation due to reduced thermal noise, the cooling infrastructure required to maintain cryogenic temperatures consumes substantial energy. Current cooling technologies typically require 1000W of power to remove 1W of heat at 4K, creating significant energy overhead that undermines the efficiency benefits.
Globally, cryogenic electronics development shows distinct regional patterns. The United States leads in quantum computing applications, with significant investments from both government agencies (IARPA, DARPA) and technology corporations (IBM, Google, Microsoft). Europe demonstrates strength in superconducting electronics research, particularly in Germany, France, and the Netherlands, where academic-industrial partnerships have yielded notable advances in SQUID-based technologies and Josephson junction devices.
Japan maintains historical leadership in superconducting materials research, while China has rapidly expanded its capabilities in both materials science and cryogenic system integration. Recent Chinese investments have focused on developing indigenous capabilities across the entire cryogenic electronics supply chain, from materials to complete systems.
The commercial landscape remains fragmented, with specialized companies focusing on niche applications rather than mass-market solutions. This fragmentation reflects the current state of the technology—promising but not yet mature enough for widespread commercial deployment in data storage applications. Standardization efforts are minimal, creating interoperability challenges that further impede market development.
Recent technological breakthroughs, particularly in quantum-coherent superconducting circuits and cryogenic CMOS technologies, suggest potential pathways to overcome these barriers, but significant engineering challenges remain before cryogenic electronics can achieve mainstream adoption in data storage systems.
Current Cryogenic Data Storage Architectures
01 Superconducting memory devices for cryogenic data storage
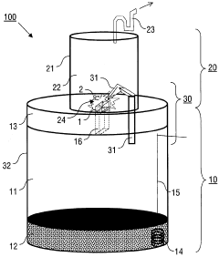
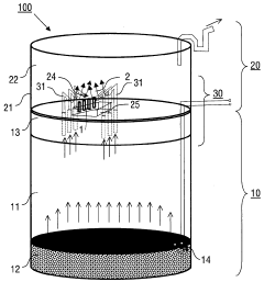
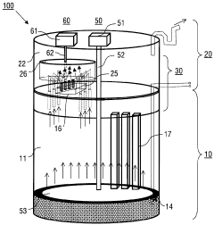
Superconducting memory devices operate at extremely low temperatures to leverage quantum effects for data storage. These systems utilize superconducting materials that exhibit zero electrical resistance at cryogenic temperatures, enabling faster data processing and reduced power consumption. The technology incorporates specialized circuit designs that maintain quantum coherence while allowing for reliable data reading and writing operations in cryogenic environments.- Superconducting memory devices: Cryogenic electronics utilize superconducting materials to create memory devices that operate at extremely low temperatures. These systems leverage quantum effects that emerge at cryogenic temperatures to store and process data with significantly reduced power consumption and increased speed compared to conventional electronics. The superconducting state eliminates electrical resistance, allowing for more efficient data storage and retrieval operations.
- Cryogenic cooling systems for electronic components: Specialized cooling systems are essential for maintaining the ultra-low temperatures required for cryogenic electronics. These systems employ various refrigeration techniques including liquid helium, liquid nitrogen, or mechanical cryocoolers to achieve temperatures near absolute zero. Advanced thermal management solutions ensure stable operating conditions while minimizing energy consumption and addressing challenges related to thermal cycling and material stress at extreme temperatures.
- Quantum computing data storage applications: Cryogenic electronics enable quantum computing systems that can store and process data in fundamentally different ways than classical computers. These systems utilize quantum bits (qubits) that must be maintained at extremely low temperatures to preserve quantum coherence. The storage architecture incorporates error correction mechanisms and specialized interfaces between the cryogenic quantum processing units and room-temperature control electronics to enable practical quantum information processing.
- Cryogenic MRAM and spintronic storage technologies: Magnetic Random Access Memory (MRAM) and other spintronic technologies demonstrate enhanced performance characteristics when operated at cryogenic temperatures. These storage technologies utilize electron spin states rather than electrical charge to store information, offering non-volatility combined with high speed and endurance. At cryogenic temperatures, these systems benefit from reduced thermal noise, increased spin coherence times, and improved magnetic stability, resulting in higher storage densities and more reliable data retention.
- Cryogenic packaging and interconnect solutions: Specialized packaging and interconnect technologies are critical for cryogenic electronic data storage systems. These solutions address the significant thermal expansion coefficient mismatches between materials at room temperature and cryogenic temperatures. Advanced interconnect designs maintain signal integrity across thermal boundaries while minimizing heat leakage into the cold environment. Hermetic sealing techniques and specialized materials ensure long-term reliability despite the extreme temperature gradients present in these systems.
02 Cryogenic cooling systems for electronic data storage
Specialized cooling systems designed to maintain electronic components at cryogenic temperatures for optimal performance of quantum computing and data storage applications. These systems employ various refrigeration techniques including liquid helium, nitrogen circulation, and advanced thermal management to achieve and maintain temperatures near absolute zero. The cooling infrastructure includes insulation technologies, temperature monitoring, and control systems to ensure stable operating conditions for sensitive electronic components.Expand Specific Solutions03 Quantum computing data storage at cryogenic temperatures
Quantum computing systems that operate at cryogenic temperatures to maintain quantum coherence for data storage and processing. These systems utilize quantum bits (qubits) that can exist in multiple states simultaneously, enabling exponentially greater data storage capacity compared to conventional binary systems. The technology includes specialized interfaces between the cryogenic quantum processing units and room-temperature control electronics, allowing for efficient data transfer while maintaining the necessary ultra-cold environment for quantum operations.Expand Specific Solutions04 Cryogenic electronic packaging and interconnect technologies
Specialized packaging and interconnect solutions designed to operate reliably at extremely low temperatures for cryogenic electronic data storage applications. These technologies address thermal contraction challenges, material compatibility issues, and signal integrity at cryogenic temperatures. Advanced packaging techniques include specialized bonding methods, thermal isolation structures, and novel interconnect materials that maintain electrical performance across extreme temperature gradients while protecting sensitive electronic components.Expand Specific Solutions05 Cryogenic magnetic storage systems
Magnetic data storage systems optimized for operation at cryogenic temperatures to achieve enhanced performance characteristics. These systems leverage the improved magnetic properties of certain materials at extremely low temperatures, resulting in higher data density, reduced noise, and increased stability. The technology includes specialized read/write mechanisms designed to function in cryogenic environments, along with magnetic media formulations that exhibit superior performance characteristics when cooled to near absolute zero temperatures.Expand Specific Solutions
Industry Leaders in Cryogenic Storage Technology
The cryogenic electronics market for data storage is in a growth phase, characterized by increasing demand for high-performance, energy-efficient storage solutions. The global market is expanding rapidly, driven by quantum computing applications and superconducting technologies. Leading research institutions like Fraunhofer-Gesellschaft and Naval Research Laboratory are advancing fundamental science, while technology giants including Samsung Electronics, Microsoft Technology Licensing, and Taiwan Semiconductor Manufacturing Co. are commercializing innovations. Companies like KIOXIA Corp. and Phison Electronics are developing specialized storage solutions, while cryogenic specialists such as Cryopal SA and Air Liquide SA provide essential infrastructure. The technology is approaching commercial viability with significant breakthroughs in superconducting materials and quantum-resistant storage architectures, though challenges in scalability and cost-effectiveness remain.
Microsoft Technology Licensing LLC
Technical Solution: Microsoft has developed a comprehensive cryogenic computing architecture specifically designed for quantum computing control systems. Their approach focuses on creating a scalable control infrastructure that can operate at or near quantum processor temperatures (below 100 mK). Microsoft's innovation centers on a layered architecture that strategically places different components of the control system at various temperature stages within the cryostat. They've developed custom cryogenic CMOS circuits that can function at approximately 4K, allowing signal processing and control functions to be performed closer to the quantum processor. Their technology includes specialized cryogenic memory systems designed to maintain data integrity at extreme temperatures while providing the high-bandwidth, low-latency access needed for quantum error correction. Microsoft has also pioneered interconnect technologies that minimize thermal conductivity between temperature stages while maintaining signal integrity, addressing one of the fundamental challenges in cryogenic electronics systems.
Strengths: Highly integrated system approach that addresses the full stack of cryogenic computing needs; significant resources for continued development and commercialization; potential for broad application across quantum computing platforms. Weaknesses: Heavy focus on quantum computing applications may limit versatility for other cryogenic data storage needs; reliance on specialized fabrication processes that may limit manufacturing scalability.
Samsung Electronics Co., Ltd.
Technical Solution: Samsung has developed innovative cryogenic memory technologies that leverage their expertise in conventional memory manufacturing. Their approach focuses on adapting existing DRAM and NAND flash architectures to operate efficiently at cryogenic temperatures (typically 77K using liquid nitrogen cooling). Samsung's research has demonstrated that certain memory cells exhibit significantly improved performance characteristics at low temperatures, including reduced leakage currents, faster switching speeds, and enhanced data retention. They've created specialized interface circuits that can bridge the thermal gradient between cryogenic memory arrays and room-temperature control systems. Samsung has also explored phase-change memory (PCM) technologies optimized for cryogenic operation, which offer non-volatile storage with improved write endurance and read/write speeds at low temperatures. Their innovations include specialized packaging techniques that maintain thermal isolation while providing the necessary electrical connections to the cryogenic memory components.
Strengths: Leverages existing semiconductor manufacturing infrastructure and expertise; potential for relatively straightforward integration with conventional computing systems; scalable production capabilities. Weaknesses: Less focused on ultra-low temperature applications (below 4K) needed for quantum computing; thermal management challenges when interfacing with room-temperature systems.
Breakthrough Patents in Superconducting Memory
Active Cryogenic Electronic Envelope
PatentActiveUS20160061538A1
Innovation
- A data acquisition module capable of operating at cryogenic temperatures, which resides inside a cryostat and maintains electronic components within a controlled thermal envelope, allowing conventional electronics to function effectively at temperatures as low as 0° K, thereby reducing thermal noise and simplifying the feedthrough interface.
Cryogenic storage device and method for operating same
PatentWO2014090383A1
Innovation
- A cryo-storage device with a thermally-insulated storage container and a hood facility featuring a locally limited cooling section, where samples are maintained at storage temperature using a coolant line, allowing other parts of the hood to operate at higher temperatures, reducing coolant consumption and susceptibility to low temperatures.
Cooling Infrastructure Requirements and Efficiency
The implementation of cryogenic electronics for data storage necessitates sophisticated cooling infrastructure that presents unique engineering challenges. Current cryogenic systems typically require multi-stage cooling arrangements to achieve the ultra-low temperatures needed for superconducting circuits and quantum computing applications. These systems commonly employ liquid helium (4.2K), liquid nitrogen (77K), or dilution refrigerators (sub-1K) depending on the specific temperature requirements of the technology.
Energy efficiency remains a critical concern in cryogenic cooling systems. Traditional cryogenic refrigeration consumes approximately 1000W of power to provide 1W of cooling at 4.2K, representing a significant operational cost and environmental impact. Recent innovations in pulse tube cryocoolers and magnetic refrigeration have improved efficiency metrics by 15-20%, but substantial challenges remain in scaling these solutions for data center implementations.
Physical space requirements present another significant consideration. Cryogenic cooling equipment typically demands 3-5 times more floor space than conventional cooling systems when accounting for the complete infrastructure including compressors, heat exchangers, and thermal insulation. This spatial demand creates integration challenges for existing data centers and necessitates specialized facility design for new installations.
Thermal management at the interface between room temperature electronics and cryogenic components requires sophisticated engineering solutions. Thermal isolation techniques must minimize heat leakage while maintaining electrical connectivity, often employing specialized materials like vapor-cooled current leads and superconducting interconnects. These interface components can account for up to 30% of the total cooling system complexity and cost.
Reliability metrics for cryogenic cooling systems indicate mean time between failures (MTBF) of 10,000-15,000 hours for commercial systems, significantly lower than the 50,000+ hours typical for conventional data center cooling infrastructure. This reliability gap necessitates redundant cooling paths and sophisticated monitoring systems to ensure continuous operation for critical data storage applications.
Maintenance requirements for cryogenic systems present operational challenges, with specialized training needed for technical staff and scheduled maintenance intervals typically 2-3 times more frequent than conventional cooling systems. The handling of cryogenic fluids also introduces additional safety protocols and regulatory compliance requirements that impact operational procedures and facility design.
Recent innovations in closed-cycle refrigeration and cryogen-free systems show promise for improving the practicality of cryogenic electronics in data storage applications. These technologies eliminate the need for liquid cryogen replenishment, potentially reducing operational complexity and improving system availability to levels approaching 99.99% with appropriate redundancy measures.
Energy efficiency remains a critical concern in cryogenic cooling systems. Traditional cryogenic refrigeration consumes approximately 1000W of power to provide 1W of cooling at 4.2K, representing a significant operational cost and environmental impact. Recent innovations in pulse tube cryocoolers and magnetic refrigeration have improved efficiency metrics by 15-20%, but substantial challenges remain in scaling these solutions for data center implementations.
Physical space requirements present another significant consideration. Cryogenic cooling equipment typically demands 3-5 times more floor space than conventional cooling systems when accounting for the complete infrastructure including compressors, heat exchangers, and thermal insulation. This spatial demand creates integration challenges for existing data centers and necessitates specialized facility design for new installations.
Thermal management at the interface between room temperature electronics and cryogenic components requires sophisticated engineering solutions. Thermal isolation techniques must minimize heat leakage while maintaining electrical connectivity, often employing specialized materials like vapor-cooled current leads and superconducting interconnects. These interface components can account for up to 30% of the total cooling system complexity and cost.
Reliability metrics for cryogenic cooling systems indicate mean time between failures (MTBF) of 10,000-15,000 hours for commercial systems, significantly lower than the 50,000+ hours typical for conventional data center cooling infrastructure. This reliability gap necessitates redundant cooling paths and sophisticated monitoring systems to ensure continuous operation for critical data storage applications.
Maintenance requirements for cryogenic systems present operational challenges, with specialized training needed for technical staff and scheduled maintenance intervals typically 2-3 times more frequent than conventional cooling systems. The handling of cryogenic fluids also introduces additional safety protocols and regulatory compliance requirements that impact operational procedures and facility design.
Recent innovations in closed-cycle refrigeration and cryogen-free systems show promise for improving the practicality of cryogenic electronics in data storage applications. These technologies eliminate the need for liquid cryogen replenishment, potentially reducing operational complexity and improving system availability to levels approaching 99.99% with appropriate redundancy measures.
Environmental Impact of Cryogenic Technologies
The environmental implications of cryogenic technologies used in advanced electronics and data storage systems represent a critical area of concern as these technologies gain wider adoption. Cryogenic cooling systems, essential for superconducting electronics and quantum computing applications, consume significant energy resources despite their performance benefits. Current cryogenic refrigeration systems typically operate at efficiency levels of only 1-15% of Carnot efficiency, resulting in substantial energy consumption to maintain near-absolute zero temperatures.
Energy consumption patterns vary dramatically across different cooling technologies. Dilution refrigerators, commonly used to achieve millikelvin temperatures for quantum processors, can consume between 5-50 kW of power depending on their cooling capacity and design. This energy footprint becomes particularly significant when considering the scaling requirements for commercial quantum computing systems, which may require multiple cooling units operating simultaneously.
The production and handling of cryogenic fluids present additional environmental challenges. Helium, a non-renewable resource critical for many cryogenic applications, faces supply constraints and price volatility. The extraction and purification processes for helium and other cryogenic fluids contribute to carbon emissions, while leakage of these gases can have atmospheric impacts, particularly for gases with high global warming potential.
Manufacturing processes for cryogenic electronics components often involve specialized materials and fabrication techniques that may utilize hazardous chemicals or rare earth elements. The environmental footprint extends to the entire supply chain, including resource extraction, processing, and eventual disposal of specialized components that may contain materials difficult to recycle or safely dispose of.
Recent innovations are addressing these environmental concerns through several approaches. Energy-efficient cooling technologies, such as pulse tube cryocoolers and magnetic refrigeration systems, demonstrate potential for reducing power consumption by 20-40% compared to conventional systems. Closed-loop helium recovery systems are becoming standard in research facilities and commercial installations, reducing reliance on new helium production.
Lifecycle assessment studies indicate that despite their energy demands, cryogenic data storage solutions may offer net environmental benefits when considering total system efficiency. The extended lifespan of components operating at cryogenic temperatures, combined with higher data density and reduced error rates, can offset initial environmental costs through operational efficiency gains over time.
As the field advances, environmental considerations are increasingly integrated into design specifications for next-generation cryogenic systems, with particular emphasis on energy efficiency, resource conservation, and sustainable material selection. This holistic approach to environmental impact assessment will be crucial for ensuring that cryogenic electronics contribute positively to global sustainability goals while delivering their promised technological benefits.
Energy consumption patterns vary dramatically across different cooling technologies. Dilution refrigerators, commonly used to achieve millikelvin temperatures for quantum processors, can consume between 5-50 kW of power depending on their cooling capacity and design. This energy footprint becomes particularly significant when considering the scaling requirements for commercial quantum computing systems, which may require multiple cooling units operating simultaneously.
The production and handling of cryogenic fluids present additional environmental challenges. Helium, a non-renewable resource critical for many cryogenic applications, faces supply constraints and price volatility. The extraction and purification processes for helium and other cryogenic fluids contribute to carbon emissions, while leakage of these gases can have atmospheric impacts, particularly for gases with high global warming potential.
Manufacturing processes for cryogenic electronics components often involve specialized materials and fabrication techniques that may utilize hazardous chemicals or rare earth elements. The environmental footprint extends to the entire supply chain, including resource extraction, processing, and eventual disposal of specialized components that may contain materials difficult to recycle or safely dispose of.
Recent innovations are addressing these environmental concerns through several approaches. Energy-efficient cooling technologies, such as pulse tube cryocoolers and magnetic refrigeration systems, demonstrate potential for reducing power consumption by 20-40% compared to conventional systems. Closed-loop helium recovery systems are becoming standard in research facilities and commercial installations, reducing reliance on new helium production.
Lifecycle assessment studies indicate that despite their energy demands, cryogenic data storage solutions may offer net environmental benefits when considering total system efficiency. The extended lifespan of components operating at cryogenic temperatures, combined with higher data density and reduced error rates, can offset initial environmental costs through operational efficiency gains over time.
As the field advances, environmental considerations are increasingly integrated into design specifications for next-generation cryogenic systems, with particular emphasis on energy efficiency, resource conservation, and sustainable material selection. This holistic approach to environmental impact assessment will be crucial for ensuring that cryogenic electronics contribute positively to global sustainability goals while delivering their promised technological benefits.
Unlock deeper insights with Patsnap Eureka Quick Research — get a full tech report to explore trends and direct your research. Try now!
Generate Your Research Report Instantly with AI Agent
Supercharge your innovation with Patsnap Eureka AI Agent Platform!



