Cryogenic Electronics Influence on Military Defense Strategies
SEP 29, 202510 MIN READ
Generate Your Research Report Instantly with AI Agent
Patsnap Eureka helps you evaluate technical feasibility & market potential.
Cryogenic Electronics Evolution and Military Objectives
Cryogenic electronics represents a transformative frontier in military technology, operating at extremely low temperatures to achieve superior performance characteristics unattainable at room temperature. The evolution of this field traces back to the discovery of superconductivity in 1911 by Heike Kamerlingh Onnes, which laid the groundwork for modern cryogenic electronic systems. Over subsequent decades, significant advancements in materials science, quantum physics, and engineering have propelled this technology from theoretical concepts to practical military applications.
The trajectory of cryogenic electronics development has been marked by several pivotal breakthroughs, including the discovery of high-temperature superconductors in the 1980s and the recent innovations in quantum computing architectures. These developments have dramatically expanded the potential applications in defense systems while simultaneously reducing the operational constraints associated with extreme cooling requirements.
Military objectives driving cryogenic electronics research are multifaceted and strategically significant. Primary among these is the enhancement of signal processing capabilities in radar and surveillance systems, where cryogenic components offer unprecedented sensitivity and signal-to-noise ratios. This translates directly to superior detection ranges and discrimination capabilities against increasingly sophisticated threats, including stealth aircraft and hypersonic weapons.
Another critical military objective involves the development of quantum computing platforms for cryptographic applications. Cryogenic quantum processors promise exponential improvements in computational power for breaking enemy encryption and securing friendly communications. Defense agencies worldwide recognize this as a potential game-changer in information warfare and intelligence operations.
Power efficiency represents a third major objective, particularly relevant for space-based military assets and remote sensing platforms. Cryogenic electronics can dramatically reduce power consumption while increasing computational capabilities, extending mission durations and expanding operational parameters for critical surveillance satellites and deep-space military infrastructure.
The integration of cryogenic superconducting technologies into electromagnetic weapons systems constitutes another significant military objective. These systems aim to leverage the near-zero resistance properties of superconductors to generate unprecedented electromagnetic pulse capabilities with strategic defensive and offensive applications.
Current technological trends indicate an acceleration in the miniaturization and ruggedization of cryogenic cooling systems, potentially enabling field-deployable cryogenic electronics within the next decade. This development would represent a paradigm shift in tactical capabilities, bringing previously centralized processing power to forward operating environments.
The convergence of these evolutionary paths and military objectives is reshaping defense strategy planning, with implications for force structure, operational doctrine, and international security frameworks. As cryogenic electronics continue to mature, their influence on military capabilities will likely prove transformative across multiple domains of warfare.
The trajectory of cryogenic electronics development has been marked by several pivotal breakthroughs, including the discovery of high-temperature superconductors in the 1980s and the recent innovations in quantum computing architectures. These developments have dramatically expanded the potential applications in defense systems while simultaneously reducing the operational constraints associated with extreme cooling requirements.
Military objectives driving cryogenic electronics research are multifaceted and strategically significant. Primary among these is the enhancement of signal processing capabilities in radar and surveillance systems, where cryogenic components offer unprecedented sensitivity and signal-to-noise ratios. This translates directly to superior detection ranges and discrimination capabilities against increasingly sophisticated threats, including stealth aircraft and hypersonic weapons.
Another critical military objective involves the development of quantum computing platforms for cryptographic applications. Cryogenic quantum processors promise exponential improvements in computational power for breaking enemy encryption and securing friendly communications. Defense agencies worldwide recognize this as a potential game-changer in information warfare and intelligence operations.
Power efficiency represents a third major objective, particularly relevant for space-based military assets and remote sensing platforms. Cryogenic electronics can dramatically reduce power consumption while increasing computational capabilities, extending mission durations and expanding operational parameters for critical surveillance satellites and deep-space military infrastructure.
The integration of cryogenic superconducting technologies into electromagnetic weapons systems constitutes another significant military objective. These systems aim to leverage the near-zero resistance properties of superconductors to generate unprecedented electromagnetic pulse capabilities with strategic defensive and offensive applications.
Current technological trends indicate an acceleration in the miniaturization and ruggedization of cryogenic cooling systems, potentially enabling field-deployable cryogenic electronics within the next decade. This development would represent a paradigm shift in tactical capabilities, bringing previously centralized processing power to forward operating environments.
The convergence of these evolutionary paths and military objectives is reshaping defense strategy planning, with implications for force structure, operational doctrine, and international security frameworks. As cryogenic electronics continue to mature, their influence on military capabilities will likely prove transformative across multiple domains of warfare.
Defense Market Requirements for Cryogenic Electronic Systems
The defense sector's demand for cryogenic electronic systems has been steadily increasing due to their superior performance characteristics in critical military applications. These systems, operating at extremely low temperatures, offer significant advantages in signal processing, sensor sensitivity, and computational capabilities that are essential for modern warfare and defense strategies.
Military radar systems represent one of the primary application areas driving demand for cryogenic electronics. Advanced radar technologies require exceptional sensitivity and signal-to-noise ratios to detect stealth targets at greater distances. Cryogenic amplifiers and receivers can dramatically improve radar performance by reducing thermal noise, enabling the detection of smaller targets at longer ranges - a critical capability in contested environments where early threat identification is paramount.
Quantum computing applications in defense present another significant market requirement. Military strategists recognize the potential of quantum computers for breaking encryption, optimizing logistics, and modeling complex battlefield scenarios. These systems typically require cryogenic cooling to maintain quantum coherence, creating demand for specialized cryogenic electronic interfaces and control systems that can operate reliably in these extreme environments.
Electronic warfare systems benefit substantially from cryogenic electronics through enhanced signal detection capabilities and improved jamming effectiveness. The military requires these systems to operate across increasingly crowded electromagnetic spectrums with greater precision and sensitivity than ever before. Cryogenic components enable the detection of weaker signals and provide wider bandwidth operation, critical for identifying and countering emerging threats.
Space-based defense systems represent a growing market segment with stringent requirements for cryogenic electronics. Satellites equipped with infrared sensors for missile detection and tracking must operate at extremely low temperatures to achieve the necessary sensitivity. The defense market demands radiation-hardened cryogenic electronics that can withstand the harsh space environment while maintaining reliable performance for mission-critical applications.
Submarine detection systems utilize cryogenic electronics for enhanced sonar capabilities. The extreme sensitivity provided by superconducting quantum interference devices (SQUIDs) enables the detection of minute magnetic anomalies associated with submarine movements. Naval defense strategies increasingly rely on these advanced detection capabilities, driving demand for more sophisticated cryogenic electronic systems.
The defense market also requires cryogenic electronics with reduced size, weight, and power consumption (SWaP) characteristics. Portable military systems and unmanned platforms have strict limitations on these parameters, creating demand for compact cryogenic cooling solutions and efficient electronic components that can operate at low temperatures while minimizing resource requirements.
Military radar systems represent one of the primary application areas driving demand for cryogenic electronics. Advanced radar technologies require exceptional sensitivity and signal-to-noise ratios to detect stealth targets at greater distances. Cryogenic amplifiers and receivers can dramatically improve radar performance by reducing thermal noise, enabling the detection of smaller targets at longer ranges - a critical capability in contested environments where early threat identification is paramount.
Quantum computing applications in defense present another significant market requirement. Military strategists recognize the potential of quantum computers for breaking encryption, optimizing logistics, and modeling complex battlefield scenarios. These systems typically require cryogenic cooling to maintain quantum coherence, creating demand for specialized cryogenic electronic interfaces and control systems that can operate reliably in these extreme environments.
Electronic warfare systems benefit substantially from cryogenic electronics through enhanced signal detection capabilities and improved jamming effectiveness. The military requires these systems to operate across increasingly crowded electromagnetic spectrums with greater precision and sensitivity than ever before. Cryogenic components enable the detection of weaker signals and provide wider bandwidth operation, critical for identifying and countering emerging threats.
Space-based defense systems represent a growing market segment with stringent requirements for cryogenic electronics. Satellites equipped with infrared sensors for missile detection and tracking must operate at extremely low temperatures to achieve the necessary sensitivity. The defense market demands radiation-hardened cryogenic electronics that can withstand the harsh space environment while maintaining reliable performance for mission-critical applications.
Submarine detection systems utilize cryogenic electronics for enhanced sonar capabilities. The extreme sensitivity provided by superconducting quantum interference devices (SQUIDs) enables the detection of minute magnetic anomalies associated with submarine movements. Naval defense strategies increasingly rely on these advanced detection capabilities, driving demand for more sophisticated cryogenic electronic systems.
The defense market also requires cryogenic electronics with reduced size, weight, and power consumption (SWaP) characteristics. Portable military systems and unmanned platforms have strict limitations on these parameters, creating demand for compact cryogenic cooling solutions and efficient electronic components that can operate at low temperatures while minimizing resource requirements.
Current Capabilities and Barriers in Cryogenic Electronics
Cryogenic electronics currently represents a frontier technology with significant military applications, particularly in radar systems, signal processing, and quantum computing for defense purposes. The state-of-the-art capabilities include superconducting quantum interference devices (SQUIDs) that offer unprecedented sensitivity for magnetic field detection, enabling advanced submarine detection systems and improved signals intelligence gathering capabilities.
Superconducting digital electronics operating at temperatures below 10K demonstrate clock speeds exceeding 100 GHz with power consumption orders of magnitude lower than conventional semiconductor technologies. These systems have been successfully deployed in specialized military installations where their superior performance justifies the complex cooling infrastructure required.
Quantum computing implementations based on superconducting circuits have reached operational capacities of 50-100 qubits, with military research programs actively exploring applications in cryptography, optimization problems for logistics, and simulation of complex physical systems relevant to weapons development.
Despite these advances, significant barriers impede widespread military adoption of cryogenic electronics. The primary challenge remains the cooling infrastructure requirements. Current cryogenic systems are bulky, energy-intensive, and require specialized maintenance, making field deployment extremely difficult. Military-grade portable cooling systems capable of reaching the required sub-10K temperatures while maintaining operational reliability in combat conditions remain elusive.
Material limitations present another substantial barrier. Superconducting materials with higher critical temperatures that could operate in less extreme cooling environments would revolutionize the field, but research has yielded only incremental improvements. The most promising high-temperature superconductors still require cooling below 77K and suffer from manufacturing challenges that limit their military applicability.
Integration with conventional electronics presents significant interface challenges. The temperature gradients between cryogenic components and room-temperature systems create signal integrity issues and reliability concerns that have not been fully resolved for mission-critical military applications.
Manufacturing scalability remains problematic, with current fabrication techniques for superconducting circuits lacking the maturity and yield rates of conventional semiconductor processes. This results in high unit costs and limited production capacity that cannot meet potential defense deployment scales.
Reliability and operational lifetime under military conditions represent ongoing concerns. The thermal cycling that occurs during deployment and maintenance operations can degrade performance and reduce system longevity, creating logistical challenges for military planning and operations that depend on these advanced electronic systems.
Superconducting digital electronics operating at temperatures below 10K demonstrate clock speeds exceeding 100 GHz with power consumption orders of magnitude lower than conventional semiconductor technologies. These systems have been successfully deployed in specialized military installations where their superior performance justifies the complex cooling infrastructure required.
Quantum computing implementations based on superconducting circuits have reached operational capacities of 50-100 qubits, with military research programs actively exploring applications in cryptography, optimization problems for logistics, and simulation of complex physical systems relevant to weapons development.
Despite these advances, significant barriers impede widespread military adoption of cryogenic electronics. The primary challenge remains the cooling infrastructure requirements. Current cryogenic systems are bulky, energy-intensive, and require specialized maintenance, making field deployment extremely difficult. Military-grade portable cooling systems capable of reaching the required sub-10K temperatures while maintaining operational reliability in combat conditions remain elusive.
Material limitations present another substantial barrier. Superconducting materials with higher critical temperatures that could operate in less extreme cooling environments would revolutionize the field, but research has yielded only incremental improvements. The most promising high-temperature superconductors still require cooling below 77K and suffer from manufacturing challenges that limit their military applicability.
Integration with conventional electronics presents significant interface challenges. The temperature gradients between cryogenic components and room-temperature systems create signal integrity issues and reliability concerns that have not been fully resolved for mission-critical military applications.
Manufacturing scalability remains problematic, with current fabrication techniques for superconducting circuits lacking the maturity and yield rates of conventional semiconductor processes. This results in high unit costs and limited production capacity that cannot meet potential defense deployment scales.
Reliability and operational lifetime under military conditions represent ongoing concerns. The thermal cycling that occurs during deployment and maintenance operations can degrade performance and reduce system longevity, creating logistical challenges for military planning and operations that depend on these advanced electronic systems.
Contemporary Cryogenic Solutions for Defense Applications
01 Cryogenic cooling systems for electronic components
Specialized cooling systems designed to maintain electronic components at cryogenic temperatures for improved performance and efficiency. These systems utilize various refrigeration cycles and thermal management techniques to achieve ultra-low temperatures required for superconducting electronics and quantum computing applications. The cooling infrastructure includes insulation, heat exchangers, and precise temperature control mechanisms to maintain stable cryogenic environments.- Cryogenic cooling systems for electronic components: Specialized cooling systems designed to maintain electronic components at extremely low temperatures for optimal performance. These systems utilize cryogenic fluids like liquid nitrogen or helium to achieve temperatures near absolute zero, enhancing conductivity and reducing thermal noise in sensitive electronic circuits. The cooling architecture typically includes insulated chambers, heat exchangers, and precise temperature control mechanisms to maintain stable cryogenic environments.
- Superconducting electronic devices: Electronic components and circuits that operate based on superconductivity principles at cryogenic temperatures. These devices exhibit zero electrical resistance when cooled below critical temperatures, enabling highly efficient signal processing, quantum computing applications, and ultra-sensitive detection systems. The technology includes Josephson junctions, SQUID magnetometers, and superconducting qubits that form the foundation of quantum information processing systems.
- Thermal management solutions for cryogenic electronics: Specialized thermal interface materials, insulation systems, and heat dissipation techniques designed specifically for electronics operating at cryogenic temperatures. These solutions address the unique challenges of thermal cycling between ambient and cryogenic temperatures, differential thermal expansion, and maintaining thermal stability. Advanced materials and designs prevent thermal shorts while ensuring efficient heat transfer where needed.
- Cryogenic electronic testing and measurement systems: Specialized equipment and methodologies for testing electronic components and systems under cryogenic conditions. These systems include cryostats with integrated measurement capabilities, probe stations that can operate at extremely low temperatures, and specialized instrumentation for characterizing electronic performance at cryogenic temperatures. The technology enables accurate assessment of parameters like conductivity, noise, and quantum effects that only manifest at ultra-low temperatures.
- Cryogenic electronic applications in quantum computing: Implementation of cryogenic electronic systems specifically designed for quantum computing architectures. These systems include specialized control electronics that can operate at or interface with quantum processing units maintained at millikelvin temperatures. The technology encompasses cryogenic amplifiers, circulators, isolators, and control systems that enable the manipulation and readout of quantum states while minimizing thermal noise and decoherence effects.
02 Superconducting electronic circuits and devices
Electronic circuits and devices that leverage superconductivity at cryogenic temperatures to achieve superior performance characteristics. These include superconducting processors, memory elements, and interconnects that exhibit zero electrical resistance and minimal power dissipation when operated below critical temperatures. The technology enables faster switching speeds, reduced energy consumption, and enhanced sensitivity for applications in computing, sensing, and communications.Expand Specific Solutions03 Thermal management and insulation for cryogenic electronics
Specialized thermal management solutions and insulation techniques designed specifically for cryogenic electronic systems. These include advanced materials and structures that minimize heat transfer between cryogenic components and the ambient environment, thermal interfaces that maintain good thermal contact while accommodating thermal contraction, and radiation shields that prevent heat ingress. Such systems are critical for maintaining stable operating temperatures and reducing cooling power requirements.Expand Specific Solutions04 Quantum computing hardware at cryogenic temperatures
Hardware architectures and components specifically designed for quantum computing systems operating at cryogenic temperatures. These include qubit implementations, control electronics, readout systems, and interconnects that function reliably in extreme cold environments. The designs address challenges such as thermal noise reduction, signal integrity preservation, and quantum coherence maintenance while enabling scalable quantum processing capabilities.Expand Specific Solutions05 Integration and packaging technologies for cryogenic electronics
Specialized integration and packaging solutions that enable reliable operation of electronic systems at cryogenic temperatures. These technologies address challenges related to thermal contraction, material compatibility, and signal integrity in extreme cold environments. Advanced interconnect methods, hermetic sealing techniques, and multi-chip module approaches are employed to create robust electronic assemblies that can withstand repeated thermal cycling between room temperature and cryogenic conditions.Expand Specific Solutions
Critical Patents and Breakthroughs in Military Cryogenics
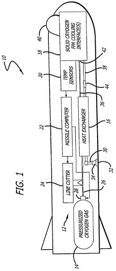
Active Cryogenic Electronic Envelope
PatentActiveUS20160061538A1
Innovation
- A data acquisition module capable of operating at cryogenic temperatures, which resides inside a cryostat and maintains electronic components within a controlled thermal envelope, allowing conventional electronics to function effectively at temperatures as low as 0° K, thereby reducing thermal noise and simplifying the feedthrough interface.
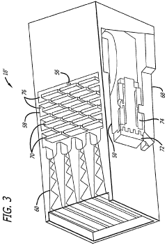
Solid cryogen cooling system for focal plane arrays
PatentWO2004027330A2
Innovation
- A solid cryogen cooling system using a thermally conductive matrix reservoir and a Joule-Thomson effect to cool the cryogen fluid, allowing for remote positioning of the heat exchanger and minimizing the need for additional mechanical support, with a detachable cryogen canister and flexible connections to isolate vibrations.
National Security Implications of Cryogenic Technologies
The integration of cryogenic technologies into national defense frameworks represents a paradigm shift in military capabilities and strategic planning. As these technologies mature, they create unprecedented opportunities for enhancing surveillance systems, weapons platforms, and communication networks that directly impact national security postures. The extreme cooling capabilities enable quantum computing applications that can potentially break current encryption standards, posing significant implications for intelligence operations and cybersecurity protocols.
Nations with advanced cryogenic capabilities gain asymmetric advantages in military operations, particularly in signal intelligence and electronic warfare domains. The development of superconducting electronics operating at cryogenic temperatures allows for sensors with dramatically improved sensitivity and reduced noise profiles, enabling detection of threats at greater distances and with higher precision than conventional systems.
Critical infrastructure protection strategies must evolve to account for these technological developments. Cryogenic-based quantum sensors can detect subtle magnetic anomalies, potentially revealing previously undetectable submarine movements or underground facilities. This capability forces a reconsideration of traditional stealth technologies and concealment methods that form the backbone of many nations' defense strategies.
The geopolitical landscape is increasingly influenced by the distribution of cryogenic technology expertise. Nations with established research programs in this field gain leverage in international relations, while those without access face growing security vulnerabilities. This technological divide may accelerate regional power shifts and create new security alliances based on technological cooperation rather than traditional geopolitical considerations.
Military logistics and deployment strategies require significant adaptation to incorporate cryogenic systems. The specialized infrastructure needed to maintain extreme low temperatures presents unique challenges for field operations, potentially limiting deployment scenarios or creating new vulnerabilities if cooling systems fail during critical missions.
Ethical and legal frameworks governing military technology applications struggle to keep pace with cryogenic innovations. The potential for quantum computing to compromise global financial systems or critical infrastructure through advanced cryptanalysis raises questions about responsible use and international regulation that extend beyond conventional arms control agreements.
As cryogenic technologies transition from laboratory demonstrations to field-deployable systems, defense planners must develop new doctrines that account for both the offensive and defensive implications of these capabilities, fundamentally altering strategic calculations in ways that may rival the introduction of nuclear weapons or stealth technology in previous eras.
Nations with advanced cryogenic capabilities gain asymmetric advantages in military operations, particularly in signal intelligence and electronic warfare domains. The development of superconducting electronics operating at cryogenic temperatures allows for sensors with dramatically improved sensitivity and reduced noise profiles, enabling detection of threats at greater distances and with higher precision than conventional systems.
Critical infrastructure protection strategies must evolve to account for these technological developments. Cryogenic-based quantum sensors can detect subtle magnetic anomalies, potentially revealing previously undetectable submarine movements or underground facilities. This capability forces a reconsideration of traditional stealth technologies and concealment methods that form the backbone of many nations' defense strategies.
The geopolitical landscape is increasingly influenced by the distribution of cryogenic technology expertise. Nations with established research programs in this field gain leverage in international relations, while those without access face growing security vulnerabilities. This technological divide may accelerate regional power shifts and create new security alliances based on technological cooperation rather than traditional geopolitical considerations.
Military logistics and deployment strategies require significant adaptation to incorporate cryogenic systems. The specialized infrastructure needed to maintain extreme low temperatures presents unique challenges for field operations, potentially limiting deployment scenarios or creating new vulnerabilities if cooling systems fail during critical missions.
Ethical and legal frameworks governing military technology applications struggle to keep pace with cryogenic innovations. The potential for quantum computing to compromise global financial systems or critical infrastructure through advanced cryptanalysis raises questions about responsible use and international regulation that extend beyond conventional arms control agreements.
As cryogenic technologies transition from laboratory demonstrations to field-deployable systems, defense planners must develop new doctrines that account for both the offensive and defensive implications of these capabilities, fundamentally altering strategic calculations in ways that may rival the introduction of nuclear weapons or stealth technology in previous eras.
Supply Chain Resilience for Strategic Cryogenic Components
The global supply chain for cryogenic electronic components represents a critical vulnerability in military defense strategies that rely on advanced superconducting technologies. Military systems incorporating cryogenic electronics—such as quantum computing for cryptography, superconducting sensors for surveillance, and advanced radar systems—depend on specialized materials and manufacturing processes available from limited sources worldwide. This concentration creates significant strategic risks that require comprehensive mitigation approaches.
Current supply chains for strategic cryogenic components face multiple resilience challenges. Rare earth elements essential for superconducting materials are geographically concentrated, with China controlling approximately 85% of global production. Similarly, specialized cooling systems rely on helium and other cryogens with limited production facilities, creating potential single points of failure. The manufacturing of superconducting circuits requires ultra-precise fabrication capabilities available in only a handful of facilities globally, further concentrating supply risk.
Geopolitical tensions have highlighted these vulnerabilities, with recent export restrictions affecting access to critical components. Military planners have identified that disruptions in the cryogenic electronics supply chain could significantly impact operational readiness of next-generation defense systems. Historical precedents, such as the 2017 helium shortage that affected military research programs, demonstrate the tangible impacts of supply constraints.
Emerging resilience strategies focus on diversification, stockpiling, and domestic capability development. The Defense Advanced Research Projects Agency (DARPA) has initiated programs to develop alternative materials that can function at higher temperatures, potentially reducing dependence on scarce cryogens. Meanwhile, military procurement strategies increasingly incorporate supply chain risk assessments specific to cryogenic technologies, with contingency planning for component shortages.
International partnerships represent another avenue for enhancing resilience. The Five Eyes alliance countries (US, UK, Canada, Australia, New Zealand) have established cooperative frameworks for sharing cryogenic technology and materials in defense applications. These arrangements include emergency access provisions during supply disruptions and collaborative stockpiling initiatives.
The development of recycling and reclamation technologies for rare materials used in cryogenic electronics offers additional resilience. Advanced helium recovery systems can recapture up to 95% of helium used in cooling systems, significantly reducing dependence on new production. Similarly, techniques for recovering rare earth elements from decommissioned equipment are advancing, creating secondary supply sources for critical materials.
Current supply chains for strategic cryogenic components face multiple resilience challenges. Rare earth elements essential for superconducting materials are geographically concentrated, with China controlling approximately 85% of global production. Similarly, specialized cooling systems rely on helium and other cryogens with limited production facilities, creating potential single points of failure. The manufacturing of superconducting circuits requires ultra-precise fabrication capabilities available in only a handful of facilities globally, further concentrating supply risk.
Geopolitical tensions have highlighted these vulnerabilities, with recent export restrictions affecting access to critical components. Military planners have identified that disruptions in the cryogenic electronics supply chain could significantly impact operational readiness of next-generation defense systems. Historical precedents, such as the 2017 helium shortage that affected military research programs, demonstrate the tangible impacts of supply constraints.
Emerging resilience strategies focus on diversification, stockpiling, and domestic capability development. The Defense Advanced Research Projects Agency (DARPA) has initiated programs to develop alternative materials that can function at higher temperatures, potentially reducing dependence on scarce cryogens. Meanwhile, military procurement strategies increasingly incorporate supply chain risk assessments specific to cryogenic technologies, with contingency planning for component shortages.
International partnerships represent another avenue for enhancing resilience. The Five Eyes alliance countries (US, UK, Canada, Australia, New Zealand) have established cooperative frameworks for sharing cryogenic technology and materials in defense applications. These arrangements include emergency access provisions during supply disruptions and collaborative stockpiling initiatives.
The development of recycling and reclamation technologies for rare materials used in cryogenic electronics offers additional resilience. Advanced helium recovery systems can recapture up to 95% of helium used in cooling systems, significantly reducing dependence on new production. Similarly, techniques for recovering rare earth elements from decommissioned equipment are advancing, creating secondary supply sources for critical materials.
Unlock deeper insights with Patsnap Eureka Quick Research — get a full tech report to explore trends and direct your research. Try now!
Generate Your Research Report Instantly with AI Agent
Supercharge your innovation with Patsnap Eureka AI Agent Platform!