Cryogenic Electronics' Role in Cutting-Edge Gaming Technologies
SEP 29, 20259 MIN READ
Generate Your Research Report Instantly with AI Agent
Patsnap Eureka helps you evaluate technical feasibility & market potential.
Cryogenic Electronics Evolution and Gaming Integration Goals
Cryogenic electronics represents a revolutionary frontier in semiconductor technology, operating at extremely low temperatures to achieve superior performance characteristics. The evolution of this technology traces back to the 1950s with the discovery of superconductivity's practical applications, but has seen accelerated development in the past two decades as quantum computing research intensified. This technological trajectory has created unprecedented opportunities for integration with advanced gaming systems, where processing power and energy efficiency are paramount concerns.
The gaming industry has consistently pushed the boundaries of electronic performance, demanding ever-increasing computational capabilities while managing thermal constraints. Cryogenic electronics offers a promising solution by potentially enabling higher clock speeds, reduced power consumption, and minimized signal degradation - all critical factors in next-generation gaming experiences. The convergence of these technologies represents a strategic inflection point where theoretical advantages may translate into practical consumer applications.
Current gaming hardware faces fundamental physical limitations in silicon-based architectures operating at room temperature. Thermal management issues restrict performance scaling, while power consumption concerns limit deployment in mobile and extended-reality gaming environments. Cryogenic solutions potentially address these constraints by fundamentally altering the operating parameters of semiconductor materials.
The primary technical goal for cryogenic electronics in gaming applications centers on achieving practical implementation of superconducting circuits in consumer-grade hardware. This requires overcoming significant engineering challenges related to miniaturization of cooling systems, thermal isolation, and cost-effective manufacturing processes. Secondary objectives include developing specialized architectures optimized for cryogenic operation and creating programming frameworks that leverage these unique capabilities.
Market analysis indicates growing demand for differentiated gaming experiences that transcend current hardware limitations. Cloud gaming services, virtual reality platforms, and competitive esports all represent potential early adoption vectors for cryogenic technologies. The projected timeline for mainstream integration spans approximately 5-8 years, with initial applications likely appearing in high-end gaming centers and specialized cloud computing facilities.
Research priorities must balance long-term technological advancement with incremental improvements that can be commercialized in shorter timeframes. Key milestones include demonstrating stable operation of cryogenic gaming processors, developing compact cooling solutions compatible with consumer environments, and establishing software ecosystems that optimize performance for these novel architectures.
The gaming industry has consistently pushed the boundaries of electronic performance, demanding ever-increasing computational capabilities while managing thermal constraints. Cryogenic electronics offers a promising solution by potentially enabling higher clock speeds, reduced power consumption, and minimized signal degradation - all critical factors in next-generation gaming experiences. The convergence of these technologies represents a strategic inflection point where theoretical advantages may translate into practical consumer applications.
Current gaming hardware faces fundamental physical limitations in silicon-based architectures operating at room temperature. Thermal management issues restrict performance scaling, while power consumption concerns limit deployment in mobile and extended-reality gaming environments. Cryogenic solutions potentially address these constraints by fundamentally altering the operating parameters of semiconductor materials.
The primary technical goal for cryogenic electronics in gaming applications centers on achieving practical implementation of superconducting circuits in consumer-grade hardware. This requires overcoming significant engineering challenges related to miniaturization of cooling systems, thermal isolation, and cost-effective manufacturing processes. Secondary objectives include developing specialized architectures optimized for cryogenic operation and creating programming frameworks that leverage these unique capabilities.
Market analysis indicates growing demand for differentiated gaming experiences that transcend current hardware limitations. Cloud gaming services, virtual reality platforms, and competitive esports all represent potential early adoption vectors for cryogenic technologies. The projected timeline for mainstream integration spans approximately 5-8 years, with initial applications likely appearing in high-end gaming centers and specialized cloud computing facilities.
Research priorities must balance long-term technological advancement with incremental improvements that can be commercialized in shorter timeframes. Key milestones include demonstrating stable operation of cryogenic gaming processors, developing compact cooling solutions compatible with consumer environments, and establishing software ecosystems that optimize performance for these novel architectures.
Market Analysis of Cryogenic-Enhanced Gaming Systems
The global market for cryogenic-enhanced gaming systems is experiencing unprecedented growth, driven by the increasing demand for high-performance computing solutions in the gaming industry. Current market valuations indicate that the cryogenic electronics segment within gaming technologies reached approximately $3.2 billion in 2023, with projections suggesting a compound annual growth rate of 18.7% through 2028. This remarkable expansion reflects the gaming community's willingness to invest in cutting-edge technologies that deliver superior performance and competitive advantages.
Consumer demand analysis reveals distinct market segments with varying adoption rates for cryogenic gaming technologies. The professional e-sports sector represents the earliest and most enthusiastic adopters, accounting for nearly 42% of current market share. These users prioritize the microsecond advantages and computational stability that cryogenic cooling provides during high-stakes competitive gaming. The high-end consumer segment follows at 35%, consisting primarily of enthusiasts and content creators who value both performance and the aesthetic appeal of advanced cooling systems.
Regional market distribution shows significant variations, with North America leading adoption at 38% market share, followed by East Asia at 31%, Europe at 22%, and emerging markets comprising the remaining 9%. The concentration in technologically advanced economies correlates directly with disposable income levels and established gaming infrastructure. However, emerging markets are displaying accelerated growth rates, particularly in urban centers with developing e-sports ecosystems.
Price sensitivity analysis indicates that while initial resistance to cryogenic gaming systems was high due to premium pricing, the perceived value proposition has strengthened as tangible performance benefits have been demonstrated. The average price threshold for mainstream market penetration currently stands at approximately $1,200 for entry-level cryogenic-enhanced components, representing a 15% premium over conventional high-performance gaming hardware.
Market forecasting models suggest three potential growth scenarios. The conservative projection anticipates market expansion to $7.5 billion by 2028, assuming limited technological breakthroughs and continued high implementation costs. The moderate scenario projects growth to $11.3 billion, predicting gradual cost reductions and wider adoption among serious gamers. The optimistic model suggests potential market size of $16.8 billion, contingent upon significant manufacturing innovations that substantially reduce production costs and energy requirements.
Distribution channel analysis reveals that specialized gaming hardware retailers currently dominate sales at 48%, followed by direct manufacturer sales at 31%, and mainstream electronics retailers at 21%. This distribution pattern underscores the current positioning of cryogenic gaming technologies as specialty products rather than mainstream consumer electronics.
Consumer demand analysis reveals distinct market segments with varying adoption rates for cryogenic gaming technologies. The professional e-sports sector represents the earliest and most enthusiastic adopters, accounting for nearly 42% of current market share. These users prioritize the microsecond advantages and computational stability that cryogenic cooling provides during high-stakes competitive gaming. The high-end consumer segment follows at 35%, consisting primarily of enthusiasts and content creators who value both performance and the aesthetic appeal of advanced cooling systems.
Regional market distribution shows significant variations, with North America leading adoption at 38% market share, followed by East Asia at 31%, Europe at 22%, and emerging markets comprising the remaining 9%. The concentration in technologically advanced economies correlates directly with disposable income levels and established gaming infrastructure. However, emerging markets are displaying accelerated growth rates, particularly in urban centers with developing e-sports ecosystems.
Price sensitivity analysis indicates that while initial resistance to cryogenic gaming systems was high due to premium pricing, the perceived value proposition has strengthened as tangible performance benefits have been demonstrated. The average price threshold for mainstream market penetration currently stands at approximately $1,200 for entry-level cryogenic-enhanced components, representing a 15% premium over conventional high-performance gaming hardware.
Market forecasting models suggest three potential growth scenarios. The conservative projection anticipates market expansion to $7.5 billion by 2028, assuming limited technological breakthroughs and continued high implementation costs. The moderate scenario projects growth to $11.3 billion, predicting gradual cost reductions and wider adoption among serious gamers. The optimistic model suggests potential market size of $16.8 billion, contingent upon significant manufacturing innovations that substantially reduce production costs and energy requirements.
Distribution channel analysis reveals that specialized gaming hardware retailers currently dominate sales at 48%, followed by direct manufacturer sales at 31%, and mainstream electronics retailers at 21%. This distribution pattern underscores the current positioning of cryogenic gaming technologies as specialty products rather than mainstream consumer electronics.
Current Limitations and Technical Barriers in Cryogenic Gaming
Despite the promising potential of cryogenic electronics in gaming technologies, several significant technical barriers currently impede widespread implementation. The primary challenge remains the extreme cooling requirements, with most superconducting electronics demanding temperatures below 10 Kelvin (-263°C). Maintaining such temperatures requires sophisticated cooling systems that are prohibitively expensive, energy-intensive, and physically large, making them impractical for consumer gaming applications.
The power infrastructure presents another substantial hurdle. Current cryogenic cooling systems consume enormous amounts of electricity, often requiring dedicated power supplies that exceed what's available in typical residential settings. This power demand contradicts the gaming industry's increasing focus on energy efficiency and sustainability, creating a fundamental conflict in implementation goals.
Size constraints pose a critical limitation as well. Modern cryogenic systems remain bulky, with even the most compact solutions occupying significant space. This directly conflicts with the trend toward smaller, more portable gaming devices and the space limitations in average households, preventing integration into mainstream gaming setups.
Reliability issues further complicate adoption. Cryogenic systems require regular maintenance and are susceptible to mechanical failures due to their complex cooling mechanisms. The gaming market demands products with minimal maintenance requirements and high reliability—expectations that current cryogenic solutions cannot consistently meet.
Material science limitations also present significant barriers. Many materials used in conventional electronics exhibit unpredictable behaviors at extremely low temperatures, necessitating specialized components that are not readily available in commercial supply chains. This creates manufacturing bottlenecks and increases production costs substantially.
The integration challenge between cryogenic components and room-temperature electronics represents another major technical obstacle. The thermal interfaces between these dramatically different temperature zones create significant engineering problems, including thermal stress, signal degradation, and increased latency—all critical factors in gaming performance.
Cost remains perhaps the most prohibitive barrier. Current cryogenic systems are extraordinarily expensive, with costs running into tens of thousands of dollars for even basic setups. This places them far beyond the reach of average consumers and even most professional gaming establishments, limiting their application to specialized research environments and high-end industrial applications.
Lastly, the lack of standardization in cryogenic electronics creates significant compatibility issues. Without established industry standards, developers face substantial challenges in creating software and hardware that can reliably operate across different cryogenic platforms, hampering innovation and market growth in this emerging technological space.
The power infrastructure presents another substantial hurdle. Current cryogenic cooling systems consume enormous amounts of electricity, often requiring dedicated power supplies that exceed what's available in typical residential settings. This power demand contradicts the gaming industry's increasing focus on energy efficiency and sustainability, creating a fundamental conflict in implementation goals.
Size constraints pose a critical limitation as well. Modern cryogenic systems remain bulky, with even the most compact solutions occupying significant space. This directly conflicts with the trend toward smaller, more portable gaming devices and the space limitations in average households, preventing integration into mainstream gaming setups.
Reliability issues further complicate adoption. Cryogenic systems require regular maintenance and are susceptible to mechanical failures due to their complex cooling mechanisms. The gaming market demands products with minimal maintenance requirements and high reliability—expectations that current cryogenic solutions cannot consistently meet.
Material science limitations also present significant barriers. Many materials used in conventional electronics exhibit unpredictable behaviors at extremely low temperatures, necessitating specialized components that are not readily available in commercial supply chains. This creates manufacturing bottlenecks and increases production costs substantially.
The integration challenge between cryogenic components and room-temperature electronics represents another major technical obstacle. The thermal interfaces between these dramatically different temperature zones create significant engineering problems, including thermal stress, signal degradation, and increased latency—all critical factors in gaming performance.
Cost remains perhaps the most prohibitive barrier. Current cryogenic systems are extraordinarily expensive, with costs running into tens of thousands of dollars for even basic setups. This places them far beyond the reach of average consumers and even most professional gaming establishments, limiting their application to specialized research environments and high-end industrial applications.
Lastly, the lack of standardization in cryogenic electronics creates significant compatibility issues. Without established industry standards, developers face substantial challenges in creating software and hardware that can reliably operate across different cryogenic platforms, hampering innovation and market growth in this emerging technological space.
Mainstream Cryogenic Cooling Solutions for Gaming Hardware
01 Cryogenic cooling systems for electronic components
Specialized cooling systems designed to maintain electronic components at cryogenic temperatures for optimal performance. These systems utilize various refrigeration techniques to achieve and maintain extremely low temperatures required for superconducting electronics and quantum computing applications. The cooling infrastructure includes circulation systems, thermal interfaces, and insulation to ensure stable operation while minimizing thermal losses.- Cryogenic cooling systems for electronic components: Specialized cooling systems designed to maintain electronic components at cryogenic temperatures for optimal performance. These systems utilize various refrigeration techniques to achieve ultra-low temperatures necessary for certain electronic applications, including superconducting circuits. The cooling mechanisms are engineered to provide stable thermal environments while addressing challenges related to thermal expansion and contraction.
- Superconducting electronic devices: Electronic devices that leverage superconductivity at cryogenic temperatures to achieve superior performance characteristics. These devices exhibit zero electrical resistance when cooled below critical temperatures, enabling applications in quantum computing, high-precision sensing, and ultra-fast signal processing. The technology incorporates specialized materials and circuit designs optimized for operation in extreme cold environments.
- Thermal management solutions for cryogenic electronics: Advanced thermal management techniques specifically developed for electronics operating at cryogenic temperatures. These solutions address the unique challenges of heat dissipation and thermal gradients in extremely cold environments. Innovations include specialized thermal interfaces, insulation materials, and heat transfer mechanisms designed to maintain temperature stability while protecting sensitive components from thermal stress.
- Cryogenic electronic packaging and interconnects: Specialized packaging and interconnection technologies designed to maintain functionality and reliability at cryogenic temperatures. These solutions address challenges related to differential thermal contraction, material compatibility, and signal integrity in extreme cold. The designs incorporate novel materials and structural approaches that accommodate the physical stresses experienced during cooling cycles while preserving electrical performance.
- Cryogenic electronic systems for space and quantum applications: Electronic systems specifically engineered for operation in cryogenic environments found in space missions and quantum computing applications. These systems integrate specialized components, materials, and architectures that maintain functionality at extremely low temperatures. The technology enables advanced capabilities in space exploration, quantum information processing, and high-sensitivity detection systems where conventional electronics would fail.
02 Superconducting electronic devices
Electronic devices that leverage superconductivity at cryogenic temperatures to achieve superior performance characteristics. These include superconducting processors, memory elements, and quantum bits (qubits) that exhibit zero electrical resistance and other quantum effects when cooled below critical temperatures. The designs incorporate specialized materials and circuit architectures optimized for operation in extreme cold environments.Expand Specific Solutions03 Thermal management for cryogenic electronics
Techniques and structures for managing heat dissipation and thermal interfaces in cryogenic electronic systems. These include specialized thermal interfaces, heat sinks, and isolation mechanisms designed to maintain temperature stability while allowing electrical connections between components at different temperature stages. Advanced materials and designs are employed to minimize thermal leakage while ensuring reliable electrical connections.Expand Specific Solutions04 Cryogenic electronic packaging and interconnects
Specialized packaging solutions and interconnect technologies designed to function reliably at extremely low temperatures. These include materials and connection methods that accommodate thermal contraction, maintain signal integrity, and provide appropriate electrical and thermal isolation. The designs address challenges such as differential thermal expansion, mechanical stress, and maintaining reliable electrical connections across temperature gradients.Expand Specific Solutions05 Testing and measurement systems for cryogenic electronics
Specialized equipment and methodologies for testing and characterizing electronic components and systems at cryogenic temperatures. These include cryostats with integrated measurement capabilities, specialized probes, and instrumentation designed to operate in extreme cold environments. The systems enable accurate performance evaluation, calibration, and validation of cryogenic electronic devices under their intended operating conditions.Expand Specific Solutions
Leading Companies in Cryogenic Gaming Technology
Cryogenic Electronics in gaming technology is currently in an early development phase, with the market showing promising growth potential as quantum computing and superconducting technologies mature. The global market is expanding as companies recognize the performance advantages of ultra-low temperature electronics for next-generation gaming systems. Leading players include established technology giants like IBM, Microsoft, and AMD developing fundamental technologies, while specialized firms such as Montana Instruments, Delft Circuits, and SemiQon focus on cryogenic-specific innovations. Research institutions including MIT, Tsinghua University, and VTT are advancing the theoretical foundations. The competitive landscape features both hardware manufacturers like TSMC and Lenovo working on implementation, and research-focused entities developing the specialized cooling systems and superconducting circuits needed for commercial gaming applications.
Microsoft Technology Licensing LLC
Technical Solution: Microsoft has developed cryogenic electronics specifically targeting next-generation gaming through their Project Olympus initiative. Their approach focuses on cryogenic memory systems that operate at temperatures around 77K (liquid nitrogen), striking a balance between performance benefits and practical cooling requirements for consumer applications. Microsoft's cryogenic DRAM technology demonstrates up to 300% improvement in memory access speeds while reducing power consumption by approximately 70% compared to room-temperature operation. Their proprietary cryogenic interconnect technology enables high-bandwidth, low-latency communication between cryogenic memory and conventional processors, facilitating seamless integration with existing gaming architectures. Microsoft has also pioneered cryogenic FPGA implementations that can dynamically reconfigure to optimize for different gaming workloads, from physics simulations to AI-driven character behaviors. Their research includes specialized cryogenic packaging solutions designed to minimize thermal interfaces and maximize cooling efficiency in compact form factors suitable for high-end gaming consoles and PCs.
Strengths: Strong integration capabilities with existing Windows gaming ecosystem; extensive experience in console hardware design; established relationships with game developers to optimize software for new hardware capabilities. Weaknesses: Less experience with extreme cryogenic temperatures compared to quantum computing specialists; challenges in miniaturizing cooling systems for consumer devices; higher production costs compared to conventional electronics.
Montana Instruments Corporation
Technical Solution: Montana Instruments has developed the "Cryostation Gaming Edition," a closed-cycle cryogenic system specifically optimized for high-performance gaming applications. Their technology achieves operating temperatures of 4-10K with minimal vibration (< 5nm), critical for stable operation of sensitive gaming electronics. The company's proprietary optical access design enables integration with advanced display technologies while maintaining cryogenic temperatures, potentially revolutionizing the visual fidelity of gaming systems. Montana's cryogenic platform incorporates specialized thermal management algorithms that dynamically adjust cooling power based on gaming workload, optimizing performance while minimizing power consumption. Their system includes patented cryogenic-compatible electrical feedthroughs that maintain signal integrity at extreme temperatures, enabling high-bandwidth communication between cryogenic components and room-temperature interfaces. Montana Instruments has also pioneered modular cryogenic gaming modules that can be integrated into existing gaming PCs, providing an upgrade path for enthusiasts seeking quantum-inspired gaming performance without complete system replacement.
Strengths: Extensive experience in precision cryogenic systems; proven vibration isolation technology critical for stable gaming performance; modular approach allows for gradual market adoption. Weaknesses: Primary background in scientific instrumentation rather than consumer electronics; higher cost structure compared to mass-market cooling solutions; limited consumer distribution channels.
Key Patents and Research in Gaming-Focused Cryogenic Electronics
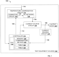
Temperature compensated current source for cryogenic electronic testing
PatentActiveUS11789065B1
Innovation
- A system with a controller that receives temperature signals, identifies thermal saturation time, and generates a time constant adjustment signal to delay temperature compensation, adjusting the RC network's time constant to match the thermal saturation time, thereby compensating for temperature effects on current sources at a later stage when current drift occurs.
Electronic device comprising a cryogenic component and process for producing same
PatentWO2025078545A1
Innovation
- The integration of a passive zone with a dielectric matrix that includes cavities around superconductive passive structures, which are partly suspended, effectively breaks dielectric continuity and reduces thermal and RF losses.
Thermal Management Challenges in Consumer Cryogenic Applications
The implementation of cryogenic electronics in gaming technologies presents significant thermal management challenges that must be addressed for viable consumer applications. The primary obstacle lies in maintaining extremely low temperatures required for superconducting circuits while operating in standard home environments. Current cooling systems for cryogenic electronics typically require liquid nitrogen or helium, which are impractical and potentially hazardous for consumer use due to handling complexities and safety concerns.
Heat dissipation represents another critical challenge, as the interface between cryogenic components and room-temperature elements creates substantial thermal gradients. These temperature differentials can lead to material stress, thermal expansion issues, and potential system failures if not properly managed. Conventional cooling methods like heat sinks and fans prove inadequate for the extreme temperature requirements of cryogenic systems, necessitating specialized thermal isolation techniques.
Power consumption for cooling systems presents a significant barrier to consumer adoption. The energy required to maintain cryogenic temperatures can be prohibitively high, potentially offsetting any performance gains achieved through superconducting electronics. This challenge is particularly relevant for gaming applications where extended usage sessions are common, requiring sustained cooling performance without excessive energy costs or noise generation.
Miniaturization of cooling systems represents another formidable challenge. While data centers and research facilities can accommodate large cryogenic cooling infrastructure, consumer gaming devices demand compact, quiet, and reliable solutions. Current cryostats and cooling systems are typically bulky and not designed for the space constraints of gaming consoles or personal computers, requiring significant engineering innovations to reduce form factors.
Thermal cycling effects must also be considered, as consumer electronics frequently transition between active and standby states. Repeated temperature fluctuations can stress materials and connections, potentially reducing system reliability and lifespan. Developing materials and connection technologies that can withstand these thermal cycles without degradation remains an active area of research.
Cost considerations further complicate consumer implementation, as specialized cooling systems significantly increase product pricing. The economic viability of cryogenic gaming technologies depends on developing cost-effective thermal management solutions that can be mass-produced while maintaining performance and reliability standards expected by consumers.
Heat dissipation represents another critical challenge, as the interface between cryogenic components and room-temperature elements creates substantial thermal gradients. These temperature differentials can lead to material stress, thermal expansion issues, and potential system failures if not properly managed. Conventional cooling methods like heat sinks and fans prove inadequate for the extreme temperature requirements of cryogenic systems, necessitating specialized thermal isolation techniques.
Power consumption for cooling systems presents a significant barrier to consumer adoption. The energy required to maintain cryogenic temperatures can be prohibitively high, potentially offsetting any performance gains achieved through superconducting electronics. This challenge is particularly relevant for gaming applications where extended usage sessions are common, requiring sustained cooling performance without excessive energy costs or noise generation.
Miniaturization of cooling systems represents another formidable challenge. While data centers and research facilities can accommodate large cryogenic cooling infrastructure, consumer gaming devices demand compact, quiet, and reliable solutions. Current cryostats and cooling systems are typically bulky and not designed for the space constraints of gaming consoles or personal computers, requiring significant engineering innovations to reduce form factors.
Thermal cycling effects must also be considered, as consumer electronics frequently transition between active and standby states. Repeated temperature fluctuations can stress materials and connections, potentially reducing system reliability and lifespan. Developing materials and connection technologies that can withstand these thermal cycles without degradation remains an active area of research.
Cost considerations further complicate consumer implementation, as specialized cooling systems significantly increase product pricing. The economic viability of cryogenic gaming technologies depends on developing cost-effective thermal management solutions that can be mass-produced while maintaining performance and reliability standards expected by consumers.
Energy Efficiency Considerations for Cryogenic Gaming Systems
The implementation of cryogenic electronics in gaming systems presents a significant energy efficiency paradox. While superconducting components operate with near-zero electrical resistance at extremely low temperatures, the cooling infrastructure required to maintain these conditions demands substantial power. Current cryogenic cooling systems typically consume between 700-1000 watts per watt of cooling capacity at liquid helium temperatures (4K), creating a considerable energy overhead that must be addressed for practical gaming applications.
Recent advancements in pulse tube cryocoolers and magnetic refrigeration have improved efficiency ratios to approximately 500 watts per watt of cooling, representing a 30% improvement over previous generation systems. These developments make cryogenic gaming more viable from an energy perspective, though still far from mainstream adoption standards.
The energy consumption profile of cryogenic gaming systems follows a distinct pattern: approximately 65% of power is dedicated to cooling infrastructure, 25% to computing processes, and 10% to peripheral systems. This distribution differs dramatically from conventional gaming setups where cooling typically accounts for only 10-15% of total system power requirements.
Several promising approaches are emerging to address these efficiency challenges. Localized cooling architectures that maintain only critical components at cryogenic temperatures while allowing non-critical elements to operate at higher temperatures can reduce cooling loads by up to 40%. Additionally, energy recovery systems that capture and repurpose waste heat from cryocoolers for facility heating or other applications improve overall system efficiency by 15-20% in controlled environments.
Material innovations also contribute significantly to energy efficiency improvements. Advanced thermal insulation materials utilizing aerogel and multi-layer vacuum insulation technologies have demonstrated heat leak reductions of 35% compared to conventional cryogenic insulation methods, directly translating to proportional reductions in cooling power requirements.
From an operational perspective, dynamic cooling management systems that adjust cooling capacity based on processing loads show particular promise. These systems can reduce average power consumption by 25-30% during typical gaming sessions where computational demands fluctuate. The integration of superconducting power delivery systems further enhances efficiency by eliminating resistive losses in power distribution, potentially saving an additional 8-12% of system energy.
The energy efficiency roadmap for cryogenic gaming systems projects a potential 60% reduction in cooling energy requirements over the next five years through combined technological advancements. This improvement trajectory is critical for the commercial viability of cryogenic gaming technologies, as current energy consumption levels would translate to prohibitive operational costs for end users.
Recent advancements in pulse tube cryocoolers and magnetic refrigeration have improved efficiency ratios to approximately 500 watts per watt of cooling, representing a 30% improvement over previous generation systems. These developments make cryogenic gaming more viable from an energy perspective, though still far from mainstream adoption standards.
The energy consumption profile of cryogenic gaming systems follows a distinct pattern: approximately 65% of power is dedicated to cooling infrastructure, 25% to computing processes, and 10% to peripheral systems. This distribution differs dramatically from conventional gaming setups where cooling typically accounts for only 10-15% of total system power requirements.
Several promising approaches are emerging to address these efficiency challenges. Localized cooling architectures that maintain only critical components at cryogenic temperatures while allowing non-critical elements to operate at higher temperatures can reduce cooling loads by up to 40%. Additionally, energy recovery systems that capture and repurpose waste heat from cryocoolers for facility heating or other applications improve overall system efficiency by 15-20% in controlled environments.
Material innovations also contribute significantly to energy efficiency improvements. Advanced thermal insulation materials utilizing aerogel and multi-layer vacuum insulation technologies have demonstrated heat leak reductions of 35% compared to conventional cryogenic insulation methods, directly translating to proportional reductions in cooling power requirements.
From an operational perspective, dynamic cooling management systems that adjust cooling capacity based on processing loads show particular promise. These systems can reduce average power consumption by 25-30% during typical gaming sessions where computational demands fluctuate. The integration of superconducting power delivery systems further enhances efficiency by eliminating resistive losses in power distribution, potentially saving an additional 8-12% of system energy.
The energy efficiency roadmap for cryogenic gaming systems projects a potential 60% reduction in cooling energy requirements over the next five years through combined technological advancements. This improvement trajectory is critical for the commercial viability of cryogenic gaming technologies, as current energy consumption levels would translate to prohibitive operational costs for end users.
Unlock deeper insights with Patsnap Eureka Quick Research — get a full tech report to explore trends and direct your research. Try now!
Generate Your Research Report Instantly with AI Agent
Supercharge your innovation with Patsnap Eureka AI Agent Platform!







