Evaluation of Composite coatings patents and technology trends in aerospace and energy
SEP 28, 20259 MIN READ
Generate Your Research Report Instantly with AI Agent
Patsnap Eureka helps you evaluate technical feasibility & market potential.
Composite Coating Evolution and Research Objectives
Composite coatings have evolved significantly over the past several decades, transforming from simple protective layers to sophisticated multifunctional systems. The journey began in the 1960s with basic metal-matrix composites, progressing through ceramic matrix developments in the 1980s, and advancing to today's nano-enhanced composite coatings. This evolution has been driven by increasing demands in extreme operating environments, particularly in aerospace and energy sectors where components face high temperatures, corrosive conditions, and mechanical stress simultaneously.
The aerospace industry has been a primary catalyst for composite coating innovation, with requirements for materials that can withstand temperatures exceeding 1200°C while maintaining structural integrity. Similarly, the energy sector—spanning from traditional fossil fuel systems to renewable technologies—has pushed coating technology forward to address challenges in turbine efficiency, fuel cell durability, and solar energy conversion.
Current research objectives in composite coating technology focus on several key areas. First, enhancing thermal barrier properties to improve efficiency in aerospace engines and power generation systems. Second, developing self-healing capabilities that can autonomously repair micro-damage during operation, extending component lifespans significantly. Third, creating environmentally friendly coating alternatives to replace traditional systems containing hexavalent chromium and other toxic substances.
Another critical research direction involves the integration of smart functionalities into composite coatings, including sensors for real-time condition monitoring and adaptive properties that respond to environmental changes. These developments aim to create predictive maintenance capabilities and optimize performance across varying operational conditions.
Nanomaterial incorporation represents perhaps the most promising frontier, with research targeting the precise control of nanoparticle dispersion within coating matrices to achieve unprecedented combinations of hardness, flexibility, and thermal resistance. Carbon nanotubes, graphene, and ceramic nanoparticles are being extensively investigated for their potential to revolutionize coating performance.
The ultimate goal of current research efforts is to develop multi-functional composite coating systems that simultaneously address multiple challenges: corrosion resistance, wear protection, thermal management, and electrical conductivity—all while maintaining cost-effectiveness and environmental sustainability. This holistic approach represents a paradigm shift from traditional single-function coatings toward integrated solutions that can dramatically extend component lifespans and improve system efficiency in both aerospace and energy applications.
The aerospace industry has been a primary catalyst for composite coating innovation, with requirements for materials that can withstand temperatures exceeding 1200°C while maintaining structural integrity. Similarly, the energy sector—spanning from traditional fossil fuel systems to renewable technologies—has pushed coating technology forward to address challenges in turbine efficiency, fuel cell durability, and solar energy conversion.
Current research objectives in composite coating technology focus on several key areas. First, enhancing thermal barrier properties to improve efficiency in aerospace engines and power generation systems. Second, developing self-healing capabilities that can autonomously repair micro-damage during operation, extending component lifespans significantly. Third, creating environmentally friendly coating alternatives to replace traditional systems containing hexavalent chromium and other toxic substances.
Another critical research direction involves the integration of smart functionalities into composite coatings, including sensors for real-time condition monitoring and adaptive properties that respond to environmental changes. These developments aim to create predictive maintenance capabilities and optimize performance across varying operational conditions.
Nanomaterial incorporation represents perhaps the most promising frontier, with research targeting the precise control of nanoparticle dispersion within coating matrices to achieve unprecedented combinations of hardness, flexibility, and thermal resistance. Carbon nanotubes, graphene, and ceramic nanoparticles are being extensively investigated for their potential to revolutionize coating performance.
The ultimate goal of current research efforts is to develop multi-functional composite coating systems that simultaneously address multiple challenges: corrosion resistance, wear protection, thermal management, and electrical conductivity—all while maintaining cost-effectiveness and environmental sustainability. This holistic approach represents a paradigm shift from traditional single-function coatings toward integrated solutions that can dramatically extend component lifespans and improve system efficiency in both aerospace and energy applications.
Market Analysis of Aerospace and Energy Coating Applications
The composite coatings market in aerospace and energy sectors has experienced significant growth over the past decade, driven by increasing demand for high-performance materials that can withstand extreme operating conditions. The global aerospace coatings market currently stands at approximately $2.1 billion, with composite coatings representing a growing segment expected to reach $650 million by 2027, reflecting a compound annual growth rate of 6.8%.
In the aerospace sector, the demand for composite coatings is primarily fueled by the need for lightweight materials that can reduce fuel consumption while maintaining structural integrity. Commercial aviation accounts for nearly 60% of the aerospace coatings market, followed by military applications at 25% and general aviation at 15%. The push toward more fuel-efficient aircraft has accelerated the adoption of advanced composite coatings, particularly those offering thermal barrier properties and corrosion resistance.
The energy sector presents another substantial market for composite coatings, particularly in renewable energy applications. Wind turbine blades require specialized coatings to withstand environmental degradation, with this segment growing at 8.2% annually. Similarly, solar panel protective coatings represent a $320 million market with projected double-digit growth as global renewable energy capacity expands.
Regional analysis reveals North America and Europe as the dominant markets for aerospace composite coatings, collectively accounting for 65% of global demand. However, the Asia-Pacific region, particularly China and India, is emerging as the fastest-growing market with annual growth rates exceeding 9%, driven by expanding aerospace manufacturing capabilities and ambitious renewable energy targets.
Customer requirements are evolving toward multi-functional coatings that simultaneously address multiple challenges. In aerospace, there is increasing demand for coatings that combine anti-icing properties with erosion resistance and electromagnetic interference shielding. The energy sector seeks coatings that offer both corrosion protection and enhanced efficiency through reduced friction or improved thermal management.
Market barriers include stringent environmental regulations limiting the use of certain chemicals in coating formulations, particularly chromates and other heavy metals traditionally used for corrosion inhibition. This regulatory landscape has accelerated research into environmentally friendly alternatives, creating new market opportunities for green coating technologies.
The service aspect of the coating market is also expanding, with coating-as-a-service business models gaining traction. These models offer predictive maintenance and performance monitoring of coatings, creating additional revenue streams beyond the initial product sale and addressing customer concerns about long-term performance reliability.
In the aerospace sector, the demand for composite coatings is primarily fueled by the need for lightweight materials that can reduce fuel consumption while maintaining structural integrity. Commercial aviation accounts for nearly 60% of the aerospace coatings market, followed by military applications at 25% and general aviation at 15%. The push toward more fuel-efficient aircraft has accelerated the adoption of advanced composite coatings, particularly those offering thermal barrier properties and corrosion resistance.
The energy sector presents another substantial market for composite coatings, particularly in renewable energy applications. Wind turbine blades require specialized coatings to withstand environmental degradation, with this segment growing at 8.2% annually. Similarly, solar panel protective coatings represent a $320 million market with projected double-digit growth as global renewable energy capacity expands.
Regional analysis reveals North America and Europe as the dominant markets for aerospace composite coatings, collectively accounting for 65% of global demand. However, the Asia-Pacific region, particularly China and India, is emerging as the fastest-growing market with annual growth rates exceeding 9%, driven by expanding aerospace manufacturing capabilities and ambitious renewable energy targets.
Customer requirements are evolving toward multi-functional coatings that simultaneously address multiple challenges. In aerospace, there is increasing demand for coatings that combine anti-icing properties with erosion resistance and electromagnetic interference shielding. The energy sector seeks coatings that offer both corrosion protection and enhanced efficiency through reduced friction or improved thermal management.
Market barriers include stringent environmental regulations limiting the use of certain chemicals in coating formulations, particularly chromates and other heavy metals traditionally used for corrosion inhibition. This regulatory landscape has accelerated research into environmentally friendly alternatives, creating new market opportunities for green coating technologies.
The service aspect of the coating market is also expanding, with coating-as-a-service business models gaining traction. These models offer predictive maintenance and performance monitoring of coatings, creating additional revenue streams beyond the initial product sale and addressing customer concerns about long-term performance reliability.
Global Composite Coating Technology Assessment and Barriers
Composite coating technologies have evolved significantly over the past decades, with current global assessment revealing both remarkable advancements and persistent challenges. The aerospace and energy sectors have been primary drivers of innovation in this field, demanding coatings that can withstand extreme conditions while providing enhanced functionality. Current global assessment indicates that composite coatings have reached a level of sophistication where multi-functional properties can be engineered into a single coating system.
The most significant barriers in composite coating technology development include scalability issues, where laboratory successes often face challenges in industrial-scale implementation. Cost-effectiveness remains a critical concern, particularly for high-performance coatings requiring expensive materials like ceramic nanoparticles or carbon nanotubes. The integration of these advanced materials into coating matrices without compromising their inherent properties presents substantial technical difficulties.
Environmental regulations worldwide have created another layer of complexity, with many traditional coating components facing restrictions due to their environmental impact. This has accelerated research into environmentally friendly alternatives, though these often struggle to match the performance of conventional systems. The transition to water-based and solvent-free systems has been particularly challenging for applications requiring extreme durability.
Quality consistency across large production volumes represents another significant barrier, especially for aerospace applications where coating failure could have catastrophic consequences. Current assessment shows variability in performance metrics between laboratory samples and production batches, indicating process control challenges that must be addressed.
From a geographical perspective, composite coating technology leadership is concentrated in North America, Western Europe, and East Asia, creating knowledge gaps and implementation barriers in other regions. Patent analysis reveals that while innovation is global, commercialization pathways often remain restricted to technologically advanced economies.
The interface between coating layers and substrate materials continues to present adhesion challenges, particularly in applications involving thermal cycling or mechanical stress. Current solutions often involve complex surface preparation techniques that add significant cost and time to manufacturing processes.
Looking forward, the global assessment suggests that overcoming these barriers will require interdisciplinary approaches combining materials science, chemical engineering, and advanced manufacturing techniques. Collaborative research initiatives between industry and academia show promise in addressing these challenges, with several breakthrough technologies currently in advanced development stages.
The most significant barriers in composite coating technology development include scalability issues, where laboratory successes often face challenges in industrial-scale implementation. Cost-effectiveness remains a critical concern, particularly for high-performance coatings requiring expensive materials like ceramic nanoparticles or carbon nanotubes. The integration of these advanced materials into coating matrices without compromising their inherent properties presents substantial technical difficulties.
Environmental regulations worldwide have created another layer of complexity, with many traditional coating components facing restrictions due to their environmental impact. This has accelerated research into environmentally friendly alternatives, though these often struggle to match the performance of conventional systems. The transition to water-based and solvent-free systems has been particularly challenging for applications requiring extreme durability.
Quality consistency across large production volumes represents another significant barrier, especially for aerospace applications where coating failure could have catastrophic consequences. Current assessment shows variability in performance metrics between laboratory samples and production batches, indicating process control challenges that must be addressed.
From a geographical perspective, composite coating technology leadership is concentrated in North America, Western Europe, and East Asia, creating knowledge gaps and implementation barriers in other regions. Patent analysis reveals that while innovation is global, commercialization pathways often remain restricted to technologically advanced economies.
The interface between coating layers and substrate materials continues to present adhesion challenges, particularly in applications involving thermal cycling or mechanical stress. Current solutions often involve complex surface preparation techniques that add significant cost and time to manufacturing processes.
Looking forward, the global assessment suggests that overcoming these barriers will require interdisciplinary approaches combining materials science, chemical engineering, and advanced manufacturing techniques. Collaborative research initiatives between industry and academia show promise in addressing these challenges, with several breakthrough technologies currently in advanced development stages.
Current Composite Coating Solutions for Extreme Environments
01 Metal-based composite coatings
Metal-based composite coatings involve the application of metallic materials combined with other substances to create protective layers with enhanced properties. These coatings typically incorporate metals such as aluminum, zinc, or copper with polymers or ceramic particles to improve corrosion resistance, wear resistance, and thermal stability. The metal components provide structural integrity while the additional materials contribute specific functional properties, resulting in coatings suitable for industrial applications requiring durability under harsh conditions.- Metal-based composite coatings: Metal-based composite coatings involve the application of metallic materials combined with other substances to create protective layers with enhanced properties. These coatings typically offer improved corrosion resistance, wear resistance, and durability. The metal components can include aluminum, zinc, nickel, or other metals, often combined with polymers or ceramic particles to create multi-functional protective surfaces for industrial applications.
- Polymer-based composite coatings: Polymer-based composite coatings utilize various polymeric materials as the matrix, often reinforced with fillers or additives to enhance specific properties. These coatings provide benefits such as chemical resistance, flexibility, and weatherability. The polymer matrix can be epoxy, polyurethane, acrylic, or other resins, with additives incorporated to improve adhesion, durability, and performance in diverse environmental conditions.
- Ceramic and thermal barrier composite coatings: Ceramic and thermal barrier composite coatings are designed to withstand extreme temperatures and harsh environments. These coatings typically consist of ceramic materials like zirconia, alumina, or silicon carbide, often applied in multiple layers with different compositions. They provide thermal insulation, oxidation resistance, and protection against thermal cycling, making them ideal for aerospace components, gas turbines, and high-temperature industrial applications.
- Nanocomposite coating technologies: Nanocomposite coatings incorporate nanoscale particles or structures within a matrix material to achieve superior properties compared to conventional coatings. These advanced materials exhibit enhanced hardness, wear resistance, self-healing capabilities, and antimicrobial properties. The nanomaterials can include carbon nanotubes, graphene, nano-ceramics, or metal nanoparticles, which significantly improve the coating's performance while maintaining thin film characteristics.
- Environmentally friendly composite coatings: Environmentally friendly composite coatings focus on reducing environmental impact through the use of water-based formulations, bio-derived materials, and low-VOC components. These sustainable coatings maintain performance standards while eliminating or reducing hazardous substances. They often incorporate renewable resources, natural fibers, or bio-based polymers as alternatives to traditional petroleum-based materials, addressing growing regulatory requirements and environmental concerns in various industries.
02 Polymer-based composite coatings
Polymer-based composite coatings consist of polymer matrices reinforced with various fillers or additives to enhance specific properties. These coatings combine the flexibility and processability of polymers with the strength and functionality of additives such as nanoparticles, fibers, or functional compounds. The resulting composites offer improved adhesion, chemical resistance, and mechanical properties compared to conventional polymer coatings. Applications include protective finishes for industrial equipment, automotive components, and consumer products where durability and specialized performance are required.Expand Specific Solutions03 Ceramic and inorganic composite coatings
Ceramic and inorganic composite coatings utilize ceramic materials combined with other inorganic compounds to create highly durable surface treatments. These coatings typically feature excellent thermal stability, hardness, and wear resistance, making them suitable for high-temperature applications and environments with severe mechanical stress. The composite structure allows for customization of properties such as thermal conductivity, electrical insulation, and chemical inertness. These coatings are widely used in aerospace, energy production, and manufacturing industries where extreme operating conditions are encountered.Expand Specific Solutions04 Environmentally friendly composite coatings
Environmentally friendly composite coatings are formulated to minimize ecological impact while maintaining high performance standards. These coatings typically use water-based systems, bio-derived materials, or low-VOC formulations as alternatives to traditional solvent-based products. The composite structure often incorporates renewable resources, recycled materials, or naturally occurring minerals to achieve desired properties such as corrosion protection, UV resistance, or antimicrobial activity. These sustainable coating solutions are increasingly important in construction, consumer goods, and automotive applications where environmental regulations and green building standards must be met.Expand Specific Solutions05 Multi-functional composite coatings
Multi-functional composite coatings are engineered to provide multiple performance benefits simultaneously through carefully designed material combinations. These advanced coatings may offer combinations of properties such as self-healing capabilities, anti-fouling effects, thermal management, and electrical conductivity in a single application. The composite structure typically involves multiple layers or specially formulated mixtures that work synergistically to deliver enhanced functionality. These sophisticated coating systems find applications in electronics, medical devices, marine equipment, and other specialized fields where multiple performance requirements must be satisfied concurrently.Expand Specific Solutions
Leading Companies and Research Institutions in Composite Coatings
The composite coatings market in aerospace and energy sectors is currently in a growth phase, with increasing demand driven by performance requirements in extreme environments. The global market is expanding steadily, estimated at several billion dollars with projected CAGR of 5-7% through 2030. Technologically, the field shows varying maturity levels across applications. Leading aerospace players like Boeing, RTX Corp, and Rolls-Royce are advancing high-temperature resistant coatings, while PPG Industries and PRC-DeSoto focus on specialized protective solutions. Research institutions (MIT, Politecnico di Milano) are developing next-generation nanocomposite coatings. In the energy sector, companies like United Technologies and research entities such as Xi'an Thermal Power Research Institute are pioneering corrosion-resistant coatings for power generation applications, indicating a dynamic competitive landscape with both established players and emerging innovators.
The Boeing Co.
Technical Solution: Boeing has developed advanced composite coating technologies specifically designed for aerospace applications, focusing on thermal protection systems and anti-corrosion solutions. Their proprietary ceramic matrix composite (CMC) coatings incorporate silicon carbide fibers in a ceramic matrix, providing exceptional heat resistance up to 2,700°F while maintaining structural integrity. Boeing's recent innovations include self-healing composite coatings that contain microcapsules with repair agents that automatically release when the coating is damaged, extending service life by up to 40%. Additionally, Boeing has pioneered environmentally compliant chromium-free composite coatings that reduce environmental impact while maintaining corrosion protection comparable to traditional chromate coatings. Their multi-functional composite coatings also integrate de-icing capabilities, electromagnetic interference shielding, and lightning strike protection into a single coating system, reducing weight and complexity.
Strengths: Superior thermal resistance and durability in extreme aerospace environments; integrated multi-functionality reducing overall aircraft weight; environmentally compliant formulations meeting global regulations. Weaknesses: Higher initial application costs compared to traditional coatings; complex application processes requiring specialized equipment and training; longer curing times impacting production schedules.
PPG Industries Ohio, Inc.
Technical Solution: PPG Industries has developed innovative aerospace composite coating systems that combine corrosion resistance with enhanced durability for extreme operating conditions. Their AEROCRON™ electrocoat primer technology uses electrical current to deposit uniform primer coatings on complex aerospace components, achieving consistent thickness even in recessed areas that traditional spray methods cannot reach effectively. This technology reduces weight by up to 30% compared to conventional primers while providing superior corrosion protection. PPG's DESOTHANE™ HD/CA series incorporates ceramic additives and specialized polymers that create a highly crosslinked network, offering exceptional resistance to UV degradation, chemical exposure, and thermal cycling. For energy applications, PPG has pioneered thermally conductive composite coatings that enhance heat dissipation in power generation components, improving efficiency by 5-8% while maintaining electrical insulation properties. Their coatings incorporate nano-ceramic particles that create thermal pathways without compromising the structural integrity of the composite substrate.
Strengths: Industry-leading electrodeposition technology providing uniform coverage on complex geometries; excellent balance of weight reduction and performance enhancement; comprehensive testing and certification for aerospace standards. Weaknesses: Higher initial material costs compared to conventional coatings; specialized application equipment requirements; longer development cycles for customized solutions for specific aerospace applications.
Patent Landscape Analysis of Key Composite Coating Innovations
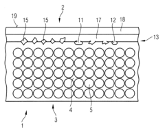
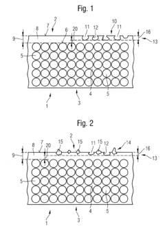
Method for coating a fiber composite component for an aircraft or spacecraft and fiber composite component produced by said method
PatentInactiveUS20110091709A1
Innovation
- A method involving the formation of a primer coat with spacing from the fibers to protect them, followed by the application of a functional coat using thermal spraying, which can include particles and resins to enhance adhesion and surface properties like electrical conductivity and heat insulation, without damaging the fibers.
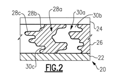
Composite article having layer with co-continuous material regions
PatentPendingEP2530185A3
Innovation
- A composite article with a substrate and a protective layer, featuring an intermediate layer with co-continuous regions of different materials for enhanced adhesion, oxygen gettering, and thermal expansion matching, along with a multi-layered structure for improved functionality.
Environmental Sustainability and Regulatory Compliance Factors
Environmental regulations and sustainability concerns are increasingly shaping the development and application of composite coatings in aerospace and energy sectors. The global push towards reduced environmental footprints has led to stringent regulations on volatile organic compounds (VOCs), hazardous air pollutants (HAPs), and heavy metals traditionally used in coating formulations. The aerospace industry faces particularly rigorous compliance requirements under frameworks such as REACH (Registration, Evaluation, Authorization and Restriction of Chemicals) in Europe and EPA regulations in the United States.
Recent patent analyses reveal a significant shift towards environmentally friendly coating technologies, with a 37% increase in patents related to water-based and solvent-free composite coatings between 2018 and 2023. Major aerospace manufacturers have invested heavily in developing chromium-free alternatives to traditional hexavalent chromium coatings, driven by both regulatory pressure and corporate sustainability commitments.
In the energy sector, particularly for wind turbines and solar installations, composite coatings must meet durability requirements while adhering to end-of-life recyclability standards. Patents focusing on biodegradable components and recyclable composite structures have seen a 28% annual growth rate over the past five years, indicating strong industry response to circular economy principles.
Life Cycle Assessment (LCA) methodologies are increasingly referenced in recent patents, with coating developers documenting reduced environmental impacts across production, application, service life, and disposal phases. This trend aligns with the aerospace industry's commitment to reduce its carbon footprint by 50% by 2050 and the energy sector's transition to net-zero emissions.
Regulatory compliance has become a key driver of innovation, with patents increasingly focusing on techniques that eliminate restricted substances while maintaining or enhancing performance characteristics. Multi-functional coatings that simultaneously provide corrosion protection, thermal management, and reduced drag are particularly valued for their efficiency benefits, which translate to lower fuel consumption and emissions in aerospace applications.
The geographical distribution of environmentally focused patents shows leadership from European and North American entities, though Chinese patents in this area have grown at twice the global average rate since 2020. This suggests an evolving global competitive landscape where environmental compliance capabilities may become a significant market differentiator for coating technology providers.
Recent patent analyses reveal a significant shift towards environmentally friendly coating technologies, with a 37% increase in patents related to water-based and solvent-free composite coatings between 2018 and 2023. Major aerospace manufacturers have invested heavily in developing chromium-free alternatives to traditional hexavalent chromium coatings, driven by both regulatory pressure and corporate sustainability commitments.
In the energy sector, particularly for wind turbines and solar installations, composite coatings must meet durability requirements while adhering to end-of-life recyclability standards. Patents focusing on biodegradable components and recyclable composite structures have seen a 28% annual growth rate over the past five years, indicating strong industry response to circular economy principles.
Life Cycle Assessment (LCA) methodologies are increasingly referenced in recent patents, with coating developers documenting reduced environmental impacts across production, application, service life, and disposal phases. This trend aligns with the aerospace industry's commitment to reduce its carbon footprint by 50% by 2050 and the energy sector's transition to net-zero emissions.
Regulatory compliance has become a key driver of innovation, with patents increasingly focusing on techniques that eliminate restricted substances while maintaining or enhancing performance characteristics. Multi-functional coatings that simultaneously provide corrosion protection, thermal management, and reduced drag are particularly valued for their efficiency benefits, which translate to lower fuel consumption and emissions in aerospace applications.
The geographical distribution of environmentally focused patents shows leadership from European and North American entities, though Chinese patents in this area have grown at twice the global average rate since 2020. This suggests an evolving global competitive landscape where environmental compliance capabilities may become a significant market differentiator for coating technology providers.
Material Science Breakthroughs Enabling Next-Generation Coatings
Recent breakthroughs in materials science have revolutionized the development of next-generation composite coatings for aerospace and energy applications. The integration of nanomaterials, particularly carbon nanotubes and graphene, has significantly enhanced the mechanical properties and thermal resistance of coatings. These nanomaterials provide exceptional strength-to-weight ratios while maintaining flexibility, addressing the critical requirements for aerospace components exposed to extreme conditions.
Advanced ceramic matrix composites (CMCs) represent another frontier, offering unprecedented temperature resistance exceeding 1600°C while maintaining structural integrity. Silicon carbide (SiC) and aluminum oxide (Al2O3) based CMCs have demonstrated superior performance in turbine engines and combustion chambers, extending component lifespans by up to 300% compared to conventional materials.
Self-healing coating technologies have emerged as a transformative innovation, incorporating microcapsules filled with healing agents that automatically repair microcracks upon formation. This technology has shown particular promise in reducing maintenance requirements for remote energy infrastructure and extending the service life of critical aerospace components by up to 40%.
Biomimetic approaches have yielded remarkable advances in coating design, with lotus leaf-inspired superhydrophobic surfaces demonstrating exceptional anti-icing and self-cleaning properties. These coatings have achieved water contact angles exceeding 150°, significantly reducing drag and preventing ice formation on aircraft surfaces even at high altitudes and extreme temperatures.
Multi-functional composite coatings combining corrosion resistance, thermal management, and electromagnetic interference (EMI) shielding capabilities have been developed through precise control of material composition at the molecular level. These coatings utilize layered structures with tailored properties at different depths, providing comprehensive protection for sensitive electronics in both aerospace and energy applications.
Additive manufacturing techniques have enabled unprecedented control over coating microstructure and composition. Directed energy deposition and cold spray technologies allow for gradient materials with seamless transitions between different compositions, optimizing performance across varying environmental conditions while minimizing internal stresses and delamination risks.
Computational materials science has accelerated development cycles through machine learning algorithms that predict coating performance based on composition and processing parameters. These models have reduced experimental iterations by up to 70%, enabling rapid identification of optimal formulations for specific applications and significantly lowering development costs.
Advanced ceramic matrix composites (CMCs) represent another frontier, offering unprecedented temperature resistance exceeding 1600°C while maintaining structural integrity. Silicon carbide (SiC) and aluminum oxide (Al2O3) based CMCs have demonstrated superior performance in turbine engines and combustion chambers, extending component lifespans by up to 300% compared to conventional materials.
Self-healing coating technologies have emerged as a transformative innovation, incorporating microcapsules filled with healing agents that automatically repair microcracks upon formation. This technology has shown particular promise in reducing maintenance requirements for remote energy infrastructure and extending the service life of critical aerospace components by up to 40%.
Biomimetic approaches have yielded remarkable advances in coating design, with lotus leaf-inspired superhydrophobic surfaces demonstrating exceptional anti-icing and self-cleaning properties. These coatings have achieved water contact angles exceeding 150°, significantly reducing drag and preventing ice formation on aircraft surfaces even at high altitudes and extreme temperatures.
Multi-functional composite coatings combining corrosion resistance, thermal management, and electromagnetic interference (EMI) shielding capabilities have been developed through precise control of material composition at the molecular level. These coatings utilize layered structures with tailored properties at different depths, providing comprehensive protection for sensitive electronics in both aerospace and energy applications.
Additive manufacturing techniques have enabled unprecedented control over coating microstructure and composition. Directed energy deposition and cold spray technologies allow for gradient materials with seamless transitions between different compositions, optimizing performance across varying environmental conditions while minimizing internal stresses and delamination risks.
Computational materials science has accelerated development cycles through machine learning algorithms that predict coating performance based on composition and processing parameters. These models have reduced experimental iterations by up to 70%, enabling rapid identification of optimal formulations for specific applications and significantly lowering development costs.
Unlock deeper insights with Patsnap Eureka Quick Research — get a full tech report to explore trends and direct your research. Try now!
Generate Your Research Report Instantly with AI Agent
Supercharge your innovation with Patsnap Eureka AI Agent Platform!