ICP-MS vs GC-MS: Which Excels in Analyzing Complex Organic Mate?
SEP 19, 20259 MIN READ
Generate Your Research Report Instantly with AI Agent
Patsnap Eureka helps you evaluate technical feasibility & market potential.
Mass Spectrometry Evolution and Objectives
Mass spectrometry has evolved significantly since its inception in the early 20th century, transforming from a rudimentary analytical technique into a sophisticated tool essential for modern scientific research. The journey began with J.J. Thomson's work on canal rays in 1913, which laid the foundation for mass spectrometry principles. By the 1940s, the technique had advanced to enable isotope separation during the Manhattan Project, demonstrating its strategic importance.
The 1950s and 1960s witnessed the development of various ionization methods, including electron ionization (EI) and chemical ionization (CI), which expanded the range of analyzable compounds. The introduction of Gas Chromatography-Mass Spectrometry (GC-MS) in the 1970s represented a significant milestone, allowing for the separation and identification of complex mixtures of volatile compounds.
The 1980s marked another revolutionary period with the invention of soft ionization techniques such as Electrospray Ionization (ESI) and Matrix-Assisted Laser Desorption/Ionization (MALDI). These innovations enabled the analysis of large biomolecules without fragmentation, opening new frontiers in proteomics and genomics research.
Inductively Coupled Plasma-Mass Spectrometry (ICP-MS) emerged in the 1980s as a powerful technique for elemental analysis, offering unprecedented sensitivity for detecting metals and several non-metals. Its development addressed the growing need for trace element analysis in environmental, geological, and biological samples.
The technological evolution continued into the 21st century with improvements in resolution, sensitivity, and data processing capabilities. Modern mass spectrometers can now detect compounds at femtogram levels and provide accurate mass measurements with sub-ppm error rates, enabling applications previously deemed impossible.
The primary objective of comparing ICP-MS and GC-MS in analyzing complex organic materials is to determine which technique provides superior performance across various analytical parameters. These include detection limits, specificity, accuracy, precision, sample throughput, and applicability to different types of organic compounds.
Additionally, this technical assessment aims to identify the complementary strengths of each technique and explore potential synergistic applications. Understanding how these technologies can be optimally deployed—either independently or in tandem—will guide research institutions and industries in making informed investment decisions for their analytical laboratories.
The ultimate goal is to establish a comprehensive framework for selecting the appropriate mass spectrometry technique based on specific analytical requirements, sample characteristics, and research objectives. This framework will serve as a valuable resource for scientists and technologists working with complex organic materials across diverse fields including pharmaceuticals, environmental science, forensics, and food safety.
The 1950s and 1960s witnessed the development of various ionization methods, including electron ionization (EI) and chemical ionization (CI), which expanded the range of analyzable compounds. The introduction of Gas Chromatography-Mass Spectrometry (GC-MS) in the 1970s represented a significant milestone, allowing for the separation and identification of complex mixtures of volatile compounds.
The 1980s marked another revolutionary period with the invention of soft ionization techniques such as Electrospray Ionization (ESI) and Matrix-Assisted Laser Desorption/Ionization (MALDI). These innovations enabled the analysis of large biomolecules without fragmentation, opening new frontiers in proteomics and genomics research.
Inductively Coupled Plasma-Mass Spectrometry (ICP-MS) emerged in the 1980s as a powerful technique for elemental analysis, offering unprecedented sensitivity for detecting metals and several non-metals. Its development addressed the growing need for trace element analysis in environmental, geological, and biological samples.
The technological evolution continued into the 21st century with improvements in resolution, sensitivity, and data processing capabilities. Modern mass spectrometers can now detect compounds at femtogram levels and provide accurate mass measurements with sub-ppm error rates, enabling applications previously deemed impossible.
The primary objective of comparing ICP-MS and GC-MS in analyzing complex organic materials is to determine which technique provides superior performance across various analytical parameters. These include detection limits, specificity, accuracy, precision, sample throughput, and applicability to different types of organic compounds.
Additionally, this technical assessment aims to identify the complementary strengths of each technique and explore potential synergistic applications. Understanding how these technologies can be optimally deployed—either independently or in tandem—will guide research institutions and industries in making informed investment decisions for their analytical laboratories.
The ultimate goal is to establish a comprehensive framework for selecting the appropriate mass spectrometry technique based on specific analytical requirements, sample characteristics, and research objectives. This framework will serve as a valuable resource for scientists and technologists working with complex organic materials across diverse fields including pharmaceuticals, environmental science, forensics, and food safety.
Market Applications for Complex Organic Material Analysis
The complex organic materials analysis market spans multiple high-value sectors, with ICP-MS and GC-MS technologies serving distinct yet overlapping application areas. Pharmaceutical and biotechnology industries represent the largest market segment, where these analytical techniques are essential for drug development, quality control, and impurity profiling. The pharmaceutical sector alone accounts for approximately 35% of the total analytical instrumentation market, with complex organic analysis being a critical component.
Environmental monitoring constitutes another significant application area, particularly for detecting organic pollutants in soil, water, and air samples. Regulatory agencies worldwide have established strict monitoring protocols that drive demand for both technologies, with environmental testing laboratories representing a steadily growing market segment that has seen annual growth rates exceeding 5% in recent years.
Food safety and quality control applications have witnessed substantial growth, particularly in developed economies with stringent regulatory frameworks. Both ICP-MS and GC-MS play crucial roles in detecting pesticide residues, natural toxins, and adulterants in food products. The global food testing market has expanded significantly, creating sustained demand for advanced analytical capabilities.
Forensic science represents a specialized but high-profile application area where both technologies are employed for toxicology screening, drug analysis, and arson investigation. Law enforcement agencies and forensic laboratories worldwide rely on these technologies for definitive identification of complex organic compounds in criminal investigations.
Clinical diagnostics is an emerging application area with substantial growth potential, particularly for metabolomics and biomarker discovery. The precision medicine trend has accelerated adoption of advanced analytical techniques for personalized healthcare applications, creating new market opportunities for both technologies.
Industrial applications span multiple sectors including petrochemicals, polymers, and materials science, where complex organic analysis supports product development, quality assurance, and failure analysis. These diverse industrial applications collectively represent a substantial market segment with specific technical requirements.
Academic and research institutions constitute a stable market segment, utilizing both technologies for fundamental research across chemistry, biology, environmental science, and materials science disciplines. While budget constraints can limit purchasing power in this segment, it remains important for technology validation and development of new applications.
The geographical distribution of market demand shows North America and Europe as leading regions, with Asia-Pacific exhibiting the fastest growth rate due to expanding pharmaceutical, environmental, and food safety sectors in countries like China, India, and South Korea.
Environmental monitoring constitutes another significant application area, particularly for detecting organic pollutants in soil, water, and air samples. Regulatory agencies worldwide have established strict monitoring protocols that drive demand for both technologies, with environmental testing laboratories representing a steadily growing market segment that has seen annual growth rates exceeding 5% in recent years.
Food safety and quality control applications have witnessed substantial growth, particularly in developed economies with stringent regulatory frameworks. Both ICP-MS and GC-MS play crucial roles in detecting pesticide residues, natural toxins, and adulterants in food products. The global food testing market has expanded significantly, creating sustained demand for advanced analytical capabilities.
Forensic science represents a specialized but high-profile application area where both technologies are employed for toxicology screening, drug analysis, and arson investigation. Law enforcement agencies and forensic laboratories worldwide rely on these technologies for definitive identification of complex organic compounds in criminal investigations.
Clinical diagnostics is an emerging application area with substantial growth potential, particularly for metabolomics and biomarker discovery. The precision medicine trend has accelerated adoption of advanced analytical techniques for personalized healthcare applications, creating new market opportunities for both technologies.
Industrial applications span multiple sectors including petrochemicals, polymers, and materials science, where complex organic analysis supports product development, quality assurance, and failure analysis. These diverse industrial applications collectively represent a substantial market segment with specific technical requirements.
Academic and research institutions constitute a stable market segment, utilizing both technologies for fundamental research across chemistry, biology, environmental science, and materials science disciplines. While budget constraints can limit purchasing power in this segment, it remains important for technology validation and development of new applications.
The geographical distribution of market demand shows North America and Europe as leading regions, with Asia-Pacific exhibiting the fastest growth rate due to expanding pharmaceutical, environmental, and food safety sectors in countries like China, India, and South Korea.
Current Capabilities and Limitations of ICP-MS and GC-MS
ICP-MS (Inductively Coupled Plasma Mass Spectrometry) and GC-MS (Gas Chromatography Mass Spectrometry) represent two distinct analytical approaches with varying capabilities when analyzing complex organic materials. Each technology possesses unique strengths and limitations that determine its suitability for specific analytical challenges.
ICP-MS excels in elemental analysis, offering exceptional sensitivity with detection limits in the parts per trillion (ppt) range for many elements. This makes it particularly valuable for trace metal analysis in organic matrices. The technology demonstrates impressive multi-element capability, allowing simultaneous detection of numerous elements across the periodic table. However, ICP-MS faces significant limitations when analyzing organic compounds directly, as it primarily provides elemental composition without structural information.
GC-MS, conversely, specializes in the analysis of volatile and semi-volatile organic compounds. Its primary strength lies in providing detailed structural information about organic molecules, enabling precise identification of compounds within complex mixtures. The technology offers excellent separation capabilities through the gas chromatography component, allowing for differentiation between similar compounds. Modern GC-MS systems can achieve detection limits in the parts per billion (ppb) range for many organic analytes.
When analyzing complex organic materials, sample preparation requirements differ substantially between these technologies. ICP-MS typically requires complete digestion of organic matrices, potentially leading to loss of structural information. GC-MS necessitates extraction and often derivatization to enhance volatility, which can be time-consuming but preserves molecular structure.
Speed of analysis represents another point of differentiation. ICP-MS generally offers faster analysis times, with the ability to process multiple samples rapidly. GC-MS analyses typically require longer run times due to the chromatographic separation process, though this investment yields more comprehensive structural data.
Cost considerations also impact technology selection. ICP-MS systems generally require higher initial investment and maintenance costs compared to GC-MS platforms. Operating expenses, including consumables and gases, tend to be higher for ICP-MS due to its plasma requirements.
Regarding data interpretation, ICP-MS produces relatively straightforward elemental concentration data, while GC-MS generates complex chromatograms and mass spectra that require more sophisticated interpretation but yield richer information about molecular composition and structure.
Recent technological advancements have expanded the capabilities of both systems. Hyphenated techniques like LC-ICP-MS now enable better speciation analysis, while improvements in GC-MS ionization methods have broadened the range of analyzable compounds. These developments continue to refine the complementary roles these technologies play in comprehensive analysis of complex organic materials.
ICP-MS excels in elemental analysis, offering exceptional sensitivity with detection limits in the parts per trillion (ppt) range for many elements. This makes it particularly valuable for trace metal analysis in organic matrices. The technology demonstrates impressive multi-element capability, allowing simultaneous detection of numerous elements across the periodic table. However, ICP-MS faces significant limitations when analyzing organic compounds directly, as it primarily provides elemental composition without structural information.
GC-MS, conversely, specializes in the analysis of volatile and semi-volatile organic compounds. Its primary strength lies in providing detailed structural information about organic molecules, enabling precise identification of compounds within complex mixtures. The technology offers excellent separation capabilities through the gas chromatography component, allowing for differentiation between similar compounds. Modern GC-MS systems can achieve detection limits in the parts per billion (ppb) range for many organic analytes.
When analyzing complex organic materials, sample preparation requirements differ substantially between these technologies. ICP-MS typically requires complete digestion of organic matrices, potentially leading to loss of structural information. GC-MS necessitates extraction and often derivatization to enhance volatility, which can be time-consuming but preserves molecular structure.
Speed of analysis represents another point of differentiation. ICP-MS generally offers faster analysis times, with the ability to process multiple samples rapidly. GC-MS analyses typically require longer run times due to the chromatographic separation process, though this investment yields more comprehensive structural data.
Cost considerations also impact technology selection. ICP-MS systems generally require higher initial investment and maintenance costs compared to GC-MS platforms. Operating expenses, including consumables and gases, tend to be higher for ICP-MS due to its plasma requirements.
Regarding data interpretation, ICP-MS produces relatively straightforward elemental concentration data, while GC-MS generates complex chromatograms and mass spectra that require more sophisticated interpretation but yield richer information about molecular composition and structure.
Recent technological advancements have expanded the capabilities of both systems. Hyphenated techniques like LC-ICP-MS now enable better speciation analysis, while improvements in GC-MS ionization methods have broadened the range of analyzable compounds. These developments continue to refine the complementary roles these technologies play in comprehensive analysis of complex organic materials.
Comparative Analysis of ICP-MS and GC-MS Methodologies
01 ICP-MS analytical performance and sensitivity
Inductively Coupled Plasma Mass Spectrometry (ICP-MS) offers high sensitivity for elemental analysis with detection limits in the parts per trillion range. The technique provides multi-element detection capabilities with wide dynamic range and can analyze samples across various matrices. Recent advancements have improved interference reduction, enhanced ionization efficiency, and optimized sample introduction systems, resulting in better analytical performance for trace element analysis.- ICP-MS sensitivity and detection capabilities: Inductively Coupled Plasma Mass Spectrometry (ICP-MS) offers exceptional sensitivity for elemental analysis, capable of detecting trace elements at parts per trillion levels. The technique provides multi-element detection capabilities with wide dynamic range and high throughput. Recent advancements have improved detection limits and reduced interference effects through collision/reaction cell technologies, enhancing analytical performance for complex sample matrices.
- GC-MS separation efficiency and compound identification: Gas Chromatography-Mass Spectrometry (GC-MS) demonstrates excellent separation efficiency for volatile and semi-volatile organic compounds. The technique combines the high-resolution separation capabilities of gas chromatography with the powerful identification abilities of mass spectrometry. Modern GC-MS systems feature improved mass accuracy, enhanced spectral libraries, and advanced data processing algorithms that enable reliable identification of complex mixtures and unknown compounds at low concentrations.
- Sample preparation and introduction systems: Optimized sample preparation and introduction systems significantly impact the analytical performance of both ICP-MS and GC-MS techniques. Innovations include automated sample handling, microfluidic devices, and specialized extraction methods that minimize contamination and matrix effects. Advanced sample introduction systems improve ionization efficiency, reduce memory effects, and enhance overall reproducibility, leading to more accurate quantification and lower detection limits.
- Hyphenated techniques and multi-dimensional analysis: Hyphenated techniques combining ICP-MS or GC-MS with other analytical methods have expanded analytical capabilities. These include LC-ICP-MS, GC×GC-MS, and ICP-MS/MS configurations that provide enhanced selectivity, improved resolution, and reduced interferences. Multi-dimensional analysis approaches enable comprehensive characterization of complex samples, offering complementary information and overcoming limitations of single-technique methods.
- Calibration strategies and quality control: Advanced calibration strategies and quality control protocols are essential for ensuring reliable analytical performance in ICP-MS and GC-MS. These include isotope dilution techniques, internal standardization, matrix-matched calibration, and certified reference materials. Statistical process control methods, instrument performance verification procedures, and uncertainty estimation approaches have been developed to maintain data quality and ensure analytical results meet regulatory requirements and scientific standards.
02 GC-MS analytical performance characteristics
Gas Chromatography-Mass Spectrometry (GC-MS) provides excellent separation and identification capabilities for volatile and semi-volatile organic compounds. The technique offers high resolution, selectivity, and sensitivity for complex mixture analysis. Performance parameters include chromatographic resolution, mass accuracy, scan speed, and detection limits. Modern GC-MS systems incorporate advanced ionization techniques and improved detector technologies to enhance analytical performance for environmental, forensic, and pharmaceutical applications.Expand Specific Solutions03 Sample preparation and introduction systems
Effective sample preparation and introduction systems are critical for optimizing analytical performance in both ICP-MS and GC-MS techniques. These systems include automated sample handling, specialized extraction methods, and matrix modification approaches to improve analyte recovery and reduce interferences. Advanced sample introduction technologies such as laser ablation for ICP-MS and thermal desorption for GC-MS have expanded the range of sample types that can be analyzed while improving detection limits and reproducibility.Expand Specific Solutions04 Calibration and quality control methods
Robust calibration and quality control methods are essential for ensuring reliable analytical performance in ICP-MS and GC-MS analyses. These include internal standardization, isotope dilution, standard addition methods, and matrix-matched calibration approaches. Quality control procedures involve regular instrument performance verification, analysis of certified reference materials, and statistical evaluation of method performance parameters such as accuracy, precision, linearity, and detection limits to ensure data integrity and comparability across different laboratories.Expand Specific Solutions05 Hyphenated and complementary techniques
Hyphenated techniques combining ICP-MS or GC-MS with other analytical methods enhance overall analytical performance and expand application capabilities. These include LC-ICP-MS, GCxGC-MS, and hybrid MS/MS approaches that provide improved selectivity, sensitivity, and information content. Complementary techniques such as speciation analysis by HPLC-ICP-MS or comprehensive two-dimensional gas chromatography with time-of-flight mass spectrometry (GCxGC-TOFMS) offer enhanced separation power and detection capabilities for complex environmental and biological samples.Expand Specific Solutions
Leading Manufacturers and Research Institutions
The ICP-MS vs GC-MS analytical technology market is currently in a growth phase, with an estimated global market size exceeding $5 billion. ICP-MS dominates in elemental analysis with superior detection limits, while GC-MS excels in organic compound identification. Industry leaders include Thermo Fisher Scientific and Agilent Technologies, who offer comprehensive solutions across both technologies. Hitachi, LECO, and PerkinElmer (Revvity) have established strong positions through specialized applications and integrated systems. The technology landscape is maturing with recent innovations focusing on miniaturization and automation, while emerging players like Spectra Analysis and Cerno Bioscience are developing niche software solutions to enhance analytical capabilities and data interpretation.
Thermo Fisher Scientific (Bremen) GmbH
Technical Solution: Thermo Fisher Scientific has developed advanced solutions for both ICP-MS and GC-MS technologies focused on complex organic material analysis. Their ICP-MS systems feature triple quadrupole technology with advanced collision cell capabilities that effectively eliminate polyatomic interferences common when analyzing organic matrices. The iCAP TQ ICP-MS system utilizes their proprietary QCell technology with helium and reactive gases to achieve detection limits in the sub-ppt range even in challenging organic samples[2]. For GC-MS analysis, Thermo's Orbitrap technology provides ultra-high resolution mass spectrometry capabilities that can identify thousands of organic compounds in a single run. Their GC-Orbitrap systems combine chromatographic separation with mass accuracy below 1 ppm, enabling identification of unknown compounds in complex organic materials without reference standards[4]. Thermo has also developed specialized sample preparation protocols specifically designed to handle complex organic matrices prior to either ICP-MS or GC-MS analysis.
Strengths: Exceptional mass accuracy with Orbitrap technology for molecular identification; advanced interference removal in ICP-MS; comprehensive software ecosystem that supports multi-technique workflows. Weaknesses: Higher operational costs compared to some competitors; complex systems require significant user expertise; some specialized applications require custom method development.
LECO Corp.
Technical Solution: LECO Corporation has focused extensively on GC-MS technology for complex organic material analysis, particularly through their innovative time-of-flight mass spectrometry (TOF-MS) systems. Their Pegasus BT 4D system combines comprehensive two-dimensional gas chromatography (GCxGC) with high-speed TOF-MS to provide unparalleled separation of complex organic mixtures. This technology allows for the detection of thousands of compounds in a single analysis with significantly improved peak capacity compared to traditional GC-MS[5]. For complex organic materials like petroleum, food extracts, and environmental samples, LECO's ChromaTOF software incorporates advanced deconvolution algorithms that can identify co-eluting compounds and perform non-targeted screening. While LECO does not focus on ICP-MS technology, their GC-MS systems are specifically engineered to handle the molecular complexity of organic materials through enhanced chromatographic resolution and spectral deconvolution capabilities. Their systems can achieve detection limits in the low pg/mL range for many organic compounds and provide full-range non-targeted analysis capabilities[7].
Strengths: Industry-leading GCxGC-TOF-MS technology provides superior separation of complex mixtures; high acquisition rate (up to 500 spectra/second) captures fast-eluting compounds; advanced deconvolution software for complex sample analysis. Weaknesses: Limited to molecular analysis (no elemental capabilities like ICP-MS); higher initial investment compared to single-dimension GC-MS; requires specialized training for method development and data interpretation.
Breakthrough Technologies in Mass Spectrometry
Method and system for filtering gas chromatography-mass spectrometry data
PatentWO2013144790A1
Innovation
- A method and system for filtering GC-MS data that distinguishes between true and false positives, allowing users to visually select filtering methods based on predetermined data structures and decision lines or planes, reducing data noise and improving processing efficiency.
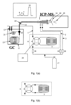
Analyzer constituted by gas chromatograph combined with inductively coupled plasma mass spectrometer
PatentInactiveUS8222596B2
Innovation
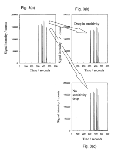
- Incorporating an oxygen permeable tube or membrane in the gas supply line of the ICP-MS allows oxygen from the air to be introduced into the plasma, reacting with organic solvents to prevent carbon deposition without needing an oxygen cylinder or flow rate controller, and using a selector valve to control oxygen introduction during solvent analysis.
Sample Preparation Challenges and Solutions
Sample preparation represents a critical determinant in the analytical performance of both ICP-MS and GC-MS when analyzing complex organic materials. The fundamental differences between these techniques necessitate distinct sample preparation approaches, each with unique challenges and solutions.
For ICP-MS analysis, the primary challenge lies in converting organic matrices into suitable aqueous solutions while minimizing potential interferences. Acid digestion methods using concentrated nitric acid, often combined with hydrogen peroxide or hydrochloric acid, are commonly employed. However, incomplete digestion of complex organic materials can lead to matrix effects and signal suppression. Microwave-assisted digestion has emerged as an effective solution, reducing digestion time from hours to minutes while improving recovery rates for volatile elements.
GC-MS sample preparation faces different obstacles, primarily related to volatility requirements. Complex organic materials must undergo extraction and derivatization to enhance volatility of target analytes. Liquid-liquid extraction (LLE) and solid-phase extraction (SPE) represent traditional approaches, but suffer from high solvent consumption and labor-intensive protocols. Recent advances in QuEChERS (Quick, Easy, Cheap, Effective, Rugged, and Safe) methodology have revolutionized sample preparation for GC-MS, offering simplified workflows and reduced matrix effects.
Cross-contamination presents a significant challenge for both techniques. For ICP-MS, trace metal contamination from laboratory equipment or reagents can compromise detection limits. Implementation of clean room protocols and ultra-pure reagents addresses this issue but increases operational costs. GC-MS faces similar concerns with carryover between injections, particularly for sticky compounds or those with high boiling points. Frequent inlet maintenance and specialized deactivated liners have proven effective in minimizing these effects.
Automation represents a promising solution pathway for both techniques. Automated sample preparation systems reduce human error, increase throughput, and improve reproducibility. For ICP-MS, automated dilution systems and integrated sample introduction systems (ISIS) have demonstrated significant improvements in precision. Similarly, GC-MS benefits from robotic sample preparation platforms that standardize extraction, concentration, and derivatization steps.
The selection between ICP-MS and GC-MS ultimately influences the complexity of sample preparation required. While ICP-MS generally demands more rigorous digestion procedures for organic materials, GC-MS often requires more elaborate extraction and derivatization steps to ensure analyte volatility. Recent developments in sample preparation technologies continue to address these challenges, progressively narrowing the performance gap between these powerful analytical techniques.
For ICP-MS analysis, the primary challenge lies in converting organic matrices into suitable aqueous solutions while minimizing potential interferences. Acid digestion methods using concentrated nitric acid, often combined with hydrogen peroxide or hydrochloric acid, are commonly employed. However, incomplete digestion of complex organic materials can lead to matrix effects and signal suppression. Microwave-assisted digestion has emerged as an effective solution, reducing digestion time from hours to minutes while improving recovery rates for volatile elements.
GC-MS sample preparation faces different obstacles, primarily related to volatility requirements. Complex organic materials must undergo extraction and derivatization to enhance volatility of target analytes. Liquid-liquid extraction (LLE) and solid-phase extraction (SPE) represent traditional approaches, but suffer from high solvent consumption and labor-intensive protocols. Recent advances in QuEChERS (Quick, Easy, Cheap, Effective, Rugged, and Safe) methodology have revolutionized sample preparation for GC-MS, offering simplified workflows and reduced matrix effects.
Cross-contamination presents a significant challenge for both techniques. For ICP-MS, trace metal contamination from laboratory equipment or reagents can compromise detection limits. Implementation of clean room protocols and ultra-pure reagents addresses this issue but increases operational costs. GC-MS faces similar concerns with carryover between injections, particularly for sticky compounds or those with high boiling points. Frequent inlet maintenance and specialized deactivated liners have proven effective in minimizing these effects.
Automation represents a promising solution pathway for both techniques. Automated sample preparation systems reduce human error, increase throughput, and improve reproducibility. For ICP-MS, automated dilution systems and integrated sample introduction systems (ISIS) have demonstrated significant improvements in precision. Similarly, GC-MS benefits from robotic sample preparation platforms that standardize extraction, concentration, and derivatization steps.
The selection between ICP-MS and GC-MS ultimately influences the complexity of sample preparation required. While ICP-MS generally demands more rigorous digestion procedures for organic materials, GC-MS often requires more elaborate extraction and derivatization steps to ensure analyte volatility. Recent developments in sample preparation technologies continue to address these challenges, progressively narrowing the performance gap between these powerful analytical techniques.
Environmental and Safety Considerations in MS Analysis
Mass spectrometry techniques, while powerful analytical tools, present significant environmental and safety considerations that laboratories must address. Both ICP-MS and GC-MS systems utilize hazardous materials and generate waste that requires proper management according to environmental regulations. The environmental impact of these technologies differs substantially based on their operational principles and consumables.
ICP-MS systems consume substantial amounts of argon gas and require careful management of acidic waste streams containing potentially toxic metals. These systems typically generate 5-10 liters of liquid waste per day of operation, necessitating specialized disposal protocols. Additionally, the high-temperature plasma (6,000-10,000K) presents thermal hazards and requires robust ventilation systems to manage ozone generation and metal vapor emissions.
GC-MS operations involve organic solvents that pose both environmental and safety concerns. These volatile organic compounds (VOCs) contribute to air pollution and present fire hazards in laboratory settings. The helium carrier gas used in GC-MS, while safer than hydrogen alternatives, represents consumption of a non-renewable resource with increasing supply constraints globally.
Safety protocols for MS laboratories must address chemical exposure risks specific to each technology. ICP-MS facilities require acid-resistant infrastructure and specialized training for handling concentrated acids and metal standards. GC-MS laboratories need solvent-resistant work surfaces, appropriate storage facilities for flammable materials, and vapor management systems to prevent operator exposure to toxic organic compounds.
Recent technological advances have improved the environmental profile of both techniques. Modern ICP-MS systems feature reduced argon consumption (30-40% less than previous generations) and smaller sample volume requirements. Similarly, newer GC-MS instruments incorporate solvent-saving technologies and more efficient thermal management systems that reduce energy consumption by approximately 25% compared to older models.
Regulatory compliance represents another critical consideration, with both technologies subject to increasingly stringent environmental regulations. Laboratories must implement comprehensive waste management programs, maintain detailed documentation of hazardous material handling, and often secure specialized permits depending on sample throughput and waste generation volumes. The total cost of environmental compliance can add 15-20% to operational expenses for high-throughput analytical facilities.
ICP-MS systems consume substantial amounts of argon gas and require careful management of acidic waste streams containing potentially toxic metals. These systems typically generate 5-10 liters of liquid waste per day of operation, necessitating specialized disposal protocols. Additionally, the high-temperature plasma (6,000-10,000K) presents thermal hazards and requires robust ventilation systems to manage ozone generation and metal vapor emissions.
GC-MS operations involve organic solvents that pose both environmental and safety concerns. These volatile organic compounds (VOCs) contribute to air pollution and present fire hazards in laboratory settings. The helium carrier gas used in GC-MS, while safer than hydrogen alternatives, represents consumption of a non-renewable resource with increasing supply constraints globally.
Safety protocols for MS laboratories must address chemical exposure risks specific to each technology. ICP-MS facilities require acid-resistant infrastructure and specialized training for handling concentrated acids and metal standards. GC-MS laboratories need solvent-resistant work surfaces, appropriate storage facilities for flammable materials, and vapor management systems to prevent operator exposure to toxic organic compounds.
Recent technological advances have improved the environmental profile of both techniques. Modern ICP-MS systems feature reduced argon consumption (30-40% less than previous generations) and smaller sample volume requirements. Similarly, newer GC-MS instruments incorporate solvent-saving technologies and more efficient thermal management systems that reduce energy consumption by approximately 25% compared to older models.
Regulatory compliance represents another critical consideration, with both technologies subject to increasingly stringent environmental regulations. Laboratories must implement comprehensive waste management programs, maintain detailed documentation of hazardous material handling, and often secure specialized permits depending on sample throughput and waste generation volumes. The total cost of environmental compliance can add 15-20% to operational expenses for high-throughput analytical facilities.
Unlock deeper insights with Patsnap Eureka Quick Research — get a full tech report to explore trends and direct your research. Try now!
Generate Your Research Report Instantly with AI Agent
Supercharge your innovation with Patsnap Eureka AI Agent Platform!







