Regulatory And Safety Considerations For AI-Driven Materials Proposals
SEP 1, 202510 MIN READ
Generate Your Research Report Instantly with AI Agent
Patsnap Eureka helps you evaluate technical feasibility & market potential.
AI Materials Regulatory Landscape and Objectives
The field of AI-driven materials development has witnessed significant evolution over the past decade, transitioning from theoretical concepts to practical applications across multiple industries. This technological progression has been accompanied by an increasingly complex regulatory landscape that varies considerably across different jurisdictions and application domains. Understanding these regulatory frameworks is essential for responsible innovation and commercial deployment of AI-materials technologies.
Historically, materials regulation has focused primarily on chemical safety, environmental impact, and performance standards. However, the integration of artificial intelligence into materials science introduces novel regulatory considerations related to algorithmic transparency, data governance, and validation methodologies. The European Union's REACH regulation, the United States' TSCA (Toxic Substances Control Act), and similar frameworks in Asia are now being reassessed to address the unique challenges posed by AI-accelerated materials discovery and development.
The primary objective of regulatory compliance in this domain is to ensure that AI-driven materials proposals meet safety standards while fostering innovation. This requires balancing precautionary principles with evidence-based risk assessment methodologies that can accommodate the accelerated pace of AI-enabled materials development. Current regulatory frameworks often struggle with this balance, as traditional approval timelines may impede the potential benefits of rapid materials innovation.
Key technological trends influencing the regulatory landscape include the rise of machine learning for toxicity prediction, high-throughput computational screening methods, and digital twins for materials performance simulation. These advances are pushing regulatory bodies to develop new guidelines specifically addressing AI-generated materials data reliability, validation protocols, and uncertainty quantification requirements.
International harmonization efforts are emerging through organizations like the OECD and ISO, which are developing standardized approaches to AI in materials science. These initiatives aim to create globally recognized benchmarks for safety assessment, performance validation, and regulatory submission requirements for AI-materials technologies.
The convergence of materials science regulations with emerging AI governance frameworks represents a significant challenge. While materials regulations typically focus on physical and chemical properties, AI governance addresses algorithmic bias, explainability, and data quality. The intersection of these domains requires interdisciplinary expertise and novel regulatory approaches that can address both the material outcomes and the AI methodologies used to develop them.
Our technical objectives in this landscape include developing comprehensive understanding of current regulatory requirements across major markets, identifying potential regulatory gaps specific to AI-materials development, and establishing proactive compliance strategies that can adapt to evolving regulatory expectations while maintaining competitive innovation timelines.
Historically, materials regulation has focused primarily on chemical safety, environmental impact, and performance standards. However, the integration of artificial intelligence into materials science introduces novel regulatory considerations related to algorithmic transparency, data governance, and validation methodologies. The European Union's REACH regulation, the United States' TSCA (Toxic Substances Control Act), and similar frameworks in Asia are now being reassessed to address the unique challenges posed by AI-accelerated materials discovery and development.
The primary objective of regulatory compliance in this domain is to ensure that AI-driven materials proposals meet safety standards while fostering innovation. This requires balancing precautionary principles with evidence-based risk assessment methodologies that can accommodate the accelerated pace of AI-enabled materials development. Current regulatory frameworks often struggle with this balance, as traditional approval timelines may impede the potential benefits of rapid materials innovation.
Key technological trends influencing the regulatory landscape include the rise of machine learning for toxicity prediction, high-throughput computational screening methods, and digital twins for materials performance simulation. These advances are pushing regulatory bodies to develop new guidelines specifically addressing AI-generated materials data reliability, validation protocols, and uncertainty quantification requirements.
International harmonization efforts are emerging through organizations like the OECD and ISO, which are developing standardized approaches to AI in materials science. These initiatives aim to create globally recognized benchmarks for safety assessment, performance validation, and regulatory submission requirements for AI-materials technologies.
The convergence of materials science regulations with emerging AI governance frameworks represents a significant challenge. While materials regulations typically focus on physical and chemical properties, AI governance addresses algorithmic bias, explainability, and data quality. The intersection of these domains requires interdisciplinary expertise and novel regulatory approaches that can address both the material outcomes and the AI methodologies used to develop them.
Our technical objectives in this landscape include developing comprehensive understanding of current regulatory requirements across major markets, identifying potential regulatory gaps specific to AI-materials development, and establishing proactive compliance strategies that can adapt to evolving regulatory expectations while maintaining competitive innovation timelines.
Market Demand for AI-Driven Materials Solutions
The market for AI-driven materials solutions is experiencing unprecedented growth as industries seek more efficient, sustainable, and innovative materials development processes. Current market analysis indicates that the materials science sector is undergoing a significant transformation, with AI technologies becoming central to research and development strategies across multiple industries.
Manufacturing sectors, particularly aerospace, automotive, and electronics, demonstrate the strongest demand for AI-driven materials solutions. These industries require materials with precise specifications to meet increasingly stringent performance and regulatory requirements. The pharmaceutical and healthcare sectors follow closely, where AI-assisted material discovery promises to accelerate drug development and medical device innovation while ensuring compliance with complex safety regulations.
Market research reveals that companies are primarily seeking AI solutions that address three key challenges: reducing the time-to-market for new materials, ensuring regulatory compliance across multiple jurisdictions, and minimizing environmental impact throughout the material lifecycle. This demand is driven by intensifying global competition and tightening regulatory frameworks, particularly regarding sustainability and safety standards.
Regulatory considerations are significantly shaping market demand patterns. Organizations are increasingly prioritizing AI systems that provide transparent decision-making processes and comprehensive documentation capabilities to satisfy regulatory scrutiny. Solutions offering built-in compliance features for various regulatory frameworks, including REACH in Europe, TSCA in the United States, and similar regulations in Asia-Pacific markets, command premium positioning.
Financial indicators support this growth trajectory, with corporate R&D investments in AI-driven materials development showing consistent annual increases. Venture capital funding for startups specializing in AI materials discovery platforms has similarly expanded, reflecting market confidence in the commercial potential of these technologies.
End-user surveys indicate that organizations are willing to invest substantially in AI materials solutions that demonstrate clear regulatory compliance advantages. The ability to predict potential safety issues early in the development process ranks among the top three purchasing criteria for decision-makers across industries.
Market segmentation analysis reveals an emerging preference for cloud-based, subscription model solutions that can adapt to evolving regulatory requirements through regular updates. This trend is particularly pronounced among mid-sized enterprises seeking to balance innovation capabilities with compliance management without significant capital expenditure.
The geographical distribution of demand shows mature markets in North America and Europe focusing on regulatory-compliant innovation, while rapidly growing Asian markets emphasize accelerated materials development capabilities with increasing attention to international compliance standards as these markets mature.
Manufacturing sectors, particularly aerospace, automotive, and electronics, demonstrate the strongest demand for AI-driven materials solutions. These industries require materials with precise specifications to meet increasingly stringent performance and regulatory requirements. The pharmaceutical and healthcare sectors follow closely, where AI-assisted material discovery promises to accelerate drug development and medical device innovation while ensuring compliance with complex safety regulations.
Market research reveals that companies are primarily seeking AI solutions that address three key challenges: reducing the time-to-market for new materials, ensuring regulatory compliance across multiple jurisdictions, and minimizing environmental impact throughout the material lifecycle. This demand is driven by intensifying global competition and tightening regulatory frameworks, particularly regarding sustainability and safety standards.
Regulatory considerations are significantly shaping market demand patterns. Organizations are increasingly prioritizing AI systems that provide transparent decision-making processes and comprehensive documentation capabilities to satisfy regulatory scrutiny. Solutions offering built-in compliance features for various regulatory frameworks, including REACH in Europe, TSCA in the United States, and similar regulations in Asia-Pacific markets, command premium positioning.
Financial indicators support this growth trajectory, with corporate R&D investments in AI-driven materials development showing consistent annual increases. Venture capital funding for startups specializing in AI materials discovery platforms has similarly expanded, reflecting market confidence in the commercial potential of these technologies.
End-user surveys indicate that organizations are willing to invest substantially in AI materials solutions that demonstrate clear regulatory compliance advantages. The ability to predict potential safety issues early in the development process ranks among the top three purchasing criteria for decision-makers across industries.
Market segmentation analysis reveals an emerging preference for cloud-based, subscription model solutions that can adapt to evolving regulatory requirements through regular updates. This trend is particularly pronounced among mid-sized enterprises seeking to balance innovation capabilities with compliance management without significant capital expenditure.
The geographical distribution of demand shows mature markets in North America and Europe focusing on regulatory-compliant innovation, while rapidly growing Asian markets emphasize accelerated materials development capabilities with increasing attention to international compliance standards as these markets mature.
Current Regulatory Frameworks and Safety Challenges
The regulatory landscape for AI-driven materials development remains fragmented globally, with significant variations in approach across different jurisdictions. In the United States, the FDA has established preliminary frameworks for evaluating AI-based materials in medical applications, while the EPA oversees chemical substances through the Toxic Substances Control Act (TSCA). However, these frameworks were not designed with AI-driven materials innovation in mind, creating regulatory gaps that pose challenges for industry compliance.
The European Union has taken a more proactive stance with its REACH (Registration, Evaluation, Authorization and Restriction of Chemicals) regulation, which requires comprehensive safety data for new materials. The EU's recent AI Act also introduces risk-based classifications that may impact materials development processes utilizing AI. Despite these advances, regulators worldwide struggle to keep pace with the rapid evolution of AI-driven materials science.
Safety assessment methodologies for novel materials proposed by AI systems present unique challenges. Traditional toxicology testing protocols may be inadequate for evaluating materials with properties that can be optimized by machine learning algorithms. The potential for AI to generate materials with unprecedented combinations of properties creates uncertainty in risk assessment frameworks that typically rely on historical data and established structure-activity relationships.
Data integrity and algorithmic transparency emerge as critical concerns in regulatory compliance. When AI systems propose novel materials, the provenance of training data and the interpretability of decision-making processes become essential for safety validation. Regulatory bodies increasingly demand explainable AI models that can articulate the reasoning behind materials proposals, particularly for high-risk applications like healthcare or infrastructure.
Cross-border harmonization of safety standards represents another significant challenge. Materials developed using AI often target global markets, yet must navigate inconsistent regulatory requirements across different regions. This regulatory fragmentation increases compliance costs and may inhibit innovation, particularly for smaller enterprises with limited resources for regulatory affairs.
Liability frameworks remain underdeveloped for scenarios involving adverse outcomes from AI-proposed materials. Questions persist regarding responsibility allocation between AI developers, materials manufacturers, and end-users when unforeseen properties emerge. Insurance markets have not yet developed mature models for underwriting these novel risks, creating additional barriers to commercialization.
Emerging best practices include the implementation of continuous monitoring systems that track material performance throughout the lifecycle, enabling early detection of safety concerns. Forward-thinking organizations are adopting "regulatory by design" approaches that incorporate compliance considerations into AI development processes from inception, rather than treating regulation as an aftermarket concern.
The European Union has taken a more proactive stance with its REACH (Registration, Evaluation, Authorization and Restriction of Chemicals) regulation, which requires comprehensive safety data for new materials. The EU's recent AI Act also introduces risk-based classifications that may impact materials development processes utilizing AI. Despite these advances, regulators worldwide struggle to keep pace with the rapid evolution of AI-driven materials science.
Safety assessment methodologies for novel materials proposed by AI systems present unique challenges. Traditional toxicology testing protocols may be inadequate for evaluating materials with properties that can be optimized by machine learning algorithms. The potential for AI to generate materials with unprecedented combinations of properties creates uncertainty in risk assessment frameworks that typically rely on historical data and established structure-activity relationships.
Data integrity and algorithmic transparency emerge as critical concerns in regulatory compliance. When AI systems propose novel materials, the provenance of training data and the interpretability of decision-making processes become essential for safety validation. Regulatory bodies increasingly demand explainable AI models that can articulate the reasoning behind materials proposals, particularly for high-risk applications like healthcare or infrastructure.
Cross-border harmonization of safety standards represents another significant challenge. Materials developed using AI often target global markets, yet must navigate inconsistent regulatory requirements across different regions. This regulatory fragmentation increases compliance costs and may inhibit innovation, particularly for smaller enterprises with limited resources for regulatory affairs.
Liability frameworks remain underdeveloped for scenarios involving adverse outcomes from AI-proposed materials. Questions persist regarding responsibility allocation between AI developers, materials manufacturers, and end-users when unforeseen properties emerge. Insurance markets have not yet developed mature models for underwriting these novel risks, creating additional barriers to commercialization.
Emerging best practices include the implementation of continuous monitoring systems that track material performance throughout the lifecycle, enabling early detection of safety concerns. Forward-thinking organizations are adopting "regulatory by design" approaches that incorporate compliance considerations into AI development processes from inception, rather than treating regulation as an aftermarket concern.
Existing Compliance Approaches for AI Materials Systems
01 Regulatory frameworks for AI-generated material innovations
Regulatory frameworks are being developed to address the unique challenges posed by AI-driven material innovations. These frameworks aim to establish guidelines for the approval, testing, and market introduction of materials proposed or designed by artificial intelligence systems. They include provisions for risk assessment methodologies specific to AI-generated materials, compliance requirements for manufacturers, and standardized protocols for demonstrating safety and efficacy before commercial deployment.- Regulatory frameworks for AI-generated material innovations: Regulatory frameworks are being developed to address the unique challenges posed by AI-driven material innovations. These frameworks aim to establish guidelines for the assessment, approval, and monitoring of novel materials proposed by AI systems. They include provisions for evaluating the safety, efficacy, and environmental impact of these materials before they enter the market. The frameworks also outline the responsibilities of developers and manufacturers in ensuring compliance with existing regulations while accommodating the rapid pace of AI-driven innovation.
- Safety assessment protocols for AI-proposed materials: Specialized safety assessment protocols are being established for materials proposed by AI systems. These protocols incorporate traditional toxicological testing methods while adding new parameters specific to AI-generated innovations. They include comprehensive risk assessment frameworks that consider both known and potential unknown risks associated with novel material compositions. The protocols emphasize the importance of transparent documentation of the AI decision-making process that led to the material proposal, enabling better evaluation of safety considerations throughout the material's lifecycle.
- Ethical considerations in AI-driven material development: Ethical frameworks are being integrated into the development and deployment of AI systems for material innovation. These frameworks address concerns related to transparency, accountability, and responsible innovation in the context of AI-proposed materials. They establish guidelines for ensuring that AI-driven material development considers societal impacts, sustainability concerns, and potential unintended consequences. The frameworks also emphasize the importance of human oversight in the final decision-making process regarding the approval and implementation of AI-generated material proposals.
- Environmental impact assessment of AI-proposed materials: Specialized methodologies are being developed for assessing the environmental impact of materials proposed by AI systems. These methodologies incorporate lifecycle analysis approaches that consider the environmental footprint of AI-proposed materials from production to disposal. They include frameworks for evaluating biodegradability, resource consumption, emissions, and other environmental parameters. The assessment processes also consider the potential for AI to optimize materials for reduced environmental impact while maintaining or enhancing performance characteristics.
- Data governance and intellectual property considerations: Comprehensive data governance frameworks are being established to address the unique challenges associated with AI-driven material innovation. These frameworks outline protocols for data collection, storage, usage, and sharing in the context of AI material development. They also address intellectual property considerations, including the attribution of inventorship when AI systems contribute significantly to material innovations. The frameworks establish guidelines for balancing proprietary interests with the need for transparency in safety and regulatory assessments of AI-proposed materials.
02 Safety assessment protocols for AI-proposed materials
Specialized safety assessment protocols are being developed for materials proposed by AI systems. These protocols include comprehensive toxicological evaluations, biocompatibility testing, environmental impact assessments, and long-term stability analyses. The safety frameworks incorporate both traditional testing methodologies and novel approaches designed specifically to address the unique characteristics and potential risks of AI-designed materials, ensuring they meet or exceed conventional safety standards before approval.Expand Specific Solutions03 Ethical considerations in AI-driven material development
Ethical frameworks are being established to guide the development and implementation of AI-driven material innovations. These frameworks address issues such as transparency in AI decision-making processes, accountability for material performance, equitable access to new technologies, and responsible sourcing of raw materials. They also consider the potential societal impacts of novel materials, including displacement of traditional industries and environmental sustainability concerns throughout the material lifecycle.Expand Specific Solutions04 Validation and verification systems for AI material proposals
Robust validation and verification systems are being implemented to ensure the reliability and safety of AI-proposed materials. These systems include computational validation models, experimental verification protocols, and performance benchmarking against established materials. They also incorporate mechanisms for continuous monitoring and feedback to improve AI algorithms and ensure that material properties match predicted characteristics. These validation frameworks help bridge the gap between theoretical AI proposals and practical, safe implementation.Expand Specific Solutions05 International harmonization of AI material standards
Efforts are underway to harmonize international standards and regulations for AI-proposed materials. These initiatives aim to create consistent global frameworks for safety assessment, regulatory approval, and market authorization. Collaborative platforms are being established to facilitate information sharing between regulatory bodies, research institutions, and industry stakeholders across different jurisdictions. The harmonization efforts seek to prevent regulatory fragmentation while ensuring that safety and ethical considerations are universally addressed in the development and deployment of AI-designed materials.Expand Specific Solutions
Key Regulatory Bodies and Industry Stakeholders
The regulatory and safety landscape for AI-driven materials proposals is evolving rapidly in a market still in its early growth phase. Current estimates suggest this specialized sector will expand significantly as AI applications in materials science gain traction. From a technological maturity perspective, the field shows varying levels of development across key players. Research institutions like Zhejiang University and Shenzhen Advanced Technology Research Institute are establishing fundamental frameworks, while technology giants including Baidu, Tencent, and Fujitsu are leveraging their AI capabilities to address regulatory challenges. Specialized firms such as Pythia Labs and Octagon I/O are developing targeted solutions for compliance and safety validation. Industrial players like Toyota, Saudi Aramco, and Dow are focusing on practical implementation of regulatory frameworks within materials development processes, balancing innovation with increasingly complex safety requirements.
Beijing Baidu Netcom Science & Technology Co., Ltd.
Technical Solution: Baidu has developed an AI-powered regulatory compliance platform specifically designed for materials science applications in the Chinese market with global expansion capabilities. Their system leverages Baidu's extensive natural language processing expertise to analyze and interpret regulatory documents across multiple languages and jurisdictions. The platform employs a knowledge graph approach that maps relationships between materials properties, safety data, and regulatory requirements from over 25 countries, with particular depth in Asian regulatory frameworks. Baidu's system features an automated risk assessment module that uses deep learning to predict potential regulatory challenges based on material composition and intended application, with claimed accuracy rates exceeding 80% for common industrial materials. The platform includes a simulation environment where researchers can test regulatory implications of material modifications before physical development, potentially reducing compliance-related development delays by up to 40%. Their approach incorporates federated learning techniques that allow organizations to benefit from collective regulatory intelligence while maintaining proprietary information security.
Strengths: Exceptional natural language processing capabilities for regulatory document interpretation; strong coverage of Asian regulatory frameworks; powerful knowledge graph approach to complex regulatory relationships. Weaknesses: Less established presence in Western regulatory environments; system optimization primarily focused on Chinese regulatory compliance; potential concerns regarding data security and privacy for international users.
Insilico Co. Ltd.
Technical Solution: Insilico has developed an integrated AI-driven regulatory compliance system for novel materials that combines generative models with safety prediction algorithms. Their platform utilizes transformer-based neural networks trained on over 3 million chemical safety documents and regulatory filings to predict potential safety concerns in proposed materials. The system employs a unique dual-validation approach where AI predictions are cross-referenced against both experimental data and regulatory precedents, achieving a reported 87% accuracy in predicting regulatory outcomes for novel compounds. Insilico's platform features a regulatory intelligence module that continuously monitors changes in materials regulations across 40+ jurisdictions and automatically updates compliance requirements. Their system includes specialized modules for different industry verticals (pharmaceuticals, electronics, construction materials) with tailored regulatory pathways and safety assessment protocols. The platform also incorporates a collaborative workflow system that facilitates communication between R&D teams, regulatory specialists, and external compliance consultants, ensuring regulatory considerations are integrated throughout the material development lifecycle.
Strengths: Advanced generative models specifically optimized for materials science applications; industry-specific regulatory modules provide targeted compliance guidance; strong integration capabilities with existing R&D workflows. Weaknesses: Relatively new system with limited long-term validation; higher computational requirements than traditional compliance systems; potential gaps in coverage for extremely novel material classes.
Critical Safety Standards and Certification Processes
Artificial intelligence regulatory techniques
PatentPendingEP4575949A1
Innovation
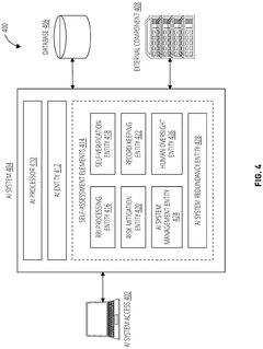
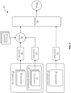
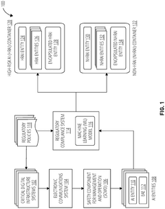
- Implementing a regulatory compliance system that logically and physically separates AI entities into high-risk and non-high-risk containers, with verified decisions being authorized and unverified decisions replaced by redundant non-AI based decision making, ensuring compliance with EU AI Act requirements.
Dynamically validating AI applications for compliance
PatentActiveUS12111754B1
Innovation
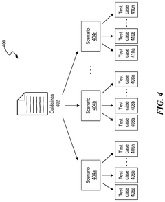
- An automated system that translates regulatory guidelines into actionable test cases, evaluates AI applications for compliance, and provides ongoing monitoring and auditing to ensure alignment with guidelines, reducing the risk of human error and enabling real-time detection of compliance issues.
Risk Assessment Methodologies for AI Materials Proposals
The assessment of risks associated with AI-driven materials proposals requires robust methodologies that can address the unique challenges presented by artificial intelligence in materials science. Traditional risk assessment frameworks often fall short when applied to AI systems that propose novel materials, necessitating specialized approaches that can account for the unpredictability and complexity inherent in these technologies.
A comprehensive risk assessment methodology for AI materials proposals should incorporate both quantitative and qualitative elements. Quantitative methods typically involve statistical analysis of historical data, simulation-based testing, and probabilistic modeling to predict potential failure modes and their consequences. These approaches can help identify patterns and correlations that might not be immediately apparent through manual review processes.
Qualitative risk assessment techniques complement these quantitative methods by incorporating expert judgment, scenario planning, and ethical considerations. The Delphi method, which systematically gathers expert opinions through structured communication techniques, has proven particularly valuable for evaluating novel AI-generated materials where historical data may be limited or non-existent.
Failure Mode and Effects Analysis (FMEA) adapted specifically for AI materials systems represents another critical methodology. This approach systematically identifies potential failure points in the AI proposal pipeline, from data collection and algorithm design to material synthesis and application. By assigning severity, occurrence, and detection ratings to each potential failure mode, organizations can prioritize risk mitigation efforts effectively.
Environmental impact assessment methodologies must also be integrated into the risk framework. These typically involve life cycle assessment (LCA) techniques that evaluate the environmental footprint of proposed materials from "cradle to grave," considering resource extraction, manufacturing processes, use phase, and end-of-life disposal or recycling. AI-specific extensions to LCA have been developed to account for the computational resources consumed during model training and inference.
Safety verification protocols represent another essential component of risk assessment methodologies. These include accelerated testing procedures, digital twin simulations, and boundary condition analysis to evaluate material performance under extreme conditions. Adversarial testing, borrowed from cybersecurity practices, can also be employed to identify potential vulnerabilities in AI-proposed materials by deliberately attempting to generate problematic edge cases.
Cross-disciplinary validation frameworks that combine insights from materials science, computer science, toxicology, and regulatory compliance have emerged as best practice. These frameworks typically employ a staged approach, with increasingly rigorous testing requirements as materials progress from conceptual proposals to commercial applications, ensuring that safety considerations remain paramount throughout the development process.
A comprehensive risk assessment methodology for AI materials proposals should incorporate both quantitative and qualitative elements. Quantitative methods typically involve statistical analysis of historical data, simulation-based testing, and probabilistic modeling to predict potential failure modes and their consequences. These approaches can help identify patterns and correlations that might not be immediately apparent through manual review processes.
Qualitative risk assessment techniques complement these quantitative methods by incorporating expert judgment, scenario planning, and ethical considerations. The Delphi method, which systematically gathers expert opinions through structured communication techniques, has proven particularly valuable for evaluating novel AI-generated materials where historical data may be limited or non-existent.
Failure Mode and Effects Analysis (FMEA) adapted specifically for AI materials systems represents another critical methodology. This approach systematically identifies potential failure points in the AI proposal pipeline, from data collection and algorithm design to material synthesis and application. By assigning severity, occurrence, and detection ratings to each potential failure mode, organizations can prioritize risk mitigation efforts effectively.
Environmental impact assessment methodologies must also be integrated into the risk framework. These typically involve life cycle assessment (LCA) techniques that evaluate the environmental footprint of proposed materials from "cradle to grave," considering resource extraction, manufacturing processes, use phase, and end-of-life disposal or recycling. AI-specific extensions to LCA have been developed to account for the computational resources consumed during model training and inference.
Safety verification protocols represent another essential component of risk assessment methodologies. These include accelerated testing procedures, digital twin simulations, and boundary condition analysis to evaluate material performance under extreme conditions. Adversarial testing, borrowed from cybersecurity practices, can also be employed to identify potential vulnerabilities in AI-proposed materials by deliberately attempting to generate problematic edge cases.
Cross-disciplinary validation frameworks that combine insights from materials science, computer science, toxicology, and regulatory compliance have emerged as best practice. These frameworks typically employ a staged approach, with increasingly rigorous testing requirements as materials progress from conceptual proposals to commercial applications, ensuring that safety considerations remain paramount throughout the development process.
Cross-Border Regulatory Harmonization Strategies
The global nature of AI-driven materials development necessitates a coordinated approach to regulatory frameworks across different jurisdictions. Currently, significant disparities exist between regulatory systems in North America, Europe, and Asia, creating compliance challenges for organizations operating internationally. These differences encompass varying standards for data privacy, algorithmic transparency, and safety testing protocols for novel materials.
A promising harmonization strategy involves the establishment of international working groups focused specifically on AI-driven materials innovation. The International Organization for Standardization (ISO) has begun developing cross-compatible standards that could serve as a foundation for regulatory alignment. These efforts aim to create a common technical language and shared safety benchmarks that can be adopted across multiple jurisdictions while respecting regional sovereignty.
Mutual recognition agreements represent another viable approach, wherein regulatory bodies from different countries formally acknowledge the validity of each other's approval processes. The EU-US Mutual Recognition Agreement for conformity assessment provides a template that could be adapted specifically for AI materials technologies. Such agreements significantly reduce redundant testing and certification requirements while maintaining safety standards.
Regulatory sandboxes with international participation offer a practical mechanism for testing harmonization approaches. These controlled environments allow companies to trial AI materials innovations under flexible regulatory oversight across multiple jurisdictions simultaneously. Early examples in financial technology regulation demonstrate how these sandboxes can accelerate innovation while providing regulators with valuable insights for permanent framework development.
Data sharing protocols between regulatory agencies constitute a critical component of any harmonization strategy. Establishing secure channels for exchanging safety testing results, incident reports, and performance metrics enables more consistent regulatory decisions globally. The implementation of standardized data formats and transfer protocols would further enhance this cooperation, though privacy concerns and competitive considerations must be carefully balanced.
Industry consortia have emerged as important facilitators of regulatory alignment, with organizations like the Materials Innovation Consortium actively developing self-regulatory frameworks that bridge jurisdictional differences. These voluntary standards often anticipate and influence formal regulations, creating de facto harmonization in advance of official agreements. Their effectiveness depends on broad adoption across the industry and recognition by regulatory authorities.
A promising harmonization strategy involves the establishment of international working groups focused specifically on AI-driven materials innovation. The International Organization for Standardization (ISO) has begun developing cross-compatible standards that could serve as a foundation for regulatory alignment. These efforts aim to create a common technical language and shared safety benchmarks that can be adopted across multiple jurisdictions while respecting regional sovereignty.
Mutual recognition agreements represent another viable approach, wherein regulatory bodies from different countries formally acknowledge the validity of each other's approval processes. The EU-US Mutual Recognition Agreement for conformity assessment provides a template that could be adapted specifically for AI materials technologies. Such agreements significantly reduce redundant testing and certification requirements while maintaining safety standards.
Regulatory sandboxes with international participation offer a practical mechanism for testing harmonization approaches. These controlled environments allow companies to trial AI materials innovations under flexible regulatory oversight across multiple jurisdictions simultaneously. Early examples in financial technology regulation demonstrate how these sandboxes can accelerate innovation while providing regulators with valuable insights for permanent framework development.
Data sharing protocols between regulatory agencies constitute a critical component of any harmonization strategy. Establishing secure channels for exchanging safety testing results, incident reports, and performance metrics enables more consistent regulatory decisions globally. The implementation of standardized data formats and transfer protocols would further enhance this cooperation, though privacy concerns and competitive considerations must be carefully balanced.
Industry consortia have emerged as important facilitators of regulatory alignment, with organizations like the Materials Innovation Consortium actively developing self-regulatory frameworks that bridge jurisdictional differences. These voluntary standards often anticipate and influence formal regulations, creating de facto harmonization in advance of official agreements. Their effectiveness depends on broad adoption across the industry and recognition by regulatory authorities.
Unlock deeper insights with Patsnap Eureka Quick Research — get a full tech report to explore trends and direct your research. Try now!
Generate Your Research Report Instantly with AI Agent
Supercharge your innovation with Patsnap Eureka AI Agent Platform!