PNP Transistors and the Development of Precision Agriculture
JUL 28, 20259 MIN READ
Generate Your Research Report Instantly with AI Agent
Patsnap Eureka helps you evaluate technical feasibility & market potential.
PNP Transistor Evolution
The evolution of PNP transistors has been a significant journey in the field of electronics, with profound implications for precision agriculture. Initially developed in the early 1950s, PNP transistors were among the first types of bipolar junction transistors (BJTs) to be commercially produced. These devices revolutionized the electronics industry by offering a more efficient and reliable alternative to vacuum tubes.
In the context of precision agriculture, the evolution of PNP transistors has played a crucial role in the development of sophisticated sensor systems and control mechanisms. The early PNP transistors were relatively large and power-hungry, limiting their application in field-based agricultural systems. However, as manufacturing techniques improved, transistors became smaller, more efficient, and more reliable.
The 1960s and 1970s saw significant advancements in PNP transistor technology, with the introduction of epitaxial growth processes and improved doping techniques. These innovations led to transistors with better performance characteristics, including higher gain, lower noise, and improved temperature stability. Such improvements were essential for the development of early precision agriculture systems, which required accurate and stable sensor readings in varying environmental conditions.
The advent of integrated circuits in the late 1960s and early 1970s marked another milestone in PNP transistor evolution. This technology allowed multiple transistors to be fabricated on a single chip, dramatically reducing the size and power consumption of electronic devices. For precision agriculture, this meant the possibility of creating more compact and energy-efficient monitoring and control systems that could be deployed in the field without the need for frequent battery replacements.
In the 1980s and 1990s, further miniaturization and performance improvements in PNP transistors enabled the development of more sophisticated precision agriculture technologies. The introduction of surface-mount technology (SMT) allowed for even smaller circuit designs, making it possible to create highly portable and rugged agricultural monitoring devices. Additionally, advancements in transistor design led to improved high-frequency performance, enabling the development of wireless communication systems for real-time data transmission from the field.
The turn of the millennium saw the integration of PNP transistors into increasingly complex and specialized agricultural sensors. Improvements in manufacturing processes resulted in transistors with extremely low leakage currents and high gain, essential for accurate measurements of soil moisture, nutrient levels, and other critical agricultural parameters. The development of low-power PNP transistors also facilitated the creation of energy-harvesting systems, allowing agricultural sensors to operate autonomously for extended periods.
In recent years, the evolution of PNP transistors has focused on enhancing their resilience to harsh environmental conditions commonly encountered in agricultural settings. This includes improved resistance to temperature fluctuations, humidity, and chemical exposure. Furthermore, the integration of PNP transistors with other semiconductor technologies, such as CMOS, has led to the development of highly integrated sensor systems capable of performing complex on-site data processing and analysis.
In the context of precision agriculture, the evolution of PNP transistors has played a crucial role in the development of sophisticated sensor systems and control mechanisms. The early PNP transistors were relatively large and power-hungry, limiting their application in field-based agricultural systems. However, as manufacturing techniques improved, transistors became smaller, more efficient, and more reliable.
The 1960s and 1970s saw significant advancements in PNP transistor technology, with the introduction of epitaxial growth processes and improved doping techniques. These innovations led to transistors with better performance characteristics, including higher gain, lower noise, and improved temperature stability. Such improvements were essential for the development of early precision agriculture systems, which required accurate and stable sensor readings in varying environmental conditions.
The advent of integrated circuits in the late 1960s and early 1970s marked another milestone in PNP transistor evolution. This technology allowed multiple transistors to be fabricated on a single chip, dramatically reducing the size and power consumption of electronic devices. For precision agriculture, this meant the possibility of creating more compact and energy-efficient monitoring and control systems that could be deployed in the field without the need for frequent battery replacements.
In the 1980s and 1990s, further miniaturization and performance improvements in PNP transistors enabled the development of more sophisticated precision agriculture technologies. The introduction of surface-mount technology (SMT) allowed for even smaller circuit designs, making it possible to create highly portable and rugged agricultural monitoring devices. Additionally, advancements in transistor design led to improved high-frequency performance, enabling the development of wireless communication systems for real-time data transmission from the field.
The turn of the millennium saw the integration of PNP transistors into increasingly complex and specialized agricultural sensors. Improvements in manufacturing processes resulted in transistors with extremely low leakage currents and high gain, essential for accurate measurements of soil moisture, nutrient levels, and other critical agricultural parameters. The development of low-power PNP transistors also facilitated the creation of energy-harvesting systems, allowing agricultural sensors to operate autonomously for extended periods.
In recent years, the evolution of PNP transistors has focused on enhancing their resilience to harsh environmental conditions commonly encountered in agricultural settings. This includes improved resistance to temperature fluctuations, humidity, and chemical exposure. Furthermore, the integration of PNP transistors with other semiconductor technologies, such as CMOS, has led to the development of highly integrated sensor systems capable of performing complex on-site data processing and analysis.
Precision Ag Market Needs
The precision agriculture market is experiencing significant growth driven by the increasing global demand for food production and the need for sustainable farming practices. As the world population continues to rise, there is a pressing need for more efficient and productive agricultural methods. Precision agriculture, which leverages advanced technologies to optimize crop yields and resource utilization, is emerging as a key solution to address these challenges.
The market for precision agriculture technologies is expected to expand rapidly in the coming years. Farmers are increasingly recognizing the benefits of adopting precision farming techniques, including improved crop yields, reduced input costs, and enhanced environmental sustainability. This growing awareness is creating a strong demand for innovative solutions that can help farmers make data-driven decisions and optimize their operations.
One of the primary market needs in precision agriculture is for accurate and real-time monitoring of crop health and environmental conditions. Farmers require reliable sensors and data collection systems that can provide detailed information about soil moisture, nutrient levels, temperature, and other critical parameters. This data enables them to make informed decisions about irrigation, fertilization, and pest management, leading to more efficient resource utilization and higher crop yields.
Another significant market need is for advanced data analytics and decision support systems. As the volume of data collected from various sensors and sources increases, farmers need sophisticated tools to process and interpret this information effectively. There is a growing demand for AI-powered platforms that can analyze complex datasets and provide actionable insights, helping farmers optimize their farming practices and respond quickly to changing conditions.
Precision agriculture also requires robust communication and connectivity solutions to enable seamless data transfer between various components of the farming ecosystem. There is a strong market need for reliable and cost-effective wireless networks that can cover large agricultural areas, allowing for real-time data transmission from sensors to central management systems.
Furthermore, there is an increasing demand for automated and autonomous farming equipment. Farmers are looking for solutions that can reduce labor costs and improve operational efficiency. This includes technologies such as self-driving tractors, automated irrigation systems, and robotic harvesting machines. The market for these advanced agricultural robotics and automation solutions is expected to grow significantly in the coming years.
In the context of PNP transistors and their application in precision agriculture, there is a specific market need for low-power, high-precision sensors and control systems. PNP transistors can play a crucial role in developing energy-efficient and accurate sensing devices for monitoring various agricultural parameters. The market demands sensors that can operate reliably in harsh environmental conditions while maintaining long battery life, making PNP transistor-based solutions particularly attractive for precision agriculture applications.
The market for precision agriculture technologies is expected to expand rapidly in the coming years. Farmers are increasingly recognizing the benefits of adopting precision farming techniques, including improved crop yields, reduced input costs, and enhanced environmental sustainability. This growing awareness is creating a strong demand for innovative solutions that can help farmers make data-driven decisions and optimize their operations.
One of the primary market needs in precision agriculture is for accurate and real-time monitoring of crop health and environmental conditions. Farmers require reliable sensors and data collection systems that can provide detailed information about soil moisture, nutrient levels, temperature, and other critical parameters. This data enables them to make informed decisions about irrigation, fertilization, and pest management, leading to more efficient resource utilization and higher crop yields.
Another significant market need is for advanced data analytics and decision support systems. As the volume of data collected from various sensors and sources increases, farmers need sophisticated tools to process and interpret this information effectively. There is a growing demand for AI-powered platforms that can analyze complex datasets and provide actionable insights, helping farmers optimize their farming practices and respond quickly to changing conditions.
Precision agriculture also requires robust communication and connectivity solutions to enable seamless data transfer between various components of the farming ecosystem. There is a strong market need for reliable and cost-effective wireless networks that can cover large agricultural areas, allowing for real-time data transmission from sensors to central management systems.
Furthermore, there is an increasing demand for automated and autonomous farming equipment. Farmers are looking for solutions that can reduce labor costs and improve operational efficiency. This includes technologies such as self-driving tractors, automated irrigation systems, and robotic harvesting machines. The market for these advanced agricultural robotics and automation solutions is expected to grow significantly in the coming years.
In the context of PNP transistors and their application in precision agriculture, there is a specific market need for low-power, high-precision sensors and control systems. PNP transistors can play a crucial role in developing energy-efficient and accurate sensing devices for monitoring various agricultural parameters. The market demands sensors that can operate reliably in harsh environmental conditions while maintaining long battery life, making PNP transistor-based solutions particularly attractive for precision agriculture applications.
PNP Tech Challenges
PNP transistors, while fundamental to many electronic circuits, face several challenges in their application to precision agriculture. One of the primary issues is their sensitivity to temperature fluctuations, which can significantly affect their performance in outdoor agricultural environments. As temperatures rise, the current gain of PNP transistors tends to increase, potentially leading to inaccurate readings or unstable operation of sensor systems crucial for monitoring soil moisture, nutrient levels, or plant health.
Another challenge lies in the power consumption of PNP transistors. In precision agriculture, where remote sensing and long-term monitoring are often required, energy efficiency is paramount. PNP transistors typically consume more power than their NPN counterparts, which can limit the battery life of agricultural sensors and monitoring devices deployed in the field. This necessitates frequent maintenance and battery replacements, increasing operational costs and potentially disrupting data collection.
The speed of PNP transistors also presents a limitation in certain precision agriculture applications. While adequate for many sensing tasks, PNP transistors generally have slower switching speeds compared to NPN transistors. This can be a drawback in applications requiring rapid data acquisition or real-time response, such as in automated irrigation systems or pest detection mechanisms.
Noise susceptibility is another significant challenge. PNP transistors can be more prone to picking up electromagnetic interference, which is particularly problematic in agricultural settings where various machinery and equipment may generate electrical noise. This interference can lead to inaccurate sensor readings and compromised data integrity, potentially resulting in misguided agricultural decisions.
The manufacturing process of PNP transistors also poses challenges for their widespread adoption in precision agriculture. Compared to NPN transistors, PNP devices are often more complex and costly to produce, which can drive up the overall cost of agricultural sensing systems. This cost factor can be a significant barrier to adoption, especially for small-scale farmers or in developing regions where precision agriculture technologies are just beginning to take hold.
Lastly, the integration of PNP transistors with other components in agricultural sensing systems can be challenging. Their voltage and current characteristics may require additional circuitry for proper interfacing with microcontrollers or other digital systems commonly used in precision agriculture. This complexity can increase the size, cost, and power consumption of the overall system, potentially limiting the practicality of certain applications in the field.
Another challenge lies in the power consumption of PNP transistors. In precision agriculture, where remote sensing and long-term monitoring are often required, energy efficiency is paramount. PNP transistors typically consume more power than their NPN counterparts, which can limit the battery life of agricultural sensors and monitoring devices deployed in the field. This necessitates frequent maintenance and battery replacements, increasing operational costs and potentially disrupting data collection.
The speed of PNP transistors also presents a limitation in certain precision agriculture applications. While adequate for many sensing tasks, PNP transistors generally have slower switching speeds compared to NPN transistors. This can be a drawback in applications requiring rapid data acquisition or real-time response, such as in automated irrigation systems or pest detection mechanisms.
Noise susceptibility is another significant challenge. PNP transistors can be more prone to picking up electromagnetic interference, which is particularly problematic in agricultural settings where various machinery and equipment may generate electrical noise. This interference can lead to inaccurate sensor readings and compromised data integrity, potentially resulting in misguided agricultural decisions.
The manufacturing process of PNP transistors also poses challenges for their widespread adoption in precision agriculture. Compared to NPN transistors, PNP devices are often more complex and costly to produce, which can drive up the overall cost of agricultural sensing systems. This cost factor can be a significant barrier to adoption, especially for small-scale farmers or in developing regions where precision agriculture technologies are just beginning to take hold.
Lastly, the integration of PNP transistors with other components in agricultural sensing systems can be challenging. Their voltage and current characteristics may require additional circuitry for proper interfacing with microcontrollers or other digital systems commonly used in precision agriculture. This complexity can increase the size, cost, and power consumption of the overall system, potentially limiting the practicality of certain applications in the field.
Current PNP Applications
01 Structure and fabrication of PNP transistors
PNP transistors are semiconductor devices with specific structures and fabrication methods. They typically consist of a p-type emitter, n-type base, and p-type collector. The fabrication process involves various steps such as doping, etching, and layering to create the desired structure and electrical characteristics.- PNP transistor structure and fabrication: This category covers the physical structure and manufacturing processes of PNP transistors. It includes innovations in the design of emitter, base, and collector regions, as well as techniques for doping, layering, and isolating these components. Advanced fabrication methods aim to improve performance, reduce size, and enhance integration with other semiconductor devices.
- PNP transistor applications in circuits: PNP transistors are used in various electronic circuits for amplification, switching, and signal processing. This category includes specific circuit designs that utilize PNP transistors, such as current mirrors, differential amplifiers, and logic gates. It also covers the integration of PNP transistors in more complex circuits and systems.
- PNP transistor performance optimization: This category focuses on techniques to enhance the performance of PNP transistors. It includes methods to improve parameters such as current gain, frequency response, and noise characteristics. Innovations in this area may involve modifications to the transistor structure, materials used, or operating conditions to achieve better overall performance.
- Integration of PNP transistors in semiconductor devices: This category covers the integration of PNP transistors with other semiconductor components to create more complex devices and integrated circuits. It includes techniques for combining PNP transistors with NPN transistors to form complementary bipolar structures, as well as methods for integrating PNP transistors with CMOS and other technologies.
- PNP transistor testing and characterization: This category focuses on methods and systems for testing and characterizing PNP transistors. It includes techniques for measuring key parameters, such as current gain and breakdown voltage, as well as approaches for quality control and reliability testing in manufacturing processes. Advanced characterization methods may involve specialized equipment or software for accurate analysis of PNP transistor performance.
02 Applications of PNP transistors in electronic circuits
PNP transistors are widely used in various electronic circuits for amplification, switching, and signal processing. They are often employed in complementary circuits with NPN transistors, power supplies, and analog circuits. Their unique characteristics make them suitable for specific applications in both analog and digital electronics.Expand Specific Solutions03 Performance optimization of PNP transistors
Improving the performance of PNP transistors involves various techniques such as optimizing doping profiles, reducing parasitic capacitances, and enhancing current gain. These optimizations aim to improve switching speed, reduce power consumption, and increase overall efficiency of the transistor in electronic circuits.Expand Specific Solutions04 Integration of PNP transistors in semiconductor devices
PNP transistors are often integrated with other semiconductor components to create complex integrated circuits. This integration involves careful design considerations to ensure compatibility with other components, minimize interference, and optimize overall circuit performance. Various techniques are employed to achieve efficient integration in modern semiconductor devices.Expand Specific Solutions05 Testing and characterization of PNP transistors
Accurate testing and characterization of PNP transistors are crucial for ensuring their proper functioning and reliability. Various methods and equipment are used to measure key parameters such as current gain, breakdown voltage, and leakage current. These tests help in quality control, performance verification, and failure analysis of PNP transistors.Expand Specific Solutions
Key PNP Manufacturers
The research on PNP transistors and their application in precision agriculture is in an emerging stage, with a growing market potential as the agriculture sector increasingly adopts smart technologies. The market size is expanding, driven by the need for efficient resource management and increased crop yields. Technologically, the field is evolving rapidly, with companies like IBM, Infineon Technologies, and GlobalFoundries leading in semiconductor development. Agricultural institutions such as China Agricultural University and Huazhong Agricultural University are contributing to the application side. The integration of PNP transistors in precision agriculture is still in its early phases, indicating significant room for innovation and market growth.
International Business Machines Corp.
Technical Solution: IBM has developed advanced PNP transistor technologies for precision agriculture applications. Their approach integrates PNP transistors into sensor networks for real-time soil and crop monitoring. The company's solution utilizes a combination of silicon germanium (SiGe) PNP transistors and advanced CMOS processes to create high-performance, low-power sensors[1]. These sensors can detect minute changes in soil moisture, nutrient levels, and plant health with exceptional accuracy. IBM's system also incorporates AI-driven data analysis to provide farmers with actionable insights, optimizing resource usage and crop yields[2]. The PNP transistors in this solution offer superior noise performance and temperature stability, crucial for reliable field operations[3].
Strengths: High precision sensing capabilities, integration with AI for data analysis, and robust performance in varying field conditions. Weaknesses: Potentially higher cost compared to simpler solutions, and may require specialized knowledge for implementation and maintenance.
Infineon Technologies AG
Technical Solution: Infineon has pioneered the use of silicon carbide (SiC) PNP transistors in precision agriculture applications. Their technology focuses on creating ultra-efficient power management systems for agricultural machinery and irrigation systems. Infineon's SiC PNP transistors offer significantly reduced power losses and higher switching frequencies compared to traditional silicon devices[4]. This enables the development of compact, lightweight, and highly efficient agricultural equipment. The company has also integrated these transistors into smart sensor nodes that can operate for extended periods on minimal power, ideal for large-scale field deployments[5]. Infineon's solution includes specialized driver ICs and protection circuits to ensure reliable operation in harsh agricultural environments.
Strengths: Superior energy efficiency, extended battery life for remote sensors, and robust performance in harsh environments. Weaknesses: Higher initial cost compared to traditional silicon solutions, and limited availability of SiC foundries may affect scalability.
PNP Innovations Analysis
Precision agriculture support system and precision agriculture support method
PatentActiveUS11519892B2
Innovation
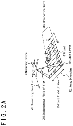
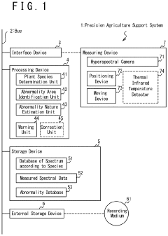
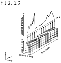
- A precision agriculture support system that uses a hyperspectral camera to measure spectral characteristics across visible and infrared bands, including mid-wavelength and long-wavelength infrared, to differentiate between desired crops and weeds by creating a database of spectral features for accurate identification.
Nucleic acid encoding an NPR1 interactor from rice and method of use to produce pathogen-resistant plants
PatentInactiveUS6995306B1
Innovation
- Identification and characterization of rice polynucleotides encoding PNI and MN1 polypeptides that interact with Arabidopsis NPR1, along with the development of transgenic plants containing these sequences to enhance resistance to pathogens by introducing recombinant expression cassettes linked with plant promoters.
Environmental Impact
The application of PNP transistors in precision agriculture has significant environmental implications. These devices, when integrated into smart farming systems, contribute to more efficient resource management and reduced environmental impact. By enabling precise control of irrigation systems, PNP transistors help optimize water usage, reducing waste and conserving this precious resource. This is particularly crucial in regions facing water scarcity or drought conditions.
Furthermore, the use of PNP transistors in soil moisture sensors allows for more accurate monitoring of soil conditions. This data-driven approach enables farmers to apply fertilizers and pesticides more judiciously, minimizing chemical runoff into water bodies and reducing soil contamination. The result is a decrease in the overall environmental footprint of agricultural practices.
PNP transistors also play a role in energy-efficient farming equipment. Their integration into power management systems of agricultural machinery leads to improved fuel efficiency and reduced emissions. This contributes to lowering the carbon footprint of farming operations, aligning with global efforts to combat climate change.
In the context of precision livestock farming, PNP transistors in monitoring systems help optimize feed distribution and waste management. This leads to reduced methane emissions from livestock and better management of animal waste, mitigating potential environmental hazards associated with intensive animal farming.
The environmental benefits extend to biodiversity conservation as well. By enabling more targeted pest control measures, PNP transistor-based systems reduce the need for broad-spectrum pesticides. This approach helps preserve beneficial insects and maintain ecological balance in agricultural ecosystems.
However, it's important to consider the potential environmental drawbacks. The production of PNP transistors and associated electronic components involves resource extraction and manufacturing processes that can have environmental impacts. Additionally, the disposal of electronic waste from outdated or malfunctioning precision agriculture equipment poses challenges for sustainable waste management.
Overall, while the application of PNP transistors in precision agriculture offers significant environmental benefits through resource optimization and reduced chemical use, a holistic approach is necessary to address the full lifecycle environmental impact of these technologies in the agricultural sector.
Furthermore, the use of PNP transistors in soil moisture sensors allows for more accurate monitoring of soil conditions. This data-driven approach enables farmers to apply fertilizers and pesticides more judiciously, minimizing chemical runoff into water bodies and reducing soil contamination. The result is a decrease in the overall environmental footprint of agricultural practices.
PNP transistors also play a role in energy-efficient farming equipment. Their integration into power management systems of agricultural machinery leads to improved fuel efficiency and reduced emissions. This contributes to lowering the carbon footprint of farming operations, aligning with global efforts to combat climate change.
In the context of precision livestock farming, PNP transistors in monitoring systems help optimize feed distribution and waste management. This leads to reduced methane emissions from livestock and better management of animal waste, mitigating potential environmental hazards associated with intensive animal farming.
The environmental benefits extend to biodiversity conservation as well. By enabling more targeted pest control measures, PNP transistor-based systems reduce the need for broad-spectrum pesticides. This approach helps preserve beneficial insects and maintain ecological balance in agricultural ecosystems.
However, it's important to consider the potential environmental drawbacks. The production of PNP transistors and associated electronic components involves resource extraction and manufacturing processes that can have environmental impacts. Additionally, the disposal of electronic waste from outdated or malfunctioning precision agriculture equipment poses challenges for sustainable waste management.
Overall, while the application of PNP transistors in precision agriculture offers significant environmental benefits through resource optimization and reduced chemical use, a holistic approach is necessary to address the full lifecycle environmental impact of these technologies in the agricultural sector.
Regulatory Framework
The regulatory framework surrounding PNP transistors and their application in precision agriculture encompasses various aspects of environmental protection, agricultural practices, and electronic device standards. At the international level, organizations such as the International Electrotechnical Commission (IEC) and the Institute of Electrical and Electronics Engineers (IEEE) provide guidelines for the design, manufacturing, and testing of electronic components, including PNP transistors.
In the context of precision agriculture, regulatory bodies such as the Food and Agriculture Organization (FAO) and national agricultural departments play crucial roles in setting standards for agricultural technologies. These regulations often focus on ensuring the safety and efficacy of precision agriculture tools, including those utilizing PNP transistors for sensor applications.
Environmental regulations also significantly impact the use of PNP transistors in precision agriculture. Many countries have strict laws governing the use of electronic devices in agricultural settings, particularly concerning electromagnetic emissions and potential interference with wildlife or other electronic systems. Compliance with these regulations is essential for the widespread adoption of PNP transistor-based technologies in precision agriculture.
Data privacy and security regulations are increasingly relevant as precision agriculture technologies collect and process large amounts of farm-related data. Laws such as the General Data Protection Regulation (GDPR) in the European Union and similar regulations in other regions may apply to the collection, storage, and use of data gathered through PNP transistor-based sensors in agricultural applications.
Specific to agriculture, regulations regarding the use of autonomous systems, drones, and IoT devices in farming practices may also affect the implementation of PNP transistor technologies. These regulations often address issues such as airspace usage, land-use restrictions, and the potential impact on local ecosystems.
As precision agriculture technologies continue to evolve, regulatory frameworks are likely to adapt. This may include the development of new standards for agricultural sensor technologies, updates to existing electronic component regulations to address the unique needs of precision agriculture applications, and the creation of guidelines for the integration of PNP transistor-based systems with other smart farming technologies.
Manufacturers and developers working with PNP transistors in precision agriculture must navigate this complex regulatory landscape to ensure compliance and market acceptance. This often requires ongoing monitoring of regulatory changes, engagement with relevant authorities, and participation in industry standardization efforts to shape future regulations that support innovation while addressing safety and environmental concerns.
In the context of precision agriculture, regulatory bodies such as the Food and Agriculture Organization (FAO) and national agricultural departments play crucial roles in setting standards for agricultural technologies. These regulations often focus on ensuring the safety and efficacy of precision agriculture tools, including those utilizing PNP transistors for sensor applications.
Environmental regulations also significantly impact the use of PNP transistors in precision agriculture. Many countries have strict laws governing the use of electronic devices in agricultural settings, particularly concerning electromagnetic emissions and potential interference with wildlife or other electronic systems. Compliance with these regulations is essential for the widespread adoption of PNP transistor-based technologies in precision agriculture.
Data privacy and security regulations are increasingly relevant as precision agriculture technologies collect and process large amounts of farm-related data. Laws such as the General Data Protection Regulation (GDPR) in the European Union and similar regulations in other regions may apply to the collection, storage, and use of data gathered through PNP transistor-based sensors in agricultural applications.
Specific to agriculture, regulations regarding the use of autonomous systems, drones, and IoT devices in farming practices may also affect the implementation of PNP transistor technologies. These regulations often address issues such as airspace usage, land-use restrictions, and the potential impact on local ecosystems.
As precision agriculture technologies continue to evolve, regulatory frameworks are likely to adapt. This may include the development of new standards for agricultural sensor technologies, updates to existing electronic component regulations to address the unique needs of precision agriculture applications, and the creation of guidelines for the integration of PNP transistor-based systems with other smart farming technologies.
Manufacturers and developers working with PNP transistors in precision agriculture must navigate this complex regulatory landscape to ensure compliance and market acceptance. This often requires ongoing monitoring of regulatory changes, engagement with relevant authorities, and participation in industry standardization efforts to shape future regulations that support innovation while addressing safety and environmental concerns.
Unlock deeper insights with Patsnap Eureka Quick Research — get a full tech report to explore trends and direct your research. Try now!
Generate Your Research Report Instantly with AI Agent
Supercharge your innovation with Patsnap Eureka AI Agent Platform!