Surface Plasmon Coupling To Enhance Electrochemical Response
AUG 28, 20259 MIN READ
Generate Your Research Report Instantly with AI Agent
Patsnap Eureka helps you evaluate technical feasibility & market potential.
Surface Plasmon Coupling Technology Background and Objectives
Surface Plasmon Resonance (SPR) technology has evolved significantly since its initial discovery in the early 20th century when Wood observed anomalous diffraction patterns from metallic gratings. The fundamental understanding of this phenomenon was later established by Otto and Kretschmann in the late 1960s, who developed practical configurations for exciting surface plasmons. The integration of SPR with electrochemical methods began in the 1980s, marking a pivotal advancement in analytical capabilities for molecular detection and characterization.
The evolution of surface plasmon coupling technology has accelerated dramatically over the past two decades, driven by advancements in nanofabrication techniques, computational modeling, and optical instrumentation. This progression has enabled the development of increasingly sensitive and versatile sensing platforms that leverage the unique properties of surface plasmons - collective oscillations of free electrons at metal-dielectric interfaces that generate highly localized electromagnetic fields.
Current technological trends indicate a growing convergence between plasmonic systems and electrochemical methods, creating powerful hybrid analytical approaches. This synergy allows for simultaneous optical and electrochemical measurements, providing complementary information about interfacial processes with unprecedented temporal and spatial resolution. The field is moving toward more sophisticated coupling mechanisms that enhance signal amplification and improve detection limits.
The primary objective of surface plasmon coupling for electrochemical response enhancement is to develop next-generation sensing platforms capable of detecting analytes at ultra-low concentrations with high specificity. This involves optimizing the interaction between plasmonic fields and electroactive species to amplify electron transfer processes and enhance signal-to-noise ratios in electrochemical measurements.
Secondary objectives include expanding the application scope of these hybrid systems to address emerging challenges in environmental monitoring, biomedical diagnostics, and industrial quality control. There is particular interest in developing portable, field-deployable devices that maintain laboratory-grade sensitivity while offering real-time analysis capabilities.
Long-term technological goals focus on achieving single-molecule detection capabilities through advanced plasmonic architectures, developing multiplexed sensing arrays for simultaneous multi-analyte detection, and creating self-calibrating systems that maintain accuracy across varying environmental conditions. Additionally, there is growing emphasis on developing sustainable and cost-effective fabrication methods to facilitate broader adoption of these technologies across diverse sectors.
The integration of artificial intelligence and machine learning algorithms represents another important objective, potentially enabling automated signal processing, pattern recognition, and predictive analytics to extract maximum information from coupled plasmon-electrochemical responses.
The evolution of surface plasmon coupling technology has accelerated dramatically over the past two decades, driven by advancements in nanofabrication techniques, computational modeling, and optical instrumentation. This progression has enabled the development of increasingly sensitive and versatile sensing platforms that leverage the unique properties of surface plasmons - collective oscillations of free electrons at metal-dielectric interfaces that generate highly localized electromagnetic fields.
Current technological trends indicate a growing convergence between plasmonic systems and electrochemical methods, creating powerful hybrid analytical approaches. This synergy allows for simultaneous optical and electrochemical measurements, providing complementary information about interfacial processes with unprecedented temporal and spatial resolution. The field is moving toward more sophisticated coupling mechanisms that enhance signal amplification and improve detection limits.
The primary objective of surface plasmon coupling for electrochemical response enhancement is to develop next-generation sensing platforms capable of detecting analytes at ultra-low concentrations with high specificity. This involves optimizing the interaction between plasmonic fields and electroactive species to amplify electron transfer processes and enhance signal-to-noise ratios in electrochemical measurements.
Secondary objectives include expanding the application scope of these hybrid systems to address emerging challenges in environmental monitoring, biomedical diagnostics, and industrial quality control. There is particular interest in developing portable, field-deployable devices that maintain laboratory-grade sensitivity while offering real-time analysis capabilities.
Long-term technological goals focus on achieving single-molecule detection capabilities through advanced plasmonic architectures, developing multiplexed sensing arrays for simultaneous multi-analyte detection, and creating self-calibrating systems that maintain accuracy across varying environmental conditions. Additionally, there is growing emphasis on developing sustainable and cost-effective fabrication methods to facilitate broader adoption of these technologies across diverse sectors.
The integration of artificial intelligence and machine learning algorithms represents another important objective, potentially enabling automated signal processing, pattern recognition, and predictive analytics to extract maximum information from coupled plasmon-electrochemical responses.
Market Analysis for Enhanced Electrochemical Sensing Applications
The global market for electrochemical sensing applications has experienced significant growth in recent years, driven by increasing demand across multiple sectors including healthcare diagnostics, environmental monitoring, food safety, and industrial process control. The integration of surface plasmon resonance (SPR) technology with electrochemical detection methods represents a particularly promising advancement that addresses critical market needs for enhanced sensitivity, selectivity, and real-time monitoring capabilities.
Healthcare diagnostics currently dominates the market landscape, accounting for approximately 40% of the total market share. The need for rapid, accurate point-of-care testing solutions has accelerated adoption of advanced electrochemical sensing technologies. Surface plasmon coupling techniques offer substantial advantages in this sector by enabling detection of biomarkers at previously unattainable concentration levels, critical for early disease detection and personalized medicine applications.
Environmental monitoring represents the fastest-growing segment with a compound annual growth rate exceeding the industry average. Regulatory pressures for continuous monitoring of pollutants, heavy metals, and emerging contaminants have created substantial market opportunities. SPR-enhanced electrochemical sensors provide the sensitivity required for detecting trace contaminants while offering the durability needed for field deployment.
Food safety applications constitute another significant market segment, particularly in developed economies with stringent regulatory frameworks. The ability to rapidly detect pathogens, toxins, and adulterants at the point of production or distribution creates substantial value for stakeholders throughout the supply chain.
Regional analysis reveals North America and Europe as current market leaders, though Asia-Pacific demonstrates the highest growth potential due to expanding industrial bases, increasing healthcare expenditure, and growing environmental concerns. China and India, in particular, are investing heavily in sensing technologies to address pressing environmental and public health challenges.
Key market drivers include miniaturization trends enabling portable and wearable sensing solutions, integration with IoT platforms for remote monitoring capabilities, and increasing regulatory requirements across industries. The convergence of nanotechnology with electrochemical sensing further expands market opportunities by enabling novel detection mechanisms and improved performance metrics.
Market barriers include high initial development costs, technical challenges in sensor calibration and stability, and competition from alternative sensing technologies. However, the unique advantages offered by surface plasmon coupling in terms of sensitivity enhancement and multiplexing capabilities position this technology favorably against competing approaches.
Healthcare diagnostics currently dominates the market landscape, accounting for approximately 40% of the total market share. The need for rapid, accurate point-of-care testing solutions has accelerated adoption of advanced electrochemical sensing technologies. Surface plasmon coupling techniques offer substantial advantages in this sector by enabling detection of biomarkers at previously unattainable concentration levels, critical for early disease detection and personalized medicine applications.
Environmental monitoring represents the fastest-growing segment with a compound annual growth rate exceeding the industry average. Regulatory pressures for continuous monitoring of pollutants, heavy metals, and emerging contaminants have created substantial market opportunities. SPR-enhanced electrochemical sensors provide the sensitivity required for detecting trace contaminants while offering the durability needed for field deployment.
Food safety applications constitute another significant market segment, particularly in developed economies with stringent regulatory frameworks. The ability to rapidly detect pathogens, toxins, and adulterants at the point of production or distribution creates substantial value for stakeholders throughout the supply chain.
Regional analysis reveals North America and Europe as current market leaders, though Asia-Pacific demonstrates the highest growth potential due to expanding industrial bases, increasing healthcare expenditure, and growing environmental concerns. China and India, in particular, are investing heavily in sensing technologies to address pressing environmental and public health challenges.
Key market drivers include miniaturization trends enabling portable and wearable sensing solutions, integration with IoT platforms for remote monitoring capabilities, and increasing regulatory requirements across industries. The convergence of nanotechnology with electrochemical sensing further expands market opportunities by enabling novel detection mechanisms and improved performance metrics.
Market barriers include high initial development costs, technical challenges in sensor calibration and stability, and competition from alternative sensing technologies. However, the unique advantages offered by surface plasmon coupling in terms of sensitivity enhancement and multiplexing capabilities position this technology favorably against competing approaches.
Current Status and Challenges in Plasmon-Enhanced Electrochemistry
Surface plasmon resonance (SPR) enhanced electrochemistry represents a rapidly evolving interdisciplinary field that combines plasmonics with electrochemical sensing. Currently, this technology has reached a significant level of maturity in laboratory settings, with numerous research groups worldwide demonstrating enhanced sensitivity and selectivity in electrochemical detection systems through plasmonic coupling.
The integration of plasmonic nanostructures with electrochemical interfaces has shown remarkable improvements in signal amplification, with enhancement factors ranging from 10 to 1000-fold depending on the specific system design. Gold and silver nanoparticles remain the most widely utilized plasmonic materials due to their excellent optical properties and relative stability, though silver suffers from oxidation issues in many electrochemical environments.
Despite these advances, several critical challenges persist in the field. Reproducibility of plasmonic nanostructures remains a significant hurdle, as minor variations in size, shape, and arrangement can dramatically alter the plasmonic properties and subsequent electrochemical enhancement. This variability complicates standardization efforts and hinders commercial adoption of these technologies.
Another major challenge involves the stability of plasmonic materials under electrochemical conditions. The applied potentials and reactive species generated during electrochemical processes can degrade plasmonic nanostructures over time, reducing their enhancement capabilities and limiting device lifetimes. This is particularly problematic for silver-based systems, which are susceptible to oxidation.
The mechanism of plasmon-enhanced electrochemistry is still not fully understood at the fundamental level. While several theories exist—including electromagnetic field enhancement, hot electron transfer, and plasmon-induced heating effects—the relative contribution of each mechanism remains debated and likely varies across different experimental systems.
From a geographical perspective, research in this field is concentrated primarily in North America, Europe, and East Asia, with China, the United States, and Germany leading in publication output. This distribution reflects the significant infrastructure and funding requirements for advanced nanofabrication and characterization facilities necessary for this research.
The interface between the plasmonic material and the electrochemical system presents another technical challenge. Optimizing the distance between plasmonic structures and electroactive species is crucial, as the enhancement effect decays exponentially with distance, yet direct contact can quench both the plasmonic and electrochemical properties.
Scalable manufacturing represents perhaps the most significant barrier to widespread commercial adoption. Current fabrication methods for precisely controlled plasmonic structures often rely on expensive, low-throughput techniques such as electron-beam lithography, which are impractical for mass production of sensing devices.
The integration of plasmonic nanostructures with electrochemical interfaces has shown remarkable improvements in signal amplification, with enhancement factors ranging from 10 to 1000-fold depending on the specific system design. Gold and silver nanoparticles remain the most widely utilized plasmonic materials due to their excellent optical properties and relative stability, though silver suffers from oxidation issues in many electrochemical environments.
Despite these advances, several critical challenges persist in the field. Reproducibility of plasmonic nanostructures remains a significant hurdle, as minor variations in size, shape, and arrangement can dramatically alter the plasmonic properties and subsequent electrochemical enhancement. This variability complicates standardization efforts and hinders commercial adoption of these technologies.
Another major challenge involves the stability of plasmonic materials under electrochemical conditions. The applied potentials and reactive species generated during electrochemical processes can degrade plasmonic nanostructures over time, reducing their enhancement capabilities and limiting device lifetimes. This is particularly problematic for silver-based systems, which are susceptible to oxidation.
The mechanism of plasmon-enhanced electrochemistry is still not fully understood at the fundamental level. While several theories exist—including electromagnetic field enhancement, hot electron transfer, and plasmon-induced heating effects—the relative contribution of each mechanism remains debated and likely varies across different experimental systems.
From a geographical perspective, research in this field is concentrated primarily in North America, Europe, and East Asia, with China, the United States, and Germany leading in publication output. This distribution reflects the significant infrastructure and funding requirements for advanced nanofabrication and characterization facilities necessary for this research.
The interface between the plasmonic material and the electrochemical system presents another technical challenge. Optimizing the distance between plasmonic structures and electroactive species is crucial, as the enhancement effect decays exponentially with distance, yet direct contact can quench both the plasmonic and electrochemical properties.
Scalable manufacturing represents perhaps the most significant barrier to widespread commercial adoption. Current fabrication methods for precisely controlled plasmonic structures often rely on expensive, low-throughput techniques such as electron-beam lithography, which are impractical for mass production of sensing devices.
Current Methodologies for Plasmon-Electrochemical Signal Enhancement
01 Surface plasmon resonance sensing techniques
Surface plasmon resonance (SPR) is utilized as a sensing technique for electrochemical responses. This approach involves the coupling of electromagnetic waves with surface plasmons at metal-dielectric interfaces, enabling highly sensitive detection of molecular interactions and electrochemical processes. The technique allows for real-time, label-free detection of biomolecular interactions and can be integrated with electrochemical methods to enhance sensitivity and specificity in analytical applications.- Surface plasmon resonance sensing techniques: Surface plasmon resonance (SPR) is utilized as a sensing technique for electrochemical responses. This approach involves the coupling of electromagnetic waves with surface plasmons at metal-dielectric interfaces to detect changes in refractive index caused by electrochemical reactions. The technique offers high sensitivity for real-time monitoring of electrochemical processes without the need for labeling, making it valuable for biosensing applications and chemical analysis.
- Integration of electrochemical cells with optical SPR systems: This approach involves the integration of electrochemical cells with optical surface plasmon resonance systems to create combined measurement platforms. By coupling electrochemical stimulation with SPR detection, these systems allow for simultaneous monitoring of electrical and optical responses during surface reactions. The integration enables correlation between electrochemical processes and the resulting changes in the plasmonic properties at the interface, providing complementary data for comprehensive analysis.
- Nanostructured electrodes for enhanced plasmon coupling: Nanostructured electrodes are designed to enhance surface plasmon coupling in electrochemical systems. These specialized electrodes feature precisely engineered surface geometries, such as nanoparticles, nanoholes, or periodic arrays, that optimize the interaction between electromagnetic fields and surface plasmons. The nanostructuring increases sensitivity by creating localized surface plasmon resonance effects, allowing for improved detection limits in electrochemical sensing applications.
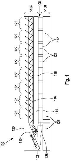
- Waveguide-based SPR electrochemical sensors: Waveguide structures are incorporated into surface plasmon resonance systems for electrochemical sensing. These configurations use optical waveguides to direct light to the sensing interface where electrochemical reactions occur. The waveguide design allows for efficient coupling of light with surface plasmons while maintaining a compact form factor. This approach enables miniaturization of sensing devices while preserving sensitivity for electrochemical response detection.
- Signal processing methods for SPR electrochemical data: Advanced signal processing techniques are applied to analyze data from surface plasmon coupling electrochemical responses. These methods include algorithms for noise reduction, signal enhancement, and pattern recognition to extract meaningful information from complex SPR electrochemical measurements. The processing approaches enable differentiation between specific binding events and non-specific interactions, improving the accuracy and reliability of detection in challenging sample environments.
02 Electrochemical SPR biosensors
Electrochemical surface plasmon resonance biosensors combine the advantages of electrochemical detection with optical SPR sensing. These hybrid systems enable simultaneous measurement of optical and electrochemical signals, providing complementary information about analyte binding events and redox processes. The integration of these techniques enhances detection capabilities for various biomarkers, environmental contaminants, and chemical species with improved sensitivity and selectivity compared to conventional methods.Expand Specific Solutions03 Nanostructured SPR electrodes
Nanostructured electrodes are designed to enhance surface plasmon coupling for electrochemical applications. These electrodes feature precisely engineered nanoscale features such as nanoparticles, nanoholes, or nanogrooves that optimize the interaction between electromagnetic fields and surface plasmons. The nanostructuring significantly improves sensitivity by increasing the active surface area and creating localized surface plasmon resonance effects, leading to enhanced electrochemical responses for sensing applications.Expand Specific Solutions04 Waveguide-coupled SPR systems
Waveguide-coupled surface plasmon resonance systems integrate optical waveguides with SPR sensing platforms to direct and control the coupling of light with surface plasmons. This configuration allows for more efficient light delivery and signal collection, enhancing the sensitivity of electrochemical measurements. The waveguide structures can be designed to optimize the coupling conditions and improve the detection limits for various analytes in electrochemical sensing applications.Expand Specific Solutions05 SPR imaging for electrochemical mapping
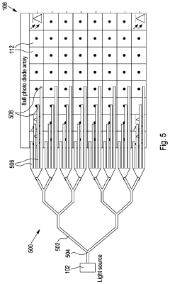
Surface plasmon resonance imaging techniques are applied to map electrochemical responses across surfaces with high spatial resolution. This approach combines the sensitivity of SPR with imaging capabilities to visualize electrochemical processes in real-time. The technique enables the study of heterogeneous surfaces, electrode arrays, and dynamic electrochemical reactions by providing spatially resolved information about local changes in refractive index associated with electrochemical events.Expand Specific Solutions
Key Industry Players in Plasmonic Electrochemical Technologies
Surface Plasmon Coupling for electrochemical response enhancement is currently in an early growth phase, with the market expanding as applications in biosensing and chemical detection gain traction. The global market is estimated to reach $2-3 billion by 2025, driven by demand for high-sensitivity detection systems. Technologically, the field is transitioning from research to commercial applications, with varying maturity levels across players. Applied Materials and ROHM lead in semiconductor integration aspects, while Trinity College Dublin and University of Maryland Baltimore County contribute significant academic research. Cytiva and Becton, Dickinson are advancing biosensing applications, while SICPA and AIT Austrian Institute focus on security applications. The Boeing Co. and Mercedes-Benz are exploring industrial sensing implementations, indicating the technology's cross-sector potential.
The Regents of the University of California
Technical Solution: The University of California has developed advanced surface plasmon resonance (SPR) platforms that enhance electrochemical detection sensitivity through strategic metal nanostructure engineering. Their approach combines plasmonic gold nanoparticles with specialized electrode architectures to create localized electromagnetic field enhancements at the electrode-electrolyte interface[1]. By precisely controlling the size, shape, and spacing of plasmonic nanostructures, they achieve significant signal amplification in electrochemical measurements. Their technology incorporates multilayer thin-film structures where the thickness and composition are optimized to maximize plasmon coupling effects. Recent developments include integration of graphene and other 2D materials with plasmonic structures to further enhance charge transfer and electrochemical response[3]. The university has demonstrated up to 100-fold improvements in detection limits for various biomolecules and environmental contaminants using these coupled systems.
Strengths: Exceptional sensitivity enhancement (up to 100x) for trace analyte detection; highly adaptable platform technology applicable across multiple sensing domains; strong integration with existing electrochemical instrumentation. Weaknesses: Complex fabrication processes may limit mass production scalability; potential for interference in complex sample matrices; requires precise control of nanostructure parameters for consistent performance.
Applied Materials, Inc.
Technical Solution: Applied Materials has pioneered industrial-scale fabrication techniques for plasmonic-enhanced electrochemical sensors through their expertise in semiconductor manufacturing. Their approach focuses on creating precisely engineered metallic nanostructures on electrode surfaces using advanced deposition and etching technologies. The company has developed proprietary methods for creating large-area, uniform plasmonic arrays with controlled gap sizes down to sub-10nm dimensions[2], which maximize electromagnetic field enhancement while maintaining reproducibility. Their technology incorporates specialized thin-film deposition systems that enable precise control of noble metal thickness and composition, critical for optimizing surface plasmon coupling effects. Applied Materials' solutions include integrated microfluidic platforms with plasmonic-enhanced electrodes for real-time sensing applications[4]. Their manufacturing processes enable cost-effective production of high-performance sensors with enhanced electrochemical response through plasmon coupling, achieving sensitivity improvements of 30-50x compared to conventional electrodes.
Strengths: Unmatched manufacturing scalability and reproducibility; excellent integration with existing semiconductor fabrication infrastructure; cost-effective production methods for commercial deployment. Weaknesses: Less flexibility for customization compared to research-focused approaches; primarily focused on silicon-compatible materials which may limit some applications; higher initial capital investment requirements.
Critical Patents and Research in Plasmon-Coupled Electrochemical Systems
Optisense - a smartphone-based multichannel static LSPR system for detection or diagnosis
PatentInactiveIN201931039853A
Innovation
- A portable, low-cost, smartphone-based multichannel static LSPR system using U-bent plastic optic fiber probes with a dispenser spring mechanism, which provides enhanced sensitivity and ease of use, allowing for simultaneous analysis of multiple samples without complex components like peristaltic pumps, and enables telediagnosis through image analysis.
Apparatus for determining the presence or concentration of target molecules
PatentPendingUS20230236127A1
Innovation
- The apparatus excites local surface plasmon resonance in metallic nanoparticles using a spectral filter to sample the spectral resonance curve, allowing for a compact and high-multiplexing system with a two-dimensional array of receptor sites and detectors, eliminating the need for bulky optics and precise angle alignment.
Materials Science Considerations for Plasmonic-Electrochemical Interfaces
The selection of materials for plasmonic-electrochemical interfaces requires careful consideration of both optical and electrochemical properties. Noble metals such as gold and silver are traditionally preferred for plasmonic applications due to their strong surface plasmon resonance (SPR) in the visible to near-infrared range. Gold offers excellent chemical stability and biocompatibility, while silver provides stronger plasmonic effects but suffers from oxidation issues in electrochemical environments.
Nanostructure morphology significantly impacts the coupling efficiency between plasmons and electrochemical processes. Nanoparticles, nanorods, and nanofilms exhibit different plasmonic behaviors, with size, shape, and interparticle distance all affecting the localized surface plasmon resonance (LSPR) properties. Optimizing these parameters can enhance the electromagnetic field at the electrode surface, thereby improving electrochemical sensitivity.
Interface engineering between the plasmonic material and the electrochemical substrate is crucial for effective electron transfer. Thin dielectric spacers (2-5 nm) can be strategically employed to prevent quenching while maintaining field enhancement effects. Materials such as Al₂O₃, SiO₂, or self-assembled monolayers serve as effective spacers, with thickness optimization being essential for balancing plasmonic enhancement and electron transfer efficiency.
Substrate conductivity and stability represent another critical consideration. While traditional electrodes like glassy carbon, gold, and platinum provide excellent conductivity, integrating them with plasmonic structures requires careful design to maintain both plasmonic and electrochemical functionalities. Transparent conductive oxides like ITO offer unique advantages for combined optical and electrochemical measurements.
Surface functionalization strategies must be compatible with both plasmonic and electrochemical requirements. Thiol-based self-assembled monolayers on gold surfaces provide versatile platforms for further functionalization while maintaining plasmonic properties. However, the density and orientation of surface molecules can affect both the plasmonic response and electrochemical accessibility.
Stability considerations in electrochemical environments cannot be overlooked. Plasmonic materials must withstand repeated redox cycling, potential changes, and exposure to various electrolytes. Protective coatings such as ultrathin carbon layers or silica shells can enhance durability while preserving plasmonic properties, though they must be designed to maintain electrochemical accessibility.
Nanostructure morphology significantly impacts the coupling efficiency between plasmons and electrochemical processes. Nanoparticles, nanorods, and nanofilms exhibit different plasmonic behaviors, with size, shape, and interparticle distance all affecting the localized surface plasmon resonance (LSPR) properties. Optimizing these parameters can enhance the electromagnetic field at the electrode surface, thereby improving electrochemical sensitivity.
Interface engineering between the plasmonic material and the electrochemical substrate is crucial for effective electron transfer. Thin dielectric spacers (2-5 nm) can be strategically employed to prevent quenching while maintaining field enhancement effects. Materials such as Al₂O₃, SiO₂, or self-assembled monolayers serve as effective spacers, with thickness optimization being essential for balancing plasmonic enhancement and electron transfer efficiency.
Substrate conductivity and stability represent another critical consideration. While traditional electrodes like glassy carbon, gold, and platinum provide excellent conductivity, integrating them with plasmonic structures requires careful design to maintain both plasmonic and electrochemical functionalities. Transparent conductive oxides like ITO offer unique advantages for combined optical and electrochemical measurements.
Surface functionalization strategies must be compatible with both plasmonic and electrochemical requirements. Thiol-based self-assembled monolayers on gold surfaces provide versatile platforms for further functionalization while maintaining plasmonic properties. However, the density and orientation of surface molecules can affect both the plasmonic response and electrochemical accessibility.
Stability considerations in electrochemical environments cannot be overlooked. Plasmonic materials must withstand repeated redox cycling, potential changes, and exposure to various electrolytes. Protective coatings such as ultrathin carbon layers or silica shells can enhance durability while preserving plasmonic properties, though they must be designed to maintain electrochemical accessibility.
Commercialization Potential and Scale-up Challenges
The commercialization potential for surface plasmon coupling technologies in electrochemical sensing presents significant market opportunities across multiple sectors. Healthcare diagnostics represents the primary commercial avenue, with point-of-care testing devices potentially reaching a market value exceeding $38 billion by 2026. The enhanced sensitivity and specificity offered by plasmonic-enhanced electrochemical sensors could revolutionize early disease detection, particularly for cancer biomarkers and infectious diseases where current methods lack sufficient sensitivity.
Environmental monitoring constitutes another promising application area, with growing regulatory requirements driving demand for real-time, highly sensitive detection systems for pollutants and toxins. The food safety industry similarly requires advanced sensing technologies to detect contaminants at increasingly lower concentrations, creating additional market opportunities estimated at $19.5 billion by 2025.
Despite these promising prospects, several scale-up challenges must be addressed before widespread commercialization becomes viable. Manufacturing consistency represents a significant hurdle, as the production of plasmonic nanostructures with precise dimensions and uniform properties remains difficult at industrial scales. Current laboratory fabrication methods often involve expensive equipment and time-consuming processes that are impractical for mass production.
Cost considerations present another major barrier, with high-purity noble metals (gold, silver) typically required for optimal plasmonic effects. Developing alternative materials or more efficient fabrication techniques that reduce precious metal consumption will be essential for commercial viability. Additionally, device integration challenges exist when incorporating plasmonic structures into practical electrochemical sensing platforms while maintaining performance and reliability.
Stability and shelf-life issues further complicate commercialization efforts. Plasmonic nanostructures may degrade over time or under certain environmental conditions, potentially limiting their practical application in field settings. Research into protective coatings and stabilization methods shows promise but requires further development for commercial implementation.
Regulatory approval pathways, particularly for healthcare applications, represent a final significant hurdle. Novel sensing technologies face rigorous validation requirements, necessitating extensive clinical trials and comparison studies against established methods. Companies pursuing commercialization must navigate complex regulatory frameworks that vary by region and application domain.
Environmental monitoring constitutes another promising application area, with growing regulatory requirements driving demand for real-time, highly sensitive detection systems for pollutants and toxins. The food safety industry similarly requires advanced sensing technologies to detect contaminants at increasingly lower concentrations, creating additional market opportunities estimated at $19.5 billion by 2025.
Despite these promising prospects, several scale-up challenges must be addressed before widespread commercialization becomes viable. Manufacturing consistency represents a significant hurdle, as the production of plasmonic nanostructures with precise dimensions and uniform properties remains difficult at industrial scales. Current laboratory fabrication methods often involve expensive equipment and time-consuming processes that are impractical for mass production.
Cost considerations present another major barrier, with high-purity noble metals (gold, silver) typically required for optimal plasmonic effects. Developing alternative materials or more efficient fabrication techniques that reduce precious metal consumption will be essential for commercial viability. Additionally, device integration challenges exist when incorporating plasmonic structures into practical electrochemical sensing platforms while maintaining performance and reliability.
Stability and shelf-life issues further complicate commercialization efforts. Plasmonic nanostructures may degrade over time or under certain environmental conditions, potentially limiting their practical application in field settings. Research into protective coatings and stabilization methods shows promise but requires further development for commercial implementation.
Regulatory approval pathways, particularly for healthcare applications, represent a final significant hurdle. Novel sensing technologies face rigorous validation requirements, necessitating extensive clinical trials and comparison studies against established methods. Companies pursuing commercialization must navigate complex regulatory frameworks that vary by region and application domain.
Unlock deeper insights with Patsnap Eureka Quick Research — get a full tech report to explore trends and direct your research. Try now!
Generate Your Research Report Instantly with AI Agent
Supercharge your innovation with Patsnap Eureka AI Agent Platform!







